патент
№ RU 2376544
МПК F41A21/30

ГЛУШИТЕЛЬ РЕАКТИВНО-ПОГЛОЩАЮЩЕГО ТИПА ДЛЯ СТРЕЛКОВОГО ОРУЖИЯ

Авторы:
Устинов Евгений Михайлович Смогунов Владимир Васильевич Голованов Олег Александрович
Все (8)
Номер заявки
2008101683/02
Дата подачи заявки
15.01.2008
Опубликовано
20.12.2009
Страна
RU
Как управлять
интеллектуальной собственностью
Чертежи 
5
Реферат

Изобретение относится к многокамерным глушителям расширительного типа для подавления звука при выстреле из стрелкового оружия с малым демаскирующим действием. Глушитель реактивно-поглощающего типа для стрелкового оружия содержит корпус, установленный перед дульным срезом ствола, пустотелую камеру, воронкообразную диафрагму с отверстием для пули. Глушитель снабжен звукопоглощающей кольцеобразной полостью с металлическими окатышами диаметром 2 мм, размещенными в корпусе из стальной сетки с размером окна 1×1 мм, при этом длина пустотелой камеры составляет 60-80 мм. Изобретение обеспечивает снижение звукообразования в свободном пространстве при прежних геометрических размерах корпуса глушителя. 5 ил.

Формула изобретения

Глушитель реактивно-поглощающего типа для стрелкового оружия, содержащий корпус, установленный перед дульным срезом ствола, пустотелую камеру, воронкообразную диафрагму с отверстием для пули, отличающийся тем, что он снабжен звукопоглощающей кольцеобразной полостью с металлическими окатышами диаметром 2 мм, размещенными в корпусе из стальной сетки с размером окна 1×1 мм, при этом длина пустотелой камеры составляет 60-80 мм.

Описание

[1]

Изобретение относится к многокамерным глушителям расширительного типа, предназначенным для механического подавления звука при выстреле из стрелкового оружия.

[2]

В настоящее время наибольшее распространение получили многокамерные глушители расширительного типа, интегральные. Эффективность глушителя повышается при последовательном расположении нескольких камер, разделенных перегородками, тоже с отверстиями, соосными стволу, при этом рассчитывается его внутренняя газодинамика, когда за счет использования фигурных перегородок сложного профиля в его корпусе создаются поворот потока газа, противопотоки и турбулентные завихрения. Частицы газа, соударяясь, быстро теряют при этом свою энергию.

[3]

Из новейших отечественных разработок в этой области следует отметить винтовку снайперскую специальную (ВСС) «Винторез». В этом оружии глушитель интегрирован (но не составляет одно целое) со стволом, обычного типа, с завихрителями потока газов. Пороховые газы попадают в полость глушителя через ряд веерообразных отверстий в стенке ствола. В расширительной камере происходит сброс давления, затем газы разделяются на противопотоки и окончательно охлаждаются.

[4]

Цель изобретения - изменение внутренней конструкции глушителя в местах расположения наклонных диафрагм и звукообразования в свободном пространстве на воронкообразные диафрагмы, которые находятся при прежних геометрических размерах корпуса глушителя, с целью уменьшения среднего по времени значения плотности потока энергии, которую несет с собой звуковая волна при выстреле, и снижения тактического параметра ОМД - громкости выстрела.

[5]

Известны глушитель для стрелкового оружия [2] и глушитель к оружию с малым демаскирующим действием [3], предназначенные для уменьшения плотности потока энергии, которую несет с собой звуковая волна при выстреле, и снижения тактического параметра ОМД- громкости выстрела.

[6]

В продолжение работ по расчету и моделированию предложенных глушителей разработан программно-моделирующий комплекс математического расчета звукообразования от глушителей реактивного типа и от глушителей со звукопоглощающими включениями для стрелкового оружия. С помощью пакета прикладных программ, разработанного на основе проекционного метода Галеркина, проведен вычислительный эксперимент для широкого класса неоднородностей в полости многокамерных глушителей реактивного и поглощающего типов для стрелкового оружия.

[7]

Ранее авторами на основе декомпозиционного подхода [1] разработана матричная математическая модель процессов звукообразования в системе ствол - глушитель - неограниченная среда:

[8]

[9]

где А, В - векторы, компонентами которых являются коэффициенты рядов разложения акустического поля по собственным функциям шарового акустического волновода; Т - матрица передачи; L, М, N - матрицы с элементами

[10]

[11]

здесь Р - избыточное давление, r, θ, α - сферические координаты, S2- входное сечение глушителя, S1 - входное сечение полусферы, - вектор скорости частиц газа; a1, b1 - векторы, компонентами которых являются коэффициенты рядов Фурье разложения акустического поля на входном сечении S2 по собственным функциям круглого акустического волновода (ствола глушителя):

[12]

[13]

[14]

здесь k={0,m}; J10mR) - функция Бесселя 1-го порядка; χ0m0m/R, α0m - корни уравнения ; Г0m - постоянные распространения собственных волн в круглом акустическом волноводе; R - радиус акустического волновода (ствола);

[15]

[16]

- коэффициенты нормировки.

[17]

Входными параметрами для математической модели являются: давление Р1 и скорость частиц газа в стволе (на бесконечно малом расстоянии от сечения S1); длительности ταβ импульсов Р1 и . Параметры α и β на уровне 0,25 длительность импульсов τα и τβ определяем следующим образом:

[18]

.

[19]

На фиг.1 показана конструкция интегрированного глушителя бесшумной снайперской винтовки «Винторез». Ствол в передней части имеет несколько рядов отверстий, выводящих из глушителя часть пороховых газов со дна нарезов. В передней части, перед дульным срезом ствола, глушитель имеет ряд стальных диафрагм с отверстием для пули, тормозящих пороховые газы внутри глушителя.

[20]

На фиг.2 показаны результаты математического расчета зависимости интенсивности звука от угла наклона стальных диафрагм в глушителе.

[21]

Результаты математического моделирования получены с учетом числа временных гармоник, равного 150, и числа пространственных гармоник, равного 100. Геометрия поверхности стальных диафрагм глушителя аппроксимировалась ступенчатой моделью, число ступенек - 45. Дальнейшее расширение базиса временных и пространственных гармоник и увеличение числа ступеней практически не изменяло результатов математического моделирования.

[22]

Фиг.2. Результаты математического расчета зависимости интенсивности звука от угла φ наклона стальных диафрагм в глушителе «Винторез»:

[23]

; Р1=13,7·106 Н/м2; ταβ=50 мкс;

[24]

T=900 мкс; r0=1,2 м; α0=0; θ0=15°; r0=0; θ0=20°; I010-12 Вт/м2.

[25]

Из графика (фиг.2) следует, что оптимальные значения угла φ наклона диафрагмы составляют 54÷65°. При этих углах интенсивность звука в точке наблюдения М наименьшая. Заметим, что в штатном глушителе снайперской винтовки «Винторез» угол наклона стальных диафрагм составляет 61,4°.

[26]

На фиг.3 проведено сравнение результатов математического моделирования с натурным экспериментом. Как видно из графика (фиг.3), совпадение результатов математического моделирования с экспериментом вполне удовлетворительное. Результаты математического моделирования глушителя показали, что его конструкция оптимальна с точки зрения звукообразования по углу наклона стальных диафрагм. Совпадение результатов математического моделирования с экспериментом, а также оптимизация конструкции глушителя по звукообразованию свидетельствует о достоверности результатов, полученных с помощью разработанной математической модели.

[27]

Фиг.3. Диаграмма направленности интенсивности звука от штатного глушителя к снайперской винтовке «Винторез»: ; Р1=13,7 Н/м2; ταβ=50 мкс; T=900 мкс; r0=1,2 м; θ0=15°; α0=0;

[28]

о - эксперимент; • - математический расчет.

[29]

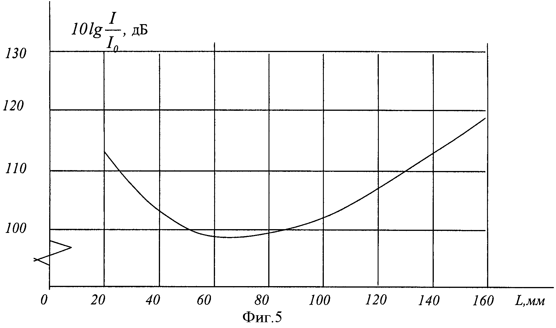
Программно-моделирующий комплекс позволяет проводить вычислительный эксперимент для широкого класса структур неоднородностей в полости глушителя. Авторами была проведена большая работа по поиску новых конструкций неоднородностей для глушителя к снайперской винтовке «Винторез» и их оптимизации для снижения уровня звукообразования. На фиг.4 показана конструкция однокамерного глушителя реактивно-поглощающего типа с воронкообразной диафрагмой со звукопоглощающим включением в виде области с металлическими окатышами диаметром два миллиметра, находящимися в корпусе из стальной сетки с размером окна 1×1 мм. Эта конструкция разработана авторами на основе вычислительных экспериментов. На фиг.5 показана зависимость интенсивности звука от длины L звукопоглощающего включения. Наименьшая интенсивность звука наблюдалась при длине звукопоглощающего включения, равной 60-80 мм.

[30]

Фиг.5. Зависимость интенсивности звука от длины звукопоглощающего включения: ; Р1=13,7·106 Н/м2; ταβ=50 мкс;

[31]

T=900 мкс; r0=1,2 м; α0=0, θ0=15°.

[32]

Результаты численных исследований на разработанной математической модели показали, что интенсивность звука от глушителя со звукопоглощающим включением (фиг.4) на 20-24 дБ ниже штатного глушителя снайперской винтовки «Винторез» (фиг.1). Результаты экспериментальных измерений интенсивности звука от изготовленного образца глушителя со звукопоглощающим включением показали, что интенсивность звука на расстоянии r0=1,2 м, α0=0, θ0=15° составляла 103 дБ, от штатного глушителя - 124 дБ.

[33]

Разработанный программно-моделирующий комплекс математического расчета звукообразования от глушителей с различной внутренней структурой позволяет дать рекомендации по внесению изменений в конструкции существующих глушителей с целью снижения уровня звукообразования от них в свободном пространстве и формировать облик принципиально новых конструкций глушителей реактивного и поглощающего типа для стрелкового оружия.

[34]

Используемая литература

[35]

1. Голованов О.А., Макеева Г.С., Грачев А.И. Декомпозиционный подход к решению задач прикладной электродинамики и акустики с применением базовых элементов в виде автономных блоков. Известия высших учебных заведений. Поволжский регион. Технические науки. 2006. № 6 (27). С.55.

[36]

2. Грачев И.И., Голованов О.А., Курков С.Н., Грачев А.И., Устинов Е.М. Глушитель для стрелкового оружия. Патент на полезную модель 65635 от 10.08.2007 г. Опубл. 10.08.2007 г. Бюл. №22.

[37]

3. Грачев И.И., Голованов О.А., Курков С.Н., Грачев А.И., Устинов Е.М. Глушитель к оружию с малым демаскирующим действием. Патент на полезную модель 66802 от 27.09.2007 г. Опубл. 27.09.2007 г. Бюл. №27.

Как компенсировать расходы
на инновационную разработку
Похожие патенты