патент
№ RU 209643
МПК B02C13/00

ИЗМЕЛЬЧИТЕЛЬ ДРЕВЕСНО-РАСТИТЕЛЬНЫХ ОТХОДОВ

Авторы:
Панова Татьяна Васильевна Слезко Елена Ивановна Панов Максим Владимирович
Все (4)
Номер заявки
2021134433
Дата подачи заявки
24.11.2021
Опубликовано
17.03.2022
Страна
RU
Как управлять
интеллектуальной собственностью
Чертежи 
2
Реферат

[17]

Полезная модель относится к устройству измельчителей, применяемых в области сельского хозяйства. Устройство предназначено для измельчения отходов садоводства и полеводства, закладываемых в компост. Измельчитель древесно-растительных отходов состоит из бункера, выполненного из металлических листов, в стенках верхней части которого, в подшипниках закреплены горизонтальные валы, и с режущим аппаратом для измельчения веток в виде ведущего зубчатого валка и ведомого валка, в нижней части бункера расположен режущий аппарат для измельчения волокнистого растительного материала в виде ножей, закрепленных на штифтах, которые установлены на валу. Регулирование количества оборотов ножевого режущего аппарата осуществляется сменой звездочек на валу. Электродвигатель соединен с осью, на которой установлен зубчатый валок, и осью посредством цепи, соединяющей звездочки. Вал также проходит через трубки, закрепленные на бункере, в которых расположены пружины сжатия, которые подвигают валок к валку. Бункер установлен на раме, выполненной из стоек и основания, способной передвигаться за счет роликов. В верхнюю часть бункера загружается растительное сырье и попадает на зубчатые валки, для первичного измельчения, далее через среднюю часть бункера, выполненнного в виде усеченного конуса частично измельченный материал попадает на ножевой аппарат, где окончательно измельчается и выгружается. Таким образом, происходит измельчение и смешивание древесно-растительных отходов, предназначенных для компостирования.

Формула изобретения

Измельчитель древесно-растительных отходов, отличающийся тем, что для измельчения отходов садоводства и полеводства имеется один бункер с двумя видами режущего аппарата, в частности, в верхней части секции размещены два зубчатых валка, предназначенные для первичного измельчения веток и волокнистого материала различного диаметра и размера, один из которых закреплен на оси без возможности перемещения в горизонтальной плоскости, а второй закреплен на оси, которая, в свою очередь, может передвигаться в горизонтальной плоскости, подстраиваясь под размер измельчаемого материала, в нижней части бункера размещен режущий аппарат в виде ножей, закрепленных на штифтах и непосредственно на валу, предназначенный для окончательного измельчения растительного материала.

Описание

[1]

Полезная модель относится к устройству измельчителей, применяемых в области сельского хозяйства. Устройство предназначено для измельчения отходов садоводства и полеводства, закладываемых в компост.

[2]

Известен измельчитель растительных материалов (Патент на полезную модель RU № 177957, Российская Федерация, B27L 11/06, G05D 17/00 / Измельчитель древесно-растительных отходов / А.В. Капитонов; 19.03.2018 Бюл. № 8), который содержит жесткую раму, на которой размещен режущий узел, соединенный с двигателем, передающим крутящий момент, с загрузочным бункером и выходным патрубком, загрузочный бункер снабжен направляющим устройством, при этом режущий узел содержит корпус с установленными на нем вращающимся валом, двумя неподвижными опорами и сито, установленное между режущим узлом и выходным патрубком.

[3]

Недостатком данного измельчителя является то, что он имеет один режущий аппарат и много этапов измельчения.

[4]

Известен измельчитель древесно-растительных отходов (Патент на полезную модель RU № 111967, Российская Федерация, A01F 29/00/ Измельчитель древесно-растительных отходов / Е.Г. Лумисте, Т.В. Панова, М.В. Панов, С.Н. Шмигирилов, К.О. Лумисте; 10.01.2012 Бюл. № 1), выполненный из двух секций с единым приводным валом, в котором одна секция с режущим аппаратом в виде зубчатого валка, предназначеного для измельчения веток, вторая - с режущим аппаратом в виде ножей, закрепленных на штифтах и непосредственно на валу, предназначенных для измельчения волокнистого растительного материала.

[5]

Недостатком данного измельчителя является то, что он состоит из двух секций и требует разделения по видам растительного сырья, а также расположение режущих аппаратов в различных секциях делает процесс измельчения недостаточно эффективным.

[6]

Поставленный технический результат полезной модели решается применением измельчителя древесно-растительных отходов, отличающегося тем, что для измельчения отходов садоводства и полеводства имеется один бункер с двумя видами режущего аппарата, в частности, в верхней части секции размещены два зубчатых валка, предназначенные для первичного измельчения веток и волокнистого материала различного диаметра и размера, один из которых закреплен на оси без возможности перемещения в горизонтальной плоскости, а второй закреплен на оси, которая, в свою очередь, может передвигаться в горизонтальной плоскости, подстраиваясь под размер измельчаемого материала, в нижней части бункера размещен режущий аппарат в виде ножей, закрепленных на штифтах и непосредственно на валу, предназначенный для окончательного измельчения растительного материала.

[7]

Применение измельчителя позволит получать массу из частиц необходимого для компостирования размера.

[8]

Таким образом, предложенное техническое решение соответствует критерию «существенные отличия» и обеспечивает достижение положительного эффекта, обозначенного целью полезной модели.

[9]

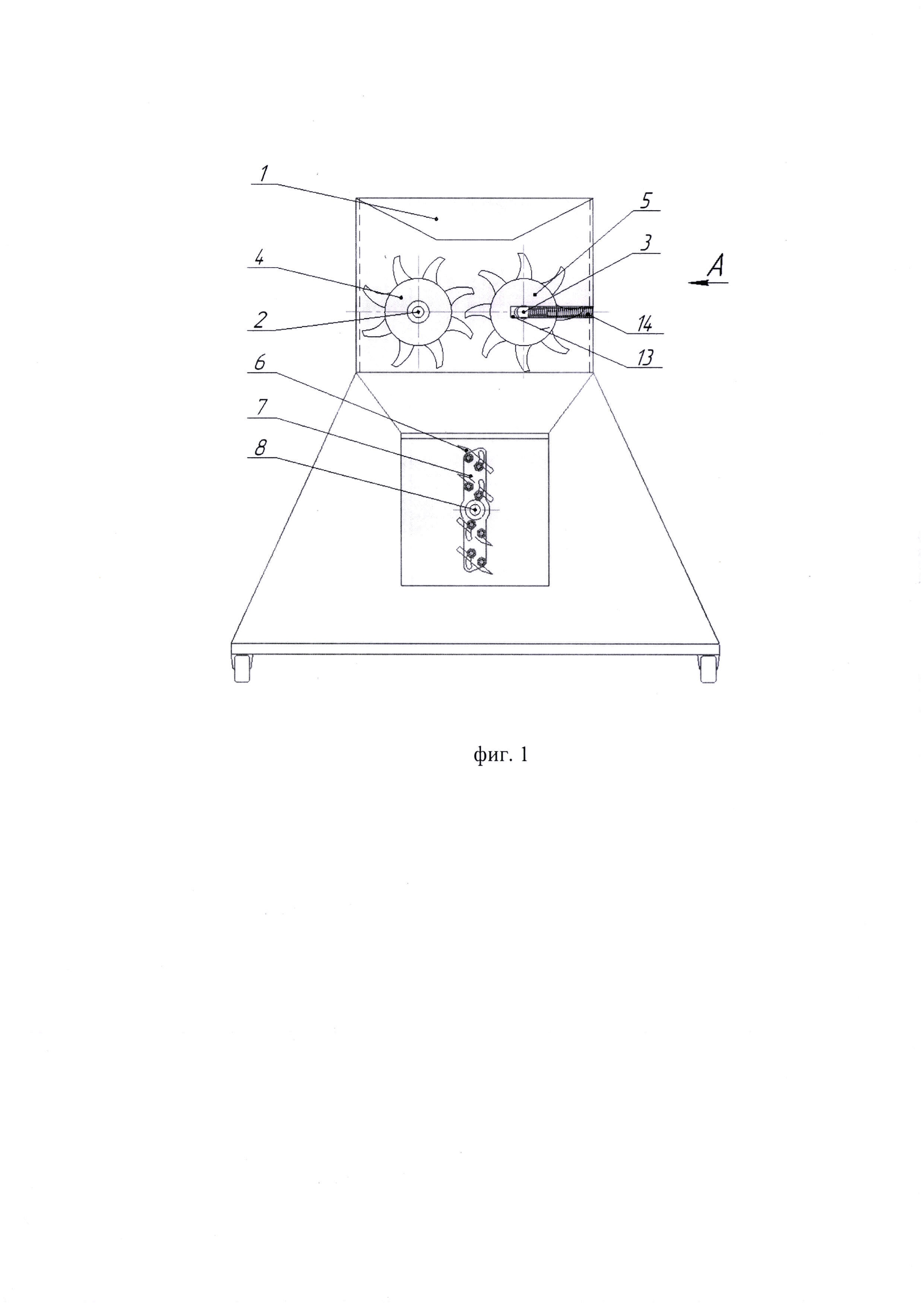
На фиг. 1 схематично изображен предлагаемый измельчитель древесно-растительных отходов. Конструктивно измельчитель состоит из бункера 1, выполненного из металлических листов, в стенках верхней части которого, в подшипниках закреплены горизонтальные валы 2 и 3 с режущим аппаратом для измельчения веток в виде ведущего зубчатого валка 4 и ведомого валка 5, в нижней части бункера 1 расположен режущий аппарат для измельчения волокнистого растительного материала в виде ножей 6, закрепленных на штифтах 7, которые установлены на валу 8. Регулирование количества оборотов ножевого режущего аппарата осуществляется сменой звездочек 9 на валу 8. Электродвигатель 10 соединен с осью 2, на которой установлен зубчатый валок 4, и осью 8 посредством цепи 11, соединяющей звездочки 9 и 12. Вал 3 также проходит через трубки 13, закрепленные на бункере, в которых расположены пружины сжатия 14, которые подвигают валок 5 к валку 4.

[10]

Бункер установлен на раме, выполненной из стоек 15 и основания 16, способной передвигаться за счет роликов 17.

[11]

На фиг. 2 представлен вид А.

[12]

Измельчитель древесно-растительных отходов работает следующим образом. В верхнюю часть бункера загружается растительное сырье и попадает на зубчатые валки, для первичного измельчения, далее через среднюю часть бункера, выполненного в виде усеченного конуса, частично измельченный материал попадает на ножевой аппарат, где окончательно измельчается и выгружается.

[13]

Таким образом, происходит измельчение и смешивание древесно-растительных отходов, предназначенных для компостирования.

[14]

Источники информации:

[15]

1. Патент на полезную модель RU № 177957, Российская Федерация, B27L 11/06, G05D 17/00 / Измельчитель древесно-растительных отходов / А.В. Капитонов; 19.03.2018 Бюл. № 8

[16]

2. Патент на полезную модель RU № 111967, Российская Федерация, A01F 29/00 / Измельчитель древесно-растительных отходов / Е.Г. Лумисте, Т.В. Панова, М.В. Панов, С.И. Шмигирилов, К.О. Лумисте; 10.01.2012 Бюл. № 1.

Как компенсировать расходы
на инновационную разработку
Похожие патенты