Изобретение относится к измерительной технике, в частности к способам управления фазовым сдвигом между двумя когерентными монохроматическими световыми волнами в лазерных измерительных информационных системах. В способе управления фазовым сдвигом в интерференционных системах, включающем формирование когерентного монохроматического излучения посредством лазерного источника, его разделение на опорный и предметный световые пучки посредством коллимационной системы, их направление на объект измерения и опорную поверхность с формированием в них фазового сдвига Δϕ, предназначенного для интерпретации интерференционной картины при их отражении на фотоприемнике, фазовый сдвиг опорного и предметного световых пучков формируют за счет их брэгговской дифракции на одинаковые по номеру и знаку порядки путем пропускания на участке между коллимационной системой и опорной поверхностью и объектом измерения соответственно через идентичные акустооптические модуляторы, на которые подают опорные колебания U1 и U2 от общего генератора так, что U1=U0 cos[2π f×t+Δϕ] и U2=U0 cos[2π f×t], где U0 - амплитуда опорных колебаний; f - частота опорных колебаний акустооптических модуляторов; t - время осуществления опорных колебаний, при этом возможна подача опорных колебаний U1 на акустооптический модулятор, через который проходит предметный световой пучок, а опорных колебаний U2 - на акустооптический модулятор, через который проходит опорный световой пучок, или наоборот. Технический результат - повышение надежности за счет повышения точности и помехоустойчивости. 2 з.п. ф-лы, 3 ил.
1. Способ управления фазовым сдвигом в интерференционных системах, включающий формирование когерентного монохроматического излучения посредством лазерного источника, его разделение на опорный и предметный световые пучки посредством коллимационной системы, их направление на объект измерения и опорную поверхность с формированием в них фазового сдвига Δϕ, предназначенного для интерпретации интерференционной картины при их отражении на фотоприемнике, отличающийся тем, что фазовый сдвиг опорного и предметного световых пучков формируют за счет их брэгговской дифракции на одинаковые по номеру и знаку порядки путем пропускания на участке между коллимационной системой и опорной поверхностью и объектом измерения соответственно через идентичные акустооптические модуляторы, на которые подают опорные колебания U1 и U2 от общего генератора так, что U1=U0cos[2πf×t+Δϕ] и U2=U0cos[2πf×t], где U0 - амплитуда опорных колебаний; f - частота опорных колебаний акустооптических модуляторов; t - время осуществления опорных колебаний. 2. Способ управления фазовым сдвигом в интерференционных системах по п. 1, отличающийся тем, что опорные колебания U1 подают на акустооптический модулятор, через который проходит предметный световой пучок, а опорные колебания U2 подают на акустооптический модулятор, через который проходит опорный световой пучок. 3. Способ управления фазовым сдвигом в интерференционных системах по п. 1, отличающийся тем, что опорные колебания U2 подают на акустооптический модулятор, через который проходит предметный световой пучок, а опорные колебания U1 подают на акустооптический модулятор, через который проходит опорный световой пучок.
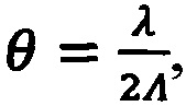
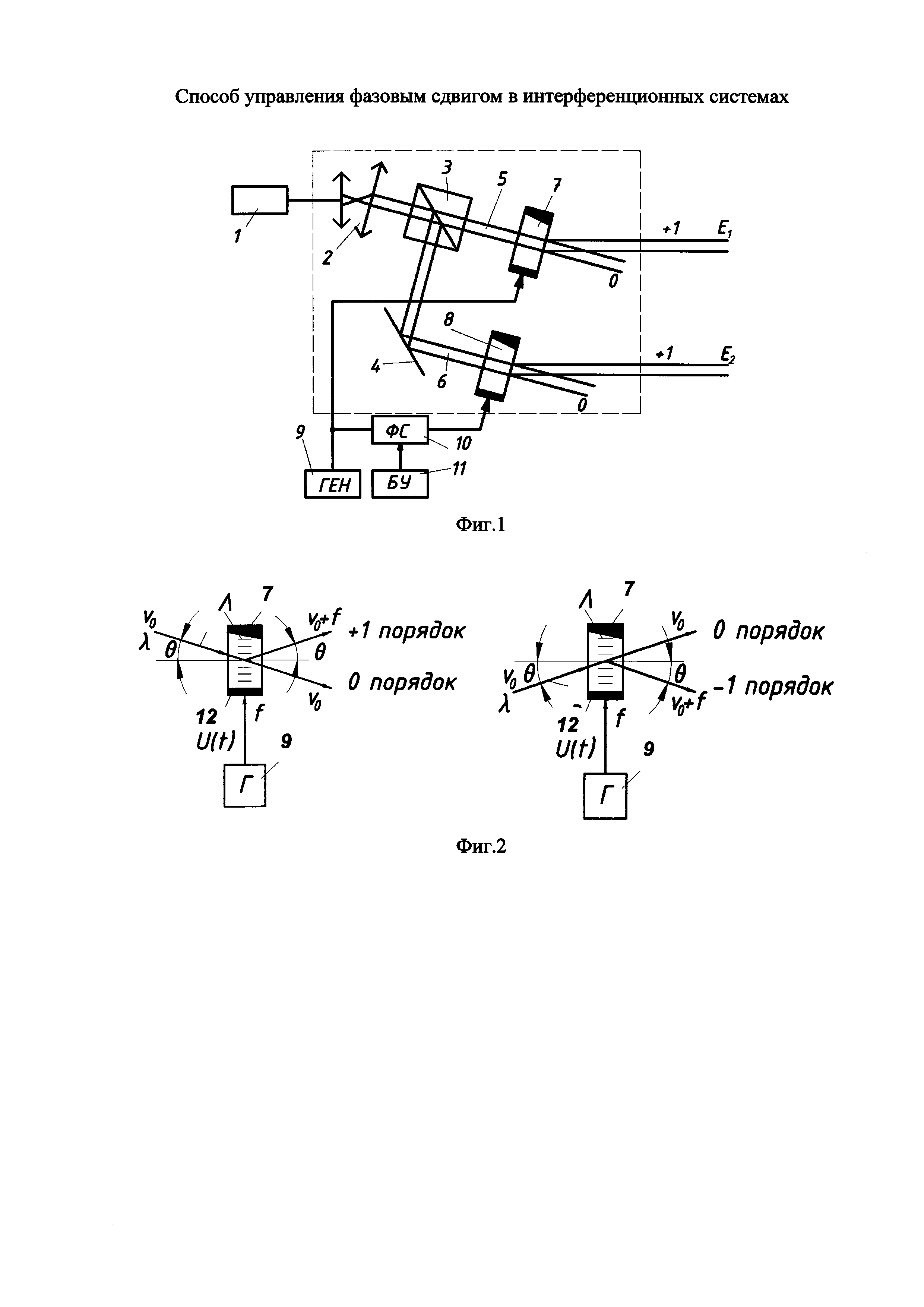
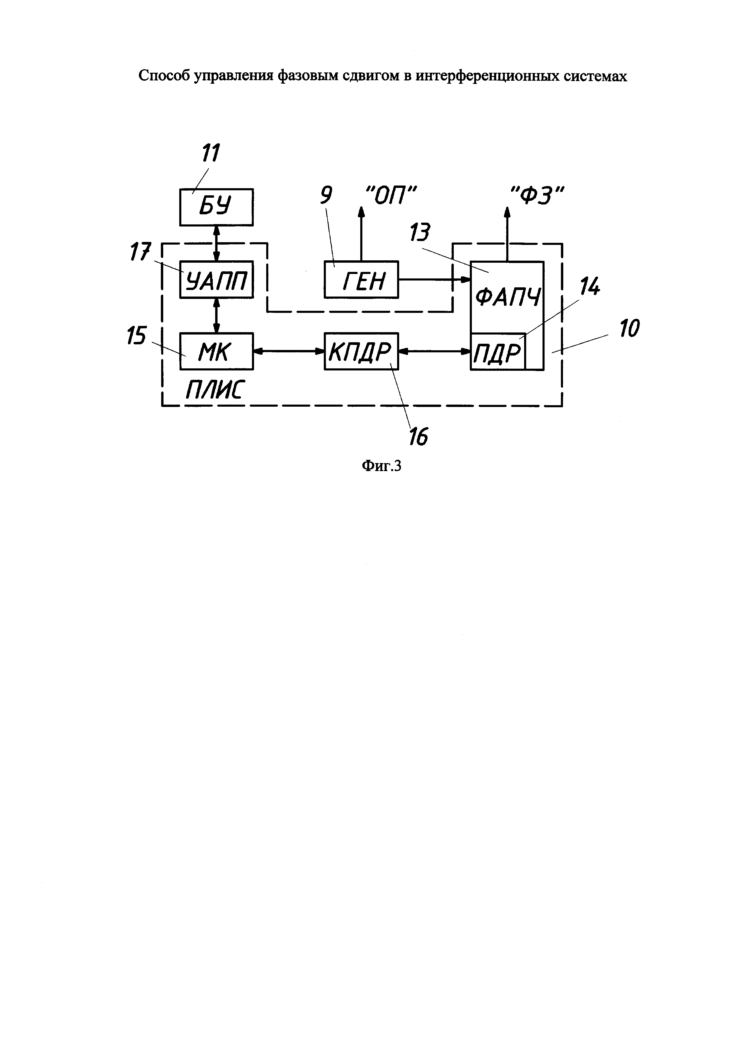
Изобретение относится к измерительной технике, в частности к способам управления фазовым сдвигом между двумя когерентными монохроматическими световыми волнами в лазерных измерительных информационных системах (ЛИИС). Метод управления фазовым сдвигом широко применяется в интерферометрах, построенных по разнообразным оптическим схемам (интерферометры с управляемым фазовым сдвигом (УФС) по схеме Линника [см., например, Григорьев С.Н., Телешевский В.И., Андреев А.Г., Игнатьев П.С., Индукаев К.В., Кольнер Л.С., Осипов П.А. Метрологическая аттестация лазерных микроскопов на основе принципов модуляционной интерферометрии с управляемым фазовым сдвигом // Вестник МГТУ «СТАНКИН», 2015, №3(34), с. 67-75], по схеме Кестерса [см., например, G. Michalecki, Automatic Calibration of Gange blocks Measured by Optical Interferometry, Measurement Science Review, 2001, Vol. 1, №1, p. 93-96], по схеме Физо и Тваймана-Грина [P. de Groot, Jim Biegen et. al. Optical Interferometry for measurement of the geometric dimensions of industrial parts // Applied Optics. 2002, vol. 41, №19, p. 3853-3860] и др.). Отметим, что модуляционный интерференционный микроскоп с УФС обеспечивает восстановление объекта с разрешением 0,1 нм по вертикали и до 10 нм в латеральной плоскости. Интерферометр Кестерса с УФС восстанавливает поверхность прецизионной концевой меры с разрешением до 10 нм. Известен способ механического управления фазовым сдвигом в интерференционных системах (Патент РФ №2536764 C1, опубл. 27.12.2014). Суть известного способа заключается в использовании интерферометра общего пути, представляющего собой сборку из бипризмы Дове и наклонного зеркала. Бипризма Дове закрепляется на линейном моторизованном трансляторе (в данном случае, на линейном пьезоприводе), который от соответствующего программируемого контроллера осуществляет перемещение бипризмы на определенное число шагов (порядка 4-х) в направлении, препендикулярном оптической оси, реализуя таким образом механическое перемещение для осуществления управляемого фазового сдвига. Световые пучки, вышедшие из бипризмы Дове, отражаются от зеркала, наклоненного на малый угол, и, отразившись от него, приобретают на выходе из призмы Дове определенный фазовый сдвиг, зависящий от значения моторизованного перемещения призмы Дове. Таким образом, имеет место УФС между интерферирующими пучками, определяемый числом и значением шагов перемещения бипризмы Дове. К недостаткам известного технического решения следует отнести: - относительно невысокую точность, обусловленную невозможностью реализовывать фазовые сдвиги высокой точности с дискретностью 1 нм и ниже; - относительно невысокую помехоустойчивость, обусловленную тем, что смещение интерференционной картины достигается механическим перемещением опорного зеркала в пространстве от электрически возбуждаемого пьезоэлемента. Наиболее близким к заявленному техническому решению как по технической сути, так и по достигаемому результату - прототипом - является реализованный в рамках способа получения фазового портрета объекта способ управления фазовым сдвигом в интерференционных системах, включающий формирование когерентного монохроматического излучения посредством источника, его разделение на опорный и предметный световые пучки посредством коллимационной системы, их направление на объект измерения и опорную поверхность с формированием в них фазового сдвига Δϕ, предназначенного для интерпретации интерференционной картины при их отражении на фотоприемнике (Патент РФ №2463552 С1, опубл. 10.10.2012). Техническое решение по прототипу характеризуется тем, что: - для определения фазы объектного пучка на пикселе фотоприемника определяют не менее трех значений энергии, воспринятой пикселем фотоприемника за время экспозиции, при различных значениях фазы опорного пучка; - для определения не менее одного значения воспринятой пикселем энергии получают зависимость освещенности пикселя от времени при изменении положения фазового модулятора и интегрируют полученную зависимость на интервале времени экспозиции; - для каждого пикселя получают серию промежуточных значений фазы объектного пучка при различном текущем сдвиге фазы опорного пучка; - сдвиг фаз реализуется управляемым сдвигом фазы опорного пучка (возможно также - объектного пучка), который осуществляют путем изменения длины оптического пути опорного пучка при механическом перемещении опорного зеркала. Анализ прототипа и ряда сходных с ним технических решений, описанных выше, позволяет выявить несколько общих недостатков. Во-первых, указанные технические решения не позволяют реализовывать фазовые сдвиги высокой точности с дискретностью 1 нм и ниже. Так, несмотря на разнообразие применений в различных интерференционных схемах, само осуществление фазового сдвига реализуется одним известным способом - установкой в одно из плеч двухлучевого интерферометра (как правило, в опорное плечо) электромеханического двигателя (актуатора), на котором закреплено одно из зеркал интерферометра. Электромеханический актуатор под действием электрического напряжения или тока осуществляет смещение зеркала на определенную величину в пространстве, т.е. сдвигает пространственную фазу опорной волны и, следовательно, всей интерференционной картины. Применяются разнообразные актуаторы: пьезоэлектрические на основе пьезострикции, возникающей при обратном пьезоэффекте, магнитострикционные, использующие эффект гигантской магнитострикции, электродинамические на обратном эффекте электромагнитной индукции. Наибольшее распространение в современной интерферометрии управляемого фазового сдвига получили пьезоэлектрические актуаторы на основе пьезокерамики. Широкое разнообразие таких пьезодвигателей и платформ демонстрирует фирма Physik Instrumente (Германия) [http://www.physikinstrumente.com/products.html], к продукции которой относятся актуаторы с нанометровым разрешением по позиционированию и субмиллисекундным временем отклика (в частности, модель актуатора Р-602 обладает диапазоном перемещений 1 мм и минимальным гарантированным шагом дискретизации 6 нм, а Р-842 - диапазоном перемещений 90 мкм, минимальным гарантированным шагом дискретизации 1 нм). Однако точность позиционирования пьезокерамических актуаторов недостаточна, и количество реализуемых управляемых сдвигов обычно составляет от 3-7 до 11. На этот факт также обращается внимание на стр. 159 в вышеназванном источнике [В. Васильев, И. Гуров. Компьютерная обработка сигналов в приложении к интерференционным системам. - Спб.: БХВ-Санкт-Петербург, 1998 - 240 с. (глава 5, стр. 153-167)], где указывается, что для повышения точности и помехоустойчивости обработки результатов измерений число управляемых фазовых сдвигов должно быть увеличено. Известны также такие свойства пьезокерамики, как наличие гистерезиса, старение, что также приводит к дополнительным погрешностям во времени и пространстве. Ограничение по числу сдвигов является препятствием для более точного восстановления структуры поверхности объекта. Увеличение числа управляемых сдвигов до десятков-сотен и более в пределах длины световой волны позволит создать новые алгоритмы обработки интерференционной картины, уменьшающие погрешности, связанные с нелинейными искажениями, шумами и другими факторами, обусловленными амплитудно-фазовым характером обработки интерференционных изображений. Во-вторых, важным фактором, ограничивающим развитие метода управляемого фазового сдвига, является недостаточное быстродействие. Этот фактор в пьезоэлектрических актуаторах связан с тем, что смещение интерференционной картины достигается механическим перемещением опорного зеркала в пространстве от электрически возбуждаемого пьезоэлемента, то есть электромеханически. При этом сигнал управления фазовым сдвигом представляет собой либо постоянное напряжение (для пьезоэлектрического актуатора), либо постоянный ток (для магнитострикционных или электродинамических актуаторов), значения которых задаются контроллером управления. Таким образом, управление механическим перемещением опорного (или объектного) зеркала интерферометра в пространстве осуществляется наименее помехоустойчивым амплитудным способом. Это обстоятельство принципиально, а возможности пьезокерамики с ее высокой диэлектрической проницаемостью не беспредельны. Механическому перемещению зеркала свойственна инерционность, что ограничивает распространение метода управляемого фазового сдвига на динамические измерения объектов с переменным во времени и пространстве профилем, структурой, положением и т.д. К недостаткам стрикционных пьезоэлектрических актуаторов следует отнести свойственный им гистерезис, нелинейности функции преобразования напряжения при перемещении, необходимость высокой стабилизации постоянного электрического сигнала сдвига в широком диапазоне значений (до десятков и сотен вольт). С учетом изложенного задача изобретения - исключение из состава действий механических перемещений, управляющих фазовым сдвигом в интерференционных системах. Технический результат - повышение надежности за счет повышения точности и помехоустойчивости. Поставленная задача решается, а заявленный технический результат достигается тем, что в способе управления фазовым сдвигом в интерференционных системах, включающем формирование когерентного монохроматического излучения посредством лазерного источника, его разделение на опорный и предметный световые пучки посредством коллимационной системы, их направление на объект измерения и опорную поверхность с формированием в них фазового сдвига Δϕ, предназначенного для интерпретации интерференционной картины при их отражении на фотоприемнике, фазовый сдвиг опорного и предметного световых пучков формируют за счет их брэгговской дифракции на одинаковые по номеру и знаку порядки путем пропускания на участке между коллимационной системой и опорной поверхностью и объектом измерения соответственно через идентичные акустооптические модуляторы, на которые подают опорные колебания от общего генератора U1 и U2 так, что U1=U0 cos[2πf×t+Δϕ] и U2=U0 cos[2π f×t]], где U0 - амплитуда опорных колебаний; f - собственная частота колебаний акустооптических модуляторов; t - время осуществления опорных колебаний, при этом возможна подача опорных колебаний U1 на акустооптический модулятор, через который проходит предметный световой пучок, а опорных колебаний U2 на акустооптический модулятор, через который проходит опорный световой пучок, или наоборот. Изобретение иллюстрируется графическими материалами, где: - на Фиг. 1 представлена реализованная в изобретении схема акустооптического взаимодействия - дифракции света на ультразвуке; - на Фиг. 2 представлен акустооптический модулятор; - на Фиг. 3 представлена схема управления фазовым сдвигом. В основе предлагаемого способа лежит явление акустооптического взаимодействия - дифракции света на ультразвуке [Магдич Л.Н., Молчанов В.Я. Акустооптические устройства и их применение // Советское радио, М., 1978, с. 5 - 8]. Сущность этого явления иллюстрируется на Фиг. 1. Исходное излучение лазера 1 посредством коллиматора 2 направляется на светоделитель 3 и зеркало 4, формирующих параллельные световые пучки 5 и 6. Пучки 5 и 6 направляются на акустооптические модуляторы (АОМ) 7 и 8, установленные таким образом, чтобы на выходе из них образовались одинаковые дифракционные спектры. В этом случае свет дифрагирует в 0 и +1 порядки дифракции как на модуляторе 7, так и на модуляторе 8. Дифракционные максимумы +1 порядков на модуляторе 7 - плоская световая волна E1 - и на модуляторе 8 - плоская световая волна E2 - вводятся в оптическую схему интерферометра как интерферирующие световые волны в ЛИИС. Возбуждение АОМ 7 и АОМ 8 осуществляется генератором 9, однако между сигналами, поступающими на АОМ от общего генератора 9, установлено фазосдвигающее устройство (ФС) 10, дискретно управляемое электронным способом от устройства управления (БУ) 11. Особенностью акустооптического взаимодействия является перенос фазы электрического возбуждения модулятора в фазу оптической световой волны в дифракционном порядке. Проиллюстрируем эту особенность (Фиг. 2). При брэгговской дифракции возможны две схемы акустооптического взаимодействия. На Фиг. 2 слева представлен акустооптический модулятор 7, в котором от электронного генератора 9 на частоте Из теории связанных волн [Kogelnik Н. Coupled wave theory for thick hologram gratings // Bell System Technical Journal, 1969, p. 2909-2949] вытекает важное свойство брэгговской дифракции: в нулевом дифракционном порядке E(0)=E` exp[-i(ω0t+ψ0)], где E` - амплитуда световой волны, ω0=2πν0, ψ0 - постоянный фазовый сдвиг, фаза световой волны не зависит от фазы возбуждающего ультразвукового напряжения. В то же время фаза световой волны в +1 порядке дифракции зависит от фазы электрического гармонического колебания U(t)=U0cos(Ωt+ϕ), где U0 - амплитуда, Содержащаяся в (1) и (2) фаза ϕ есть фаза электрического возбуждающего ультразвук напряжения U1 (предметный пучок) и U2 (опорный пучок): U0 - амплитуда опорных колебаний. Значение сдвига фаз в возбуждающем напряжении U1 можно изменять в ФС 10 (Фиг. 1) шагами программно от устройства управления БУ 11. По существу устройство ФС10 должно быть сформировано как цепь линий задержек Δtk, подключаемых от системы управления по заданной программе. Тогда каждая элементарная линия задержки создает фазовый сдвиг между интерферирующими в ЛИИС световыми волнами E1 и E2 (Фиг. 1) где k=0, 1, …, n - число произведенных фазовых шагов. Возбуждение ультразвука на акустооптических модуляторах, как правило, предусматривается на частоте, равной десяткам-сотням МГц, а скорость ультразвука в АОМ (например, на парателлурите) составляет порядка 700 м/с, максимальное время отклика составит не более 10 мкс, что не менее чем на порядок меньше времени отклика известных пьезоэлектрических актуаторов. Это означает существенное повышение быстродействия интерферометрии с электронно управляемым фазовым сдвигом. Схема управления фазовым сдвигом представлена на Фиг. 3. АОМ 7 и АОМ 8 (Фиг. 1) идентичны и возбуждаются от общего генератора 9 с той лишь разницей, что в цепь возбуждения одного из АОМ включен фазосдвигатель 10. Основным элементом фазосдвигателя, осуществляющим фазовый сдвиг между опорным сигналом «ОП», который возбуждает опорный АОМ (например, АОМ 7 на Фиг. 1), и фазовым сигналом «ФЗ», который возбуждает фазосдвигающий АОМ (на Фиг. 1 - АОМ 8), является подсистема фазовой автоподстройки частоты 13 (ФАПЧ). Входной сигнал на подсистему ФАПЧ подается с генератора 9 (ГЕН). Управление параметрами ФАПЧ осуществляется через порт динамической реконфигурации 14 (ПДР). В качестве управляющего устройства фазосдвигателя выступает микроконтроллер 15 (МК), который управляет параметрами ФАПЧ с помощью контроллера порта динамической реконфигурации 16 (КПДР), подключенного к порту динамической реконфигурации (ПДР) ФАПЧ. МК принимает команды и выдает признаки подтверждения выполнения команд и диагностическую информацию от компьютера через универсальный асинхронный приемо-передатчик 17 (УАПП). Количество фазовых сдвигов в предлагаемом способе не ограничено, так как число задержек может быть велико (десятки, сотни и более). Так, фазосдвигатель, реализованный на основе оценочного комплекта «SP601 Evaluation Kit», обеспечивает генерацию двух цифровых сигналов частотой 40 МГц с управляемым фазовым сдвигом, которые используются для возбуждения акустооптических модуляторов. Управление фазовым сдвигом осуществляется по интерфейсу USB. Дискретность задания фазового сдвига составляет Δϕk=360°/160=2,25, что в пересчете на длину волны для гелий-неонового лазера (632,8 нм) дает дискретность сдвига оптических фаз порядка 3,96 нм, а для эксимерных лазеров на парах фтора (длина волны 157 нм) - дискретность сдвига фаз 0,98 нм. Это обстоятельство позволит существенно повысить точность детектирования и обработки фазовой информации, а также разрешающую способность интерференционных систем. При этом управляемый фазовый сдвиг осуществляется не изменением амплитуды постоянного напряжения в десятки-сотни вольт (как это имеет место в вышерассмотренных аналогах и прототипе), а дискретно-низковольтными сигналами с постоянной амплитудой от компьютера, что гарантирует повышение помехоустойчивости. Изложенное позволяет сделать вывод о том, что поставленная задача - исключение из состава действий, управляющих фазовым сдвигом в интерференционных системах, механических перемещений - решена, а заявленный технический результат - повышение надежности (достоверности) за счет повышения точности и помехоустойчивости - достигнут. Анализ заявленного технического решения на соответствие условиям патентоспособности показал, что указанные в независимом пункте формулы признаки являются существенными и взаимосвязаны между собой с образованием устойчивой совокупности неизвестной на дату приоритета из уровня техники необходимых признаков, достаточной для получения требуемого синергетического (сверхсуммарного) технического результата. Следовательно, заявленный объект соответствует требованиям условий патентоспособности «новизна», «изобретательский уровень» и «промышленная применимость» по действующему законодательству.
возбуждается бегущая гармоническая ультразвуковая волна посредством пьезопреобразователя 12. Лазерное излучение с оптической частотой ν0 под углом Вульфа-Брэгга
где λ - длина волны света, Λ - длина волны звука, проходит через оптически прозрачный модулятор 7 и дифрагирует на два порядка: 0-й с частотой ν0 и +1-й с частотой
На Фиг. 2 справа представлена аналогичная картина брэгговской дифракции при падении света под отрицательным углом Вульфа-Брэгга. В этом случае, помимо 0-го порядка с частотой ν0, формируется -1-й порядок с частотой
Важно отметить, что регулировкой амплитуды напряжения на электронном генераторе 9 можно добиться перекачки всей энергии падающего лазерного напряжения в +1 или -1 порядки дифракции, что обеспечивает эффективное использование в способе излучательной энергии.
- круговая частота ультразвука, ϕ - фазовый сдвиг возбуждающего ультразвук сигнала от генератора. Аналогично и в -1 порядке дифракции


что соответствует одному шагу фазового сдвига. Величина ϕ - разность фаз между интерферирующими в ЛИИС световыми волнами E1 и E2 определяется как