патент
№ RU 2613190
МПК B64C1/38

ПЕРЕДНЯЯ КРОМКА ЛЕТАТЕЛЬНОГО АППАРАТА В УСЛОВИЯХ ЕЕ АЭРОДИНАМИЧЕСКОГО НАГРЕВА

Авторы:
Смирнов Александр Сергеевич Шестаков Антон Александрович Горяев Андрей Николаевич
Все (4)
Номер заявки
2015152099
Дата подачи заявки
04.12.2015
Опубликовано
15.03.2017
Страна
RU
Как управлять
интеллектуальной собственностью
Чертежи 
2
Реферат

Изобретение относится к тепловой защите главным образом сверх- и гиперзвуковых летательных аппаратов (ЛА). Передняя кромка ЛА выполнена в виде оболочки со сферическим затуплением, воспринимающим пиковые тепловые нагрузки, и боковыми поверхностями, воспринимающими пониженные тепловые нагрузки. Внутри оболочки установлен термоэмиссионный модуль, сопряженный катодом со сферическим затуплением и контактирующий анодом с теплоаккумулятором. Поверхность модуля, противоположная сферическому затуплению, может быть покрыта материалом с высокой излучательной способностью для теплообмена с внутренними боковыми поверхностями передней кромки. Техническим результатом является снижение температурных напряжений и упрощение конструкции передней кромки ЛА с одновременной выработкой на борту ЛА электроэнергии. 1 з.п. ф-лы, 2 ил.

Формула изобретения

1. Передняя кромка летательного аппарата в условиях ее аэродинамического нагрева, выполненная в виде оболочки со сферическим затуплением, воспринимающим пиковые тепловые нагрузки, и боковыми поверхностями, воспринимающими пониженные тепловые нагрузки, содержащая размещенный на ее внутренней поверхности термоэмиссионный слой - катод, который через токоввод катода, бортовой потребитель электроэнергии и токовывод анода соединен с электропроводящим элементом - анодом, расположенным с определенным зазором от катода, при этом герметизированные и вакуумированные полости, образованные между катодом и анодом, содержат химические элементы или соединения, уменьшающие работу выхода электронов, отличающаяся тем, что кромка снабжена термоэмиссионным модулем, передняя внешняя поверхность которого сопряжена со сферическим затуплением кромки, в передней части модуля внутри его объема размещены элементы, обеспечивающие термоэмиссионное охлаждение, а в хвостовой части модуля установлен контактирующий через электроизоляционный элемент с внешней поверхностью анода теплоаккумулятор, выполненный из материала с температурой фазового перехода, не превышающей рабочую температуру анода.

2. Передняя кромка по п. 1, отличающаяся тем, что поверхность термоэмиссионного модуля, противоположная поверхности оболочки со сферическим затуплением, покрыта материалом с высокой излучательной способностью для теплообмена с внутренними слоями боковых поверхностей оболочки передней кромки.

Описание

[1]

Изобретение относится к авиационной и ракетно-космической технике, в частности к тепловой защите частей летательных аппаратов (ЛА), совершающих полет в атмосфере со сверх- и гиперзвуковыми скоростями, и может быть использовано для улучшения теплопрочностных характеристик конструкции передних кромок с одновременным получением электрической энергии на борту ЛА.

[2]

Под передними кромками понимаются кромки крыла, оперения, воздухозаборника, носовые части, наконечники с полусферическим затуплением и другие элементы летательных аппаратов, которые подвержены воздействию существенно неравномерного вдоль образующей поверхности внешнего теплового потока.

[3]

В настоящее время в авиационной и ракетно-космической технике известны различные технические решения, предназначенные для тепловой защиты ЛА.

[4]

Например, известно изобретение по патенту РФ №2149808, 1999 г., B64G 1/58, В64С 1/38, В64С 1/36 на «Способ неразрушающейся тепловой защиты передней кромки летательного аппарата от воздействия интенсивного теплового потока и передняя кромка летательного аппарата с неразрушающейся тепловой защитой».

[5]

В данном аналоге передняя кромка ЛА выполнена в виде оболочки с минимальным аэродинамическим сопротивлением из материала с высокими теплопроводностью и излучательной способностью. В полости оболочки, имеющей переднюю сферическую и боковые поверхности, установлен светопрозрачный стержень, примыкающий к ее внутренней поверхности. В полете ЛА радиационный поток с внутренней поверхности кромки транспортируют через светопрозрачный стержень в среду с более низкой температурой. Таким образом, внутри кромки обеспечивается равномерное поле температур и, следовательно, увеличивается площадь ее излучающей поверхности при малых габаритах. При этом снижаются максимальные температуры и повышается надежность работы передней кромки путем сглаживания кратковременных пиков тепловой нагрузки.

[6]

Следует отметить, что в приведенном устройстве отвод тепла от наиболее нагретой поверхности передней кромки (со сферическим затуплением) происходит кондукцией и излучением, а теплоперенос эмиссией электронов не осуществляется и не учитывается, т.к. для него не созданы необходимые условия - определенный уровень вакуума, конструктивные размеры и т.п. Однако при значительном аэродинамическом нагреве конструкции ЛА доля отвода тепла за счет эмиссии электронов может быть значительно выше по сравнению с излучением.

[7]

Задача снижения температурно-напряженного состояния передней кромки крыла ГЛА с помощью термоэмиссионного преобразования энергии решается в изобретении по патенту РФ №2430857 МПК В64С 1/38 от 1.12.2009 на «Крыло гиперзвукового летательного аппарата в условиях его аэродинамического нагрева». Согласно описанию изобретения кромка непосредственно включена в контур охлаждения, для чего на внутреннюю поверхность кромки крыла нанесен эмиссионный слой - катод, обеспечивающий эмиссию электронов, которые воспринимаются электропроводящим элементом с более низкой температурой - анодом, размещенным внутри крыла с зазором относительно катода. Через анод и бортовой потребитель электроэнергии электроны транспортируются к катоду (нагреваемому элементу конструкции), что обуславливает возникновение электрического тока в цепи: термоэмиссионное покрытие, эмитирующее электроны при нагреве (катод), элемент, воспринимающий электроны (анод), автономный бортовой потребитель, нагреваемая часть корпуса ЛА. При этом внутренняя полость нагреваемой части кромки крыла ЛА герметизирована, вакуумирована и в нее введены химические элементы, например цезий, барий и т.д. или их соединения, преимущественно в парообразной фазе. Эти элементы и их соединения уменьшают работу выхода электронов и нейтрализуют образующийся в зазоре объемный заряд электронов, препятствующий дальнейшей эмиссии электронов.

[8]

Температуру анода поддерживают на уровне ниже температуры нагреваемой части ЛА и ее термоэмиссионного покрытия - катода с помощью дополнительной системы - достаточно сложной гидравлической бортовой системы терморегулирования с каналами циркуляции охлаждающего продукта, имеющей значительную массу и потребляющей значительную часть бортовых запасов энергии, что приводит к увеличению массогабаритных характеристик крыла и ГЛА в целом.

[9]

Известно также техническое решение по патенту РФ №2506199 МПК В64С 3/00, H01J 45/00 от 19.06.2012 на «Крыло гиперзвукового летательного аппарата в условиях его аэродинамического нагрева». Основная задача данного изобретения - снижение массогабаритных характеристик и упрощение конструкции крыла и ГЛА в целом, повышение его надежности и уменьшение энергопотребления решена тем, что вместо громоздкой бортовой системы терморегулирования с каналами циркуляции охлаждающего продукта на внутреннюю по отношению к внешней оболочке поверхность анода наносится эмиссионный слой из материала с высокой эмиссией электронов (например, оксидированный никель), а на определенном расстоянии от него размещен вспомогательный анод. Данный эмиссионный слой, нагреваясь и выполняя функцию катода, обеспечивает примерно то же значение тока эмиссии, но при более низких температурах, а значит, и его электронное охлаждение. Таким образом происходит электронное охлаждение анода. От основного анода параллельно (эквидистантно) на некотором расстоянии располагается вспомогательный анод, воспринимающий электроны, эмиттируемые с внутренней поверхности основного анода. Далее электроны через элементы бортового потребителя электрической энергии, совершая на нем полезную работу, снова направляются к эмиссионному слою катода (эмиссионному слою внутренней поверхности основного анода). Таким образом реализуется схема «тандем» электронного охлаждения крыла.

[10]

Проблемным в данном аналоге представляется упрощение конструкции крыла, т.к. в схему электронного охлаждения вводится подобный основному дополнительный термоэмиссионный контур, который при определенных условиях - температуре основного катода 1500-1800 К, основного анода 900-1200 К может не функционировать. При этом тепловую энергию, полученную вспомогательным анодом, тоже надо утилизировать.

[11]

Следует отметить тот факт, что для организации процесса термоэмиссии одним из главных условий является обеспечение существенного перепада температур между электродами, а именно температура анода должна быть значительно ниже температуры катода.

[12]

Технической задачей заявляемого изобретения является снижение температурно-напряженного состояния и упрощение конструкции передней кромки гиперзвукового ЛА и повышение на этой основе их надежности с одновременной выработкой на борту ЛА электрической энергии.

[13]

Указанная техническая задача решается тем, что передняя кромка летательного аппарата в условиях ее аэродинамического нагрева, выполненная в виде оболочки со сферическим затуплением, воспринимающим пиковые тепловые нагрузки, и боковыми поверхностями, воспринимающими пониженные тепловые нагрузки, содержащая размещенный на ее внутренней поверхности термоэмиссионный слой - катод, который через токоввод катода, бортовой потребитель электроэнергии и токовывод анода соединен с электропроводящим элементом - анодом, расположенным с определенным зазором от катода, при этом герметизированные и вакуумированные полости, образованные между катодом и анодом содержат химические элементы или соединения, уменьшающие работу выхода электронов, при этом передняя кромка снабжена термоэмиссионным модулем, передняя внешняя поверхность которого сопряжена со сферическим затуплением кромки, в передней части термоэмиссионного модуля внутри объема размещены элементы, обеспечивающие термоэмиссионное охлаждение, а в хвостовой части модуля установлен контактирующий через электроизоляционный элемент с внешней поверхностью анода теплоаккумулятор, выполненный из материала с температурой фазового перехода, не превышающей рабочую температуру анода.

[14]

Кроме того, задача решается также тем, что поверхность термоэмиссионного модуля, противоположная поверхности оболочки со сферическим затуплением, покрыта материалом с высокой излучательной способностью для теплообмена с внутренними слоями боковых поверхностей оболочки передней кромки.

[15]

Существенное отличие предложенного технического решения состоит в том, что для организации термоэмиссионного охлаждения передней кромки ЛА устройства и детали (термоэмиссионные элементы) - катод, анод, токовводы, токовыводы, химические элементы или соединения расположены внутри термоэмиссионного модуля (ТЭМ), конструктивно выполненного как единый блок. Ключевой особенностью является охлаждение анода теплоаккумулятором, также размещаемого в корпусе ТЭМ.

[16]

В качестве материала теплоаккумулятора могут быть использованы различные сплавы или металлы с приемлемой температурой фазового перехода (плавления). Например, у алюминия температура плавления 930 К, а удельная теплота плавления 390 кДж/кг. При организации (применении) термоэмиссионного охлаждения в диапазоне температур катода 1500-1800 К и анода 800-1000 К (материал электродов - вольфрам, молибден) использование алюминия в качестве теплового аккумулятора является более предпочтительным по сравнению с другими металлами (медь, латунь, никель, сталь), как по тепловым (температура плавления ниже остальных, а удельная теплота плавления выше), так и по массовым характеристикам.

[17]

Использование приведенных существенных отличий предложенного технического решения позволяет упростить конструкцию ТЭМ, а также технологию и экспериментальную отработку, т.к. появляется возможность отдельно отработать ТЭМ и установить его в конструкцию передней кромки ΛΑ.

[18]

С охлаждением анода с помощью теплоаккумулятора ТЭМ функционирует в течение промежутка времени, ограниченного окончанием фазового перехода его материала (полного расплавления). Длительность работы ТЭМ значительно увеличивается, если осуществить от анода через теплоаккумулятор дополнительный теплоотвод, например, излучением на менее нагретые поверхности. Известно, что лобовая часть передней кромки - сферическое затупление воспринимает значительные (пиковые) тепловые нагрузки, а боковые поверхности воспринимают пониженные (в несколько раз) тепловые нагрузки (см., например, фиг. 2 описания изобретения по патенту РФ №2149808). Поэтому и температура боковых поверхностей кромки будет существенно ниже температуры лобовой части на несколько сот градусов. Используя этот эффект и покрывая тыльную часть термоэмиссионного модуля материалом с высокой излучательной способностью для теплообмена с внутренними слоями боковых поверхностей оболочки передней кромки, дополнительно охлаждается излучением теплоаккумулятор и, соответственно, анод. Следует отметить, что высокая излучательная способность характеризуется степенью черноты поверхности ε величиной 0,8-0,9 и выше.

[19]

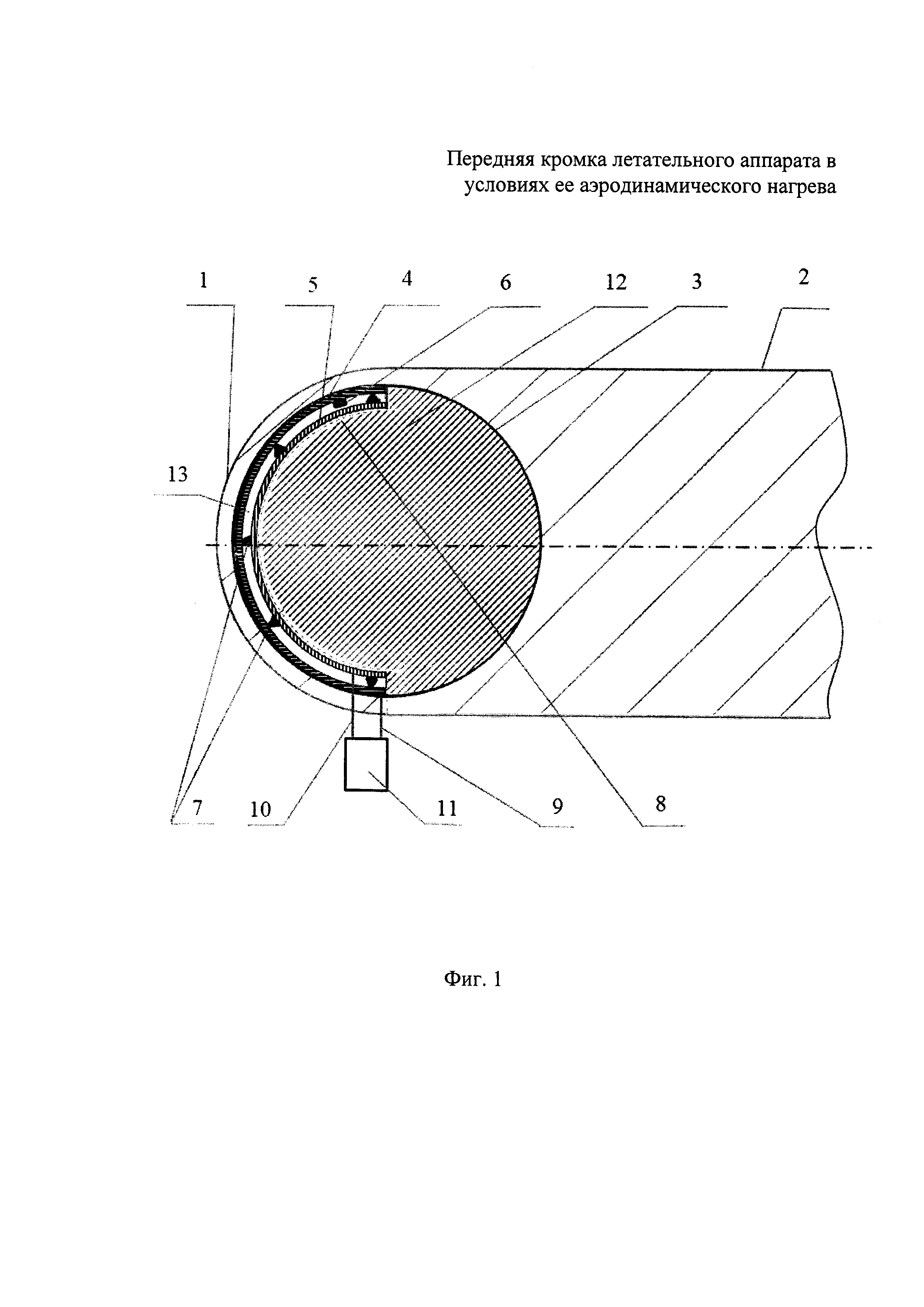
Предложенное техническое решение иллюстрируется чертежами, поясняющими предложенную конструкцию передней кромки ЛА:

[20]

на фиг. 1 схематически изображено поперечное сечение оболочки передней кромки с установленным термоэмиссионным модулем;

[21]

на фиг. 2 схематически изображено поперечное сечение оболочки передней кромки с установленным термоэмиссионным модулем для варианта с дополнительным теплоотводом излучением от теплоаккумулятора на боковые поверхности оболочки передней кромки.

[22]

На представленных чертежах введены следующие обозначения:

[23]

1 - сферическое затупление оболочки кромки;

[24]

2 - боковая поверхность оболочки кромки;

[25]

3 - корпус термоэмиссионного модуля;

[26]

4 - катод;

[27]

5 - анод;

[28]

6 - химические элементы или соединения в таблетированной форме;

[29]

7 - дистанциаторы;

[30]

8 - электроизоляция анода;

[31]

9 - токоввод катода;

[32]

10 - токовывод анода;

[33]

11 - бортовой потребитель электрической энергии;

[34]

12 - теплоаккумулятор;

[35]

13 - зазор величиной 8 между катодом и анодом;

[36]

14 - материал с высокой излучательной способностью.

[37]

Заявленная передняя кромка функционирует следующим образом. При полете ЛА со сверх- и гиперзвуковыми скоростями происходит сильный нагрев сферического затупления оболочки кромки 1 и катода 4, расположенного в носовой части корпуса термоэмиссионного модуля 3. При достижении определенной температуры (не ниже 1500 К) эмиссионный слой катода 4 начинает излучать и эмиттировать электроны. Электроны забирают с собой и переносят на анод 5 через герметизированный и вакуумированный зазор 13 (размером 0,1…0,5 мм) значительную часть теплового потока аэродинамического нагрева оболочки, за счет чего происходит электронное охлаждение катода. Одновременно испаряющиеся химические элементы или соединения в таблетированной форме 6 (пары цезия, бария и т.п.) уменьшают работу выхода электронов из катода 4 и нейтрализуют образующийся в полости зазора 13 объемный заряд электронов, интенсифицируя тем самым процесс термоэмиссии.

[38]

Для поддержания заданного расстояния - зазора 13 между катодом и анодом установлены дистанциаторы 7, выполненные из электроизолирующего материала, например, керамики.

[39]

Анод 5 через электроизоляцию 8 охлаждается отводом теплового потока на теплоаккумулятор 12, материал которого претерпевает фазовое превращение (плавится) и, таким образом, поддерживает температуру анода на необходимом уровне.

[40]

При этом осаждающиеся на аноде 5 электроны через токовывод анода 10 и бортовой потребитель электрической энергии 11 возвращаются на нагретый катод 4 по токовводу 9. В электрической цепи, образованной катодом 4, анодом 5, токовыводом анода 10, бортовым потребителем 11, токовводом катода 9, начинает протекать ток, который обеспечивает охлаждение сферического затупления оболочки кромки 1, нагреваемой аэродинамическим потоком.

[41]

При длительном полете ЛА с высокими скоростями, выполнением оболочки кромки в месте ее боковой поверхности пустотелой, достигается длительное охлаждение анода 5 через теплоаккумулятор 12 посредством отвода тепла излучением с его тыльной стороны. Величина лучистого потока определяется двумя основными факторами - высокой излучательной способностью (степенью черноты) материала 14, которым покрыта тыльная поверхность термоэмиссионного модуля, и уровнем температур внутренними слоев боковых поверхностей оболочки кромки, который существенно ниже уровня температур сферического затупления оболочки.

[42]

Совокупность предложенных новых признаков технического решения - конструктивно выполненный в виде единого блока термоэмиссионный модуль с охлаждаемым теплоаккумулятором анодом и дополнительным отводом тепла от теплоаккумулятора излучением на боковые части кромки с пониженной температурой позволяет получить эффективный, обусловленный взаимосвязью признаков, технический результат - снижение температурно-напряженного состояния и упрощение конструкции передней кромки гиперзвукового ЛА с одновременным повышением надежности и обеспечением выработки на борту ЛА электрической энергии.

Как компенсировать расходы
на инновационную разработку
Похожие патенты