патент
№ RU 2669453
МПК F04C15/00

Блок подпятников откачивающего насоса маслоагрегата газотурбинного двигателя (ГТД) (варианты), подпятник ведущего колеса откачивающего насоса маслоагрегата, подпятник ведомого колеса откачивающего насоса маслоагрегата

Авторы:
Фомин Вячеслав Николаевич
Номер заявки
2017139105
Дата подачи заявки
10.11.2017
Опубликовано
11.10.2018
Страна
RU
Как управлять
интеллектуальной собственностью
Чертежи 
3
Реферат

Группа изобретений относится к области авиадвигателестроения. Первый блок подпятников откачивающего насоса маслоагрегата включает два фронтальных подпятника, которые установлены в нижнем корпусе маслоагрегата. Второй блок подпятников включает два тыльных подпятника, которые установлены в среднем корпусе маслоагрегата. Подпятники выполнены гидродинамически адаптированными под рабочие параметры зубьев и межзубных впадин шестеренных колес и наделены входным и выходным каналами, формирующими совместно с шестеренными колесами насоса последовательные участки масляного тракта. Подпятники выполнены в виде усеченного диска с образованием лыски. При этом входной канал фронтального подпятника ведущего колеса выполняют в виде сквозного радиально-дугового проема. Входной канал фронтального подпятника ведомого колеса выполняют с частично несквозным радиально-дуговым проемом. Входной канал тыльных подпятников выполнен в виде дугового несквозного проема, имеющего внутреннюю стенку и маслоудерживающую донную площадку, закрученного в направлении вращения соответствующего колеса в проекции на условную плоскость, нормальную к вектору ввода перекачиваемого масла в насос. Диск каждого подпятника имеет дуговую площадку удержания и переноса откачиваемой среды в межзубных впадинах венца шестеренного колеса, определенную от границы канала заполнения впадин до начала зоны выдавливания откачиваемой среды. Технический результат, достигаемый группой изобретений, состоит в повышении КПД, ресурса и надежности работы откачивающего насоса маслоагрегата. 4 н. и 6 з.п. ф-лы, 4 ил.

Формула изобретения

1. Блок подпятников откачивающего насоса (ОН) маслоагрегата (МА) двухвального двухконтурного газотурбинного двигателя (ГТД) газотурбинной установки (ГТУ) газоперекачивающего агрегата (ГПА), имеющего коробку приводов агрегатов (КПА) и маслосистему, включающую магистрали подачи очищенного и охлажденного масла к нагруженным узлам двигателя и откачки отработанного масла в маслобак с фильтром тонкой очистки, характеризующийся тем, что включает два фронтальных подпятника, которые установлены в нижнем корпусе маслоагрегата, выполнены состоящими каждый из осевого диска и наделены входным и выходным каналами, формирующими совместно с соответствующим ведущим и ведомым шестеренными колесами рабочего органа ОН последовательные участки масляного тракта, при этом подпятники выполнены каждый с центральным отверстием, конгруэнтным диаметру соответствующего вала ОН маслоагрегата, конструктивно и гидродинамически адаптированными под рабочие параметры зубьев и межзубных впадин зубчатых венцов ведущего и ведомого шестеренных колес рабочего органа насоса, одновременно экспонируемых в потоке перекачиваемой среды, включая охват входным каналом диска полной высоты и необходимого количества подвергаемых одномоментному заполнению межзубных впадин взаимодействующих шестеренных колес, причем каждый подпятник выполнен в виде усеченного диска с образованием лыски, обеспечивающей в сборе смыкание дисков подпятников по лыскам сегментов в корпусе ОН по смещенным касательным к делительным окружностям зубьев в зубчатых венцах колес рабочего органа насоса, что обеспечивает выход за лыску до половины высоты зуба каждого зубчатого венца в стадии положения на линии центров взаимодействующих шестеренных колес рабочего органа насоса, при этом входной канал подпятника ведущего колеса выполняют в виде сквозного радиально-дугового проема, ограниченного в угловом секторе β1вх.фп, определенном в диапазоне значений β1вх.фп=(2,37÷3,04) [рад], а соответствующий входной канал подпятника ведомого колеса выполняют с частично несквозным радиально-дуговым проемом, ограниченным в угловом секторе β2вх.фп, определенном в диапазоне значений β2вх.фп=(2,18÷2,79) [рад], кроме того диск каждого подпятника имеет дуговую площадку удержания и переноса откачиваемой среды в межзубных впадинах венца шестеренного колеса, определенную в угловом диапазоне ϕобщ. от границы канала заполнения впадин до начала зоны выдавливания откачиваемой среды, ϕобщ.=(ϕ+Δϕ)=(2,22÷3,11) [рад], где ϕ соответствует угловому сектору удержания откачиваемой среды по торцам межзубных впадин венца колеса подпятниками, Δϕ соответствует угловому сектору продолжения удержания в межзубных впадинах избыточным давлением откачиваемой среды на выходе из межзубных впадин шестеренных колес.

2. Блок подпятников откачивающего насоса маслоагрегата по п. 1, отличающийся тем, что выходной канал подпятника ведомого колеса выполнен симметричным относительно выходного канала подпятника ведущего колеса, при этом выходные каналы каждого подпятника выполнены в виде несквозного в осевом направлении проема, ограниченного в угловом секторе β3вых.фп, определенном в диапазоне значений β3вых.фп=(0,77÷1,1) [рад].

3. Блок подпятников откачивающего насоса маслоагрегата по п. 1, отличающийся тем, что подпятники ведущего и ведомого колес зафиксированы от проворота не менее чем одним общим штифтом.

4. Подпятник ведущего рабочего колеса откачивающего насоса маслоагрегата двухвального двухконтурного газотурбинного двигателя ГТУ ГПА, имеющего КПА и маслосистему, включающую магистрали подачи очищенного и охлажденного масла к нагруженным узлам двигателя и откачки отработанного масла в маслобак с фильтром тонкой очистки, характеризующийся тем, что выполнен в качестве фронтального подпятника ведущего шестеренного рабочего колеса откачивающего насоса маслоагрегата и состоит из осевого диска, выполненного с центральным отверстием, конгруэнтным диаметру соответствующего вала ОН МА, наделенного входным и выходным каналами, и формирующего совместно с шестеренным колесом рабочего органа насоса последовательные участки масляного тракта, при этом подпятник выполнен конструктивно и гидродинамически адаптированным к рабочим параметрам зубьев и межзубных впадин зубчатого венца ведущего колеса рабочего органа насоса, одновременно экспонируемых в потоке перекачиваемой среды, включая охват входным каналом диска полной высоты и необходимого количества подвергаемых одномоментному заполнению межзубных впадин колеса, причем подпятник ведущего колеса выполнен в виде усеченного диска на высоту сегмента, обеспечивающую в сборе смыкание дисков подпятников по лыскам сегментов в корпусе ОН по смещенным касательным к делительным окружностям зубьев в зубчатых венцах колес рабочего органа насоса, что обеспечивает выход за лыску до половины высоты зуба каждого зубчатого венца в стадии положения на линии центров взаимодействующих шестеренных колес и геометрически соответствует угловому сектору ξx хорды, определенному в диапазоне ξx=(1,08÷1,54) [рад], причем входной канал подпятника ведущего колеса выполнен в виде сквозного радиально-дугового проема, ограниченного в угловом секторе β1вх.фп,определенном в диапазоне значений β1вх.фп=(2,37÷3,04) [рад], кроме того диск подпятника ведущего колеса имеет дуговую площадку удержания и переноса откачиваемой среды в межзубных впадинах венца шестеренного колеса, определенную в угловом диапазоне ϕобщ. от границы канала заполнения впадин до начала зоны выдавливания откачиваемой среды ϕобщ.=(ϕ+Δϕ)=(2,22÷3,11) [рад], где ϕ соответствует угловому сектору удержания откачиваемой среды по торцам межзубных впадин венца ведущего колеса подпятниками, Δϕ соответствует угловому сектору продолжения удержания в межзубных впадинах избыточным давлением откачиваемой среды на выходе из межзубных впадин ведущего колеса.

5. Подпятник ведущего рабочего колеса по п. 4, отличающийся тем, что выходной канал подпятника ведущего колеса выполнен в виде несквозного в осевом направлении проема, ограниченного в угловом секторе β3вых.фп, определенном в диапазоне значений β3вых.фп=(0,77÷1,1) [рад].

6. Подпятник ведомого рабочего колеса откачивающего насоса маслоагрегата двухвального двухконтурного газотурбинного двигателя ГТУ ГПА, имеющего КПА и маслосистему, включающую магистрали подачи очищенного и охлажденного масла к нагруженным узлам двигателя и откачки отработанного масла в маслобак с фильтром тонкой очистки, характеризующийся тем, что выполнен в качестве фронтального подпятника ведомого шестеренного рабочего колеса откачивающего насоса маслоагрегата и состоит из осевого диска, выполненного с центральным отверстием, конгруэнтным диаметру соответствующего вала ОН МА, наделенного входным и выходным каналами, формирующего совместно с ведомым колесом рабочего насоса последовательные участки масляного тракта, при этом подпятник выполнен конструктивно и гидродинамически адаптированным к рабочим параметрам зубьев и межзубных впадин зубчатого венца ведомого колеса рабочего органа насоса, одновременно экспонируемых в потоке перекачиваемой среды, включая охват входным каналом диска полной высоты и необходимого количества подвергаемых одномоментному заполнению межзубных впадин колеса, причем подпятник ведомого колеса выполнен в виде усеченного диска на высоту сегмента, обеспечивающую в сборе смыкание дисков подпятников по лыскам сегментов в корпусе ОН по смещенным касательным к делительным окружностям зубьев в зубчатых венцах колес рабочего органа насоса, что обеспечивает выход за лыску до половины высоты зуба каждого зубчатого венца в стадии положения на линии центров взаимодействующих шестеренных колес и геометрически соответствует угловому сектору ξx хорды, определенному в диапазоне ξx=(0,79÷1,08) [рад], причем подпятник ведомого колеса выполнен с центральным отверстием, конгруэнтным диаметру соответствующего вала ОН МА, а входной канал подпятника ведомого колеса выполняют с частично несквозным радиально-дуговым проемом, ограниченным в угловом секторе β2вх.фп, определенном в диапазоне значений β2вх.фп=(2,18÷2,79) [рад], кроме того диск подпятника ведомого колеса имеет дуговую площадку удержания и переноса откачиваемой среды в межзубных впадинах венца шестеренного колеса, определенную в угловом диапазоне ϕобщ.1 от границы канала заполнения впадин до начала зоны выдавливания откачиваемой среды ϕобщ.=(ϕ+Δϕ)=(2,22÷3,11) [рад], где ϕ соответствует угловому сектору удержания откачиваемой среды по торцам межзубных впадин венца ведомого колеса подпятниками, а Δϕ соответствует угловому сектору продолжения удержания в межзубных впадинах избыточным давлением откачиваемой среды на выходе из межзубных впадин ведомого колеса.

7. Подпятник ведомого рабочего колеса по п. 6, отличающийся тем, что выходной канал подпятника ведомого колеса выполнен в виде несквозного в осевом направлении проема, ограниченного в угловом секторе β3вых.фп, определенном в диапазоне значений β3вых.фп=(0,77÷1,1) [рад].

8. Блок подпятников откачивающего насоса маслоагрегата двухвального двухконтурного газотурбинного двигателя ГТУ ГПА, имеющего КПА и маслосистему, включающую магистрали подачи очищенного и охлажденного масла к нагруженным узлам двигателя и откачки отработанного масла в маслобак с фильтром тонкой очистки, характеризующийся тем, что включает два тыльных подпятника, которые установлены в среднем корпусе маслоагрегата, выполнены состоящими каждый из осевого диска и наделены входным и выходным каналами, формирующими совместно с соответствующим ведущим и ведомым шестеренными колесами рабочего органа насоса последовательные участки масляного тракта рабочего органа ОН маслоагрегата, при этом подпятники выполнены каждый с центральным отверстием, конгруэнтным диаметру соответствующего вала ОН МА, конструктивно и гидродинамически адаптированными под рабочие параметры зубьев и межзубных впадин зубчатых венцов ведущего и ведомого колес рабочего органа насоса, одновременно экспонируемых в потоке перекачиваемой среды, включая охват входным каналом диска полной высоты и необходимого количества подвергаемых одномоментному заполнению межзубных впадин взаимодействующих шестеренных колес, причем каждый подпятник выполнен в виде усеченного диска с образованием лыски, обеспечивающей примыкание дисков подпятников по лыскам сегментов в сборе в корпусе ОН по совмещенным касательным к делительным окружностям зубьев в зубчатых венцах шестеренных колес рабочего органа насоса, что обеспечивает выход за лыску до половины высоты зуба каждого зубчатого венца в стадии положения на линии центров взаимодействующих шестеренных колес рабочего органа насоса и геометрически соответствует угловому сектору ξх хорды, определенному в диапазоне значений ξх=(093÷1,29) [рад], причем входной канал тыльного подпятника каждого колеса выполнен в виде дугового несквозного проема, имеющего внутреннюю стенку и маслоудерживающую донную площадку, закрученного в направлении вращения соответствующего колеса в проекции на условную плоскость, нормальную к вектору ввода перекачиваемого масла в насос, и ограниченного в угловом секторе β4вх.тп,определенном в диапазоне значений β4вх.тп=(2,43÷3,21) [рад].

9. Блок подпятников откачивающего насоса маслоагрегата по п. 8, отличающийся тем, что выходной канал тыльного подпятника ведущего колеса выполнен симметричным относительно выходного канала ведомого колеса, при этом выходные каналы каждого подпятника выполнены в виде несквозного в осевом направлении проема, ограниченного в угловом секторе β5вх.тп, определенном в диапазоне значений β5вх.тп=(0,77÷1,1) [рад]

10. Блок подпятников откачивающего насоса маслоагрегата по п. 8, отличающийся тем, что тыльные подпятники ведущего и ведомого колес зафиксированы от проворота не менее чем одним общим штифтом.

Описание

[1]

Группа изобретений относится к области авиадвигателестроения, а именно, к конструкциям откачивающих насосов в составе маслоагрегата системы смазки нагруженных узлов газотурбинных двигателей авиационного типа, используемых в нефтегазовой и энергетической промышленности.

[2]

Из существующего уровня техники известен блок подпятников шестеренного насоса, прижатых к торцевых поверхностям шестерен. Подпятники выполнены каждый в виде в виде дисков, наделенных входными и выходными каналами (М.Т. Башта. Объемные насосы и гидравлические двигатели гидросистем. Москва, Машиностроение, 1974 г., рис. 128).

[3]

Известен блок подпятников шестеренного насоса, установленных по обеим сторонам шестерен. Внутри подпятников выполнены магистрали для соединения каналов подвода рабочей жидкости с межзубовыми впадинами шестерен (RU 2456476 С1, опубл. 20.07.2012).

[4]

К недостаткам известных решений относятся недостаточная проработанность шестеренного насоса с блоком подпятников, входящего в маслоагрегат системы смазки маслом нагруженных узлов двигателя, повышенные сложность конструкции, материалоемкость, относительно невысокая эффективность, надежность и долговечность работы маслоагрегата и обусловленные конструктивными решениями невысокие гидродинамические характеристики шестеренного насоса, что приводит к повышенному износу трущихся деталей рабочих узлов и снижению надежности работы и КПД насоса в процессе эксплуатации двигателя.

[5]

Задача, решаемая группой изобретений, заключается в улучшении гидродинамических и энергетических характеристик откачивающего насоса маслоагрегата, наделенного с двух сторон по торцам шестеренных колес подпятниками, повышении КПД, надежности и долговечности работы насоса при снижении энергозатрат на работу маслоагрегата, связанную в откачкой отработанного масла из коробки приводов агрегатов (КПА) и доставкой очищенного и охлажденного масла в узлы смазки нагруженных шестерен КПА стационарного газотурбинного двигателя авиационного типа в составе газоперекачивающих агрегатов для транспортировки газа или газотурбинной электростанции.

[6]

Поставленная задача решается тем, что блок подпятников откачивающего насоса (ОН) маслоагрегата (МА) двухвального двухконтурного газотурбинного двигателя (ГТД) газотурбинной установки (ГТУ) газоперекачивающего агрегата (ГПА), имеющего коробку приводов агрегатов (КПА) и маслосистему, включающую магистрали подачи очищенного и охлажденного масла к нагруженным узлам двигателя и откачки отработанного масла в маслобак с фильтром тонкой очистки, согласно изобретению, включает два фронтальных подпятника, которые установлены в нижнем корпусе маслоагрегата, выполнены состоящими каждый из осевого диска и наделены входным и выходным каналами, формирующими совместно с соответствующим ведущим и ведомым шестеренными колесами рабочего органа ОН последовательные участки масляного тракта, при этом подпятники выполнены каждый с центральным отверстием, конгруэнтным диаметру соответствующего вала ОН маслоагрегата, конструктивно и гидродинамически адаптированными под рабочие параметры зубьев и межзубных впадин зубчатых венцов ведущего и ведомого шестеренных колес рабочего органа насоса, одновременно экспонируемых в потоке перекачиваемой среды, включая охват входным каналом диска полной высоты и необходимого количества подвергаемых одномоментному заполнению межзубных впадин взаимодействующих шестеренных колес, причем каждый подпятник выполнен в виде усеченного диска с образованием лыски, обеспечивающей в сборе смыкание дисков подпятников по лыскам сегментов в корпусе ОН по смещенным касательным к делительным окружностям зубьев в зубчатых венцах колес рабочего органа насоса, что обеспечивает выход за лыску до половины высоты зуба каждого зубчатого венца в стадии положения на линии центров взаимодействующих шестеренных колес рабочего органа насоса, при этом входной канал подпятника ведущего колеса выполняют в виде сквозного радиально-дугового проема, ограниченного в угловом секторе β1вх.фп, определенном в диапазоне значений β1вх.фп=(2,37÷3,04) [рад], а соответствующий входной канал подпятника ведомого колеса выполняют с частично несквозным радиально-дуговым проемом, ограниченным в угловом секторе β2вх.фп, определенном в диапазоне значений β2вх.фп=(2,18÷2,79) [рад], кроме того диск каждого подпятника имеет дуговую площадку удержания и переноса откачиваемой среды в межзубных впадинах венца шестеренного колеса, определенную в угловом диапазоне ϕобщ. от границы канала заполнения впадин до начала зоны выдавливания откачиваемой среды, ϕобщ.=(ϕ+Δϕ)=(2,22÷3,11) [рад], где ϕ соответствует угловому сектору удержания откачиваемой среды по торцам межзубных впадин венца колеса подпятниками, Δϕ соответствует угловому сектору продолжения удержания в межзубных впадинах избыточным давлением откачиваемой среды на выходе из межзубных впадин шестеренных колес.

[7]

При этом выходной канал подпятника ведомого колеса может быть выполнен симметричным относительно выходного канала подпятника ведущего колеса, при этом выходные каналы каждого подпятника выполнены в виде несквозного в осевом направлении проема, ограниченного в угловом секторе β3вых.фп, определенном в диапазоне значений β3вых.фп=(0,77÷1,1) [рад].

[8]

Подпятники ведущего и ведомого колес могут быть зафиксированы от проворота не менее чем одним общим штифтом.

[9]

Поставленная задача в части подпятника ведущего рабочего колеса откачивающего насоса маслоагрегата двухвального двухконтурного газотурбинного двигателя ГТУ ГПА, имеющего КПА и маслосистему, включающую магистрали подачи очищенного и охлажденного масла к нагруженным узлам двигателя и откачки отработанного масла в маслобак с фильтром тонкой очистки решается тем, что, согласно изобретению, подпятник выполнен в качестве фронтального подпятника ведущего шестеренного рабочего колеса откачивающего насоса маслоагрегата и состоит из осевого диска, выполненного с центральным отверстием, конгруэнтным диаметру соответствующего вала ОН МА, наделенного входным и выходным каналами, и формирующего совместно с шестеренным колесом рабочего органа насоса последовательные участки масляного тракта, при этом подпятник выполнен конструктивно и гидродинамически адаптированным к рабочим параметрам зубьев и межзубных впадин зубчатого венца ведущего колеса рабочего органа насоса, одновременно экспонируемых в потоке перекачиваемой среды, включая охват входным каналом диска полной высоты и необходимого количества подвергаемых одномоментному заполнению межзубных впадин колеса, причем подпятник ведущего колеса выполнен в виде усеченного диска на высоту сегмента, обеспечивающую в сборе смыкание дисков подпятников по лыскам сегментов в корпусе ОН по смещенным касательным к делительным окружностям зубьев в зубчатых венцах колес рабочего органа насоса, что обеспечивает выход за лыску до половины высоты зуба каждого зубчатого венца в стадии положения на линии центров взаимодействующих шестеренных колес и геометрически соответствует угловому сектору ξx хорды, определенному в диапазоне ξx=(1,08÷1,54) [рад], причем входной канал подпятника ведущего колеса выполнен в виде сквозного радиально-дугового проема, ограниченного в угловом секторе β1вх.фп, определенном в диапазоне значений β1вх.фп=(2,37÷3,04) [рад], кроме того диск подпятника ведущего колеса имеет дуговую площадку удержания и переноса откачиваемой среды в межзубных впадинах венца шестеренного колеса, определенную в угловом диапазоне ϕобщ. от границы канала заполнения впадин до начала зоны выдавливания откачиваемой среды ϕобщ.=(ϕ+Δϕ)=(2,22÷3,11) [рад], где ϕ соответствует угловому сектору удержания откачиваемой среды по торцам межзубных впадин венца ведущего колеса подпятниками, Δ ϕ соответствует угловому сектору продолжения удержания в межзубных впадинах избыточным давлением откачиваемой среды на выходе из межзубных впадин ведущего колеса.

[10]

При этом выходной канал подпятника ведущего колеса может быть выполнен в виде несквозного в осевом направлении проема, ограниченного в угловом секторе β3вых.фп, определенном в диапазоне значений β3вых.фп=(0,77÷1,1) [рад].

[11]

Поставленная задача в части подпятника ведомого рабочего колеса откачивающего насоса маслоагрегата двухвального двухконтурного газотурбинного двигателя ГТУ ГПА, имеющего КПА и маслосистему, включающую магистрали подачи очищенного и охлажденного масла к нагруженным узлам двигателя и откачки отработанного масла в маслобак с фильтром тонкой очистки, решается тем, что, согласно изобретению, подпятник выполнен в качестве фронтального подпятника ведомого шестеренного рабочего колеса откачивающего насоса маслоагрегата и состоит из осевого диска, выполненного с центральным отверстием, конгруэнтным диаметру соответствующего вала ОН МА, наделенного входным и выходным каналами, формирующего совместно с ведомым колесом рабочего насоса последовательные участки масляного тракта, при этом подпятник выполнен конструктивно и гидродинамически адаптированным к рабочим параметрам зубьев и межзубных впадин зубчатого венца ведомого колеса рабочего органа насоса, одновременно экспонируемых в потоке перекачиваемой среды, включая охват входным каналом диска полной высоты и необходимого количества подвергаемых одномоментному заполнению межзубных впадин колеса, причем подпятник ведомого колеса выполнен в виде усеченного диска на высоту сегмента, обеспечивающую в сборе смыкание дисков подпятников по лыскам сегментов в корпусе ОН по смещенным касательным к делительным окружностям зубьев в зубчатых венцах колес рабочего органа насоса, что обеспечивает выход за лыску до половины высоты зуба каждого зубчатого венца в стадии положения на линии центров взаимодействующих шестеренных колес и геометрически соответствует угловому сектору ξx хорды, определенному в диапазоне ξх=(0,79÷1,08) [рад], причем подпятник ведомого колеса выполнен с центральным отверстием, конгруэнтным диаметру соответствующего вала ОН МА, а входной канал подпятника ведомого колеса выполняют с частично несквозным радиально-дуговым проемом, ограниченным в угловом секторе β2вх.фп, определенном в диапазоне значений β2вх.фп=(2,18÷2,79) [рад], кроме того диск подпятника ведомого колеса имеет дуговую площадку удержания и переноса откачиваемой среды в межзубных впадинах венца шестеренного колеса, определенную в угловом диапазоне ϕобщ.1 от границы канала заполнения впадин до начала зоны выдавливания откачиваемой среды ϕобщ.=(ϕ+Δϕ)=(2,22÷3,11) [рад], где ϕ соответствует угловому сектору удержания откачиваемой среды по торцам межзубных впадин венца ведомого колеса подпятниками, а Δ ϕ соответствует угловому сектору продолжения удержания в межзубных впадинах избыточным давлением откачиваемой среды на выходе из межзубных впадин ведомого колеса.

[12]

При этом выходной канал подпятника ведомого колеса может быть выполнен в виде несквозного в осевом направлении проема, ограниченного в угловом секторе β3вых.фп, определенном в диапазоне значений β3вых.фп=(0,77÷1,1) [рад].

[13]

Поставленная задача по второму варианту блока подпятников откачивающего насоса маслоагрегата двухвального двухконтурного газотурбинного двигателя ГТУ ГПА, имеющего КПА и маслосистему, включающую магистрали подачи очищенного и охлажденного масла к нагруженным узлам двигателя и откачки отработанного масла в маслобак с фильтром тонкой очистки, решается тем, что блок подпятников, согласно изобретению, включает два тыльных подпятника, которые установлены в среднем корпусе маслоагрегата, выполнены состоящими каждый из осевого диска и наделены входным и выходным каналами, формирующими совместно с соответствующим ведущим и ведомым шестеренными колесами рабочего органа насоса последовательные участки масляного тракта рабочего органа ОН маслоагрегата, при этом подпятники выполнены каждый с центральным отверстием, конгруэнтным диаметру соответствующего вала ОН МА, конструктивно и гидродинамически адаптированными под рабочие параметры зубьев и межзубных впадин зубчатых венцов ведущего и ведомого колес рабочего органа насоса, одновременно экспонируемых в потоке перекачиваемой среды, включая охват входным каналом диска полной высоты и необходимого количества подвергаемых одномоментному заполнению межзубных впадин взаимодействующих шестеренных колес, причем каждый подпятник выполнен в виде усеченного диска с образованием лыски, обеспечивающей примыкание дисков подпятников по лыскам сегментов в сборе в корпусе ОН по совмещенным касательным к делительным окружностям зубьев в зубчатых венцах шестеренных колес рабочего органа насоса, что обеспечивает выход за лыску до половины высоты зуба каждого зубчатого венца в стадии положения на линии центров взаимодействующих шестеренных колес рабочего органа насоса и геометрически соответствует угловому сектору ξх хорды, определенному в диапазоне значений ξх=(093÷1,29) [рад], причем входной канал тыльного подпятника каждого колеса выполнен в виде дугового несквозного проема, имеющего внутреннюю стенку и маслоудерживающую донную площадку, закрученного в направлении вращения соответствующего колеса в проекции на условную плоскость, нормальную к вектору ввода перекачиваемого масла в насос, и ограниченного в угловом секторе β4вх.тп, определенном в диапазоне значений β4вх.тп=(2,43÷3,21) [рад].

[14]

При этом выходной канал тыльного подпятника ведущего колеса может быть выполнен симметричным относительно выходного канала ведомого колеса, при этом выходные каналы каждого подпятника выполнены в виде несквозного в осевом направлении проема, ограниченного в угловом секторе β5вых.тп, определенном в диапазоне значений β5вых.тп=(0,77÷1,1) [рад]

[15]

Кроме того тыльные подпятники ведущего и ведомого колес могут быть зафиксированы от проворота не менее чем одним общим штифтом.

[16]

Технический результат, достигаемый группой изобретений, объединенных единым творческим замыслом, состоит в повышении эксплуатационных характеристик откачивающего насоса маслоагрегата за счет установки с торцов шестеренных колес фронтальных и тыльных подпятников для ограждения зубчатых венцов, наделенных входным и выходным каналами, формирующими совместно с соответствующим шестеренным колесом последовательные участки масляного тракта рабочего органа ОН, обеспечивая тем самым повышение КПД, ресурса и надежности работы откачивающего насоса и маслоагрегата двигателя в целом в составе газоперекачивающих агрегатов для транспортировки газа или газотурбинной электростанции.

[17]

Сущность изобретения поясняется чертежами, где:

[18]

на фиг. 1 изображен блок фронтальных подпятников взаимодействующих ведущего и ведомого шестеренных колес откачивающего насоса, вид сверху;

[19]

на фиг. 2 - подпятник ведущего шестеренного колеса, вид сверху;

[20]

на фиг. 3 - подпятник ведомого шестеренного колеса, вид сверху.

[21]

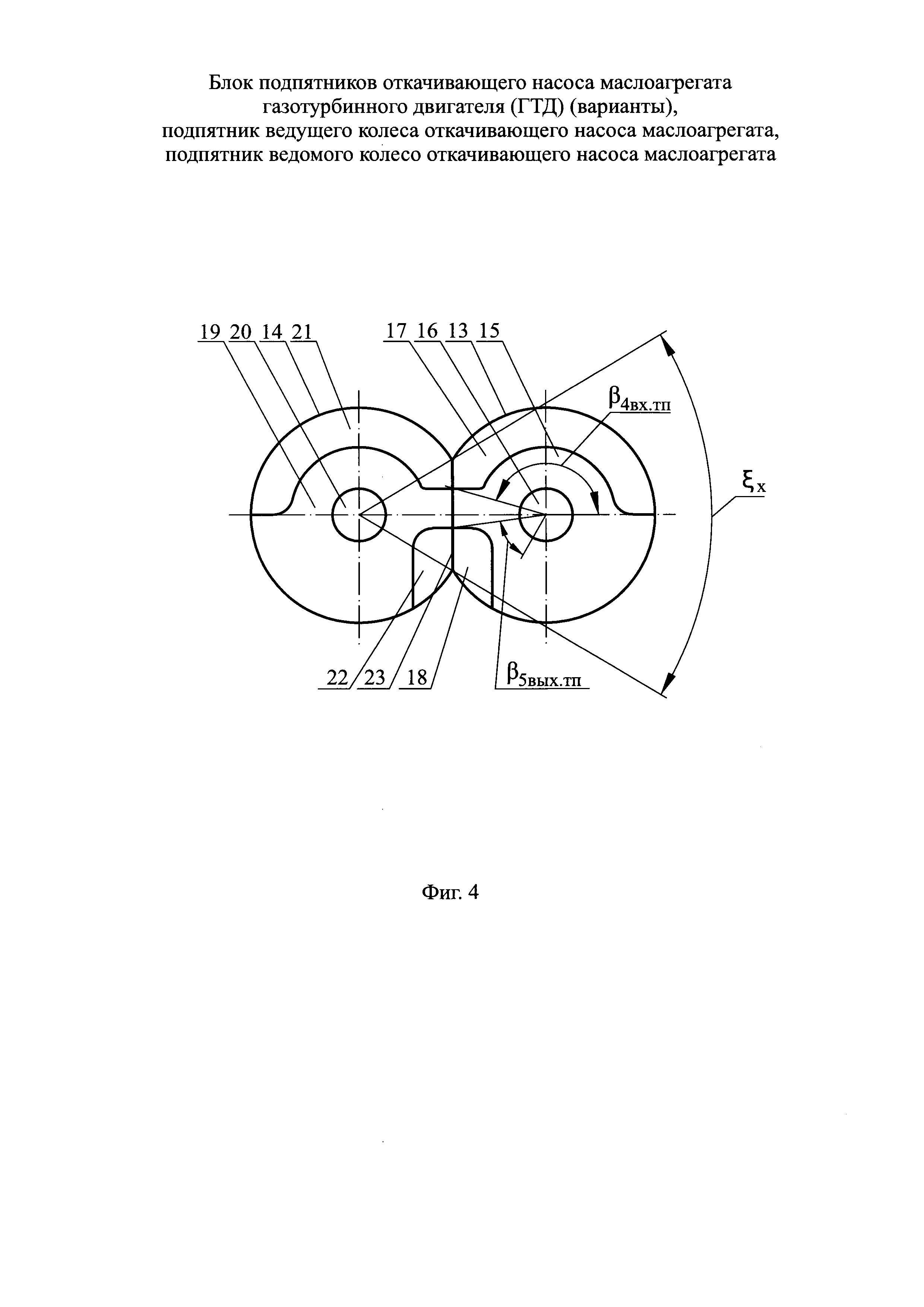
на фиг. 4 - блок тыльных подпятников взаимодействующих ведущего и ведомого шестеренных колес откачивающего насоса, вид сверху.

[22]

Газотурбинный двигатель ГТУ ГПА выполнен двухвальным двухконтурным. ГТД включает валы РВД и РНД с опорами, коробку приводов агрегатов (КПА) и маслоагрегат. Маслоагрегат установлен на крышке КПА, включает откачивающий насос, связанный магистралями подачи и отвода масла с маслобаком и фильтром тонкой очистки маслосистемы двигателя. Откачивающий насос смонтирован в корпусе маслоагрегата в нижней части крышки КПА в зоне стока отработанного масла. Откачивающий насос содержит шестеренный рабочий орган, включающий ведущее и ведомое шестеренные колеса, наделенные каждое с торцов съемными подпятниками.

[23]

Блок подпятников откачивающего насоса (фиг. 1) включает два фронтальных подпятника 1 и 2, которые установлены в нижнем корпусе маслоагрегата. Фронтальный подпятник 1 ведущего шестеренного колеса (фиг. 2) состоит из осевого диска 3 с центральным отверстием 4, конгруэнтным диаметру соответствующего вала ОН МА, наделенного входным и выходным каналами 5 и 6. Фронтальный подпятник 2 ведомого шестеренного колеса (фиг. 3) состоит из осевого диска 7 с центральным отверстием 8, конгруэнтным диаметру соответствующего вала ОН МА, наделенного входным и выходным каналами 9 и 10. Фронтальные подпятники 1, 2 выполнены формирующим совместно с соответствующими ведущим и ведомым шестеренными колесами последовательные участки масляного тракта рабочего органа ОН.

[24]

Фронтальные подпятники 1, 2 выполнены каждый конструктивно и гидродинамически адаптированными под рабочие параметры зубьев и межзубных впадин зубчатых венцов ведущего и ведомого шестеренных колес рабочего органа насоса, одновременно экспонируемых в потоке перекачиваемой среды, включая охват входным каналом диска полной высоты и необходимого количества подвергаемых одномоментному заполнению межзубных впадин взаимодействующих шестеренных колес.

[25]

Подпятник 1 ведущего колеса (фиг. 2) выполнен в виде усеченного диска 3 на высоту сегмента с образованием лыски 11, обеспечивающей в сборе смыкание дисков 3, 7 подпятников 1 и 2 по лыскам сегментов в корпусе ОН по смещенным касательным к делительным окружностям зубьев в зубчатых венцах колес рабочего органа насоса, что обеспечивает выход за лыску до половины высоты зуба каждого зубчатого венца в стадии положения на линии центров взаимодействующих шестеренных колес и геометрически соответствует угловому сектору ξххорды, определенному в диапазоне ξх=(1,08÷1,54) [рад]. Входной канал 5 подпятника 1 ведущего колеса выполнен в виде сквозного радиально-дугового проема, ограниченного в угловом секторе β1вх.фп, определенном в диапазоне значений β1вх.фп=(2,37÷3,04) [рад]. Выходной канал 6 подпятника 1 выполнен в виде несквозного в осевом направлении проема, ограниченного в угловом секторе β3вых.фп, определенном в диапазоне значений β3вых.фп=(0,77÷1,1) [рад]. Диск 3 подпятника 1 ведущего колеса имеет дуговую площадку удержания и переноса откачиваемой среды в межзубных впадинах венца шестеренного колеса, определенную в угловом диапазоне ϕобщ.от границы канала заполнения впадин до начала зоны выдавливания откачиваемой среды ϕобщ.=(ϕ+Δϕ)=(2,22÷3,11) [рад], где ϕ соответствует угловому сектору удержания откачиваемой среды по торцам межзубных впадин венца ведущего колеса подпятниками, а Δ ϕ соответствует угловому сектору продолжения удержания в межзубных впадинах избыточным давлением откачиваемой среды на выходе из межзубных впадин ведущего колеса.

[26]

Подпятник 2 ведомого колеса (фиг. 3) выполнен в виде усеченного диска 7 на высоту сегмента с образованием лыски 12, обеспечивающей в сборе смыкание дисков 3, 7 подпятников 1, 2 по лыскам сегментов в корпусе ОН по смещенным касательным к делительным окружностям зубьев в зубчатых венцах колес рабочего органа насоса, что обеспечивает выход за лыску до половины высоты зуба каждого зубчатого венца в стадии положения на линии центров взаимодействующих шестеренных колес и геометрически соответствует угловому сектору ξx хорды лыски 12 сегментно усеченного диска 7 подпятника, определенному в диапазоне значений ξх=(0,79÷1,08) [рад]. Входной канал 9 подпятника 2 ведомого колеса выполняют с частично несквозным радиально-дуговым проемом, ограниченным в угловом секторе β2вх.фп, определенном в диапазоне значений β2вх.фп=(2,18÷2,79) [рад]. Выходной канал 10 подпятника 2 выполнен в виде несквозного в осевом направлении проема, ограниченного в угловом секторе β3вых.фп, определенном в диапазоне значений β3вых.фп=(0,77÷1,1) [рад]. Диск 7 подпятника 2 ведомого колеса как и диск 3 подпятника 1 ведущего колеса имеет дуговую площадку удержания и переноса откачиваемой среды в межзубных впадинах венца шестеренного колеса, определенную в угловом диапазоне ϕобщ. от границы канала заполнения впадин до начала зоны выдавливания откачиваемой среды ϕобщ.=(ϕ+Δϕ)=(2,22÷3,11) [рад], где ϕ соответствует угловому сектору удержания откачиваемой среды по торцам межзубных впадин венца ведомого колеса подпятниками, а Δϕ соответствует угловому сектору продолжения удержания в межзубных впадинах избыточным давлением откачиваемой среды на выходе из межзубных впадин ведомого колеса (на чертежах не показано).

[27]

Подпятники 1 и 2 ведущего и ведомого колес зафиксированы от проворота не менее чем одним общим штифтом (на чертежах не показано).

[28]

Блок подпятников откачивающего насоса маслоагрегата ГТД по второму варианту включает два тыльных подпятника 13, 14 (фиг. 4), которые установлены в среднем корпусе маслоагрегата. Тыльный подпятник 13 ведущего шестеренного колеса состоит из осевого диска 15 с центральным отверстием 16, конгруэнтным диаметру соответствующего вала ОН МА, наделенного входным и выходным каналами 17 и 18. Тыльный подпятник 14 ведомого шестеренного колеса состоит из осевого диска 19 с центральным отверстием 20, конгруэнтным диаметру соответствующего вала ОН МА, и наделен входным и выходным каналами 21 и 22. Тыльные подпятники 13, 14 выполнены формирующим совместно с соответствующими ведущим и ведомым шестеренными колесами рабочего органа насоса последовательные участки масляного тракта насоса. Подпятники 13, 14 ведущего и ведомого колес зафиксированы от проворота не менее чем одним общим штифтом (на чертежах не показано). Подпятники 13, 14 выполнены каждый конструктивно и гидродинамически адаптированными под рабочие параметры зубьев и межзубных впадин зубчатых венцов ведущего и ведомого шестеренных колес рабочего органа насоса, одновременно экспонируемых в потоке перекачиваемой среды, включая охват входным каналом диска полной высоты и необходимого количества подвергаемых одномоментному заполнению межзубных впадин взаимодействующих шестеренных колес рабочего органа ОН. Каждый подпятник 13, 14 выполнен в виде усеченного диска с образованием лыски 23, обеспечивающей в сборе смыкание дисков 15, 19 подпятников по лыскам 23 сегментов в корпусе ОН по смещенным касательным к делительным окружностям зубьев в зубчатых венцах колес рабочего органа насоса, что обеспечивает выход за лыску до половины высоты зуба каждого зубчатого венца в стадии положения на линии центров взаимодействующих шестеренных колес и геометрически соответствует угловому сектору ξх хорды, определенному в диапазоне ξх=(093÷1,29) [рад].

[29]

Входной канал 17, 21 соответствующего подпятника 13, 14 выполняют в виде дугового несквозного проема, имеющего внутреннюю стенку и маслоудерживающую донную площадку, закрученного в направлении вращения соответствующего колеса в проекции на условную плоскость, нормальную к вектору ввода перекачиваемого масла в насос, и ограниченного в угловом секторе β4вх.тп, определенном в диапазоне значений β4вх.тп=(2,43÷3,21) [рад]. Выходной канал 18 подпятника 13 ведущего колеса выполняют симметричным относительно выходного канала 22 ведомого колеса. Выходные каналы 17, 21 каждого подпятника 13, 14 выполнены в виде несквозного в осевом направлении проема, ограниченного в угловом секторе β5вых.тп, определенном в диапазоне значений β5вых.тп=(0,77÷1,1) [рад]. Тыльные подпятники 13, 14 зафиксированы от проворота не менее чем одним общим штифтом (на чертежах не показано).

[30]

Откачивающий насос предназначен для возврата отработанного масла из масляной полости КПА в маслобак. Шестеренные колеса рабочего органа насоса снабжены с торцов фронтальными подпятниками 1, 2 и тыльными подпятниками 13, 14, обеспечивающими торцевое ограждение зубчатых венцов колес рабочего органа. Откачиваемое масло подают из КПА в рабочий орган ОН под минимально необходимым избыточным давлением. По внутреннему каналу через входные каналы 5, 9 фронтальных подпятников 1, 2 масло поступает в межзубные впадины зубчатых венцов шестеренных колес. При прохождении вращающимися колесами рабочего органа насоса зоны всасывания масла, через входные каналы 5, 9 фронтальных подпятников 1, 2 происходит наполнение маслом межзубных впадин колес и последующее удержание откачиваемого масла в межзубных впадинах в процессе переноса масла в зону выдавливания в рабочем органе насоса. После чего производят объемное вытеснение масла из каждой межзубной впадины взаимодействующих шестеренных колес. А освобождаемые межзубные впадины зубчатых венцов при продолжении поворота колес попадают в зону последующего разряжения и повторяется процесс заполнения межзубных впадин новыми порциями откачиваемого масла. Откачанное масло, получившее при вытеснении из межзубных впадин колес более высокое давление, через выходные каналы 6, 10 фронтальных подпятников 1, 2 и выходные каналы 18, 22 в среднем корпусе маслоагрегата по откачивающей магистрали подают на очистку и охлаждение в маслобак масляной системы двигателя, а затем на рециркуляцию.

[31]

Указанный технический результат достигается при выполнении входных и выходных каналов подпятников и каналов экспонирования взаимодействующих зубчатых венцов шестеренных колес, как в режиме выдавливания перекачиваемой среды, так и в режиме последующего разрежения в межзубных впадинах при последующем выходе из них зубьев оппозитных зубчатых венцов с заявленными угловыми параметрами βвх,βвых, ξх,ϕобщ., принимаемых в пределах найденных в изобретении диапазонов значений. Выход принимаемых значений параметров элементов рабочего органа насоса за пределы найденных в группе изобретений в ту или иную сторону приводит к резкому ухудшению одной или группы составляющих совокупный технический результат, включая резкое снижение КПД, ресурса, энергоемкости на единицу откачиваемой среды, материало- и трудоемкости изготовления откачивающего насоса и маслоагрегата в целом. Так уменьшение значения угла βвх ниже нижнего предела найденного в группе изобретений диапазона приведет при прочих равных условиях к уменьшению объема наполнения межзубных впадин и как следствие к снижению производительности и КПД при сопоставимых с требуемыми в изобретении скоростями вращения рабочих колес и необходимых для этого энергозатрат, либо потребует повышенных затрат энергии, износа рабочих органов и приведет к снижению ресурса ОН и маслоагрегата. Увеличение принимаемого угла βвх свыше верхнего предела найденного в группе изобретений оптимального диапазона значений заведомо приведет к снижению производительности по количеству нагнетаемой среды к нагруженным узлам двигателя, к неоправданному увеличению эксплуатационной энергоемкости и снижению ресурса насоса и маслоагрегата в целом.

[32]

Таким образом, предлагаемая в изобретении конфигурация фронтальных и тыльных подпятников, формирующими совместно с соответствующим шестеренным колесом рабочего органа насоса последовательные участки масляного тракта, обеспечивает оптимальное вытеснение перекачиваемой среды из каждой межзубной впадины каждого из взаимодействующих шестеренных колес в насосе и повышает плавность работы и увеличение ресурса насоса при одновременном снижении материалоемкости и габаритов узлов маслоагрегата в целом.

Как компенсировать расходы
на инновационную разработку
Похожие патенты