патент
№ RU 2691216
МПК C03B5/235

Конструкция горелки для получения кварцевого стекла из жидких кремнийорганических соединений

Авторы:
Демидов Владимир Витальевич
Номер заявки
2018134244
Дата подачи заявки
27.09.2018
Опубликовано
11.06.2019
Страна
RU
Как управлять
интеллектуальной собственностью
Чертежи 
1
Реферат

Изобретение относится к горелке для получения кварцевого стекла. Техническим результатом является упрощение конструкции. Конструкция горелки для получения кварцевого стекла из жидких кремнийорганических соединений представляет собой многотрубчатую систему, которая включает последовательно расположенные концентрическим образом испарительную камеру на основе трубы из кварцевого стекла, нагреватель, герметичный защитный кожух нагревателя, трубу из кварцевого стекла для подачи газообразного водорода, трубу из кварцевого стекла для подачи газообразного кислорода и корпус горелки. Трубы для подачи водорода и кислорода сужены в направлении выхода паров сырья и образуют совместно с испарительной камерой единое сопло. Испарительная камера изнутри, непосредственно перед соплом, заполнена осколками кварцевого стекла. Снаружи испарительной камеры расположен нагреватель, содержащий нагревательный элемент, выполненный в виде надетой на испарительную камеру спирали в той ее части, которая изнутри заполнена осколками кварцевого стекла, и термопару. Для теплоизоляции спираль дополнительно обернута стеклотканью. 1 ил.

Формула изобретения

Конструкция горелки для получения кварцевого стекла из жидких кремнийорганических соединений, представляющая собой многотрубчатую систему, которая включает последовательно расположенные концентрическим образом испарительную камеру на основе трубы из кварцевого стекла, нагреватель, герметичный защитный кожух нагревателя, трубу из кварцевого стекла для подачи газообразного водорода, трубу из кварцевого стекла для подачи газообразного кислорода и корпус горелки, при этом трубы для подачи водорода и кислорода сужены в направлении выхода паров сырья и образуют совместно с испарительной камерой единое сопло, сама испарительная камера изнутри, непосредственно перед соплом, заполнена осколками кварцевого стекла, снаружи испарительной камеры расположен нагреватель, содержащий нагревательный элемент, выполненный в виде надетой на испарительную камеру спирали в той ее части, которая изнутри заполнена осколками кварцевого стекла, и термопару, причем для теплоизоляции спираль дополнительно обернута стеклотканью.

Описание

[1]

Изобретение относится к технологии получения кварцевого стекла и изделий из него, в частности, к оборудованию и элементам оборудования для газофазного изготовления кварцевого стекла и изделий из него, получения пористых заготовок кварцевого стекла, получения диффузионных отражающих покрытий на основе кварцевого стекла, производства синтетического кремнезема, а также синтеза заготовок волоконных световодов на основе кварцевого стекла, и представляет собой конструкцию кислородно-водородной горелки для получения кварцевого стекла из жидких кремнийорганических соединений (КОС).

[2]

Из уровня техники известны аналоги кислородно-водородных горелок, основанных на использовании многотрубчатой конструкции (например, патент РФ №2271341, опубл. 10.03.2006 по индексу МПК С03В 37/023). В указанных горелках сырьевой материал в газообразном виде подается в центральный канал, а по соседнему каналу пропускается поток инертного газа, экранирующий пары сырья от преждевременного высокотемпературного гидролиза, что препятствует нежелательному осаждению кварцевого стекла в области сопла.

[3]

Также известна кислородно-водородная горелка схожей конструкции с несколькими каналами (патент РФ №2295492, опубл. 20.03.2007 по индексу МПК С01В 33/18). В этом патенте отдельное внимание уделено свойствам материала, из которого изготавливаются газоподающие каналы горелки. В частности, для получения высокочистого продукта авторы изобретения рекомендуют использовать материалы, не содержащие металлов, например, кварцевое стекло.

[4]

Недостатком систем горелок рассматриваемого типа является возможность использования в качестве сырьевых материалов для получения кварцевого стекла только легколетучих соединений кремния, например, тетрахлорида кремния. Попытки работать с безгалогенным сырьем, а именно, жидкими КОС, приводят к значительному снижению производительности горелки, вплоть до полной потери ее функциональности, из-за устойчивой конденсации паров сырья в центральном канале.

[5]

При использовании КОС в качестве сырья для получения кварцевого стекла из газовой фазы конструкция горелки заметно усложняется по сравнению с системами, основанными на высокотемпературной переработке тетрахлорида кремния. Это обусловлено, прежде всего, различием физико-химических свойств сырьевых материалов: КОС обладают более высокой температурой кипения и значительно меньшим парциальным давлением. Наиболее распространены два способа подачи такого сырья в пламя горелки, первый из которых основан на формировании взвеси из мелких капель на выходе из сопла и последующем их сжигании в пламени с избытком кислорода (патент США №6565823, опубл. 20.05.2003 по индексу МПК С01В 33/12). Суть второго способа заключается в предварительном испарении КОС и подаче сырья в виде смеси пара и газа-окислителя (кислорода) в пламя горелки (патент США №5599371, опубл. 04.02.1997 по индексу МПК С03В 37/018).

[6]

За прототип изобретения выбрана система для получения кварцевого стекла в результате сжигания КОС, описанная в патенте США №5599371, которая включает в себя насос для подачи КОС в жидком виде, подогреватель КОС, обеспечивающий его разогрев до определенной температуры, испаритель КОС, обеспечивающий его преобразование из жидкого состояния в пар, устройство для смешивания пара с газом-носителем и саму горелку сложной конструкции, имеющую, помимо входных отверстий для подачи горючего газа и газа-окислителя, входные отверстия для подачи газообразных азота и кислорода для экранирования паров сырья.

[7]

К недостаткам данной системы следует отнести чрезмерную сложность конструкции горелки для сжигания КОС, необходимость разбавления паров КОС газом-окислителем (кислородом) и необходимость использования экранирующих потоков азота и кислорода.

[8]

Задача настоящего изобретения заключается в упрощении конструкции горелки для получения кварцевого стекла в результате сжигания КОС, которая, с одной стороны, повысит степень чистоты производимого продукта за счет отказа от использования разбавляющего пары КОС газа-окислителя (кислорода), а с другой, повысит экономическую эффективность производства кварцевого стекла за счет отказа от использования некоторых элементов оборудования. Необходимо отметить, что отличительными особенностями КОС являются безопасность, экологичность и возможность глубокой очистки от примесей, что само по себе способствует получению кварцевого стекла высокого качества.

[9]

Технический результат достигается за счет использования в конструкции горелки специального испарителя, работоспособного с расходами КОС до 1000 мл/ч, для решения проблемы конденсации образующихся паров сырья при транспортировке их от испарительной камеры до зоны реакции, а также потока газообразного водорода, экранирующего пары сырья, который одновременно является горючим газом горелки, для предотвращения заполнения сопла продуктами реакции. Испарение подаваемых в центральный канал горелки жидких КОС осуществляется с помощью нагревателя, расположенного снаружи канала. При этом составные части испарителя не должны вносить загрязнений в КОС, а сам испаритель должен исключать возможность полимеризации и пиролиза КОС при нагреве.

[10]

Задача настоящего изобретения решается в конструкции горелки для получения кварцевого стекла из газовой фазы в результате сжигания КОС, подаваемых в жидком виде, представляющей собой многотрубчатую систему, которая включает последовательно расположенные концентрическим образом испарительную камеру на основе трубы из кварцевого стекла, нагреватель, герметичный защитный кожух нагревателя, трубу из кварцевого стекла для подачи газообразного водорода, трубу из кварцевого стекла для подачи газообразного кислорода и корпус горелки. Конструкция устройства такова, что трубы для подачи водорода и кислорода сужены в направлении выхода паров сырья и образуют совместно с испарительной камерой единое сопло. Часть испарительной камеры, ближе к соплу, изнутри заполнена осколками кварцевого стекла со средним размером около 2 мм. Снаружи испарительной камеры расположен нагреватель, содержащий нагревательный элемент, выполненный в виде надетой на испарительную камеру спирали в той ее части, которая изнутри заполнена осколками кварцевого стекла, и термопару. Спираль дополнительно обернута стеклотканью с целью надежной теплоизоляции и предотвращения контакта нагревателя с термопарой. Добавим также, что кожух нагревателя выполнен из кварцевого стекла, а корпус горелки - из фторопласта (в качестве альтернативного материала может использоваться нержавеющая сталь).

[11]

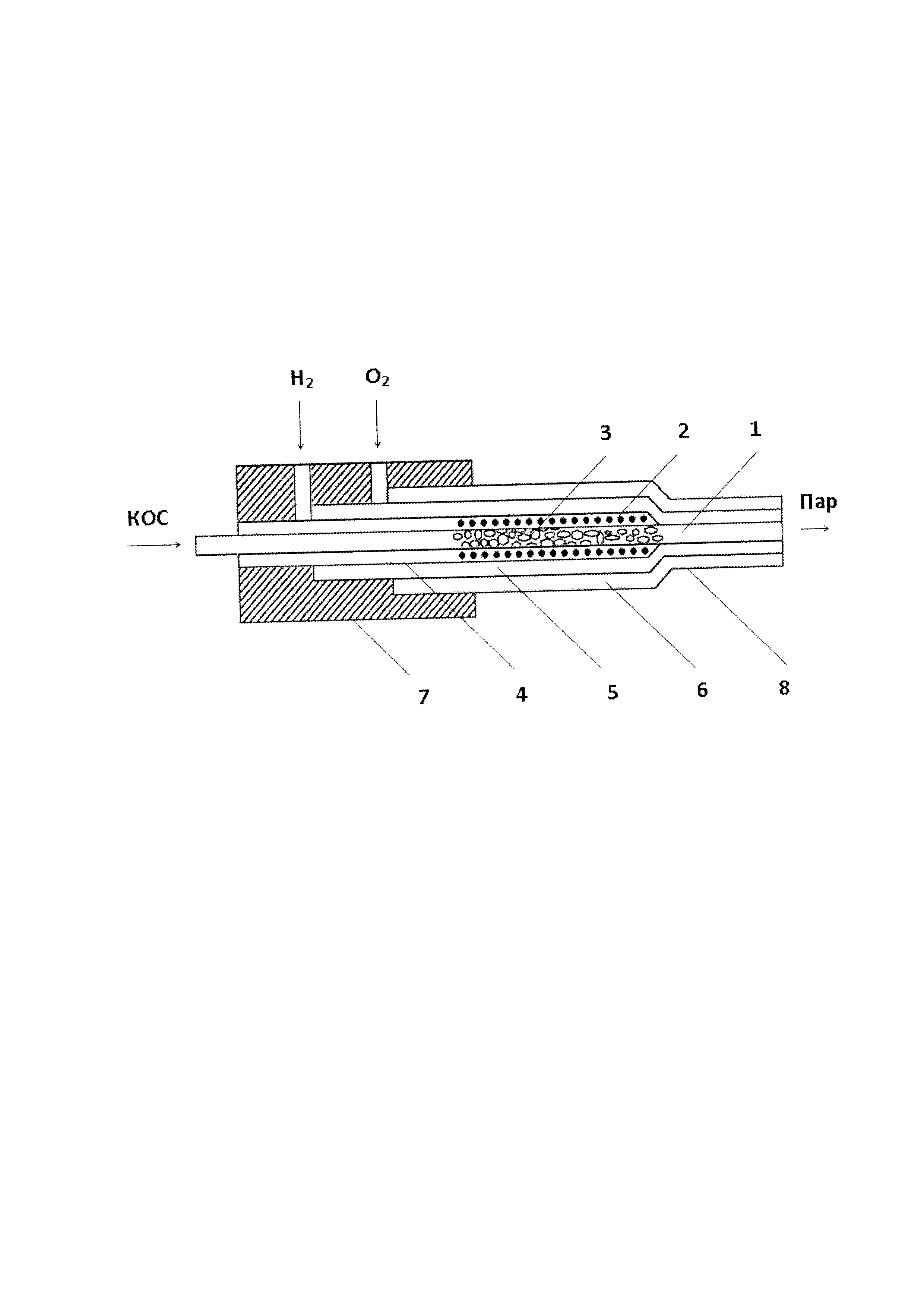
Использование описанной выше конструкции горелки решает проблему конденсации паров сырья при транспортировке их от испарительной камеры до зоны реакции, исключает загрязнение КОС и минимизирует возможность полимеризации КОС при нагреве, что в конечном итоге способствует получению кварцевого стекла высокого качества. На чертеже представлено схематическое изображение конструкции горелки для получения кварцевого стекла из газовой фазы в результате сжигания КОС, подаваемых в жидком виде, где: 1 - испарительная камера, 2 - нагреватель, 3 - осколки кварцевого стекла, 4 - герметичный защитный кожух нагревателя, 5 - труба для подачи газообразного водорода, 6 - труба для подачи газообразного кислорода, 7 - корпус горелки, 8 - сопло, образованное трубой 1 и сужающимися частями труб 5 и 6.

[12]

Испарительная камера 1, герметичный защитный кожух нагревателя 4, труба для подачи газообразного водорода 5 и труба для подачи газообразного кислорода 6 представляют собой систему из последовательно расположенных концентрическим образом труб из кварцевого стекла, герметично фиксирующихся в корпусе горелки 7. Толщина стенок каждой трубы может варьироваться от 0,5 до 3 мм, исходя из теплопроводящих и прочностных свойств материала. Внешний диаметр каждой трубы выбирается с учетом необходимого отношения площадей поперечного сечения каналов для пропускания газов и паров сырья, обеспечивающих их ламинарное течение при заданных расходах. Длина испарительной камеры 1 может составлять от 120 до 300 мм, что обусловлено диапазоном значений допустимого расхода КОС. Корпус горелки 7 зафиксирован снаружи системы из последовательно расположенных труб со стороны подачи КОС в испарительную камеру 1 и имеет входные отверстия для подачи газообразных водорода и кислорода в соответствующие трубы 5 и 6.

[13]

Пример конкретного выполнения конструкции горелки для получения кварцевого стекла из газовой фазы в результате сжигания КОС, подаваемых в жидком виде. В качестве испарительной камеры 1 используется труба из кварцевого стекла с внутренним диаметром 4 мм, толщиной 1 мм и длиной 450 мм, средняя часть которой перед соплом заполнена осколками кварцевого стекла с размерами 1×2×3 мм для увеличения площади испарения КОС. Нагреватель 2 снабжен нагревательным элементом на основе нихромовой проволоки Х20Н80 с диаметром 0,8 мм, выполненным в виде спирали длиной 250 мм. Нагревательный элемент расположен снаружи испарительной камеры 1 в той ее части, которая заполнена осколками кварцевого стекла. Спираль дополнительно обернута стеклотканью с целью электроизоляции дальнего контактного провода и общей теплоизоляции. Участок трубы испарительной камеры 1 длиной около 60 мм от входа КОС до участка 3, заполненного кварцевыми осколками, не оснащен электроподогревом и используется для транспортировки паров сырья в зону реакции. Зона реакции располагается в 10-15 мм от среза сопла горелки 8 благодаря наличию потока газообразного водорода, экранирующего пары сырья от газообразного кислорода. Несмотря на отсутствие прямого нагрева, данный участок трубы разогревается перегретыми парами сырья, проходящими через испарительную камеру 1, что препятствует их конденсации в рассматриваемой зоне. Для контроля температуры процесса в испарительной камере у одного из концов спирали, расположенного со стороны сопла горелки 8, установлена термопара (на чертеже не показана). Питание нагревателя осуществляется от лабораторного автотрансформатора и контролируется показаниями вольтметра и термопары. Конструкция горелки представляет собой систему последовательно расположенных концентрическим образом труб из кварцевого стекла. Центральная труба предназначена для подачи паров сырья в зону реакции, прилегающий к нему канал используется для подачи газообразного водорода, который, помимо функции топлива для создания высокотемпературного пламени, также выступает в роли экрана для потока газообразного кислорода, подаваемого в третий от центра канал. Использование такой конструкции сдвигает зону реакции от среза сопла горелки 8 и препятствует тем самым заполнению его продуктами реакции.

[14]

Функционирование горелки указанной конструкции происходит следующим образом. В горелку по соответствующему каналу подается газообразный водород, после чего она поджигается внешним источником пламени. Далее в горелку по соответствующему каналу подается газообразный кислород, и настраиваются оптимальные для формирования высокотемпературного пламени расходы газов. После этого подается питание на нагреватель 2, расположенный снаружи испарительной камеры 1, и контролируется степень его нагрева с помощью термопары. При достижении температуры нагревателя 200°С в центральную трубу - испарительную камеру 1 из расходной емкости подается КОС в жидком виде с минимальным расходом (около 1 мл/мин). Необходимый расход сырья обеспечивается перильстатическим насосом. По истечении 5 мин расход КОС увеличивается до требуемого (от 200 до 1000 мл/ч), после чего режим работы горелки становится стационарным и не требует изменения каких-либо параметров.

[15]

В результате использования горелки описанной конструкции был получен образец кварцевого стекла толщиной 10 мм на основе октаметилциклотетрасилоксана со следующими характеристиками: максимальный размер включений не более 0,01 мм, оптическая однородность в направлении оси образца не более 1×10-6 на длине волны 632,8 нм, показатель преломления 1,457 на длине волны 632,8 нм, плотность 2,2 г/см3, концентрация гидроксильных групп не более 1000 ppm, общая концентрация контролируемых примесей не более 1 ppm, коэффициент пропускания более 90% в спектральной области от 300 до 2500 нм.

Как компенсировать расходы
на инновационную разработку
Похожие патенты