патент
№ RU 2680755
МПК G06F15/16

ДИСПЕТЧЕРСКАЯ ИНФОРМАЦИОННО-АНАЛИТИЧЕСКАЯ СИСТЕМА

Авторы:
Кушнир Александр Петрович
Номер заявки
2017128646
Дата подачи заявки
25.04.2017
Опубликовано
26.02.2019
Страна
RU
Как управлять
интеллектуальной собственностью
Чертежи 
1
Реферат

Изобретение относится к диспетчерским информационно-аналитическим системам. Техническим результатом заявленного изобретения является расширение технологических возможностей подразделений цифровых машиностроительных предприятий. Для реализации технического результата в диспетчерской системе содержатся модуль сбора данных, модуль обработки и представления данных, входящий в состав АРМ оператора, каналы передачи данных, технологический сервер с Web-интерфейсом и модулями регламентных данных, нормативно-справочных данных и настроек системы. При этом в технологическом сервере установлен сервер приложений, содержащий модуль подготовки и контроля управляющих программ, модуль архивации, модуль генерации отчетов, модули сопряжения с системами ERP, PLM и системой календарного планирования, модуль контроля ресурсного обеспечения, информационно-справочную подсистему. Технологический сервер связан с автоматизированным рабочим местом диспетчера и АРМ оператора локальной сетью, а АРМ диспетчера содержит модуль прямого управления технологическим оборудованием. 1 ил.

Формула изобретения

Диспетчерская информационно-аналитическая система для управления технологическим оборудованием, содержащая модуль сбора данных, модуль обработки и представления данных, входящий в состав автоматизированных рабочих мест (АРМ) оператора, каналы передачи данных, технологический сервер с Web-интерфейсом и модулями регламентных данных, нормативно-справочных данных и настроек системы, отличающаяся тем, что в технологическом сервере установлен сервер приложений, содержащий модуль подготовки и контроля управляющих программ (УП), модуль архивации, модуль генерации отчетов, модули сопряжения с системами ERP, PLM и системой календарного планирования, модуль контроля ресурсного обеспечения, информационно-справочную подсистему, при этом технологический сервер связан с автоматизированным рабочим местом (АРМ) диспетчера и АРМ оператора локальной сетью, а АРМ диспетчера содержит модуль прямого управления технологическим оборудованием (DNC), модуль контроля и выдачи производственного задания, модуль управления технологическим оборудованием, модуль беспроводного соединения и канал передачи данных, связанный с контроллерами, модулями сбора данных и устройствами числового программного управления (ЧПУ) технологического оборудования через концентратор портов АРМ оператора.

Описание

[1]

Изобретение относится к информационно-аналитическим системам, позволяющим осуществлять сбор, обработку, представление и анализ данных о состоянии технологических процессов, статистической отчетности, регламентных и плановых показателей структурных подразделений цифровых машиностроительных предприятий, а также контроль исполнения производственных планов, выполнения технологических процессов в режиме реального времени, экспорт данных в смежные информационные системы.

[2]

Из уровня техники известна технологическая информационно-аналитическая система, содержащая автоматизированные рабочие места потребителей информации, сеть Ethernet, прикладные рабочие станции, модули полевых приборов, полевую шину, управляющие процессоры, узловую шину, внутреннюю информационную магистраль и другие элементы [патент РФ №62262, опубл. 27.03.2007].

[3]

Недостатком такой системы является узкая специфика, направленная только на решение задач мониторинга технологических процессов. Отсутствие статистических, регламентных, плановых данных в системе для возможности контроля исполнения производственных планов, а также гарантированного сбора данной информации. Отсутствие базы данных нормативно-справочной информации, персонализации информации в зависимости от прав доступа, механизма автоматического (ручного) экспорта статистических данных в сторонние информационные системы.

[4]

Из уровня техники также известна информационно-аналитическая система мониторинга объектов промысла, сущность которой заключается в использовании модуля потока телеграмм, UNIX-сервера, сервера баз данных, приемно-декодирующего модуля телеграмм, модуля сканирования и таблиц, Web-сервера, модуля формирования динамических Web-страниц и интерфейсов, осуществляющих связи между системой автоматического сбора, обработки и анализа поступающей информации с промысловых объектов и системой использования общеприменимых сетевых ресурсов посредством создания баз данных, настроенных на двусторонний обмен с сервера [патент РФ №62720, опубл. 27.04.2007].

[5]

Недостатком данной системы является отсутствие в ней модулей, содержащих статистические, регламентные и плановые данные и обеспечивающих возможность контроля исполнения производственных планов, а также гарантированного сбора указанных данных. Недостатком в том числе является отсутствие базы нормативно-справочной информации, механизма автоматического и ручного экспорта указанных данных в сторонние информационные системы.

[6]

Наиболее близкой к предлагаемому изобретению и принятой в качестве прототипа является диспетчерская информационно-аналитическая система [патент РФ №123554, опубл. 27.12.2012]. В документе описывается информационно-аналитическая система, характеризующаяся тем, что она состоит из двух уровней: структурного подразделения предприятия и центрального, где уровень структурного подразделения предприятия содержит модуль автоматизированной системы управления технологическим процессом, соединенный с модулем сбора оперативных данных уровня структурного подразделения предприятия, обеспечивающим автоматическую передачу оперативных данных в модуль сбора оперативных данных центрального уровня, и с модулем сбора данных реального времени, по меньшей мере, одно автоматизированное рабочее место ручного ввода данных уровня структурного подразделения предприятия и, по меньшей мере, одного авторизованного потребителя данных уровня структурного подразделения предприятия; центральный уровень содержит, по меньшей мере, одно автоматизированное рабочее место ручного ввода данных центрального уровня, по меньшей мере, одного авторизованного потребителя данных центрального уровня и сервер приложений, включающий в себя модуль сбора оперативных данных центрального уровня, модуль регламентных данных, модуль нормативно-справочных данных (далее - НСД) и настроек системы, а также модуль обработки и представления данных авторизованным потребителям данных уровней структурного подразделения предприятия и центрального, при этом сервер приложений выполнен с возможностью обеспечения персонализированного доступа через Web-интерфейс авторизованных потребителей данных уровней структурного подразделения предприятия и центрального к модулю обработки и представления данных, который соединен с модулем сбора данных реального времени, модулем сбора оперативных данных центрального уровня, модулем НСД и настроек системы и модулем регламентных данных, соединенным посредством основного и резервного каналов передачи данных, обеспечивающих передачу данных, с, по меньшей мере, одним автоматизированным рабочим местом ручного ввода данных уровней структурного подразделения предприятия и центрального, при этом модуль сбора оперативных данных уровня структурного подразделения предприятия посредством основного канала передачи данных, обеспечивающего передачу данных, соединен с модулем сбора оперативных данных центрального уровня.

[7]

Недостатками данной системы являются ограниченные технологические возможности, обусловленные спецификой применения - транспортировкой и переработкой углеводородного сырья. В полезной модели по прототипу отсутствуют возможности прямого управления технологическим оборудованием (металлорежущими станками с числовым программным управлением (ЧПУ)), контроля и выдачи производственного задания, подготовки и контроля управляющих программ (УП), архивации и генерации отчетов, сопряжения с системами ERP (Enterprise Resource Planning System - системой планирования ресурсов предприятия), PLM (Product Lifecycle Management - системой управления жизненным циклом продукции и системой календарного планирования), контроля ресурсного обеспечения предприятия.

[8]

Задачей, на решение которой направлено предлагаемое изобретение, является расширение технологических возможностей подразделений цифровых машиностроительных предприятий.

[9]

Техническим результатом, который достигается настоящим изобретением, является расширение технологических возможностей подразделений цифровых машиностроительных предприятий.

[10]

Данная задача и указанный технический результат достигается за счет того, что в диспетчерской информационно-аналитической системе, содержащей модуль управления технологическим оборудованием, модуль сбора данных, модули обработки и представления данных, автоматизированные рабочие места (АРМ), каналы передачи данных, технологический сервер с Web-интерфейсом и модулями регламентных данных, нормативно-справочных данных и настроек системы, дополнительно установлен технологический сервер, содержащий модули подготовки и контроля управляющих программ (УП), модули архивации и генерации отчетов, модули сопряжения с системами ERP, PLM и системой календарного планирования, модуль контроля ресурсного обеспечения, при этом технологический сервер связан с автоматизированным рабочим местом (АРМ) диспетчера и АРМ оператора локальной сетью, а АРМ диспетчера содержит модуль прямого управления технологическим оборудованием (DNC), модуль контроля и выдачи производственного задания, модуль управления технологическим оборудованием, модуль беспроводного соединения и канал передачи данных, связанный с контроллерами, модулями сбора данных и устройствами числового программного управления (ЧПУ) технологического оборудования через концентратор портов АРМ оператора.

[11]

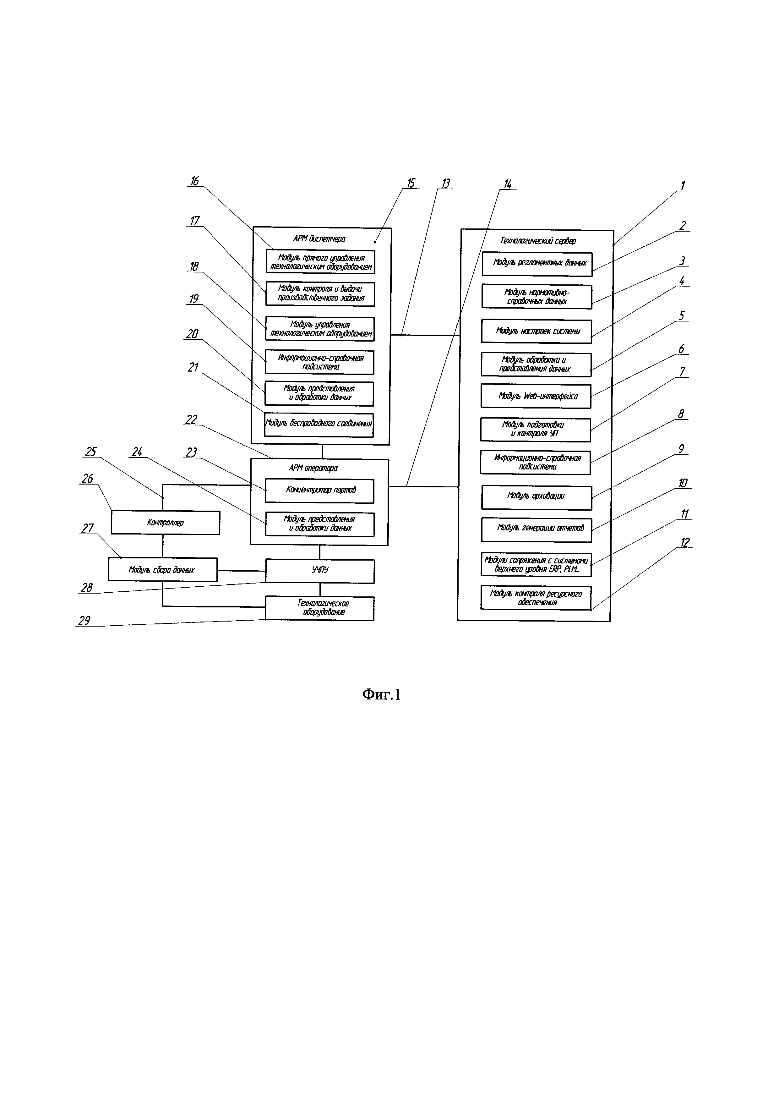
Сущность изобретения поясняется фиг. 1, на которой изображена предлагаемая диспетчерская информационно-аналитическая система.

[12]

Технологический сервер 1 содержит модули регламентных данных 2, нормативно-справочных данных 3, настроек системы 4, обработки и представления данных 5, модули Web-интерфейса 6, подготовки и контроля управляющих программ (УП) 7, информационно-справочную подсистему 8, модули архивации 9 и генерации отчетов 10, сопряжения с системами ERP, PLM и системой календарного планирования 11, контроля ресурсного обеспечения 12. Технологический сервер 1 соединен локальной сетью 13,14 с автоматизированными рабочими местами (АРМ).

[13]

АРМ диспетчера 15 состоит из модулей прямого управления технологическим оборудованием (DNC) 16, контроля и выдачи производственного задания 17, управления технологическим оборудованием 18, информационно-справочную подсистему 19, модули обработки и представления данных 20, а также беспроводного соединения 21.

[14]

АРМ оператора 22 содержит концентратор портов 23, модуль представления и обработки данных 24 и соединен каналами передачи данных 25 с контроллером 26, модулями сбора данных 27 и устройствами ЧПУ 28 технологического оборудования 29.

[15]

Диспетчерская информационно-аналитическая система работает следующим образом.

[16]

Технологическое оборудование 29 получает управляющие команды от устройства ЧПУ 28, программные коды которых поступают от АРМ оператора 22 (модуль контроля и выдачи производственного задания 17) через концентратор портов 23, либо путем прямого управления технологическим оборудованием (DNC) 16 от модуля управления технологическим оборудованием 18 из АРМ диспетчера 15 по каналами передачи данных 25 через контроллер 26. Последний используется также для передачи данных, получаемых от модуля сбора данных 27, в АРМ оператора 22 и АРМ диспетчера 15.

[17]

Технологический сервер 1 формирует программные коды УП (в модуле подготовки и контроля управляющих программ 7), а также архивирует УП и необходимую документацию (отчеты, сообщения, переписку, команды управления) с использованием модулей архивации 9 и генерации отчетов 10. Технологический сервер 1 осуществляет также контроль ресурсного обеспечения (модуль 12), в частности, проверку наличия инструмента, заготовок, расходных материалов.

[18]

Модуль регламентных данных 2 осуществляет обработку произошедших событий, рассылкой уведомлений, выполняет проверку прав доступа и используется для автоматического запуска процессов.

[19]

Модуль нормативно-справочных данных 3 содержит классификаторы, элементы которых (коды, наименования материалов, услуг, единицы измерения и т.п.) используются при формировании текущих документов. Для обращения к нормативно-справочным данным 3 применяются модули 8 и 19 информационно-справочной подсистемы.

[20]

Модули обработки и представления данных 5, 20, 24 используют поставщик данных платформы .NET Framework для подключения к SQL серверу и получения данных.

[21]

Модуль настроек системы 4 позволяет настроить систему под пользователя и организацию.

[22]

Модуль беспроводного соединения 21 используют для подключения операторов к системе, работающих не на фиксированных местах, например, склада.

[23]

Обмен дополнительной информацией осуществляется посредством Web-интерфейса 6 и модуля сопряжения с системами ERP, PLM и системой календарного планирования 11.

[24]

Общее информационное взаимодействие модулей осуществляется по сетям Ethernet 13,14 и Profibus 25.

Как компенсировать расходы
на инновационную разработку
Похожие патенты