патент
№ RU 2631056
МПК H02H7/26

Совмещённый волоконно-оптический трёхфазный датчик открытой электрической дуги

Авторы:
Казачков Юрий Петрович
Номер заявки
2016152544
Дата подачи заявки
30.12.2016
Опубликовано
18.09.2017
Страна
RU
Как управлять
интеллектуальной собственностью
Чертежи 
2
Реферат

Использование: в области электротехники. Технический результат - обеспечение возможности одним устройством контролировать токи, протекающие во всех трех фазах высоковольтной цепи при возникновении электрической дуги. Совмещенный волоконно-оптический трехфазный датчик открытой электрической дуги, содержащий волоконный световод со светопроницаемой оболочкой, первый магнитоуправляемый нормально закрытый оптический затвор, фотоприемник, электрический выход которого является выходом датчика, дополнительно содержит первый оптический разветвитель, второй и третий магнитоуправляемые нормально закрытые оптические затворы, второй оптический разветвитель, причем оптический выход волоконного световода со светопроницаемой оболочкой через первый оптический разветвитель параллельно подключен к оптическим входам первого, второго и третьего оптических затворов, оптические выходы которых через второй оптический разветвитель параллельно подключены к оптическому входу фотоприемника, в качестве оптического затвора применен магнитоуправляемый оптический затвор с механическим приводом. 1 з.п. ф-лы, 2 ил.

Формула изобретения

1. Совмещенный волоконно-оптический трехфазный датчик открытой электрической дуги, содержащий волоконный световод со светопроницаемой оболочкой, первый магнитоуправляемый нормально закрытый оптический затвор, фотоприемник, электрический выход которого является выходом датчика, отличающийся тем, что дополнительно содержит первый оптический разветвитель, второй и третий магнитоуправляемые нормально закрытые оптические затворы, второй оптический разветвитель, причем оптический выход волоконного световода через первый оптический разветвитель параллельно подключен к оптическим входам первого, второго и третьего магнитоуправляемых нормально закрытых оптических затворов, оптические выходы которых через второй оптический разветвитель параллельно подключены к фотоприемнику.

2. Совмещенный волоконно-оптический трехфазный датчик открытой электрической дуги по п. 1, отличающийся тем, что в качестве магнитоуправляемых нормально закрытых оптических затворов используется магнитоуправляемый оптический затвор с механическим приводом.

Описание

[1]

Изобретение относится к электротехнике и предназначено для использования в системах релейной защиты комплектного распределительного устройства (КРУ) для обнаружения факта возникновения электрической дуги.

[2]

Известен шкаф КРУ [1], в котором дуговая защита осуществляется параллельно включенными фототиристорами, каждый из которых последовательно соединен с магнитоуправляемым контактом. Фототиристоры размещены внутри шкафа КРУ таким образом, чтобы свет от возникшей дуги мог попасть на светочувствительную поверхность, а магнитоуправляемый контакт размещен рядом с токоведущей шиной таким образом, чтобы контролировать напряженности магнитного поля вокруг токопроводящей шины. При возникновении электрической дуги в контролируемом объеме возникает световая вспышка и резко возрастает ток в токоведущей шине. По световой вспышке открывается один или несколько фототиристоров, а по возрастанию тока происходит усиление напряженности магнитного поля, которое приводит к замыканию магнитоуправляемого контакта. Сопротивление контролирующей цепи падает и по ней проходит ток в цепь катушки отключения привода высоковольтного выключателя и производится отключение КРУ от высоковольтного питания.

[3]

Данное устройство реагирует на световую вспышку и возрастание электрического тока при их одновременном возникновении.

[4]

Недостатком этого устройства является возможность его ложного срабатывания из-за внешнего короткого замыкания (КЗ). При возникновении внешнего КЗ происходит аварийное нарастание электрического тока, что приведет к срабатыванию магнитоуправляемого контакта. Также внешнее КЗ приводит к электромагнитным наводкам, в том числе по цепям оперативного питания, которые могут вызвать срабатывание фототиристора, причем фототиристоры останутся после ложного срабатывания в открытом состоянии, и устройство после этого будет реагировать на все последующие внешние КЗ.

[5]

Наиболее близким техническим решением к предлагаемому является совмещенный датчик электрической дуги (прототип) [2], содержащий волоконный световод со светопроницаемой оболочкой, фотоприемник, оптический затвор Фарадея. Конец волоконного световода подключен через оптический затвор Фарадея к оптическому входу фотоприемника, электрический выход которого является выходом датчика, причем оптический затвор Фарадея является нормально закрытым. В данном устройстве нормально закрытый оптический затвор Фарадея выполняет функцию магнитоуправляемого оптического затвора, который в отсутствие магнитного поля закрыт и свет через него не проходит, а при включении магнитного поля указанный затвор открывается, и свет через него проходит.

[6]

Прототип позволяет одновременно реагировать на оптическое излучение и ток электрической дуги, протекающий в одной из фаз контролируемой высоковольтной цепи.

[7]

Недостатком устройства является невозможность одним устройством контролировать токи, протекающие во всех трех фазах высоковольтной цепи при возникновении электрической дуги.

[8]

Техническим результатом, обеспечиваемым заявляемым изобретением, является расширение функциональных возможностей, а именно обеспечение возможности одним устройством контролировать токи, протекающие во всех трех фазах высоковольтной цепи при возникновении электрической дуги.

[9]

Технический результат достигается тем, что совмещенный волоконно-оптический трехфазный датчик открытой электрической дуги, содержащий волоконный световод со светопроницаемой оболочкой, первый магнитоуправляемый нормально закрытый оптический затвор, фотоприемник, электрический выход которого является выходом датчика, дополнительно содержит первый оптический разветвитель, второй и третий магнитоуправляемые нормально закрытые оптические затворы, второй оптический разветвитель, причем оптический выход волоконного световода через первый оптический разветвитель параллельно подключен к оптическим входам первого, второго и третьего магнитоуправляемых нормально закрытых оптических затворов, оптические выходы которых через второй оптический разветвитель параллельно подключены к фотоприемнику.

[10]

Технический результат также достигается тем, что совмещенный волоконно-оптический трехфазный датчик открытой электрической дуги, содержащий волоконный световод со светопроницаемой оболочкой, первый магнитоуправляемый нормально закрытый оптический затвор, фотоприемник, электрический выход которого является выходом датчика, дополнительно содержит первый оптический разветвитель, второй и третий магнитоуправляемые нормально закрытые оптические затворы, второй оптический разветвитель, причем оптический выход волоконного световода через первый оптический разветвитель параллельно подключен к оптическим входам первого, второго и третьего магнитоуправляемых нормально закрытых оптических затворов, оптические выходы которых через второй оптический разветвитель параллельно подключены к фотоприемнику, в качестве магнитоуправляемых нормально закрытых оптических затворов используется магнитоуправляемый оптический затвор с механическим приводом.

[11]

Сущность предлагаемого изобретения состоит в том, что датчик реагирует только на одновременное появление мощной световой вспышки в контролируемом объеме КРУ и на критическое возрастание электрического тока в одной, двух или трех фазах, тем самым более полно обеспечивая контроль по току.

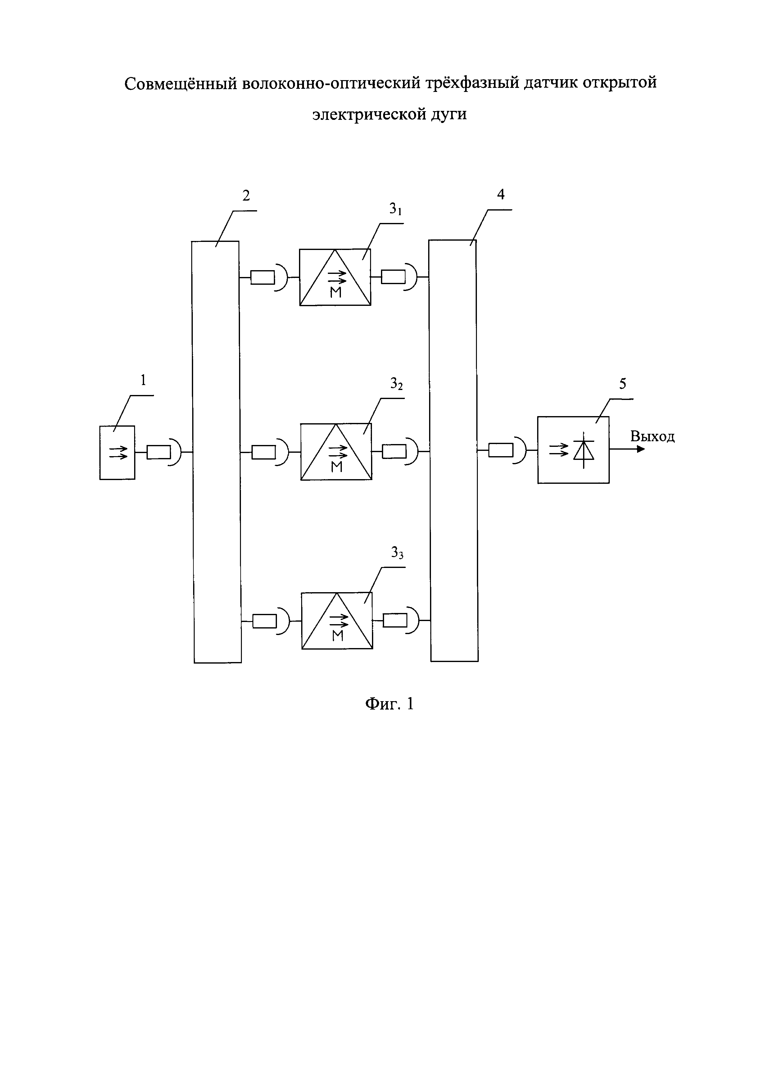
[12]

На фиг. 1 приведена функциональная схема совмещенного волоконно-оптического трехфазного датчика открытой электрической дуги.

[13]

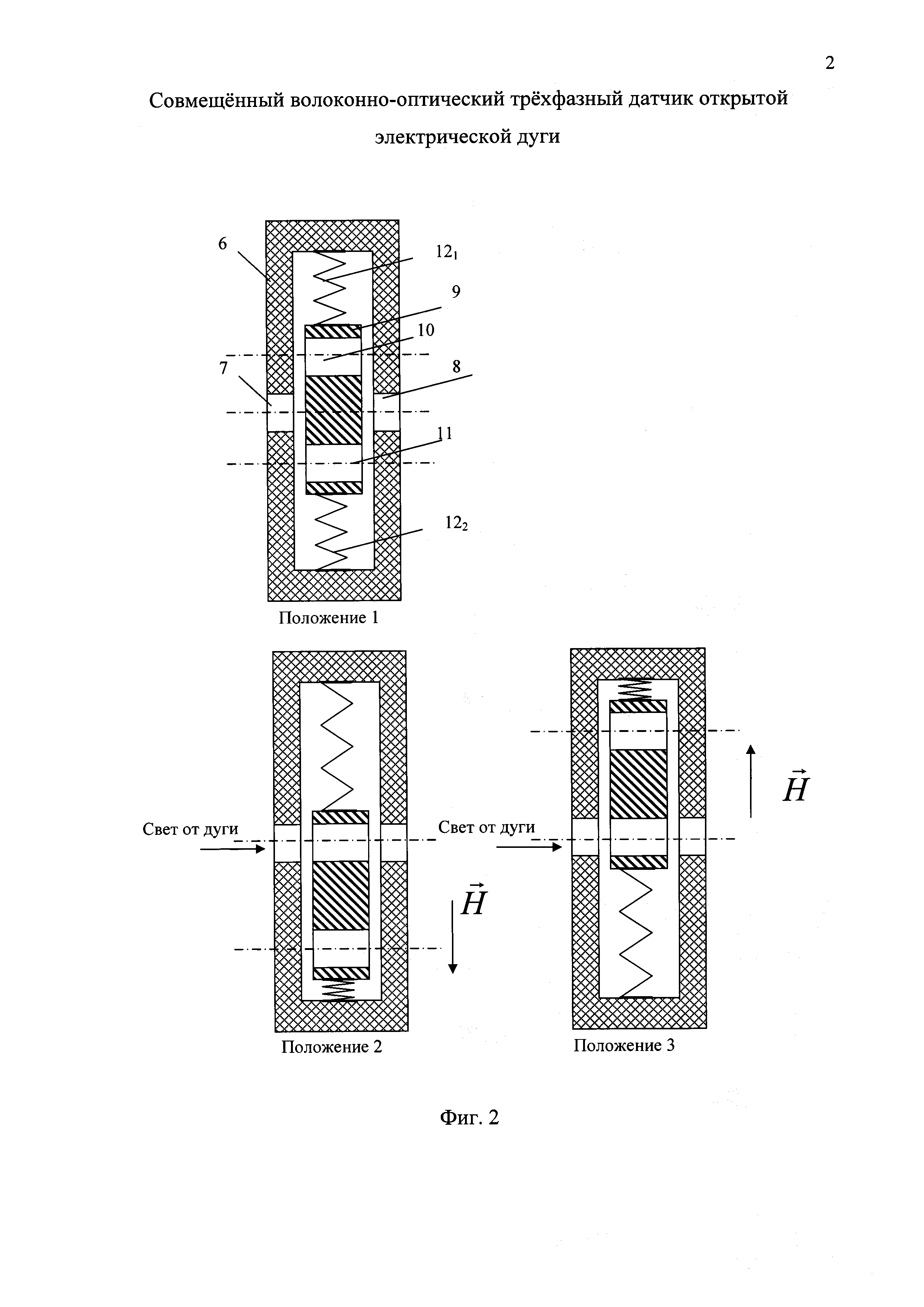
На фиг. 2 приведен чертеж схемы исполнения магнитоуправляемого оптического затвора с механическим приводом. Принятые обозначения:

[14]

1 - волоконный световод со светопроницаемой оболочкой;

[15]

2 - первый оптический разветвитель;

[16]

31, 2, 3 - первый, второй и третий магнитоуправляемые нормально закрытые оптические затворы;

[17]

4 - второй оптический разветвитель;

[18]

5 - фотоприемник;

[19]

6 - корпус магнитоуправляемого оптического затвора с механическим приводом;

[20]

7, 8 - отверстия в корпусе;

[21]

9 - магниточувствительная шторка;

[22]

10, 11 - отверстия в шторке;

[23]

121,2 - первая и вторая пружины.

[24]

Совмещенный волоконно-оптический трехфазный датчик открытой электрической дуги состоит из волоконного световода 1 со светопроницаемой оболочкой, оптический выход которого подключен к оптическому входу первого оптического разветвителя 2, первый, второй и третий оптические выходы которого подключены к оптическим входам первого, второго и третьего магнитоуправляемых нормально закрытых оптических затворов 31, 2, 3. Оптические выходы оптических затворов 31, 2, 3 подключены к оптическим входам второго оптического разветвителя 4, оптический выход которого подключен к оптическому входу фотоприемника 5. Электрический выход фотоприемника 5 является выходом датчика, который подключается к системе релейной защиты и автоматики, осуществляющей отключение контролируемого КРУ от высоковольтного питания.

[25]

Волоконный световод 1 прокладывается вблизи токоведущих элементов КРУ, где возможно возникновение электрической дуги, таким образом, чтобы свет от нее попадал на боковую поверхность световода 1. Оптические затворы 31, 2, 3 устанавливаются на фазовые токопроводящие шины, через которые питается контролируемый объем КРУ, таким образом, чтобы быть с ними магнитосвязанными.

[26]

Устройство работает следующим образом. При отсутствии дуги на оптическом выходе световода 1 отсутствует оптический сигнал. Токи, протекающие через шины, контролируемые оптическими затворами 31, 2, 3, не превышают номинального значения, и оптические затворы 31, 2, 3 являются закрытыми и не пропускают оптические сигналы. На оптическом входе фотоприемника 5 отсутствует оптический сигнал и на его выходе отсутствует выходной электрический сигнал. Сигнал на выходе датчика отсутствует.

[27]

Возникновение электрической дуги сопровождается мощной световой вспышкой и резким повышением тока, протекающего по фазовым шинам, причем ток может возрастать как в одной шине (однофазное замыкание), двух шинах (двухфазное замыкание) или одновременно в трех шинах (трехфазное замыкание). Возрастание тока в шинах приводит к резкому увеличению магнитного поля вблизи шин.

[28]

Свет от электрической дуги падает на боковую поверхность световода 1 и индуцирует в его светопроводящей сердцевине оптический сигнал, распространяющийся по этому световоду 1 к оптическому выходу, с которого через первый оптический разветвитель 2 параллельно поступает в оптические затворы 31, 2, 3. Под действием магнитного поля один или несколько затворов 31, 2, 3 в зависимости от типа замыкания (однофазное, двухфазное или трехфазное) открываются и пропускают через себя оптический сигнал от световода 1, который через второй оптический разветвитель 4 поступает на оптический вход фотоприемника 5, где преобразуется в электрический сигнал. Сигнал с электрического выхода фотоприемника 5 поступает в систему релейной защиты и автоматики, которая производит гашение электрической дуги путем аварийного отключения электропитания КРУ.

[29]

Если световая вспышка внутри контролируемого КРУ не связана с электрической дугой, о чем будет свидетельствовать отсутствие возрастания тока в токопроводящих шинах, то оптический сигнал, индуцированный световодом 1 под действием этой вспышки и поступивший на оптические затворы 31, 2, 3, не пройдет через них, так как магнитное поле, создаваемое номинальным током, протекающим по этим шинам, недостаточно для их открывания. Соответственно, на выходе фотоприемника 5 будет отсутствовать сигнал.

[30]

В качестве магнитоуправляемого нормально закрытого оптического затвора 31, 2, 3 можно применить магнитоуправляемый оптический затвор с механическим приводом, конструкция которого показана на фиг. 2. Он состоит из корпуса 6, в боковых стенках которого просверлены соосные отверстия 7, 8. Во внутренней полости расположена магниточувствительная шторка 9 с двумя отверстиями 10, 11, прикрепленная двумя пружинами 121, 2 на концах к корпусу 6.

[31]

При отсутствии магнитного поля шторка 9 располагается так, что отверстия 7, 8 корпуса 6 не перекрываются отверстиями 10, 11 шторки 9, и свет не может проходить через магнитооптический затвор 3 (см. фиг. 2, Положение 1).

[32]

При воздействии магнитного поля на магниточувствительную шторку 9 последняя перемещается в одну или другую сторону в зависимости от направления магнитного поля , при этом отверстия 7; 8 перекрываются либо с отверстием 10, либо с отверстием 11, пропуская, таким образом, свет через оптический затвор 3 (см. фиг. 2, Положение 2, Положение 3). При этом одна из пружин 121, 2 сжимается, а другая растягивается. Когда воздействие магнитного поля прекращается, шторка 9 под действием пружин возвращается в исходное состояние. Таким образом, осуществляется механическое управление оптическим затвором под действием магнитного поля, при этом в отсутствие магнитного поля (в нормальном состоянии) оптический затвор является закрытым.

[33]

Таким образом, предлагаемый совмещенный волоконно-оптический трехфазный датчик электрической дуги позволяет одним устройством контролировать токи, протекающие во всех трех фазах высоковольтной цепи при возникновении электрической дуги, что расширяет предлагаемым датчиком функциональные возможности по сравнению с прототипом.

[34]

Источники информации

[35]

1. Шкаф комплектного распределительного устройства. Авторское свидетельство СССР на изобретение №650143, 28.02.1979, МПК Н02В 13/00.

[36]

2. Совмещенный датчик электрической дуги, Патент РФ на изобретение №2419941, 08.06.2010, МПК Н02Н 7/26.

Как компенсировать расходы
на инновационную разработку
Похожие патенты