патент
№ RU 2498434
МПК G21G4/08

СПОСОБ ПОЛУЧЕНИЯ РАДИОНУКЛИДА ВИСМУТ-212

Авторы:
Прошин Михаил Алексеевич Захаров Анатолий Сергеевич Чувилин Дмитрий Юрьевич
Все (5)
Номер заявки
2012135600/07
Дата подачи заявки
21.08.2012
Опубликовано
10.11.2013
Страна
RU
Как управлять
интеллектуальной собственностью
Реферат

Изобретение относится к технологии получения радионуклидов для ядерной медицины, в частности для терапии онкологических заболеваний. В заявленном способе в раствор, содержащий радионуклид тория и его дочерние продукты распада, добавляют ионообменную смолу, после чего раствор декантируют, а ионообменную смолу высушивают и помещают в реактор, через который пропускают газ, удаляя при этом из реактора один из дочерних продуктов распада тория-228 - газообразный радионуклид радон-220, и направляют газ через аэрозольный фильтр в сорбционное устройство, где в результате радиоактивного распада накапливают радионуклид свинец-212, который после выхода активности свинца-212 на насыщение десорбируют со стенок сорбционного устройства кислым раствором и полученный раствор направляют на колонку с ионообменной смолой, с которой периодически смывают дочерний продукт распада радионуклид висмут-212. Исходный раствор может быть смесью изотопов тория торий-228, торий-229, торий-232. В качестве газа для продувки системы используют воздух, и/или азот, и/или гелий, и/или аргон, и/или криптон, и/или ксенон. В качестве сорбционного устройства используют сосуд или сосуды, объем которых обеспечивает время пребывания радона-220, достаточное для его полного распада в радионуклид свинец-212. Техническим результатом является уменьшение трудоемкости процесса получения целевого радионуклида висмут-212. 5 з.п. ф-лы.

Формула изобретения

1. Способ получения радионуклида висмут-212 из раствора, содержащего радионуклиды тория и дочерние продукты распада этих радионуклидов, включающий удаление одного из дочерних продуктов распада тория-228 - газообразного радионуклида радон-220, транспортировку газа через аэрозольный фильтр в сорбционное устройство, где в результате радиоактивного распада по цепочке220Rn→216Po→212Pb накапливают радионуклид свинец-212, который периодически десорбируют и полученный раствор направляют на колонку с ионообменной смолой, с которой периодически смывают его дочерний продукт распада радионуклид висмут-212, отличающийся тем, что предварительно в раствор, содержащий радионуклиды тория и дочерние продукты распада этих радионуклидов, добавляют ионообменную смолу, после чего раствор декантируют, а ионообменную смолу с сорбированными на ней изотопами тория высушивают и помещают в реактор, через который пропускают газ, удаляя при этом из реактора один из дочерних продуктов распада тория-228 - газообразный радионуклид радон-220.

2. Способ по п.1, отличающийся тем, что исходный раствор может содержать смесь радионуклидов торий-228, торий-229, торий-232 и дочерние продукты распада этих радионуклидов.

3. Способ по п.1, отличающийся тем, что реактор продувают воздухом, и/или азотом, и/или гелием, и/или аргоном, и/или криптоном, и/или ксеноном.

4. Способ по п.1, отличающийся тем, что сорбцию радионуклида свинец-212 производят раствором кислоты или раствором смеси кислоты со спиртом, через которые продувают газ из реактора.

5. Способ по п.1, отличающийся тем, что поток газа после сорбционного устройства возвращают в реактор.

6. Способ по п.1, отличающийся тем, что поток газа после сорбционного устройства направляют в систему утилизации.

Описание

[1]

Изобретение относится к технологии получения радионуклидов для ядерной медицины, в частности, для терапии онкологических заболеваний.

[2]

При терапии онкологических заболеваний все более широкое применение находят α-излучающие радионуклиды. Это связано с большой начальной энергией (5-8 МэВ) и коротким пробегом (десятки микрон) α-частиц в биологических тканях, и следовательно высоким уровнем выделения энергии в области локализации распадающихся нуклидов. Носители α-излучающих радионуклидов (моноклональные антитела, пептиды) с высокой специфичностью позволяют доставлять их в опухолевый узел или метастатический очаг. Благодаря малым пробегам α-частиц возможно селективное воздействие излучения на патологические объекты с минимальной лучевой нагрузкой на окружающие здоровые ткани.

[3]

Настоящее изобретение может быть использовано для создания генераторов α-излучателей торий-228/свинец-212 (228Th/212Pb) и свинец-212/висмут-212 (212Pb/212Bi), конечные элементы цепочки распадов которых - радионуклиды свинец-212 и висмут-212, могут использоваться в составе медицинских радиофармпрепаратов.

[4]

Одним из перспективных направлений в ядерной медицине является радиоиммунотерапия с использованием α-излучателей. Применение короткоживущих α-излучающих радионуклидов для терапии онкологических заболеваний представляет интерес с радиобиологической точки зрения поскольку является наиболее эффективным способом летального поражения опухолевых клеток благодаря короткому пробегу α-частиц в ткани и высокой ионизирующей способности.

[5]

Радионуклид висмут-212, образующийся при распаде изотопа уран-232 считается одним из перспективных для использования в терапии онкологических заболеваний.

[6]

[7]

Период полураспада висмута-212 составляет 60,6 мин, средняя энергия α-частиц 7,8 МэВ. При распаде висмута-212 образуются радионуклиды таллий-208 и полоний-212, которые ведут к стабильному нуклиду свинец-208. Пробег α-частиц в биологической ткани менее 100 мкм, что соответствует всего лишь нескольким диаметрам раковой клетки, а линейная передача энергии (ЛПЭ) достигает ~80 кэВ/мкм.

[8]

Начальный элемент цепочки уран-232 - искусственный изотоп урана, образование которого происходит в ядерном реакторе при облучении природного тория (232Th, T1/2=1,5·1010 лет) в результате следующих реакций взаимодействия нейтронов и гамма-квантов с нуклидом торий-232:

[9]

232Th(n,γ)233Th→233Ра(γ,n)232Ра→232U

[10]

232Th(n,2n)231Th→231Pa(n,γ)232Pa→232U

[11]

232Th(γ,n)231Th→231Pa(n,γ)232Pa→232U.

[12]

В зависимости от условий облучения тория в реакторе равновесная концентрация урана-232 лежит в пределах 1000-6000 ppm [В.М. Мурогов, М.Ф. Троянов, А.Н. Шмелев «Использование тория в ядерных реакторах». Энергоатомиздат. М., 1983].

[13]

При облучении тория в реакторе одновременно с ураном-232 происходит образование урана-233 по следующей реакции:

[14]

232Th(n,γ)→233Th→233Ра→233U.

[15]

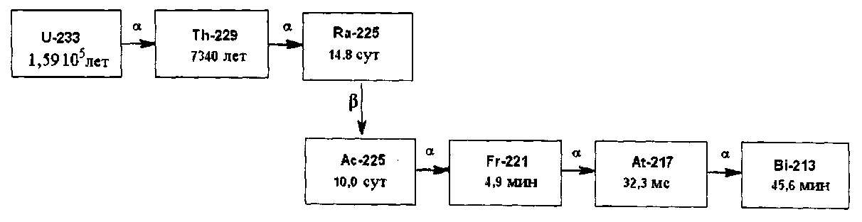
В результате α-распада урана-233 образуется торий-229, который в свою очередь после ряда распадов переходит в радионуклид висмут-213.

[16]

[17]

Висмут-212 является типичным генераторным радионуклидом и находит применение в радиоиммунотерапии, главным образом, в виде меченных им моноклональных антител и других молекулярных носителей. Сегодня для получения висмута-212 используют две генераторные системы -228Th/224Ra и224Ra/212Bi. В первой из них, радий-224, отделяется от тория-228 за счет анионообменного разделения этих радионуклидов из раствора азотной кислоты. Во втором генераторе с использованием катионообменных смол и минеральных кислот из радия-224 выделяют висмут-212 [R.W. Atcher, A.M. Friedman, J.J. Hines «An improved generator for the production of212Pb and212Bi from224Ra». International Journal of Radiation Applications and Instrumentation. Part A. Applied Radiation and Isotopes, Volume 39, Issue 4, 1988, Pages 283-286].

[18]

За прототип выбран способ получения висмута-212, описанный в патенте №2430440 «Способ получения радионуклида висмут-212». Авторы: Чувилин Д.Ю., Загрядский В.А., Прошин М.А., Панченко В.Я.

[19]

В качестве исходного сырья для получения радионуклида висмут-212 авторы использовали раствор, содержащий смесь радионуклидов торий-228, торий-229 и дочерних продуктов распада этих радионуклидов. Для получения висмута-212 выполняли следующие процедуры:

[20]

- раствор, содержащий смесь тория-228, тория-229 и дочерних продуктов распада этих радионуклидов, помещали в колбу-барботер;

[21]

- через раствор, находящийся в барботере пропускали газ (например, воздух), пузырьки которого захватывают газообразный продукт распада - радон-220 и уносят его через аэрозольный фильтр в сорбционное устройство;

[22]

- в сорбционном устройстве (например, последовательно соединенные медицинские флаконы) радон-220 распадался в свинец-212 и оседал на внутренних стенках;

[23]

- после сорбционного устройства поток газа возвращали в барботер;

[24]

- свинец-212 смывали кислотным раствором с внутренних стенок сорбционного устройства и направляли на ионообменную колонку с катионитом Дауэкс-50;

[25]

- накопившийся в колонке висмут-212 элюировали раствором соляной кислоты и использовали по назначению.

[26]

Однако этот способ получения висмута-212 имеет ряд недостатков:

[27]

- при длительной эксплуатации барботера уменьшается объем раствора, содержащего смесь тория-228, тория-229 и дочерних продуктов распада этих радионуклидов, в результате чего требуется периодическое пополнение барботера исходным раствором;

[28]

- наличие кислых паров для получения химически чистого свинца-212 требует использования специальных материалов сорбционного устройства, стойких в агрессивных средах.

[29]

- образование водяных аэрозолей при барботировании раствора требует установки фильтров для их улавливания, которые необходимо периодически менять из-за ухудшения фильтрующих свойств.

[30]

РАСКРЫТИЕ ИЗОБРЕТЕНИЯ

[31]

Задачей изобретения является устранение указанных выше недостатков прототипа, что приводит к упрощению технологического процесса получения радионуклида висмут-212.

[32]

Для решения этой задачи предложен способ получения радионуклида висмут-212 из раствора, содержащего радионуклиды тория и дочерние продукты распада этих радионуклидов, включающий удаление одного из дочерних продуктов распада тория-228 - газообразного радионуклида радон-220, транспортировку газа через аэрозольный фильтр в сорбционное устройство, где в результате радиоактивного распада по цепочке220Rn→216Po→212Pb накапливают радионуклид свинец-212, который периодически десорбируют и полученный раствор направляют на колонку с ионообменной смолой, с которой периодически смывают его дочерний продукт распада радионуклид висмут-212, при этом, предварительно в раствор, содержащий радионуклиды тория и дочерние продукты распада этих радионуклидов, добавляют ионообменную смолу, после чего раствор декантируют, а ионообменную смолу с сорбированными на ней изотопами тория высушивают и помещают в реактор, через который пропускают газ, удаляя при этом из реактора один из дочерних продуктов распада тория-228 - газообразный радионуклид радон-220.

[33]

Также, исходный раствор может содержать смесь радионуклидов торий-228, торий-229, торий-232 и дочерние продукты распада этих радионуклидов.

[34]

Кроме того, реактор продувают воздухом, и/или азотом, и/или гелием, и/или аргоном, и/или криптоном, и/или ксеноном.

[35]

Сорбцию радионуклида свинец-212 производят раствором кислоты или раствором смеси кислоты со спиртом, через которые продувают газ из реактора.

[36]

Поток газа после сорбционного устройства может быть возвращен в реактор.

[37]

Поток газа после сорбционного устройства может быть направлен в систему утилизации.

[38]

В предлагаемом способе получения радионуклида висмут-212 использовано наличие среди дочерних продуктов распада тория-228 газообразного радионуклида радон-220, который в результате распада по цепочке220Rn→216Po→212Pb→212Bi приводит к образованию целевого радионуклида висмут-212. Период полураспада радона-220 составляет 55,6 сек, что обеспечивает возможность его удаления от места образования потоком газа (воздух, гелий, азот, аргон, криптон, ксенон) [Схемы распада радионуклидов. Энергия и интенсивность излучения. Публикация 38 МКРЗ. В двух частях. Часть вторая. Книга 2. М., Энергоатомиздат, 1987, стр.204-205].

[39]

Химические соединения радионуклида радон-220 не известны. Поэтому весь образовавшийся радон-220 окажется в сорбционном устройстве, кроме той части изотопов, которые распадутся за время транспортировки газа по коммуникациям.

[40]

После выделения висмут-212 используется по своему прямому назначению для приготовления медицинских препаратов, применяемых при терапии онкологических заболеваний.

[41]

Предлагаемый способ получения радионуклида висмут-212 обладает рядом преимуществ по сравнению с описанным прототипом:

[42]

- отказ от барботирования раствора, содержащего радионуклиды торий-228, торий-229 и дочерние продукты распада этих радионуклидов, исключает необходимость периодического пополнения барботера исходным раствором при его длительной эксплуатации, что упрощает технологический процесс получения целевого радионуклида висмут-212.

[43]

- отказ от использования раствора, содержащего радионуклиды торий-228, торий-229 и дочерние продукты распада этих радионуклидов, позволяет исключить из технологической цепочки фильтры, обеспечивающие удаление водяных аэрозолей, образующихся при барботировании раствора;

[44]

- использование сухой ионообменной смолы, удерживающей радионуклиды торий-228, торий-229 и дочерние продукты распада этих радионуклидов, снимает проблему коррозионной стойкости материалов сорбционного устройства и коммуникаций в агрессивных средах, поскольку в потоке газа, проходящем через реактор, отсутствуют пары кислоты.

[45]

ПРИМЕР ОСУЩЕСТВЛЕНИЯ ИЗОБРЕТЕНИЯ

[46]

В качестве исходного сырья для получения радионуклида висмут-212 используют раствор, содержащий смесь радионуклидов торий-228, торий-229, торий-232 и дочерних продуктов распада этих радионуклидов. Изотопный состав тория:

[47]

- Th-229- 6,81%
- Th-230≅ 0,08%
- Th-228- следы
- Th-232- 93,11%.

[48]

Реализация предложенного способа получения висмута-212 начинается с удаления из исходного раствора изотопов тория путем добавления в раствор ионообменной смолы.

[49]

Для этого 20 мл раствора смеси радионуклидов торий-228, торий-229 и продуктов распада этих радионуклидов в 8М HNO3, смешивают с 5-6 мл анионита Дауэкс-1, используя свойство тория прочно связываться с функциональной группой анионита.

[50]

После выдержки в течение 1 часа практически весь торий сорбируется на смоле. Затем раствор декантируется. Влажную смолу высушивают и помещают в реактор, объемом 6-7 мл, в котором имеется два канала - вход и выход.

[51]

С помощью перистальтического насоса реактор продувают газом, например, воздухом и/или азотом и/или гелием и/или аргоном и/или криптоном и/или ксеноном (для воздуха расход составлял 60-150 мл/мин). Выделившийся при распаде тория-228 радон-220 потоком газа переносится через аэрозольный фильтр и поступает в сорбционное устройство (например, медицинские флаконы объемом по 20 мл), где распадется в свинец-212, который осаждается на стенки сорбционного устройства. Газ может быть возвращен в реактор (замкнутая система) или удален в систему утилизации (открытая система). В качестве сорбционного устройства можно использовать сосуд с раствором кислоты, или сосуд с раствором смеси кислоты со спиртом, через которые продувается газ из реактора.

[52]

Максимальная наработка свинца-212 занимает около 50 часов. Для эффективного сбора свинца-212 оптимизируют геометрические параметры накопителя - сводят к минимуму «паразитные» объемы и коммуникации, объем реактора минимизируют (отношение объема накопителя к объему реактора должно быть не менее 10). Расход газа подбирают из расчета его пребывания в накопители не менее 10 минут. Накопившийся свинец-212 смывают со стенок азотной кислоты объемом 5-7 мл и полученный раствор пропускают через колонку с катионитом Дауэкс-50. Ионы свинца-212 связываются с функциональной группой катионита. По прошествии 3-5 часов содержание висмута-212 в ионообменной колонке достигает насыщения, после чего его смывают разбавленной соляной кислотой.

[53]

По сравнению со способом, выбранным за прототип, предложенный способ получения висмута-212 позволяет, упростить технологический процесс, уменьшить его трудоемкость, снизить содержание примесных радионуклидов.

Как компенсировать расходы
на инновационную разработку
Похожие патенты