патент
№ RU 2640965
МПК H01P1/15

ПСЕВДОМОРФНЫЙ ОГРАНИЧИТЕЛЬ МОЩНОСТИ НА ОСНОВЕ ГЕТЕРОСТРУКТУРЫ AlGaN/InGaN

Авторы:
Адонин Алексей Сергеевич Черных Алексей Владимирович Аветисян Грачик Хачатурович
Все (6)
Номер заявки
2016137296
Дата подачи заявки
19.09.2016
Опубликовано
12.01.2018
Страна
RU
Как управлять
интеллектуальной собственностью
Чертежи 
2
Реферат

Изобретение относится к области полупроводниковых изделий и может быть использовано при создании нового поколения СВЧ элементной базы и интегральных схем на основе гетероструктур широкозонных полупроводников. Технический результат: повышение надежности устройства и плотности носителей, эффективность подавления токового коллапса, повышение скорости переключения и уровня выходной мощности, ослабление процесса деградации в гетероструктуре. Технический результат достигается тем, что ограничитель мощности содержит электроды, емкостные элементы. Ограничитель мощности является псевдоморфным, изготовленным на базе гетероструктуры AlGaN/InGaN, а емкостной элемент представляет собой конденсатор. Кроме того, ограничитель мощности включает подложку из изолирующего карбида кремния, на которой последовательно размещены: буферный слой из GaN, сглаживающий буферный слой из GaN, слой из нелегированного GaN i-типа проводимости, сверхрешетка из AlGaN/GaN, буферный слой из GaN, сильнолегированный слой n-типа проводимости из AlGaN, спейсер из твердого раствора AlGaN, сглаживающий слой из GaN, канал из твердого раствора InGaN, и в интерфейсе InGaN/AlGaN гетероструктуры образован двумерный электронный газ (ДЭГ) высокой плотности, который служит нижней обкладкой конденсатора. Поверх твердого раствора InGaN размещен химически устойчивый сглаживающий слой из GaN, поверх которого нанесен слой диэлектрика из двуокиси гафния. Поверх диэлектрика размещены металлические электроды полосковой формы, которые образуют верхнюю обкладку конденсатора. При этом емкостной элемент устройства выполнен с минимальным количеством глубоких электронных ловушек (DX), а канал выполнен упруго-напряженным псевдоморфным с концентрацией InGa 15-25%. 4 з.п. ф-лы, 2 ил.

Формула изобретения

1. Ограничитель мощности, содержащий электроды, емкостные элементы, отличающийся тем, что ограничитель мощности является псевдоморфным, изготовленным на базе гетероструктуры AlGaN/InGaN, а емкостной элемент представляет собой конденсатор, кроме того, ограничитель мощности включает подложку из изолирующего карбида кремния, на которой последовательно размещены: буферный слой из GaN, сглаживающий буферный слой из GaN, слой из нелегированного GaN i-типа проводимости, сверхрешетка из AlXGa1-XN/GaN, буферный слой из GaN, сильнолегированный слой n-типа проводимости из AlXGa1-XN, спейсер из твердого раствора AlXGa1-XN, сглаживающий слой из GaN, канал из твердого раствора InXGa1-XN, и в интерфейсе InXGa1-XN/AlGaN гетероструктуры образован двумерный электронный газ (ДЭГ) высокой плотности, который служит нижней обкладкой конденсатора, поверх твердого раствора InXGa1-XN размещен химически устойчивый сглаживающий слой из GaN, поверх которого нанесен слой диэлектрика из двуокиси гафния, а поверх диэлектрика размещены металлические электроды полосковой формы, которые образуют верхнюю обкладку конденсатора, при этом емкостной элемент устройства выполнен с минимальным количеством глубоких электронных ловушек (DX), а канал выполнен упруго-напряженным псевдоморфным с концентрацией InGa 15-25%.

2. Ограничитель мощности по п. 1, отличающийся тем, что первый электрод полосковой формы, сформированный на полупроводниковом канале, и полупроводниковый канал образуют первый управляемый напряжением конденсатор, а второй электрод полосковой формы, сформированный на полупроводниковом канале, и полупроводниковый канал образуют второй управляемый напряжением конденсатор.

3. Ограничитель мощности по п. 1, отличающийся тем, что содержит ряд трехэлектродных двухканальных конфигураций.

4. Ограничитель мощности по п. 1, отличающийся тем, что канал выполнен из In0,17Ga0,83N.

5. Ограничитель мощности по п. 1, отличающийся тем, что канал выполнен с критической толщиной 7-16 нм.

Описание

[1]

Изобретение относится к области полупроводниковых изделий и может быть использовано при создании нового поколения СВЧ элементной базы и интегральных схем на основе гетероструктур широкозонных полупроводников.

[2]

Из уровня техники известен неуправляемый (пассивный) ограничитель СВЧ мощности (патент России №2097877, дата публикации 27.11.1997), содержащий отрезок линии передачи, один из концов которого является входом ограничителя, а другой - его выходом, и шунтирующие эту линию детекторный и переключательный (pin) диоды, соединенные встречно-параллельно, отличающийся наличием со стороны входа ограничителя дополнительного детекторного диода с большой емкостью, включенного последовательно по СВЧ и замкнутого по постоянному току с pin диодом. При входном СВЧ сигнале, мощность которого превышает пороговое значение, pin диод открывается постоянным током детекторного диода, что в свою очередь приводит к резкому возрастанию СВЧ мощности, детектируемой на дополнительном детекторном диоде, постоянный ток которого дополнительно снижает сопротивление pin диода, при этом увеличивается отражение сигнала и снижается мощность рассеиваемая на pin диоде.

[3]

Недостатком этого ограничителя мощности является наличие существенных прямых потерь при малом уровне входного сигнала, обусловленных потерями в дополнительном детекторном диоде, что, в конечном итоге, приводит к снижению чувствительности приемника, особенно в длинноволновом диапазоне СВЧ.

[4]

Из уровня техники также известен ограничитель мощности СВЧ (патент России №142380, дата публикации 27.06.2014 г.), включающий электроды и емкостные элементы, отличающиеся тем, что емкостные элементы представляют собой конденсаторы, кроме того, ограничитель мощности СВЧ включает подложку из сапфира, на которой последовательно размещены: буферный слой из AlN, буферный слой из GaN, слой из нелегированного GaN, слой из твердого раствора AlGaN, и в интерфейсе GaN/AlGaN гетероструктуры с двумерным электронным газом высокой плотности образован полупроводниковый канал, поверх твердого раствора AlGaN размещен химически устойчивый сглаживающий слой из GaN, поверх которого нанесен диэлектрик, содержащий слой из двуокиси гафния, а поверх диэлектрика размещены металлические электроды полосковой формы, которые образуют верхние обкладки конденсаторов.

[5]

К недостаткам традиционной гетероструктуры системы AlGaN/GaN, на основе которой разработана данная конструкция, является влияние DX центров в слое AlGaN:Si на приборные характеристики: низкая надежность устройства, низкая плотность носителей, снижение эффективности подавления токового коллапса, скорости переключения, уровня выходной мощности, а также в усилении процесса деградации в гетероструктуре.

[6]

Задачей настоящего изобретения является устранение всех перечисленных недостатков.

[7]

Технический результат заключается в повышении надежности устройства, в повышении плотности носителей, эффективности подавления токового коллапса, в повышении скорости переключения, уровня выходной мощности, а также в ослаблении процесса деградации в гетероструктуре.

[8]

Технический результат обеспечивается тем, что ограничитель мощности содержит электроды, емкостные элементы. Ограничитель мощности является псевдоморфным, изготовленным на базе гетероструктуры AlGaN/InGaN, а емкостной элемент представляет собой конденсатор. Кроме того, ограничитель мощности включает подложку из изолирующего карбида кремния, на которой последовательно размещены: буферный слой из GaN, сглаживающий буферный слой из GaN, слой из нелегированного GaN i-типа проводимости, сверхрешетка из AlXGa1-XN/GaN, буферный слой из GaN, сильнолегированный слой n-типа проводимости из AlxGa1-xN, спейсер из твердого раствора AlxGa1-xN, сглаживающий слой из GaN, канал из твердого раствора InXGa1-XN и в интерфейсе InXGa1-XN/AlGaN гетероструктуры образован двумерный электронный газ (ДЭГ) высокой плотности, который служит нижней обкладкой конденсатора. Поверх твердого раствора InXGa1-XN размещен химически устойчивый сглаживающий слой из GaN, поверх которого нанесен слой диэлектрика из двуокиси гафния. Поверх диэлектрика размещены металлические электроды полосковой формы, которые образуют верхнюю обкладку конденсатора. При этом емкостной элемент устройства выполнен с минимальным количеством глубоких электронных ловушек (DX), а канал выполнен упруго-напряженным псевдоморфным с концентрацией InGa 15-25%.

[9]

В соответствии с частными случаями выполнения устройство имеет следующие конструктивные особенности:

[10]

- первый электрод полосковой формы, сформированный на полупроводниковом канале, и полупроводниковый канал образуют первый управляемый напряжением конденсатор, а второй электрод полосковой формы, сформированный на полупроводниковом канале, и полупроводниковый канал образуют второй управляемый напряжением конденсатор;

[11]

- содержит ряд трехэлектродных двухканальных конфигураций;

[12]

- канал выполнен из In0,17Ga0,83N;

[13]

- канал выполнен с критической толщиной 7-16 нм.

[14]

Сущность настоящего изобретения поясняется следующими чертежами:

[15]

фиг. 1 - отображено устройство в разрезе;

[16]

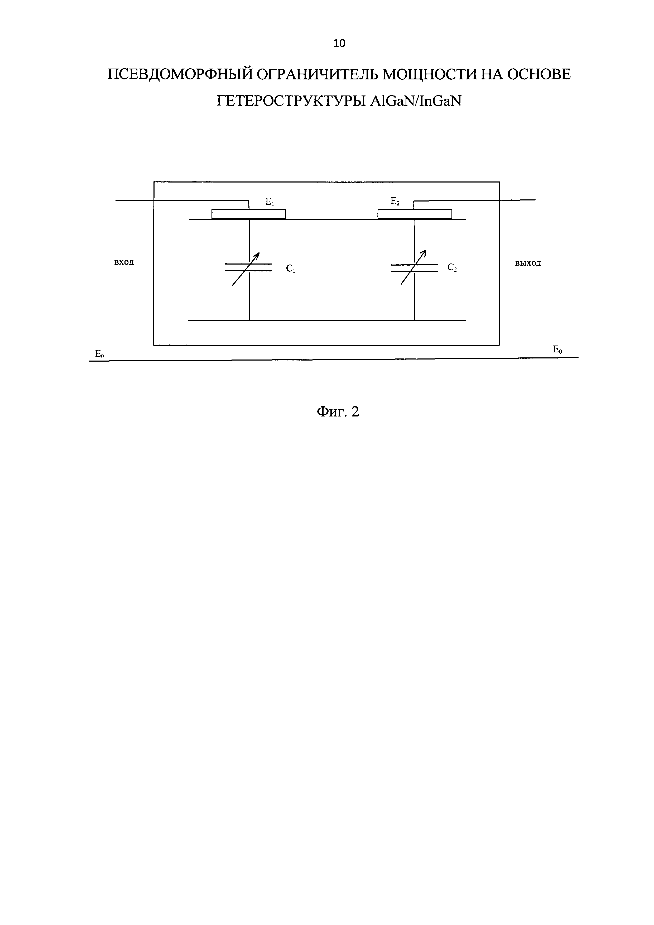
фиг. 2 - отображена схема настоящего устройства.

[17]

На фиг. 1 отображены следующие конструктивные элементы:

[18]

1 - подложка из изолирующего карбида кремния;

[19]

2 - буферный слой из GaN;

[20]

3 - сглаживающий буферный слой из GaN;

[21]

4 - буферный слой из GaN i-типа проводимости;

[22]

5 - сверхрешетка из AlXGa1-XN/GaN;

[23]

6 - буферный слой из нелегированного GaN;

[24]

7 - сильнолегированный слой n-типа AlXGa1-XN;

[25]

8 - спейсер AlXGa1-XN;

[26]

9 - сглаживающий слой из GaN;

[27]

10 - канал InXGa1-XN;

[28]

11 - нижняя обкладка конденсаторов, образованная ДЭГ в интерфейсе AlGaN/InGaN;

[29]

12 - сглаживающий дополнительный слой из химически устойчивого GaN, слой нелегированного GaN (концентрация доноров 1⋅1015 см-3) толщиной 2 мкм;

[30]

13 - слой диэлектрика из двуокиси гафния;

[31]

14 - дополнительный слой диэлектрика из двуокиси металла;

[32]

15 - металлические электроды полосковой формы, которые образуют верхнюю обкладку конденсатора.

[33]

Настоящее устройство изготавливают следующим образом.

[34]

На поверхности подложки из изолирующего карбида кремния последовательно размещены: буферный слой из GaN 2 толщиной 0,1 мкм; второй сглаживающий буферный слой из GaN 3; буферный слой из GaN i-типа проводимости толщиной 3 мкм 4; сверхрешетка из AlXGa1-XN/GaN 5; буферный слой нелегированного GaN (концентрация доноров 1⋅1015 см-3) толщиной 3 мкм 6; слой AlGaN толщиной 14 нм с концентрацией доноров 8⋅1018 см-3 7; слой (спейсер) нелегированного AlGaN (концентрация доноров 1⋅1015 см-3) толщиной 6 нм 8; сглаживающий слой из GaN 9; нелегированный слой из твердого раствора InXGa1-XN (канал) толщиной 12 нм 10; нижняя обкладка конденсаторов, образованная ДЭГ в интерфейсе AlGaN/InGaN 11; сглаживающий дополнительный слой из GaN, слой нелегированного GaN (концентрация доноров 1⋅1015 см-3) толщиной 2 мкм 12; слой диэлектрика из двуокиси гафния 13 и дополнительный слой диэлектрика из двуокиси металла 14, например из оксида алюминия, который применяется при необходимости повышения электрической прочности слоя диэлектрика. В качестве второго слоя диэлектрика могут быть использованы также ZrO2, или Lа2O3, или Y2O3. Затем поверх слоев из диэлектрика размещают металлические электроды полосковой формы 15, которые образуют верхнюю обкладку конденсатора. Конструкция переключателя состоит из двух отдельных конденсаторов (ДГМОП), соединенных по принципу «спина к спине», при этом между буферным слоем из GaN 2 и сглаживающим буферным слоем GaN 3 располагается переходная область, которая служит носителем для уменьшения рассогласования параметров решетки, буферных слоев и растущих на них многослойных эпитаксиальных слоев. Слой из InXGa1-XN 10 предназначен для образования в его приповерхностном слое проводящего канала (двумерного электронного газа (ДЭГ) с высокой подвижностью носителей заряда), возникающего за счет разрыва зон и поляризационных эффектов при образовании гетероперехода InXGa1-XN/AlXGa1-XN. Основным требованием к этому слою является структурное совершенство, достаточное для обеспечения высокой подвижности электронов и высокого сопротивления. Поэтому канальный слой не легируется.

[35]

Рассогласование параметров решеток в случае роста слоев InXGa1-XN на AlGaN может достигать более 7,5%. В случае относительно малых значений содержания In в слое InGaN или малых толщин InGaN рассогласование параметров решетки может быть аккомодировано упруго. В этом случае постоянная решетки слоя InGaN принимает значение, отвечающее подложке AlGaN. Такое псевдоморфное строение гетероструктуры InGaN/(Al)GaN принципиально отличается от традиционных гетероструктур AlGaN/GaN, где с помощью буферных слоев согласовывают постоянные решеток, а псевдоморфный канал гетероструктуры InGaN/AlGaN является упруго-напряженным.

[36]

К недостаткам традиционной гетероструктуры системы AlGaN/GaN является влияние DX центров в слое AlGaN:Si на приборные характеристики. Снизить влияние DX центров можно, используя слои AlGaN с меньшим составом по Аl, что невыгодно вследствие уменьшения разрыва зон на гетерогранице и, как следствие, снижения плотности электронов в канале. Снижение влияния DX центров, повышение плотности электронов, устранение деградации в гетероструктуре, а также подавление токового коллапса достигается за счет увеличения разрыва зоны проводимости на гетерогранице (ΔЕС) в области канала, используя в составе канала твердый раствор полупроводника с большей шириной запрещенной зоны, например In0,17Ga0,83N с шириной запрещенной зоны 5,35 эВ, либо в результате увеличения концентрации InN в твердом растворе InGaN от 15 до 25%, при критической толщине соответственно 7-16 нм.

[37]

Двуокись гафния как диэлектрический материал подходит для устройств с емкостно соединенными контактами, имеет низкую плотность состояний границы раздела.

[38]

При необходимости повышения электрической прочности диэлектрика поверх слоя двуокиси гафния размещается слой оксида алюминия. Использование слоев из двуокиси гафния и оксида алюминия позволяют минимизировать утечки тока и увеличить значение напряжения пробоя.

[39]

Между буферным слоем из нитрида галлия 2 и слоем из нитрида галлия 4 i-типа располагается переходная область в виде второго буферного слоя из нитрида галлия 3, которая служит для уменьшения рассогласования параметров решетки и растущих на ней эпитаксиальных слоев. Между слоем твердого раствора InGaN 10 (канал) и диэлектрическим слоем 13 НfO2 размещен дополнительный слой 12 из химически более стабильного, по сравнению с AlGaN, материала из нитрида галлия (сглаживающий слой).

[40]

В процессе изготовления экспериментальных образцов ограничителя мощности в гетероструктуре кристалла вместо буферного слоя нитрида галлия 3 был опробован дополнительный буферный слой в виде короткопериодной сверхрешетки AlGaN/GaN, что позволило существенно снизить плотность ростовых дефектов и улучшить электрическую изоляцию между каналом ограничителя мощности и подложкой.

[41]

Таким образом, предлагается конструкция ограничителя мощности, которая позволяет использовать емкостные соединенные контакты. Соединенные «спина к спине» конденсаторы (ДГМОП) образуют ВЧ-ключи, тем самым устраняя потребность в омических контактах. Процесс металлизации обходится без отжигов контактов. Приведенная конструкция ограничителя мощности сочетает преимущества AlGaN/InGaN гетероперехода (канал ДЭГ высокой плотности с высокой подвижностью). Это приводит к очень низкому поверхностному сопротивлению канала, ниже 300 Ω / квадрат. Использование слоя из НfO2 обеспечивает низкие токи утечки и хорошую емкостную связь.

[42]

Низкое сопротивление в открытом состоянии возникает в результате чрезвычайно высокой плотности в канале - сверх 1013 см-2, высокой подвижности электронов полей пробоя и широкого диапазона рабочих температур в пределах от криогенного до 300°С.

[43]

Перезарядка DX центров на высоких частотах вносит вклад в коэффициент шума, а захват электронов канала на центры при сильных полях приводит к коллапсу тока - сдвигу напряжения открытия устройства в сторону больших значений VG. Коллапс наиболее сильно сказывается при низких температурах, не позволяя в полной мере использовать улучшение транспортных свойств двумерных электронов при снижении температуры.

[44]

Расчеты показывают, что с учетом влияния DX центров, характера зависимости ΔЕС от мольной доли AlN, заглубления донорного уровня и ограничения на степень легирования слоя AlGaN плотность электронов в канале МЛГС AlGaN/GaN не может превышать ~1.2-1.3⋅10-12 см-2. Одним из способов уменьшения «коллапса тока», возникающего из-за захвата электронов на ловушки в приповерхностном буферном слое, является его пассивация, что, однако, не спасает от захвата электронов на ловушки в буферном слое из GaN. Проблема усугубляется тем, что при его легировании компенсирующие примеси создают дополнительные ловушки.

[45]

Одним из важнейших параметров является концентрация электронов в канале. Эта величина достаточно большая (ns>3.5⋅1012 см-2-≤8,5⋅1012 см-2), но в то же время она ограничена сверху. Примером оптимизации гетероструктуры может служить структура, опробованная в работе по проверке основных параметров гетероструктур, демонстрирующая при концентрации носителей в канале 8.9⋅1012 см-2 подвижность от 1500 до 2000 см2/(В⋅c) при комнатной температуре.

[46]

Для данного содержания In в слое InGaN (данной величины рассогласования) существует некоторая толщина слоя, который может быть выращен в псевдоморфном режиме. Дальнейшее увеличение толщины слоя приводит к формированию дислокаций несоответствия, снимающих механическое напряжение. Подвижность в рассогласованных структурах снижается в результате образования дислокаций превышении критической толщины слоя.

[47]

Критическая толщина зависит от упругих свойств материалов, образующих гетеропереход и уменьшается с увеличением содержания In в слое InGaN и для концентрации около 20% составляет примерно 15 нм. Ограничения, накладываемые критической толщиной, приводят к тому, что при содержании In свыше 30% слой, который может быть выращен бездислокационно, оказывается слишком тонким и неприемлем для использования в приборе.

[48]

Таким образом, увеличение энергии размерного квантования в яме GaN/In⋅Ga1-XN/AlGaN компенсирует увеличение ΔЕС с ростом х. В рамках данного предложения при использовании в качестве канала псевдоморфных ограничителей мощности использованы слои с содержанием In около 15-25% (толщина слоев около 6-17 нм).

[49]

Преимущество конструкции настоящего изобретения заключается в следующем:

[50]

- использование дополнительного буферного слоя в виде короткопериодной сверхрешетки AlGaN/GaN позволяет существенно снизить плотность ростовых дефектов и улучшить электрическую изоляцию между каналом гетероструктуры и подложкой;

[51]

- относительно малая суммарная толщина буферных слоев GaN позволяет улучшить ограничение носителей в канале;

[52]

- наличие дополнительного тонкого слоя нелегированного GaN между псевдоморфным InGaN каналом и AlGaN спейсером улучшает структурное качество границы раздела (сглаживающий слой);

[53]

- наличие дополнительного слоя n-типа из GaN под слоем диэлектрика из двуокиси гафния обеспечивает высокое качество границы диэлектрика с гетероструктурой на химически более стабильном по сравнению с AlGaN материале, кроме того, обеспечивает уменьшение шероховатости поверхности, что уменьшает окисление поверхности и повышает надежность ограничителя мощности переключателя, препятствуя «коллапсу тока»;

[54]

- увеличение значений плотности и подвижности электронов в канале, изготовленном на основе InGaN, достигается оптимальным выбором независимых параметров структуры: концентрации легирующей примеси в сильнолегированном слое.

[55]

Схема устройства приведена на фиг. 2. Первый электрод (E1), сформированный на полупроводниковом канале, и полупроводниковый канал образуют первый управляемый напряжением конденсатор; второй электрод (Е2), сформированный на полупроводниковом канале, и полупроводниковый канал образуют второй управляемый напряжением конденсатор. Входной импульс может быть подан между землей Е0 и электродом Е1, в то время как второй импульс подается между землей Е0 и электродом Е2.

[56]

Устройство подключено в другую схему, если амплитуда входного сигнала (А) не превышает напряжение, необходимое для обеднения одного из конденсаторов (C1) или (С2), импеданс устройства будет очень низким и устройство не будет ограничивать мощность. Однако если амплитуда входного сигнала (В) превышает напряжение, конденсаторы (C1) и (С2) выключаются в течение соответствующего положительного и отрицательного полупериодов.

Как компенсировать расходы
на инновационную разработку
Похожие патенты