патент
№ RU 2581345
МПК F16M11/12

ОПОРНО-ПОВОРОТНОЕ УСТРОЙСТВО

Авторы:
Петричкович Ярослав Ярославович Соколов Евгений Георгиевич Кишиков Сергей Сергеевич
Все (6)
Номер заявки
2015113717/11
Дата подачи заявки
14.04.2015
Опубликовано
20.04.2016
Страна
RU
Как управлять
интеллектуальной собственностью
Чертежи 
2
Реферат

Опорно-поворотное устройство для охранных систем содержит соединенные между собой азимутальную компоненту и элевационную компоненту, закрепленные на вертикальной несущей трубе с опорными фланцами и со сквозной полостью для размещения электрических кабелей, соединяющих внутренние компоненты устройства и элементы внешних навесных устройств. Несущая труба имеет с противоположных концов верхнее и нижнее торцевые вентиляционные отверстия на опорных фланцах, сообщающиеся с полостью несущей трубы для пропускания потоков воздуха в нее, а также боковые вентиляционные отверстия, расположенные внутри корпуса, сообщающиеся с полостью несущей трубы и с полостью корпуса для пропускания потоков воздуха из полости несущей трубы внутрь корпуса. Опорный фланец соединен с заглушкой-основанием, содержащей воздушный штуцер для подключения воздуховода внешней системы вентиляции и терморегулирования и пропускания потоков воздуха из воздуховода внешней системы вентиляции в полость заглушки-основания, соединенную с торцевым отверстием несущей трубы, расположенным на опорном фланце. Обеспечиваются улучшенные характеристики вентиляции и терморегулирования и, как следствие, меньшее энергопотребление устройства. 6 з.п. ф-лы, 2 ил.

Формула изобретения

1. Опорно-поворотное устройство, содержащее соединенные между собой азимутальную компоненту, элевационную компоненту и основной несущий элемент, на котором закреплены расположенные внутри корпуса элементы азимутальной и элевационной компонент, причем основной несущий элемент выполнен в виде вертикальной трубы со сквозной полостью, выполненной с возможностью размещения внутри нее электрических кабелей, соединяющих внутренние компоненты опорно-поворотного устройства и элементы внешних навесных неподвижных и подвижных устройств, при этом на концах несущая труба имеет два опорных фланца, один из которых выполнен с возможностью механического крепления опорно-поворотного устройства на месте эксплуатации, а второй с возможностью крепления к нему, по меньшей мере, одного внешнего навесного устройства, а также с возможностью размещения на нем электроразъемов, выполненных с возможностью подключения к опорно-поворотному устройству внешних кабелей электропитания, управления и телекоммуникации, отличающееся тем, что несущая труба имеет с противоположных концов верхнее и нижнее торцевые вентиляционные отверстия, расположенные на опорных фланцах, сообщающиеся с полостью несущей трубы и выполненные с возможностью пропускания внешних охлаждающих или обогревающих потоков воздуха в полость несущей трубы, а также боковые вентиляционные отверстия, расположенные внутри корпуса, сообщающиеся с полостью несущей трубы и с полостью корпуса и выполненные с возможностью пропускания внешних охлаждающих или обогревающих потоков воздуха из полости несущей трубы внутрь корпуса, при этом опорный фланец соединен с заглушкой-основанием, содержащей воздушный штуцер, выполненный с возможностью подключения воздуховода внешней системы вентиляции и терморегулирования и пропускания внешних охлаждающих или нагревающих потоков воздуха из воздуховода внешней системы вентиляции в полость заглушки-основания, соединенную с торцевым отверстием несущей трубы, расположенным на опорном фланце.

2. Опорно-поворотное устройство по п. 1, отличающееся тем, что элевационная компонента опорно-поворотного устройства содержит две полые полуоси, на которых закреплены кронштейны, на которые установлены внешние навесные устройства, причем охлаждающие потоки воздуха выходят наружу из полости корпуса через сквозные полости полуосей.

3. Опорно-поворотное устройство по п. 1, отличающееся тем, что внешнее навесное устройство выбрано из набора устройств, содержащего опорно-поворотные устройства, оптико-электронные устройства наблюдения, радиолокационные устройства наблюдения и тепловизионные устройства наблюдения.

4. Опорно-поворотное устройство по п. 1, отличающееся тем, что азимутальная компонента содержит систему обогрева опорно-поворотного устройства, включающую в себя соединенные между собой блок управления, элементы обогрева и электровентилятор.

5. Опорно-поворотное устройство по п. 1, отличающееся тем, что электроразъемы, установленные на опорных фланцах, выполнены с возможностью соединения между собой с помощью кабелей-перемычек, при этом соединения электрических кабелей опорно-поворотного устройства с электрическими кабелями внешних навесных устройств.

6. Опорно-поворотное устройство по п. 1, отличающееся тем, что несущая труба имеет два опорных фланца, один из которых выполнен с возможностью механического крепления опорно-поворотного устройства на месте эксплуатации, а второй с возможностью крепления к нему, по меньшей мере, одного внешнего навесного устройства через заглушку-основание.

7. Опорно-поворотное устройство по п. 1, отличающееся тем, что корпус прикреплен к несущей трубе посредством шарнирного соединения.

Описание

[1]

Изобретение относится к области охранных систем, а именно к средствам осуществления точного позиционирования видеокамер, тепловизионных камер и других внешних устройств наблюдения и контроля при обнаружении целей (нарушителей) системами обнаружения, и предназначено для использования на режимных объектах, при этом наблюдения за их территориями, а также для решения задач пограничной и таможенной служб, в том числе для выявления на значительных расстояниях попыток и/или фактов несанкционированного проникновения к объектам и предметам охраны.

[2]

Функционально и конструктивно заявленное изобретение может иметь различные варианты своего применения, начиная от автономного использования, кончая возможностью создания многоярусных многосекторных комплексов централизованного видеонаблюдения, распознавания и видеорегистрации опасных ситуаций, например, на крупных железнодорожных узлах, в аэропортах и т.п.

[3]

В настоящее время для решения задач обнаружения несанкционированного проникновения к предметам охраны или на охраняемые территории используют различные виды охранных систем, в составе которых (уже практически в обязательном порядке) применяют системы видеонаблюдения, позволяющие операторам дистанционно наблюдать за действиями несанкционированных лиц, совершающих (или пытающихся совершить) неправомочные действия. Возможность дистанционного наблюдения за действиями нарушителей позволяет достаточно своевременно предпринимать необходимые меры противодействия с целью локализации и обезвреживания нарушителей. В настоящее время наиболее совершенным считается подход обеспечения безопасности объекта, при котором заблаговременно предупреждают силы безопасности о возможном нападении на тот или иной стратегический объект, например атомную электростанцию (АЭС), плотину гидроэлектростанцию (ГЭС), аэропорт и т.п. и сопровождают нападающие цели на значительном расстоянии от объекта, причем, как правило, в автоматическом режиме. Учитывая, что на больших расстояниях (3-5 км) от объекта близлежащая территория как правило освещается слабо (а зачастую вообще не освещается), применяют комбинированные охранные комплексы с использованием радиолокационных станций (РЛС), традиционных видеосистем (ВС) и тепловизионных систем (ТВС). Данные охранные комплексы решают задачи обнаружения и сопровождения целей как на самом охраняемом объекте, так и на прилегающих к нему территориях, причем даже в условиях полного отсутствия освещения на них. В таких комбинированных охранных комплексах РЛС в любых погодных условиях обеспечивает обнаружение нарушителей и формирует сигналы управления видеосистемами и/или тепловизионными системами, по которым видеокамеры и/или тепловизионные камеры, снабженные объективами с переменным фокусным расстоянием, выводят на заданный РЛС азимут, а иногда и угол места.

[4]

Непосредственное позиционирование видеотехнических средств (видео- и тепловизионных камер, прожекторов, дальномеров и т.п.) осуществляют посредством применения опорно-поворотных устройств (ОПУ), которые обеспечивают с большой скоростью и со значительным ускорением высокую точность отработки направления и угла места от задаваемых системами управления координат (до сотых долей градуса). При этом необходимо обеспечивать указанные характеристики в сложных климатических и погодных условиях, при больших ветровых нагрузках, существенной запыленности воздуха и при существующих значительных разбросах масс используемого оборудования (телекамер и тепловизионных камер с системами трансфокации их объективов и т.д.) - от 0,5 до 20 кг. Кроме этого, такое опорно-поворотное устройство должно иметь возможность размещения в его верхней части неподвижной механически устойчивой платформы для соосного размещения над ОПУ объектовой РЛС, подводки к ней необходимых кабельных коммуникаций для подключения ее к общей системе управления охранного комплекса объекта.

[5]

Наиболее близким к заявленнму изобретению является опорно-поворотное устройство, описанное в патенте на полезную модель RU 148446 U1, опубл. 10.12.2014 г. Бил. №34, которое содержит соединенные между собой азимутальную и элевационную компоненты и основной несущий элемент, выполненный в виде полой трубы, на котором неподвижно закреплены элементы азимутальной компоненты, выполненные с возможностью углового позиционирования, по меньшей мере, одного внешнего навесного устройства в заданном азимутальном направлении вокруг основного несущего элемента, и элементы элевационной компоненты, выполненные с возможностью углового позиционирования, по меньшей мере, одного внешнего навесного устройства в заданном угломестном направлении. Причем в предпочтительном варианте опорно-поворотного устройства основной несущий элемент, выполненный в виде полой трубы, имеет не только сквозную полость, предназначенную для прокладки кабелей питания и управления элементами азимутальной и элевационной компонент ОПУ, а также неподвижным навесным устройством (например, РЛС), размещаемым над ОПУ, но и ряд перпендикулярно размещенных к оси трубы дополнительных отверстий, предназначенных для ввода во внутреннюю полость ОПУ кабелей его электропитания, управления и телекоммуникации. При этом основной несущий элемент имеет верхний и нижний опорные фланцы, выполненные с возможностью механического крепления опорно-поворотного устройства и внешнего навесного устройства на месте эксплуатации, причем опорные фланцы содержат электроразъемы, припаянные к соответствующим контактам внутренних кабелей ОПУ. В предпочтительном варианте реализации такого ОПУ в нем также применена система обогрева, содержащая блок управления системой обогрева, непосредственно элементы обогрева и электровентилятор. Данное опорно-поворотное устройство выбрано в качестве прототипа заявленного изобретения.

[6]

Недостатком опорно-поворотного устройства-прототипа является его недостаточно эффективные вентиляция и терморегулирование, позволяющие обеспечивать только сокращение времени первоначального запуска ОПУ в работу и его функционирование в условиях экстремально низких температур. При этом при ограниченных возможностях энергоресурсов на месте эксплуатации значительное энергопотребление системы обогрева ОПУ (как правило, в 3-5 раз большее по сравнению с требуемым потреблением основного оборудования) создает проблему в условиях отсутствия централизованного промышленного энергообеспечения, например, на удаленных и/или вообще не обслуживаемых объектах или в подвижных (мобильных) комплексах.

[7]

Задачей заявленного изобретение является создание опорно-поворотного устройства с улучшенными вентиляцией и терморегулированием и, как следствие, с меньшим энергопотреблением за счет выполнения в полой несущей трубе, являющейся основным несущим элементом опорно-поворотного устройства, с противоположных концов несущей трубы верхнего и нижнего торцевых вентиляционных отверстий, расположенных на опорных фланцах, сообщающихся с полостью несущей трубы и выполненных с возможностью пропускания внешних охлаждающих или обогревающих потоков воздуха в полость несущей трубы; за счет выполнения боковых вентиляционных отверстий, расположенных внутри корпуса опорно-поворотного устройства, сообщающихся с полостью несущей трубы и с полостью корпуса и выполненных с возможностью пропускания внешних охлаждающих или обогревающих потоков воздуха из полости несущей трубы внутрь корпуса; а также за счет соединения опорного фланца с заглушкой-основанием, содержащей воздушный штуцер, выполненный с возможностью подключения воздуховода внешней системы вентиляции и терморегулирования и пропускания внешних охлаждающих или нагревающих потоков воздуха из воздуховода внешней системы вентиляции в полость заглушки-основания, соединенную с торцевым отверстием несущей трубы, расположенным на опорном фланце.

[8]

Поставленная задача решена путем создания опорно-поворотного устройства, содержащего соединенные между собой азимутальную компоненту, элевационную компоненту и основной несущий элемент, на котором закреплены расположенные внутри корпуса элементы азимутальной и элевационной компонент, причем основной несущий элемент выполнен в виде вертикальной трубы со сквозной полостью, выполненной с возможностью размещения внутри нее электрических кабелей, соединяющих внутренние компоненты опорно-поворотного устройства и элементы внешних навесных неподвижных и подвижных устройств, при этом на концах несущая труба имеет два опорных фланца, один из которых выполнен с возможностью механического крепления опорно-поворотного устройства на месте эксплуатации, а второй с возможностью крепления к нему, по меньшей мере, одного внешнего навесного устройства, а также с возможностью размещения на нем электроразъемов, выполненных с возможностью подключения к опорно-поворотному устройству внешних кабелей электропитания, управления и телекоммуникации, отличающегося тем, что несущая труба имеет с противоположных концов верхнее и нижнее торцевые вентиляционные отверстия, расположенные на опорных фланцах, сообщающиеся с полостью несущей трубы и выполненные с возможностью пропускания внешних охлаждающих или обогревающих потоков воздуха в полость несущей трубы, а также боковые вентиляционные отверстия, расположенные внутри корпуса, сообщающиеся с полостью несущей трубы и с полостью корпуса и выполненные с возможностью пропускания внешних охлаждающих или обогревающих потоков воздуха из полости несущей трубы внутрь корпуса, при этом опорный фланец соединен с заглушкой-основанием, содержащей воздушный штуцер, выполненный с возможностью подключения воздуховода внешней системы вентиляции и терморегулирования и пропускания внешних охлаждающих или нагревающих потоков воздуха из воздуховода внешней системы вентиляции в полость заглушки-основания, соединенную с торцевым отверстием несущей трубы, расположенным на опорном фланце.

[9]

В предпочтительном варианте осуществления элевационная компонента опорно-поворотного устройства содержит две полые полуоси, на которых закреплены кронштейны, на которые установлены внешние навесные устройства, причем охлаждающие потоки воздуха выходят наружу из полости корпуса через сквозные полости полуосей.

[10]

В предпочтительном варианте осуществления внешнее навесное устройство выбрано из набора устройств, содержащего опорно-поворотные устройства, оптико-электронные устройства наблюдения, радиолокационные устройства наблюдения и тепловизионные устройства наблюдения.

[11]

В предпочтительном варианте осуществления азимутальная компонента содержит систему обогрева опорно-поворотного устройства, включающую в себя соединенные между собой блок управления, элементы обогрева и электровентилятор.

[12]

В предпочтительном варианте осуществления электроразъемы, установленные на опорных фланцах, выполнены с возможностью соединения между собой с помощью кабелей-перемычек, при этом соединения электрических кабелей опорно-поворотного устройства с электрическими кабелями внешних навесных устройств.

[13]

В предпочтительном варианте осуществления несущая труба имеет два опорных фланца, один из которых выполнен с возможностью механического крепления опорно-поворотного устройства на месте эксплуатации, а второй с возможностью крепления к нему, по меньшей мере, одного внешнего навесного устройства через заглушку-основание.

[14]

В предпочтительном варианте осуществления корпус прикреплен к несущей трубе посредством шарнирного соединения.

[15]

Для лучшего понимания заявленного изобретения далее приводится его подробное описание с соответствующими графическими материалами.

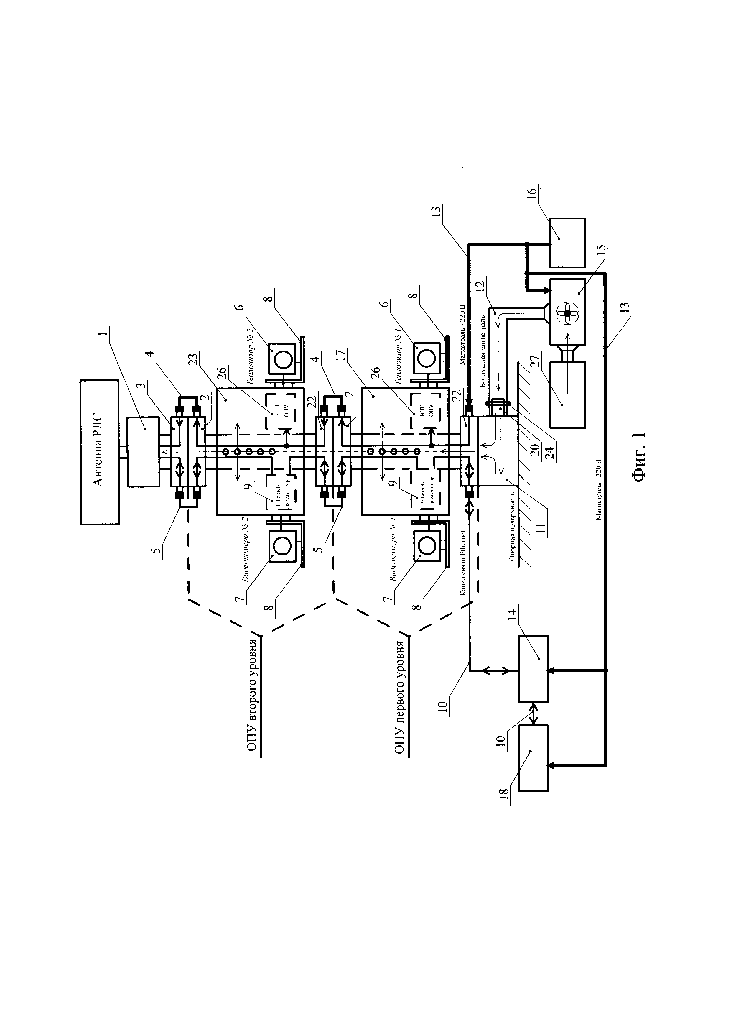
[16]

Фиг. 1. Структурно-функциональная схема автомобильного разведывательного комплекса, содержащего опорно-поворотное устройство, выполненное согласно изобретению.

[17]

Фиг. 2. Схема заглушки-основания в сборе опорно-поворотного устройства, выполненного согласно изобретению.

[18]

Элементы:

[19]

1 - радиолокационная станция (РЛС) кругового обзора;

[20]

2 - верхний опорный фланец несущей трубы ОПУ;

[21]

3 - опорный фланец несущей трубы РЛС;

[22]

4 - кабель-перемычка магистрального кабеля электропитания;

[23]

5 - кабель-перемычка магистрального интерфейсного кабеля связи (Ethernet);

[24]

6 - тепловизор;

[25]

7 - видеокамера;

[26]

8 - вращающийся кронштейн;

[27]

9 - Ethernet-коммутатор;

[28]

10 - магистральный кабель канала связи Ethernet (ОПУ-видеосервер и видеосервер-АРМ);

[29]

11 - заглушка-основание ОПУ;

[30]

12 - воздуховод;

[31]

13 - магистральный кабель электропитания;

[32]

14 - видеосервер;

[33]

15 - устройство принудительной централизованной подачи избыточного давления воздуха;

[34]

16 - общий источник электропитания;

[35]

17 - ОПУ первого уровня;

[36]

18 - автоматизированное рабочее место (АРМ) оператора (оно же «Общий пульт управления»);

[37]

19 - корпус заглушки-основания;

[38]

20 - воздушный штуцер;

[39]

21 - уплотнительная прокладка;

[40]

22 - нижний опорный фланец несущей трубы ОПУ;

[41]

23 - ОПУ второго уровня;

[42]

24 - хомут;

[43]

26 - вторичный источник электропитания (ВИП) ОПУ;

[44]

27 - кондиционер.

[45]

Рассмотрим более подробно вариант выполнения заявленного опорно-поворотного устройства в составе автомобильного разведывательного комплекса, содержащего два опорно-поворотных устройства с внешними навесными устройствами в виде видеокамер, тепловизоров и РЛС и с внешними компонентами централизованного управления, электрообеспечения, принудительного обогрева/охлаждения, фильтрации внешней воздушной среды и вентиляции (Фиг. 1, 2).

[46]

Автомобильный разведывательный комплекс (Фиг. 1, 2) предназначен для работы в условиях предельно жаркого климата (например, в условиях пустыни со значительной запыленностью воздуха) при ограниченных возможностях энергообеспечения. В состав комплекса в качестве основного оборудования входит РЛС 1 кругового обзора с антенной и два ОПУ 17, 23 первого и второго уровня. ОПУ 17 первого уровня механически (с использованием заглушки-основания 11) прикреплен к опорной поверхности выдвижной мачты, установленной в кузове автомобиля (мачта на рисунке не показана): в верхней части мачты расположена площадка (на Фиг. 1 - «Опорная поверхность), на которой болтовыми соединениями совместно закреплены заглушка-основание 11 ОПУ, предназначенная для подвода магистрали воздуховода внешней системы вентиляции и терморегулирования, и непосредственно ОПУ 17 первого уровня через нижний опорный фланец 22 несущей трубы ОПУ 17 первого уровня. К верхнему опорному фланцу 2 несущей трубы ОПУ 17 первого уровня болтовым соединением прикреплено ОПУ 23 второго уровня через нижний опорный фланец 22 несущей трубы ОПУ 23 второго уровня. К верхнему опорному фланцу 2 несущей трубы ОПУ 23 второго уровня, через опорный фланец 3 несущей трубы РЛС болтовыми соединениями прикреплена сама РЛС 1. На кронштейны 8 ОПУ первого и второго уровней установлены и подключены соответствующие виды оборудования видеонаблюдения, а именно внешние навесные устройства (тепловизор 6 и видеокамера 7). Электроразъемы, припаянные к кабелям электропитания РЛС 1 и ОПУ 23 второго уровня, а также ОПУ 17 первого уровня и ОПУ 23 второго уровня, соединены кабелями-перемычками 4, снабженными ответными частями соответствующих электроразъемов, размещенных в опорных фланцах 2, 3, 22 ОПУ 17, 23 и РЛС 1.

[47]

К электроразъему электропитания нижнего опорного фланца 22 несущей трубы ОПУ 17 первого уровня подключен выход магистрального кабеля 13 электропитания от общего источника 16 электропитания комплекса, в качестве которого используется интегрированное устройство, содержащее бензоагрегат, обеспечивающий при своей работе выработку переменного однофазного напряжения 220 В, частотой 50 Гц, и инвертор, преобразующий бортовое постоянное напряжение автомобиля, напряжением 12 В (например, при неработающем бензоагрегате) также в переменное однофазное напряжение 220 В, частотой 50 Гц. При функционировании комплекса (в зависимости от необходимости) обеспечивается его энергообеспечение или от бензоагрегата или от бортовой сети автомобиля (его аккумуляторов). Таким образом, с использованием кабелей-перемычек 4 общий источник 16 электропитания комплекса соединен с входами вторичных источников 26 электропитания (ВИП) ОПУ 17 первого уровня, ОПУ 23 второго уровня и РЛС 1. Видеосервер 14, АРМ оператора 18 и устройство принудительной централизованной подачи избыточного давления воздуха 15 с использованием магистрального кабеля электропитания 13 также подключены к выходу источника 16 электропитания комплекса.

[48]

К электроразъему канала связи нижнего опорного фланца 22 несущей трубы ОПУ 17 первого уровня подключен один конец магистрального кабеля 10 канала связи Ethernet («ОПУ-видеосервер»), другой конец которого подключен к видеосерверу 14 комплекса. К видеосерверу 14 (с использованием кабеля 10 «видеосервер-АРМ») также подсоединено автоматизированное рабочее место оператора 18 («АРМ оператора).

[49]

Электроразъем канала связи ОПУ 17 первого уровня, установленный на верхнем опорном фланце 2, соединен с электроразъемом канала связи ОПУ 23 второго уровня, установленном на нижнем опорном фланце 22, с помощью кабеля-перемычки 5 магистрального интерфейсного кабеля связи (Ethernet). Такой же кабель-перемычка 5 соединяет электроразъем канала связи верхнего опорного фланца 2 несущей трубы ОПУ 23 второго уровня с электроразъемом канала связи опорного фланца 3 несущей трубы РЛС 1. Таким образом реализуется общая главная магистраль канала связи Ethernet всего комплекса (видеосервер, АРМ, ОПУ и РЛС). При этом Ethernet-коммутаторы 9 первого и второго уровней ОПУ, с использованием специальных локальных информационных кабелей, проходящих через полые оси кронштейнов 8 для установки навесного оборудования, обеспечивают подключение навесных компонентов 6 и 7 ОПУ 17 и 23 к сети Ethernet комплекса. Аналогичным образом осуществляется электропитание навесных элементов навесного оборудования (навесных устройств 6 и 7) от соответствующих вторичных источников электропитания 26 ОПУ первого и второго уровней с использованием локальных кабелей электропитания, также проходящих через полые оси кронштейнов 8.

[50]

Нижний опорный фланец 22 несущей трубы ОПУ 17 первого уровня соединен через уплотнительную прокладку 21 с заглушкой-основанием 11 ОПУ 17 первого уровня, имеющей корпус 19 (Фиг. 1, 2). К заглушке-основанию 11 ОПУ 17 первого уровня, предназначенной для подвода магистрали воздуховода, через воздушный штуцер 20 с помощью хомута 24 подключен гибкий воздуховод 12 внешней системы вентиляции и терморегулирования, который соединен с устройством 15 принудительной централизованной подачи избыточного давления воздуха внешней системы вентиляции и терморегулирования. Устройство 15 принудительной централизованной подачи избыточного давления воздуха содержит, в том числе, необходимые механические и активные химические фильтры, нейтрализующие агрессивность внешней воздушной среды. Воздухозаборник устройства 15 принудительной централизованной подачи избыточного давления воздуха подключен к выходному отверстию автомобильного кондиционера 27 внешней системы вентиляции и терморегулирования, осуществляющего охлаждение или нагрев воздуха.

[51]

Заявленное опорно-поворотное устройство работает следующим образом в составе автомобильного разведывательного комплекса (Фиг. 1, 2).

[52]

Первоначально включают общий источник 16 электропитания комплекса, который, в свою очередь, в зависимости от условий применения может быть запущен от бортовой сети автомобиля или от штатного бензоагрегата. При этом на его выходе (в магистралях ~220 В, частотой 50 Гц) возникает сетевое напряжение, которое по магистральному кабелю 13 электропитания поступает на вход электропитания ОПУ 17 первого уровня (на сетевой вход нижнего опорного фланца 22 несущей трубы ОПУ), на устройство 15 принудительной централизованной подачи избыточного давления воздуха, а также на входы электропитания видеосервера 14 и автоматизированного рабочего места (АРМ) 18 оператора. При этом начнет работать вентилятор устройства 15 принудительной централизованной подачи избыточного давления воздуха и в воздуховоде 12 между устройством 15 принудительной централизованной подачи избыточного давления воздуха и заглушкой-основанием 11 ОПУ возникнет избыточное давление предварительно очищенного фильтрами воздуха, который через верхнее и нижнее торцевые вентиляционные отверстия, а затем через боковые вентиляционные отверстия несущей трубы поступает в полость корпуса обоих ОПУ 17 и 23, а также в полость корпуса РЛС 1. Причем в зависимости от условий эксплуатации разведывательного комплекса («ЗИМА-ЛЕТО») может быть включен кондиционер 27 автомобиля, который обеспечит предварительную подготовку воздушной среды (подогрев или охлаждение) на входе воздухозаборника устройства 15 принудительной централизованной подачи избыточного давления воздуха. Выброс отработанного (прошедшего через ОПУ) воздуха из полости корпуса ОПУ 17 и 23 во внешнюю среду осуществляется через полые полуоси элевационной компоненты ОПУ 17 и 23, на которых закреплены кронштейны для установки навесного оборудования 8 и через которые проходят кабели питания и информационного канала Ethernet, подключаемые к внешним навесным устройствам (тепловизору 6 и видеокамере 7).

[53]

В особо холодных условиях (например, при предельно допустимой отрицательной температуре) дополнительно автоматически сработает внутренняя система (на рисунке не показана) обогрева ОПУ 17 и 23, которая содержится и в прототипе (см. п. 8 формулы патента на полезную модель №RU 148446 U1). После достижения рабочей температуры во внутренних объемах ОПУ 17 и 23 и РЛС 1 комплекс включится в работу, а внутренняя система обогрева ОПУ 17 и 23 выключится.

[54]

Заявленное ОПУ позволяет с легкостью размещать на нем несколько (более одного) внешних навесных устройств (тепло-видео средств наблюдения и другого необходимого оборудования), в том числе требующих позиционирования в пространстве (например, ИК-прожектор, направленный микрофон, звуковой извещатель или мощный громкоговоритель, лазерный дальномер и т.п.). Заявленное ОПУ позволяет одновременно осуществлять видеонаблюдение и сопровождение целей в разных секторах пространства, имеющих различные природные и географические особенности, условия освещения и отражения сигналов на местности. Например, плотина ГЭС, ее инженерные сооружения и пространство нижнего бьефа, как правило, сильно освещены, а верхний бьеф, представляющий большую водную поверхность, практически не освещается, а это, в свою очередь, зачастую не позволяет эффективно использовать известное универсальное решение: ВС-ТВС, работающие одновременно в одном азимутальном и угломестном направлении. В этих условиях наиболее целесообразно работать по двум направлениям одновременно, выделяя каждому оператору свой сектор наблюдения, используя при этом оптимальный набор средств в составе размещенного на конкретном ОПУ внешнего навесного оборудования и конкретную специфику их настроек, что позволяет осуществить заявленное опорно-поворотное устройство. Также следует констатировать, что для особо охраняемых или особо опасных объектов является недопустимым полный выход из строя основных видов оборудования системы безопасности. И это требование может быть реализовано, как правило, только за счет применения дополнительного (резервного) ОПУ с дублирующим комплектом средств видеонаблюдения, размещенного соосно (и в непосредственной близости) с основным рабочим ОПУ, то есть только за счет применения охранного комплекса, состоящего из нескольких соединенных соосно ОПУ (Фиг. 1). Очевидно, что такой подход позволяет существенно повысить живучесть всего комплекса системы безопасности объекта.

[55]

Заявленное ОПУ обладает более эффективной системой вентиляции и терморегулирования, позволяющей сократить время первоначального запуска ОПУ в работу и его функционирование в условиях экстремально низких температур, за счет наличия внутренних вентиляционных отверстий и использования внешней системы вентиляции и терморегулирования. При этом общеизвестно, что при ограниченных возможностях энергоресурсов на месте эксплуатации значительное энергопотребление системы терморегулирования (как правило, в 3-5 раз большее по сравнению с требуемым потреблением основного оборудования) бывает весьма проблематичным в условиях отсутствия централизованного промышленного энергообеспечения, например, на удаленных и/или вообще не обслуживаемых объектах или в подвижных (мобильных) комплексах. Заявленное ОПУ с внешней системой вентиляции и терморегулирования, использующей автомобильный источник электропитания и кондиционер, позволяет устранить проблему отсутствия централизованного промышленного энергообеспечения.

[56]

Заявленное изобретение обеспечивает возможность соосного вертикального многоуровневого объединения (сочленения) нескольких ОПУ (по меньшей мере, двух), а также совместно работающую с ними РЛС в единый комплекс устройств, имеющих общую систему электропитания, систему очистки воздушной среды, ее терморегулирования и вентиляции и общую систему телекоммуникаций.

[57]

Заявленное изобретение обеспечивает возможность каскадного монтажа друг на друге требуемого количества ОПУ и общей РЛС с осуществлением реализации принципа их магистрального подключения к централизованному устройству управления (серверу), а также к устройству электропитания специальными (функционально ориентированными) кабелями-перемычками, предусмотренными в составе ОПУ и организации принудительной системы охлаждения-вентиляции такого комплекса, обеспечивающей нормальное функционирование всех соосно размещенных в комплексе устройств даже в условиях значительной запыленности и агрессивности внешней среды. При этом за счет перфорации стенок основного несущего элемента (полой несущей трубы), необходимых для лучшей доставки воздушных масс во внутреннюю полость ОПУ, использования специальной заглушки-основания ОПУ, имеющей размеры и крепежные отверстия, совпадающие с соответствующими размерами и отверстиями крепежного фланца несущей трубы ОПУ, а также за счет применения воздушного штуцера, предназначенного для подключения трубопровода внешней системы вентиляции и терморегулирования, содержащей, в том числе, необходимые механические и активные химические фильтры, нейтрализующие агрессивность внешней воздушной среды, могут быть реализованы новые возможности устройства.

[58]

Подача в несущую трубу воздушной среды с избыточным (относительно атмосферного) давлением в такой системе осуществляют от специальной камеры, снабженной воздушными фильтрами, ориентированными под конкретную задачу их противодействия агрессивности внешней воздушной среды, напорным вентилятором и гибким трубопроводом, подключаемым к воздушному штуцеру заглушки-основания ОПУ. При этом, в свою очередь, к входному отверстию этой камеры может подаваться уже заранее подготовленный (дополнительно подогретый или напротив охлажденный и подсушенный) воздух, например, от внешнего кондиционера.

[59]

Хотя описанный выше вариант выполнения изобретения был изложен с целью иллюстрации настоящего изобретения, специалистам ясно, что возможны разные модификации, добавления и замены, не выходящие из объема и смысла настоящего изобретения, раскрытого в прилагаемой формуле изобретения.

Как компенсировать расходы
на инновационную разработку
Похожие патенты