патент
№ RU 2605876
МПК F01D9/04

ДИАФРАГМА ПАРОВОЙ ТУРБИНЫ

Авторы:
Зарянкин Аркадий Ефимович Гаранин Иван Владимирович Рогалев Андрей Николаевич
Все (5)
Номер заявки
2015132459/06
Дата подачи заявки
04.08.2015
Опубликовано
27.12.2016
Страна
RU
Как управлять
интеллектуальной собственностью
Чертежи 
2
Реферат

Диафрагма для первой ступени нижнего яруса двухъярусного цилиндра низкого давления (ЦНД). Диафрагма выполнена двухъярусной, причем в нижней части располагается обычная диафрагма ступени паровой турбины, а в верхнем ярусе установлен аэродинамический фильтр. Фильтр состоит из плоских радиально установленных перфорированных пластин, непрерывно расположенных по всей внешней окружности внешнего обвода диафрагмы нижнего яруса с угловым шагом, не превышающим 5°. Техническая задача, решаемая предлагаемой диафрагмой, состоит в выравнивании неравномерного входного поля скоростей, снижения амплитуд пульсаций давления в потоке пара перед первой ступенью верхнего яруса ЦНД. Технический результат, достигаемый за счет установки предлагаемой диафрагмы в первой ступени двухъярусного ЦНД, заключается в решении проблем, связанных с ее креплением в корпусе ЦНД, а также в работе лопаточных аппаратов верхнего яруса в условиях равномерного распределения скоростей в окружном направлении. 2 ил.

Формула изобретения

Диафрагма, преимущественно для первой ступени двухъярусного цилиндра низкого давления, содержащая диск, внешний обвод нижнего яруса, сопловые лопатки первой ступени нижнего яруса, внешний обвод верхнего яруса и перфорированные пластины, отличающаяся тем, что она выполнена двухъярусной, причем в нижней части располагается обычная диафрагма ступени паровой турбины, а в верхнем ярусе установлен аэродинамический фильтр, состоящий из плоских радиально установленных перфорированных пластин, непрерывно расположенных по всей внешней окружности внешнего обвода диафрагмы нижнего яруса с угловым шагом, не превышающим 5°.

Описание

[1]

Изобретение относится к области энергетического машиностроения и связано с созданием нового двухъярусного цилиндра низкого давления с повышенным предельным пропуском пара в конденсатор.

[2]

Конструктивная особенность рассматриваемого цилиндра состоит в том, что число ступеней давления в верхнем ярусе всегда ниже количества ступеней в нижнем ярусе [1] (Зарянкин А.Е., Арианов С.В., Зарянкин В.А. Проточная часть паровой турбины. Патент на изобретение №2296224 RU с приоритетом от 22.06.2006 БИ №9 27.03.2007), в связи с этим возникают серьезные проблемы с организацией подвода пара к первой ступени верхнего яруса и с креплением в корпусе ЦНД диафрагмы нижнего яруса.

[3]

Известные диафрагмы первой ступени ЦНД состоят из тела диафрагмы и обода диафрагмы, между которыми устанавливаются сопловые лопатки ступени турбины. Диафрагмы имеют горизонтальный разъем и устанавливаются в обойму диафрагмы, связанной с корпусом цилиндра [2] (Трухний А.Д. Стационарные паровые турбины. М. Энергоатомиздат. 1990).

[4]

Основной недостаток таких диафрагм, при использовании их в первой ступени двухъярусного ЦНД, связан с возникающими проблемами при установке их в обойме диафрагмы. Объясняется это тем, что в верхнем ярусе число ступеней меньше, чем в нижнем, и первая ступень верхнего яруса оказывается смещенной относительно первой ступени нижнего яруса. Также стоит отметить, что при установке таких диафрагм сильно возрастает неравномерность поля скоростей перед сопловым аппаратом первой ступени верхнего яруса.

[5]

Техническая задача, решаемая предлагаемой диафрагмой паровой турбины, состоит в выравнивании неравномерного входного поля скоростей и снижения амплитуд пульсаций давления в потоке пара перед первой ступенью верхнего яруса ЦНД.

[6]

Технический результат, получаемый за счет предлагаемой диафрагмы, заключается в решении проблем, связанных с ее креплением в корпусе двухъярусного ЦНД, а так же в работе лопаточных аппаратов верхнего яруса в условиях равномерного распределения скоростей в окружном направлении и достигается тем, что известная диафрагма, преимущественно для первой ступени двухъярусного цилиндра низкого давления, содержащая диск, внешний обвод нижнего яруса, сопловые лопатки первой ступени нижнего яруса, внешний обвод верхнего яруса и перфорированные пластины, выполняется двухъярусной, причем в нижней части располагается обычная диафрагма ступени паровой турбины, а в верхнем ярусе установлен аэродинамический фильтр, состоящий из плоских радиально установленных перфорированных пластин, непрерывно расположенных по всей внешней окружности внешнего обвода диафрагмы нижнего яруса с угловым шагом, не превышающим 5°.

[7]

Перечень чертежей:

[8]

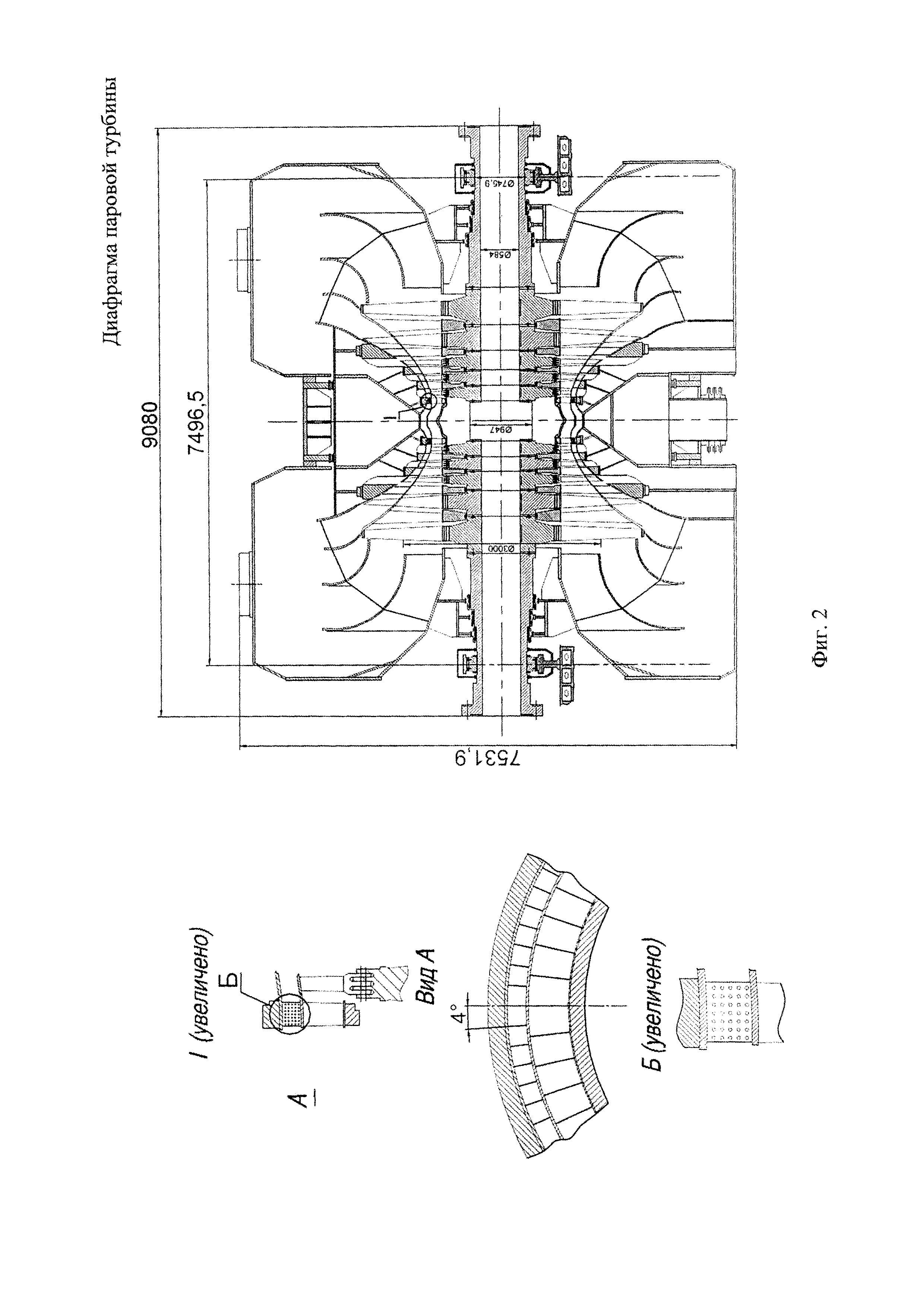
На фиг. 1 показана конструкция диафрагмы для первой ступени двухъярусного ЦНД, представляющая собой двухъярусную конструкцию.

[9]

На фиг. 2 для справки приведен продольный разрез двухъярусного ЦНД с предлагаемой двухъярусной диафрагмой первой ступени.

[10]

Нижний ярус рассматриваемой диафрагмы состоит из диска 1, внешнего обвода 2, между которыми установлены сопловые лопатки первой ступени нижнего яруса 3. Между внешним обводом верхнего яруса 4 и внешним обводом нижнего яруса 2 с угловым шагом, не превышающим 5°, радиально устанавливаются перфорированные пластины 5, являющиеся по существу аэродинамическими фильтрами.

[11]

Сопловые лопатки нижнего яруса 3 и перфорированные пластины 5 верхнего яруса жестко связаны с диском 1 и обводами 2 и 4, образуя тем самым единую жесткую неразборную конструкцию с горизонтальным разъемом, как у всех обычных диафрагм. Нижняя и верхняя половины диафрагмы устанавливаются в обойму диафрагмы, связанную с корпусом ЦНД.

[12]

Предлагаемая диафрагма паровой турбины для двухъярусного ЦНД работает следующим образом. Большая часть пара, протекая через нижний ярус, расширяется в каналах сопловых решеток 3, другая часть пара, протекая через верхний ярус диафрагмы, взаимодействует с аэродинамическим фильтром, обладающим малым аэродинамическим сопротивлением и не пропускающим крупные дискретные вихревые образования к входному сечению соплового аппарата первой ступени верхнего яруса. Отверстия перфорации на пластинах обеспечивают гашение окружной неравномерности потока пара и практически до нуля снижают поперечные силы, действующие на пластины при отклонении векторов скорости пара от осевого направления.

[13]

Список литературы

[14]

1. Зарянкин А.Е., Арианов СВ., Зарянкин В.А. Проточная часть паровой турбины. Патент на изобретение №2296224 RU с приоритетом от 22.06.2006, БИ №9 27.03.2007.

[15]

2. Трухний А.Д. Стационарные паровые турбины. М. Энергоатомиздат, 1990.

Как компенсировать расходы
на инновационную разработку
Похожие патенты