патент
№ RU 2682591
МПК G01F11/00

ПОРЦИОННЫЙ ДОЗАТОР ПИЩЕВЫХ СЫПУЧИХ ПРОДУКТОВ

Авторы:
Желагин Николай Сергеевич
Номер заявки
2018124168
Дата подачи заявки
03.07.2018
Опубликовано
19.03.2019
Страна
RU
Как управлять
интеллектуальной собственностью
Чертежи 
3
Реферат

Изобретение относится к устройствам для порционной дозировки сыпучих продуктов. Сущность: устройство содержит нижний корпусной элемент (1), верхний корпусной элемент (2) и подвижный затвор (3). Нижний корпусной элемент (1) имеет углубленную внутрь плоскую фигурно изготовленную контактную рабочую поверхность (4) контурного очертания. Верхний корпусной элемент (2) содержит фигурно изготовленный рабочий участок (8) контурного типа, имеющий сквозной проем (9) для прохождения сыпучих продуктов. Подвижный затвор (3) размещен на рабочей поверхности (4) под рабочим участком (8) нижнего (1) и верхнего (2) корпусных элементов. Контурное очертание фигурно изготовленной контактной рабочей поверхности (4) нижнего корпусного элемента (1) имеет форму дуги с примыкающей к ней на условном участке разрыва смежной дугой, образующей сообщающийся внешний участок (6) рабочей поверхности, напротив которого на противоположном участке выполнено радиальное выпускное отверстие (5) для выхода сыпучих продуктов. Фигурно изготовленный рабочий участок (8) верхнего корпусного элемента (2) имеет радиально размещенный сегмент (10) рабочей поверхности, расположенный противоположно радиальному выпускному отверстию (5) рабочей поверхности (4) нижнего корпусного элемента (1). Фигурно изготовленный рабочий участок (8) верхнего корпусного элемента (2) имеет сквозную технологическую прорезь (11), размещенную напротив внешнего участка (6) рабочей поверхности (4) нижнего корпусного элемента (1). Подвижный затвор (3) имеет дисковую форму с радиальным сквозным отверстием (12) и установлен с помощью осевого стержня-держателя (7) так, что имеет возможность возвратно-поступательного движения посредством рукоятки (13), проходящей через технологическую прорезь (11) верхнего корпусного элемента (2). Движение рукоятки (13) ограничено пределами сообщающегося внешнего участка (6) рабочей поверхности (4), позволяющими осуществлять закрытие и открытие радиального выпускного отверстия (5) нижнего корпусного элемента (1). Технический результат: повышение надежности и скорости дозирования. 3 ил.

Формула изобретения

Порционный дозатор пищевых сыпучих продуктов, содержащий нижний корпусной элемент, имеющий углубленную внутрь плоскую фигурно изготовленную контактную рабочую поверхность контурного очертания, верхний корпусной элемент, содержащий фигурно изготовленный рабочий участок контурного типа, имеющий сквозной проем для прохождения сыпучих продуктов, подвижный затвор, размещенный на рабочей поверхности под рабочим участком упомянутых корпусных элементов, при этом контурное очертание указанной фигурно изготовленной контактной рабочей поверхности нижнего корпусного элемента имеет форму дуги с примыкающей к ней на условном участке разрыва смежной дугой, образующей сообщающийся внешний участок рабочей поверхности, напротив которого на противоположном участке выполнено радиальное выпускное отверстие, указанный фигурно изготовленный рабочий участок верхнего корпусного элемента имеет радиально размещенный сегмент рабочей поверхности, расположенный противоположно радиальному выпускному отверстию рабочей поверхности нижнего корпусного элемента, и имеет сквозную технологическую прорезь, размещенную напротив упомянутого внешнего участка рабочей поверхности нижнего корпусного элемента, а указанный подвижный затвор имеет дисковую форму с радиальным сквозным отверстием и установлен так, что имеет возможность возвратно поступательного движения посредством рукоятки, проходящей через указанную технологическую прорезь верхнего корпусного элемента, движение которой ограничено пределами упомянутого сообщающегося внешнего участка рабочей поверхности, позволяющими осуществлять закрытие и открытие радиального выпускного отверстия нижнего корпусного элемента, создавая в сочетании с рабочей поверхностью нижнего корпусного элемента и с сегментом рабочей поверхности верхнего корпусного элемента частично подвижную ступенчатую структуру, предотвращающую возникновение сводообразования при контакте с пищевыми сыпучими продуктами.

Описание

[1]

Предлагаемое изобретение относится к устройствам, как правило, размещаемым в магазинах розничной торговли или на рынках для осуществления порционной дозировки сыпучих продуктов, преимущественно орехов, с целью их дальнейшего взвешивания и последующего расчета стоимости для продажи покупателям.

[2]

Из уровня техники известен дозатор сыпучих пищевых продуктов (см. RU136156, кл. G01F11/00, публ. 27.12.2013г. [1]).

[3]

Рассматриваемый дозатор [1], в частности, предназначен для дозирования кофе в зернах, орехов, драже, семечек и т.п.

[4]

Известный дозатор содержит корпус, имеющий верхнюю и нижнюю части, а также загрузочное и разгрузочное отверстия.

[5]

Из недостатков можно отметить необходимость подключения устройства к электросети для функционирования счетчика сыпучих продуктов, что обуславливает ее наличие в непосредственной близости от устройства в период эксплуатации, что может ограничивать или затруднять подготовку или выбор установочных участков, соответственно повышаются затраты на содержание, эксплуатацию и ремонт.

[6]

Дополнительным недостатком (неудобством) можно считать необходимость постоянного вращения ручки для получения необходимой порции сыпучего продукта, что сопряжено с увеличенным временем дозировки и с возможным заклиниванием крыльчатки в следствии возможного возникновения эффекта сводообразования, что в свою очередь может приводить к дискомфортным неблагоустроенным условиям использования.

[7]

Наиболее близким аналогом предлагаемого изобретения является измерительное и дозирующее устройство, предназначенное, в частности, для пищевых сыпучих продуктов (см. US7451901, кл. G01F11/28, публ. 2008г. [2]).

[8]

Известное измерительное и дозирующее устройство содержит корпусные элементы, имеющие фигурно изготовленные плоские контактные рабочие поверхности контурного типа с радиально размещенными сквозными проемами для прохождения сыпучих продуктов, подвижный дисковый затворный элемент с радиальным сквозным отверстием для прохождения сыпучих материалов и с рукояткой, проходящей через прорезь в корпусе посредством, которой осуществляется его возвратно-поступательное движение, образуя в совокупности с корпусными элементами, имеющими рабочие поверхности, частично подвижную структуру, через которую с требуемой степенью дозировки порционно проходят сыпучие пищевые продукты.

[9]

Недостатком известного измерительного и дозирующего устройства [2] является его сложное конструктивное исполнение, имеющее в своем составе множество подвижных и неподвижных фигурно изготовленных составных частей, взаимодействующих между собой и имеющих большое число точно стыкующихся друг с другом для совместной работы элементов сложной конфигурации, что при длительной и частой эксплуатации, подразумевающей, согласно конструкции, ручное воздействие на подвижные элементы устройства разными пользователями с соответственно отличающимися техникой и усилиями повышает вероятность возникновения поломок отдельных составных частей, которым может потребоваться ремонт или замена, что в свою очередь понижает показатели качества, долговечности и надежности.

[10]

Также можно отметить, что сложная конструкция известного устройства [2] сопряжена с повышенными технологическими требованиями, предъявляемыми к производственному процессу, существенно затрудняя и замедляя его, что в свою очередь повышает себестоимость изготовления и как следствие итоговую стоимость единицы продукции.

[11]

Технической проблемой предлагаемого изобретения является создание порционного дозатора пищевых сыпучих продуктов относительно простой конструкции, не требующей подключения к каким-либо внешним системам, включая источники энергии и обладающего высокими технико-эксплуатационными показателями.

[12]

Техническим результатом предлагаемого изобретения, который объективно проявляется в ходе его эксплуатации, является повышение надежности, скорости и качества порционных дозировок сыпучих пищевых продуктов, в том числе, за счет предотвращения вероятного возникновения эффекта сводообразования при их прохождении через выпускное отверстие порционного дозатора.

[13]

Указанный технический результат, решающий поставленную техническую проблему достигается в результате того, что порционный дозатор пищевых сыпучих продуктов содержит нижний корпусной элемент, имеющий углубленную внутрь плоскую фигурно изготовленную контактную рабочую поверхность контурного очертания, верхний корпусной элемент, содержащий фигурно изготовленный рабочий участок контурного типа, имеющий сквозной проем для прохождения сыпучих продуктов, подвижный затвор, размещенный на рабочей поверхности под рабочим участком упомянутых корпусных элементов, при этом контурное очертание, указанной фигурно изготовленной контактной рабочей поверхности нижнего корпусного элемента имеет форму дуги с примыкающей к ней на условном участке разрыва смежной дугой, образующей сообщающийся внешний участок рабочей поверхности, напротив которого на противоположном участке выполнено радиальное выпускное отверстие, указанный фигурно изготовленный рабочий участок верхнего корпусного элемента имеет радиально размещенный сегмент рабочей поверхности, расположенный противоположно радиальному выпускному отверстию рабочей поверхности нижнего корпусного элемента и имеет сквозную технологическую прорезь, размещенную напротив упомянутого внешнего участка рабочей поверхности нижнего корпусного элемента, а указанный подвижный затвор имеет дисковую форму с радиальным сквозным отверстием и установлен так, что имеет возможность возвратно поступательного движения посредством рукоятки, проходящей через указанную технологическую прорезь верхнего корпусного элемента, движение которой ограничено пределами упомянутого сообщающегося внешнего участка рабочей поверхности, позволяющими осуществлять закрытие и открытие радиального выпускного отверстия нижнего корпусного элемента, создавая в сочетании с рабочей поверхностью нижнего корпусного элемента и с сегментом рабочей поверхности верхнего корпусного элемента частично подвижную ступенчатую структуру, предотвращающую возникновение сводообразования при контакте с пищевыми сыпучими продуктами.

[14]

Согласно изобретательскому замыслу конструкция предлагаемого дозатора выполнена в виде трех основных элементов, взаимосвязанных и взаимодействующих между собой.

[15]

Первые два элемента стыкуются между собой, фактически выполняя роль корпуса дозатора, имея при этом фигурные рабочие участки и фигурные поверхности, причем конструкция верхнего корпусного элемента предназначена для соединения со съемной вертикально-ориентированной цилиндрической емкостью, выполненной с возможностью регулярного пополнения сыпучими продуктами, а конструкция нижнего корпусного элемента предусматривает выпускное радиальное отверстие для выхода сыпучего продукта наружу в целях порционной дозировки для последующего взвешивания и продажи покупателю.

[16]

Между нижним и верхним корпусными элементами размещен подвижный дисковый элемент, выполняющий функцию затвора, который имеет возможность возвратно-поступательного движения, полностью открывая или закрывая радиальное выпускное отверстие, производя тем самым порционную дозировку сыпучих продуктов.

[17]

Как указано выше конструкция нижнего корпусного элемента имеет рабочую поверхность с радиальным выпускным отверстием, углубление, которой служит для надежной установки в ней подвижного затвора, при этом очертание поверхности имеет форму дуги с примыкающей к ней смежной дугой, образующей дополнительную рабочую поверхность, конструкция верхнего корпусного элемента содержит рабочий участок с сегментом рабочей поверхности, расположенный противоположно радиальному выпускному отверстию, также имеется сквозная прорезь, размещенная напротив (над) дополнительным внешним участком рабочей поверхности нижнего корпусного элемента, а затвор с радиальным отверстием установлен так, что имеет возможность возвратно поступательного движения с помощью рукоятки, проходящей через указанную прорезь, пределы которой позволяют осуществлять полное или частичное открытие/закрытие радиального выпускного отверстия нижнего корпусного элемента, что в свою очередь обеспечивает проведение качественной, надежной и скоростной порционной дозировки сыпучих продуктов, обладая при этом дополнительной технической возможностью предотвращения потенциально допустимого образования эффекта сводообразования, поскольку в совокупности рабочая поверхность нижнего корпусного элемента, сегмент рабочей поверхности верхнего корпусного элемента и размещенный между ними дисковый затвор создают многоступенчатую структуру (поверхность) частичное движение, которой может быть обеспечено затвором, приводимым в движение пользователем с помощью ручки в случае такой необходимости непосредственно при проведении порционной дозировки.

[18]

Таким образом, указанные признаки предлагаемого порционного дозатора пищевых сыпучих продуктов образуют совокупность существенных признаков необходимых и достаточных для достижения указанного технического результата, заключающегося в повышении надежности, скорости и качества порционных дозировок сыпучих пищевых продуктов, в том числе, за счет предотвращения вероятного возникновения сводообразования при их прохождении через выпускное отверстие порционного дозатора, что в свою очередь решает поставленную перед изобретением техническую проблему по созданию порционного дозатора пищевых сыпучих продуктов относительно простой конструкции, не требующей подключения к внешним системам, и обладающей высокими технико-эксплуатационными показателями.

[19]

Предлагаемое изобретение поясняется конкретными примерами выполнения и реализации, которые, однако, не являются единственно возможными, но наглядным образом демонстрируют достижение указанной совокупностью существенных признаков технического результата, который решает поставленную перед изобретением техническую проблему.

[20]

На фиг. 1 показан вариант исполнения в разобранном виде одновременно нескольких порционных дозаторов с единым для них верхним и нижним корпусным элементом;

[21]

На фиг. 2 показан вариант исполнения в собранном виде порционных дозаторов с единым для них верхним и нижним корпусным элементом;

[22]

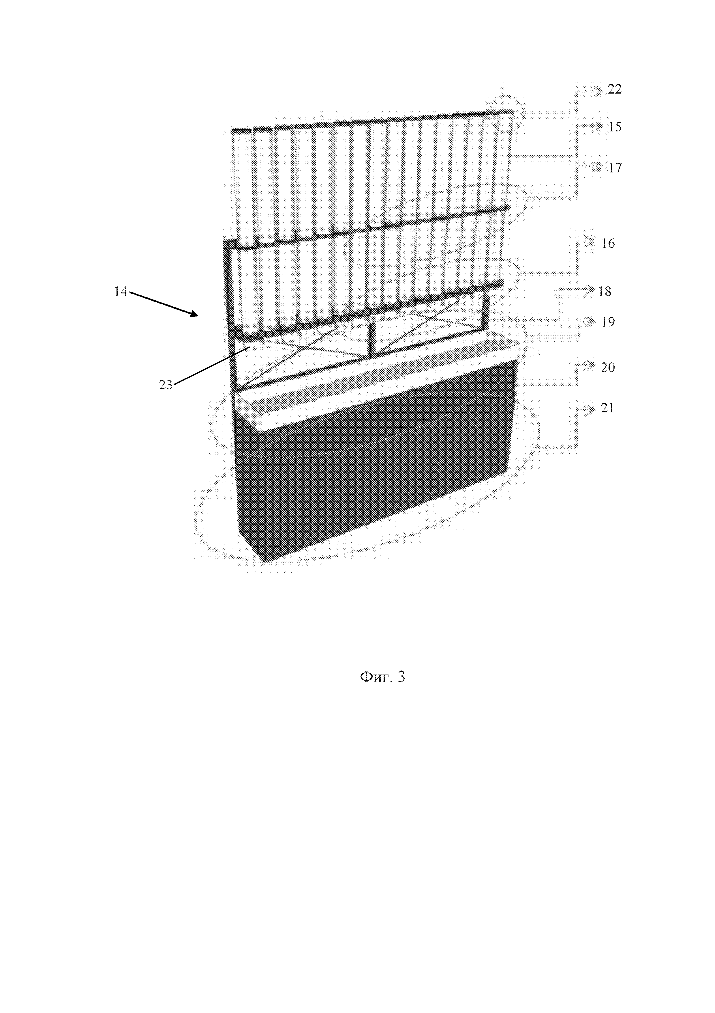
На фиг. 3 показан вариант установки нескольких порционных дозаторов с единым для них верхним и нижним корпусным элементом к продуктовой витрине, оснащенной пополняемыми съемными емкостями для пищевых сыпучих продуктов.

[23]

На фиг. 1 – фиг. 3 обозначены следующие элементы предлагаемого изобретения, а также средства, использующиеся при его реализации:

[24]

1 – нижний корпусной элемент;

[25]

2 – верхний корпусной элемент;

[26]

3 – подвижный затвор;

[27]

4 – контактная рабочая поверхность нижнего корпусного элемента;

[28]

5 – выпускное отверстие для выхода сыпучих продуктов;

[29]

6 – внешний участок рабочей поверхности нижнего корпусного элемента;

[30]

7 – осевой стержень-держатель;

[31]

8 – рабочий участок верхнего корпусного элемента;

[32]

9 – сквозной проем для прохождения сыпучих продуктов;

[33]

10 – сегмент рабочей поверхности верхнего корпусного элемента;

[34]

11 – сквозная технологическая прорезь;

[35]

12 – радиальное сквозное отверстие затвора;

[36]

13 – рукоятка подвижного затвора;

[37]

14 – продуктовая витрина;

[38]

15 – цилиндрические съемные пополняемые емкости;

[39]

16 – закрепленный ряд порционных дозаторов;

[40]

17 – участок крепления емкостей;

[41]

18 – рама продуктовой витрины;

[42]

19 – поддон продуктовой витрины;

[43]

20 – каркас тумбы продуктовой витрины;

[44]

21 – декоративная отделка нижней части продуктовой витрины;

[45]

22 – участки пополнения сыпучих продуктов;

[46]

23 – направляющие козырьки дозаторов.

[47]

Согласно изобретательскому замыслу предлагаемый порционный дозатор пищевых сыпучих продуктов содержит нижний корпусный элемент 1, верхний корпусный элемент 2 и подвижный затвор 3.

[48]

Нижний корпусной элемент 1 имеет углубленную внутрь плоскую фигурно изготовленную контактную рабочую поверхность 4 контурного очертания.

[49]

Верхний корпусной элемент 2 содержит фигурно изготовленный рабочий участок 8 контурного типа, имеющий сквозной проем 9 для прохождения сыпучих продуктов.

[50]

Подвижный затвор 3 размещен на рабочей поверхности 4 под рабочим участком 8 упомянутых нижнего 1 и верхнего 2 корпусных элементов.

[51]

Контурное очертание фигурно изготовленной контактной рабочей поверхности 4 нижнего корпусного элемента 1 имеет форму дуги с примыкающей к ней на условном участке разрыва смежной дугой, образующей сообщающийся внешний участок рабочей поверхности 6, напротив которого на противоположном участке выполнено радиальное выпускное отверстие 5 для выхода сыпучих продуктов.

[52]

Фигурно изготовленный рабочий участок 8 верхнего корпусного элемента 2 имеет радиально размещенный сегмент рабочей поверхности 10, расположенный противоположно радиальному выпускному отверстию 5 рабочей поверхности 4 нижнего корпусного элемента 1. Фигурно изготовленный рабочий участок 8 верхнего корпусного элемента 2 имеет также сквозную технологическую прорезь 11, размещенную напротив (над) внешним участком рабочей поверхности 6 нижнего корпусного элемента 1.

[53]

Подвижный затвор 3 имеет дисковую форму с радиальным сквозным отверстием 12 и установлен с помощью осевого стержня держателя 7 контактной рабочей поверхности 4 так, что имеет возможность возвратно-поступательного движения с помощью рукоятки 13, проходящей через указанную сквозную технологическую прорезь 11 верхнего корпусного элемента 2. Движение рукоятки 13 ограничено пределами сообщающегося внешнего участка рабочей поверхности 6, позволяющими осуществлять закрытие и открытие радиального выпускного отверстия 5 нижнего корпусного элемента 1.

[54]

Подвижной затвор 3 в сочетании с контактной рабочей поверхностью 4 нижнего корпусного элемента 1 и с сегментом рабочей поверхности 10 верхнего корпусного элемента 2 обеспечивает создание частично подвижной ступенчатой структуры, предотвращающей возможное возникновение эффекта сводообразования при прохождении пищевых сыпучих продуктов через выпускное отверстие 5.

[55]

Осуществляется предлагаемый порционный дозатор пищевых сыпучих продуктов, следующим образом.

[56]

Несколько дозаторов с единым для них нижним 1 и верхним 2 корпусным элементом устанавливаются на специально сконструированной продуктовой витрине 14. Нижний 1 и верхний 2 корпусные элементы состыкованы между собой, образуя своего рода горизонтальную полку, выполняющую дополнительную функцию по приданию жесткости продуктовой витрине 14. При этом рабочие участки 8 верхнего корпусного элемента 2 каждого дозатора по своим контурам соединены со съемными цилиндрическими пополняемыми емкостями 15.

[57]

Пополнение цилиндрических емкостей 15 пищевыми сыпучими продуктами, по мере их опустошения, осуществляется через участки 22, которые впоследствии закрываются крышками.

[58]

В нижней части продуктовой витрины 14 под упомянутой полкой с дозаторами на определенном расстоянии установлен поддон 19, не допускающий случайный разброс пищевых сыпучих продуктов, например, по торговому залу.

[59]

На участке выхода сыпучих продуктов из дозаторов установлены направляющие козырьки 23, обеспечивающие определенный наклон, выходящего потока сыпучих продуктов, повышая при этом удобство и качество пополнения каких-либо емкостей, в которых в последствии взвешивается продукт и продается покупателю.

[60]

Для того, что бы дозировано насыпать какой-либо сыпучий продукт (орехи, семечки, драже, конфеты и т.п.) в некую емкость необходимо перевести рукоятку 13 подвижного затвора 3 в левую сторону, обеспечивая тем самым частичное или полное открытие радиального выпускного отверстия 5 для выхода потока пищевого сыпучего продукта, который перед непосредственным выходом наружу контактируя с сегментом 10 рабочей поверхности верхнего корпусного элемента 2, с самим подвижным затвором 3, а также с контактной рабочей поверхностью 4 нижнего корпусного элемента 1 преодолевает некую ступенчатую структуру, придающую потоку дополнительную энергию и следовательно ускорение, обеспечивая надежную скоростную и качественную дозировку.

[61]

Для прекращения выхода потока пищевых сыпучих продуктов наружу необходимо перевести рукоятку 13 подвижного затвора 3 в крайнее правое положение полностью, перекрывая тем самым выпускное радиальное отверстие 5.

[62]

Кроме того, экспериментально установлено, что полученная многоступенчатая структура, сформированная из контактной рабочей поверхности 4 нижнего корпусного элемента 1, из сегмента 10 рабочей поверхности верхнего корпусного элемента 2, а также из размещенного между ними подвижного дискового затвора 3 предотвращает потенциально возможное возникновение эффекта сводообразования, обладая при этом, на случай непредвиденной ситуации, технической возможностью движения затвором 3 непосредственно в ходе дозировки, перемещая и перемешивая тем самым сыпучий поток, мгновенно ликвидируя возникновение затора непосредственно при выходе из дозатора, а именно при выходе из радиального выпускного отверстия 5.

[63]

Каркас тумбы 20 продуктовой витрины 14 выполнен ЛДСП.

[64]

Рама 18 выполнена металлической, а цилиндрические съемные пополняемые емкости 15 выполнены из поликарбоната.

[65]

Соединенные друг с другом нижний корпусной элемент 1 и верхний корпусной элемент 2 выполнены из акрилового камня.

[66]

Декоративная отделка 21 нижней части продуктовой витрины 14 с лицевой стороны выполнена из окрашенных МДФ панелей.

[67]

Подвижный затвор 3 порционного дозатора изготавливается из нержавеющей листовой стали толщиной 1,3-1,7 мм.

[68]

Рукоятка 13 подвижного затвора 3, как правило, изготавливается из МДФ или акрилового камня.

[69]

Подавляющее большинство соединительных элементов продуктовой витрины 14 (болты, анкеры, уголки и т.п.) изготовлены из нержавеющей стали.

[70]

Продуктовая витрина 14 может быть оснащена светодиодной подсветкой, освещающей зону выдачи пищевых сыпучих продуктов.

[71]

Является предпочтительным, если выпускное отверстие 5 для выхода сыпучих продуктов и сквозное отверстие 12 подвижного затвора 3 имеют углы между сторонами 80-1000.

[72]

Таким образом, предлагаемое изобретение обеспечивает создание качественного, надежного и скоростного порционного дозатора пищевых сыпучих продуктов, в том числе, за счет предотвращения возможного возникновения эффекта сводообразования при прохождении сыпучих продуктов через выпускное отверстие.

[73]

Предлагаемое изобретение найдет широкое применение в промышленности и может быть успешно реализовано на продуктовых рынках или в сетях розничного обслуживания, осуществляя требуемую порционную дозировку сыпучих пищевых продуктов для их дальнейшего взвешивания и продажи.

Как компенсировать расходы
на инновационную разработку
Похожие патенты