патент
№ RU 2505699
МПК F02K9/96

СПОСОБ ОПРЕДЕЛЕНИЯ СКОРОСТИ ГОРЕНИЯ ТВЕРДОГО РАКЕТНОГО ТОПЛИВА

Авторы:
Мишкин Илья Романович Федорычев Александр Васильевич Милёхин Юрий Михайлович
Все (5)
Номер заявки
2012145443/06
Дата подачи заявки
26.10.2012
Опубликовано
27.01.2014
Страна
RU
Как управлять
интеллектуальной собственностью
Чертежи 
4
Реферат

При определении скорости горения твердого ракетного топлива производят монтаж и сжигание стержневого образца с запальным проводником в камере сгорания, имеющей систему регистрации давления. Перед монтажом небронированный образец опускают в бронестаканчик с неотвержденным бронесоставом и отверждают бронесостав. Затем в плоскости осевого сечения бронированого образца выполняют на его торцах пропилы с вершинами, перпендикулярными оси образца. Устанавливают в пропил со стороны бронированного торца отрезок огнепроводного шнура. Изолируют полость пропила с установленным отрезком огнепроводного шнура. Устанавливают в пропил со стороны открытого торца запальный проводник, соединяют концы проводника с гермовыводом и монтируют образец вместе с гермовыводом в камере сгорания. Подают в камеру сгорания начальное давление от внешнего источника, поджигают образец и поддерживают давление в камере сгорания на уровне заданного давления, сбрасывая избыточное давление до момента появления всплеска давления в камере сгорания. Сбрасывают давление и определяют скорость горения твердого ракетного топлива по защищаем настоящим изобретением соотношениям. Изобретение позволяет упростить подготовку образца твердого ракетного топлива к испытаниям и повысить точность определения его скорости горения. 1 з.п. ф-лы, 4 ил.

Формула изобретения

1. Способ определения скорости горения твердого ракетного топлива (ТРТ), включающий монтаж и сжигание стержневого образца ТРТ с запальным проводником в камере сгорания, имеющей систему регистрации давления, а также вентили подачи и сброса давления, отличающийся тем, что перед монтажом небронированный образец опускают в бронестаканчик, предварительно заполненный неотвержденным бронесоставом таким образом, чтобы этот бронесостав полностью закрыл боковую поверхность и верхний торец образца, отверждают бронесостав, после чего в плоскости осевого сечения бронированого образца выполняют на его открытом и бронированном торцах пропилы с вершинами, перпендикулярными оси образца, и глубиной каждого пропила 6…10% от длины образца, измеряют расстояние между вершинами пропилов L0, устанавливают в пропил со стороны бронированного торца от одного до трех отрезков огнепроводного шнура, имеющего скорость горения 50…150 см/с, изолируют полость пропила с установленным отрезком (отрезками) огнепроводного шнура, устанавливают в пропил со стороны открытого торца запальный проводник, соединяют концы проводника с гермовыводом, монтируют образец вместе с гермовыводом в камере сгорания, герметизируют и подают в нее начальное давление из внешнего источника вентилем подачи давления, поджигают образец и поддерживают давление в камере сгорания на уровне заданного давления рзад, сбрасывая избыточное давление через вентиль сброса до момента τк появления всплеска давления в камере сгорания, фиксируемого по манометру, после чего сбрасывают давление из камеры сгорания, определяют среднеинтегральное опытное давление pср оп по данным системы регистрации

где τн - время начала подъема давления при зажигании образца,
и определяют скорость горения ТРТ, соответствующую заданным значениям давления и температуры топлива, по формуле

где ν и β - прогнозируемые значения чувствительности скорости горения испытуемого ТРТ к изменениям давления и температуры топлива, T0 зад и T0 oп - заданное и фактическое на момент испытания образца значение температуры топлива.

2. Способ определения скорости горения твердого ракетного топлива по п.1, отличающийся тем, что, с целью повышения надежности определения времени воспламенения образца ТРТ, в пропил со стороны открытого торца вместе с запальным проводником устанавливают отрезок огнепроводного шнура.

Описание

[1]

Изобретение относится к ракетной технике и может быть использовано для определения скорости горения твердых ракетных топлив (ТРТ) в зависимости от давления и температуры топлива. Опыт отработки ТРТ показывает, что экспериментальные значения скорости горения (особенно при низких давлениях для низкотемпературных и безметальных ТРТ) характеризуются существенным разбросом (до ±10…15%). Ошибка определения чувствительности скорости горения к изменениям давления и температуры топлива достигает при этом ±25…40%. Это практически исключает возможность надежного определения характеристик стационарного горения топлива и области устойчивых стационарных режимов горения, что является одним из условий обеспечения устойчивой работы РДТТ.

[2]

В настоящее время известны способы определения скорости горения ТРТ с регистрацией перемещения поверхности горения методами кино- или видеосъемки процесса горения топлива, с использованием микроволновой техники [5, 6], светорегистраторов, измерения емкости или электропроводности продуктов сгорания, а также теоретические способы определения скорости по зависимости давления от времени, полученной при испытаниях ракетного двигателя [4, 7].

[3]

Все эти способы обладают рядом недостатков, основным из которых является несовершенство систем регистрации перемещения фронта горения - основной характеристики для расчета скорости горения. Недостатком микроволнового СВЧ-метода является ошибка определения скорости горения, обусловленная неопределенностью в диэлектрической проницаемости различных ТРТ.

[4]

Известен способ определения скорости горения ТРТ с использованием плавких проволочных электрических сигнализаторов [2, 3]. При прохождении фронта горения через эти сигнализаторы они плавятся и перегорают, что сопровождается скачкообразным возрастанием сопротивления электрической цепи сигнализаторов. Эти моменты времени фиксируются системой регистрации.

[5]

Скорость горения определяется из соотношения:

[6]

[7]

где L0 - расстояние между сигнализаторами или база (длина контрольного участка образца, на котором определяется скорость горения); τ1 и τ2 - моменты времени, соответствующие перегоранию первого и второго сигнализаторов.

[8]

Недостатком данного способа является несоответствие моментов времен выхода поверхности горения на сигнализатор и перегорания сигнализатора. Этот эффект обусловлен тепловой инерционностью сигнализаторов, которые плавятся при прохождении через них не поверхности горения, а фронта пламени, положение которого относительно поверхности горения сильно зависит от давления, температуры продуктов сгорания топлива и усугубляется гетерогенной структурой топлива. Для низкотемпературных топлив с выраженной гетерогенной структурой (наличие частиц охладителей и окислителей, сильно различающихся по размерам), имеющих температуру в приповерхностных слоях газовой фазы, сопоставимую или более низкую по сравнению с температурой плавления сигнализаторов, отмеченный эффект может достигать нескольких секунд (от 2 до 11 с). Это вносит существенную ошибку в определение времени выгорания контрольного участка и, соответственно, скорости горения низкотемпературных топлив, особенно в области низких давлений, где имеет место выраженная двухпламенная структура волны горения. Температура первичного пламени, как правило, на 100…250°C ниже температуры плавления сигнализаторов. Здесь речь идет о сигнализаторах, изготавливаемых из медной проволоки. Сигнализаторы из более легкоплавких материалов (олово, цинк) имеют температуру плавления, сопоставимую с температурой поверхности горения топлива, но не обладают достаточной механической прочности, часто рвутся при монтаже в образец топлива, что исключает возможность их применения для определения скорости горения в опытном и серийном производстве. Сказанное выше ставит под сомнение заявленную для этого способа погрешность в определении времени горения образца в 1…5 миллисекунд для рассматриваемых топлив. Следует отметить, что метод определения скорости горения с использованием плавких проволочных электрических сигнализаторов характеризуется значительными затратами ручного труда, связанными с монтажом сигнализаторов в образце, не обладает должной помехозащищенностью при действии различного рода наводок и помех при регистрации электрического сигнала.

[9]

От перечисленных недостатков, связанных с особенностями работы электрических сигнализаторов, свободен способ, описанный в патенте «Установка для определения скорости горения твердого ракетного топлива» [1]. Там для определения моментов τ1- прохождения фронта пламени в качестве сигнализаторов в образце используются подсыпки дымного ружейного пороха (ДРП) или измельченного ТРТ. Подсыпки в момент выхода на них фронта горения (поверхности горения) сгорают, создавая всплеск газоприхода и соответственно давления в камере сгорания, который фиксируется датчиком давления. Этот способ выбран авторами в качестве прототипа.

[10]

Недостатком данного способа является низкая технологичность сборки образцов, наличие опасных ручных операций, а также неточности в определении скорости горения из-за сложности обеспечения параллельности торцов образца и сверлений. Амплитуда всплесков давления, как правило, невелика, что снижает надежность определения их местоположения на осциллограмме давления и, соответственно, времени выгорания контрольного участка.

[11]

Технической задачей изобретения является разработка способа определения скорости горения ТРТ, позволяющего с высокой точностью определять длину и время горения контрольного участка без использования сигнализаторов прохождения фронта пламени и подсыпки ДРП. Решение этой задачи позволит существенно снизить разбросы скорости горения, повысить технологичность подготовки (сборки) образца к испытанию и снизить затраты на определение скорости горения.

[12]

Поставленная задача решается тем, что в известном способе определения скорости горения ТРТ, включающем монтаж и сжигание стержневого образца ТРТ с запальным проводником в камере сгорания, имеющей систему регистрации непрерывного изменения давления, а также вентили подачи и сброса давления, выполняются следующие операции. Перед монтажом образец опускают в бронестаканчик, предварительно заполненный неотвержденным бронирующим составом таким образом, чтобы этот состав полностью закрыл боковую поверхность образца и верхний (на момент бронирования) торец, после чего проводят отверждение бронирующего состава. На открытом и бронированном торцах в плоскости осевого сечения образца перпендикулярно оси выполняют по одному пропилу шириной ~ 2…2,5 мм на глубину 6…10% длины образца со стороны открытого торца (верхний пропил) и со стороны бронированного торца (нижний пропил). Измеряют расстояние между вершинами пропилов, которое равно своду горения L0. Устанавливают в пропил со стороны бронированного торца отрезок огнепроводного шнура, имеющего собственную скорость горения 50…150 см/с, и изолируют полость пропила с размещенным в ней огнепроводным шнуром несколькими слоями изоляционной ленты, одновременно поджимая и фиксируя ею отрезок шнура для обеспечения контакта между шнуром и поверхностью топлива в вершине нижнего пропила. Изоляция полости пропила осуществляется с целью предотвращения проникновения в нее горячих газов при горении образца. Устанавливают в пропил со стороны открытого торца запальный проводник и соединяют концы проводника с гермовыводом. Монтируют образец вместе с гермовыводом в камере сгорания, герметизируют камеру сгорания с установленным образцом и подают в нее начальное давление из внешнего источника вентилем подачи давления. После этого поджигают образец и поддерживают давление в камере сгорания на заданном уровне рзад, сбрасывая избыточное давление через вентиль сброса в течение времени прохождения фронта горения от вершины верхнего пропила до вершины нижнего пропила. При выходе поверхности горения на огнепроводный шнур последний сгорает со скоростью, многократно превышающей скорость горения испытуемого топлива, в камере сгорания реализуется всплеск давления, сигнализирующий о выгорании контрольного участка образца и фиксируемый по манометру. После этого осуществляют сброс давления из камеры сгорания через вентиль сброса. Перечисленные выше операции повторяют при подготовке и сжигании последующих образцов.

[13]

Время горения контрольного участка определяют по характерным точкам на осциллограмме давления - моменту начала устойчивого роста давления на начальном участке горения образца (τн) и моменту начала всплеска давления на конечном участке горения образца (τк). Приближенно время появления всплеска давления оценивается по формуле

[14]

[15]

где: u1 и ν - ожидаемые значения параметра u1 степенного закона горения топлива и чувствительности скорости горения к изменению давления.

[16]

Скорость горения определяют по формуле

[17]

[18]

Значение скорости горения uon соответствует среднеинтегральному опытному давлению в камере сгорания на интервале времени τк - τн и температуре топлива T0 on, которая фактически реализовалась на момент испытания при термостатировании образца на заданную температуру T0 зад. Значение T0 on фиксируется на бумажном или электронном носителе в процессе термостатирования образца и полагается известным.

[19]

Среднеинтегральное опытное давление в камере сгорания на интервале времени τк - τн определяют по данным регистрации

[20]

[21]

Приведение скорости горения к заданным значениям давления и температуры T0 зад осуществляют по формуле

[22]

[23]

где ν и β - чувствительность скорости горения к изменению давления и температуры топлива, соответственно.

[24]

Таким образом, скорость горения ТРТ, соответствующую заданным значениям давления и температуры топлива, определяют по формуле

[25]

[26]

Перечисленные выше операции повторяют при требуемых уровнях давления и температуры топлива для последующих образцов и таким образом определяют зависимость скорости горения топлива от давления и температуры u(p, T0).

[27]

Применение огнепроводного шнура обусловлено тем, что температура его воспламенения составляет ~ 470…500 К, что практически совпадает с температурой поверхности горения низкотемпературного топлива. Это означает, что срабатывание шнура происходит именно в момент прохода через него поверхности горения топлива, а не фронта пламени, положение которого относительно поверхности горения зависит от давления. Таким образом, устраняется ошибка определения скорости горения, связанная с ошибочным определением моментов прохождения поверхности горения через сигнализаторы.

[28]

Длина отрезка огнепроводного шнура, устанавливаемого в пропил, примерно равна длине пропила (т.е. диаметру бронированного образца).

[29]

Пропилы на глубину 6…10% выполняют в плоскости осевого сечения образца и перпендикулярно его оси для того, чтобы:

[30]

- исключить ошибку измерения длины контрольного участка, обусловленную краевыми неровностями, имеющими место на открытом торце образца после отверждения бронирующего состава;

[31]

- облегчить процедуру замера длины контрольного участка;

[32]

- обеспечить гарантированный выход вершины нижнего пропила в топливо со стороны бронированного торца образца;

[33]

- реализовать при этом возможно максимальную длину контрольного участка;

[34]

- иметь возможность устанавливать не один, а два или три отрезка огнепроводного шнура в нижний пропил с целью получения четкого сигнала (всплеска) на осциллограмме давления, фиксирующего момент выхода фронта горения на вершину нижнего пропила, при любом заданном давлении.

[35]

Ширина пропилов определяется удобством размещения в них огнепроводного шнура, имеющего поперечный размер ~ 2…2,5 мм.

[36]

Отсутствие трудоемких ручных операций изготовления и установки сигнализаторов (пожароопасных подсыпок ДРП, измельченного ТРТ, проволочек и др.) существенно упрощает процедуру подготовки образца к испытаниям и снижает ее пожароопасность.

[37]

Точность определения скорости горения низкотемпературных ТРТ увеличивается за счет более точного определения длины контрольного участка образца и времени его выгорания. Последнее обеспечивается за счет получения четкого сигнала (всплеска) на осциллограмме давления в момент выхода фронта горения на огнепроводный шнур и отсутствия запаздывания по времени между выходом фронта горения на огнепроводный шнур и моментом его срабатывания.

[38]

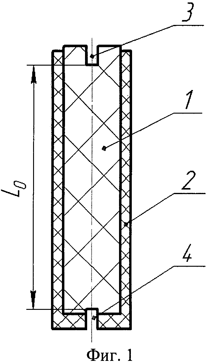
Описанный выше способ определения скорости горения реализован при испытании образца низкотемпературного ТРТ в камере сгорания, описанной в прототипе. После изготовления (Фиг.1) стержневой образец топлива (1) сечением 16×16 мм и длиной 72 мм погружался в бронестаканчик (2), внутренним диаметром 23 мм и глубиной 72 мм, заполненный неотвержденным бронирующим составом. После погружения образца в бронестаканчик бронирующий состав полностью закрыл боковую поверхность образца и верхний (на момент бронирования) торец. Отверждение бронирующего состава осуществлялось в течение суток при температуре 40°C. После этого на открытом и бронированном торцах бронированного образца выполнялись в плоскости осевого сечения перпендикулярно оси образца два пропила: (3) - верхний (со стороны небронированного торца), и (4) - нижний (со стороны бронированного торца) глубиной 5,5 мм каждый. Измерялось расстояние между вершинами пропилов, которое составило L0=65,1 мм.

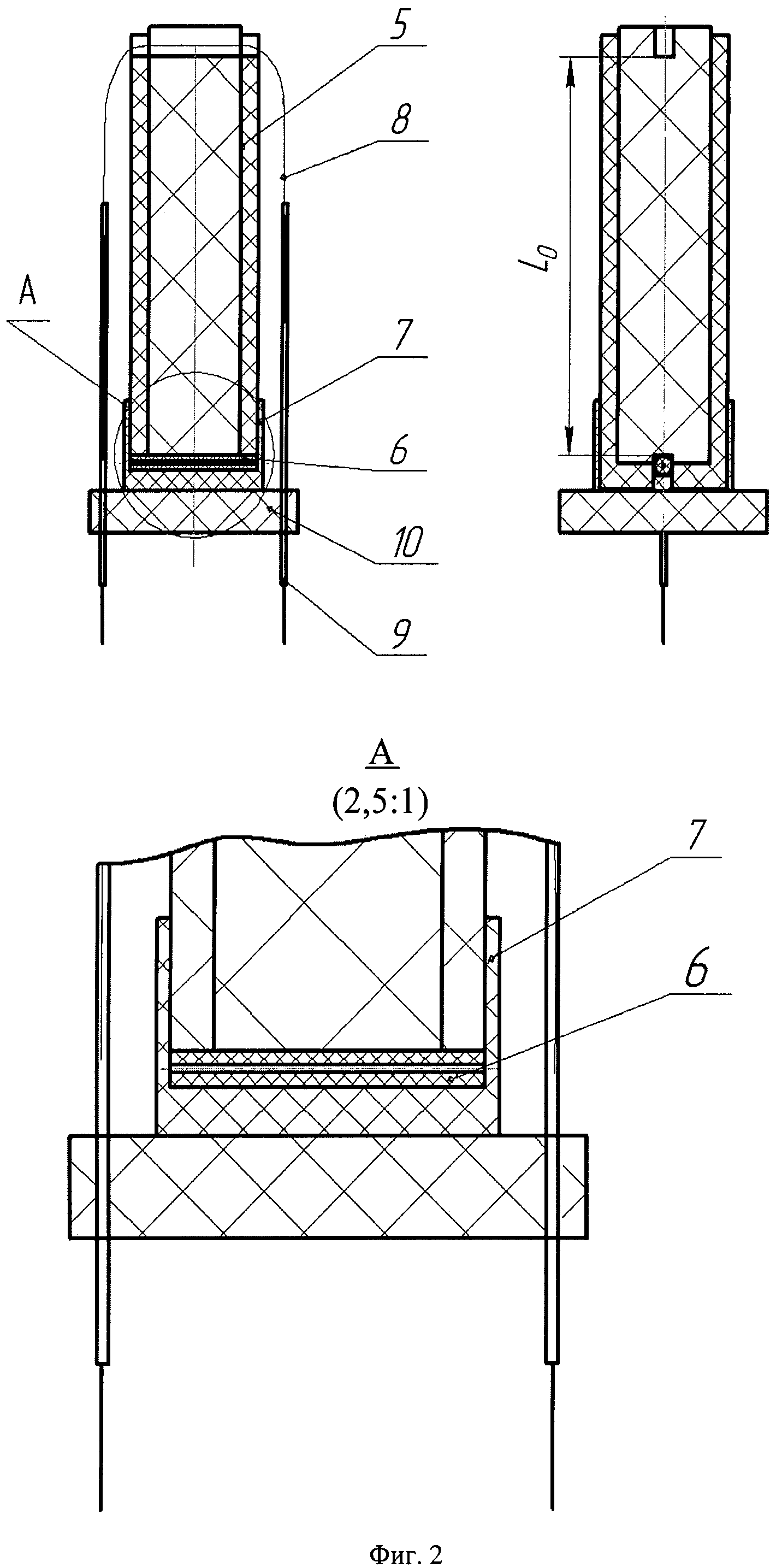
[39]

Далее (Фиг.2) в нижний пропил образца для определения скорости горения (5) осуществлялась установка отрезка огнепроводного шнура (6). С помощью изоляционной ленты (7) осуществлялась фиксация шнура в поджатом состоянии к вершине пропила и изоляция полости пропила. В полость верхнего пропила устанавливался запальный проводник (8), соединенный с гермовыводом (9) на контактной вставке (10).

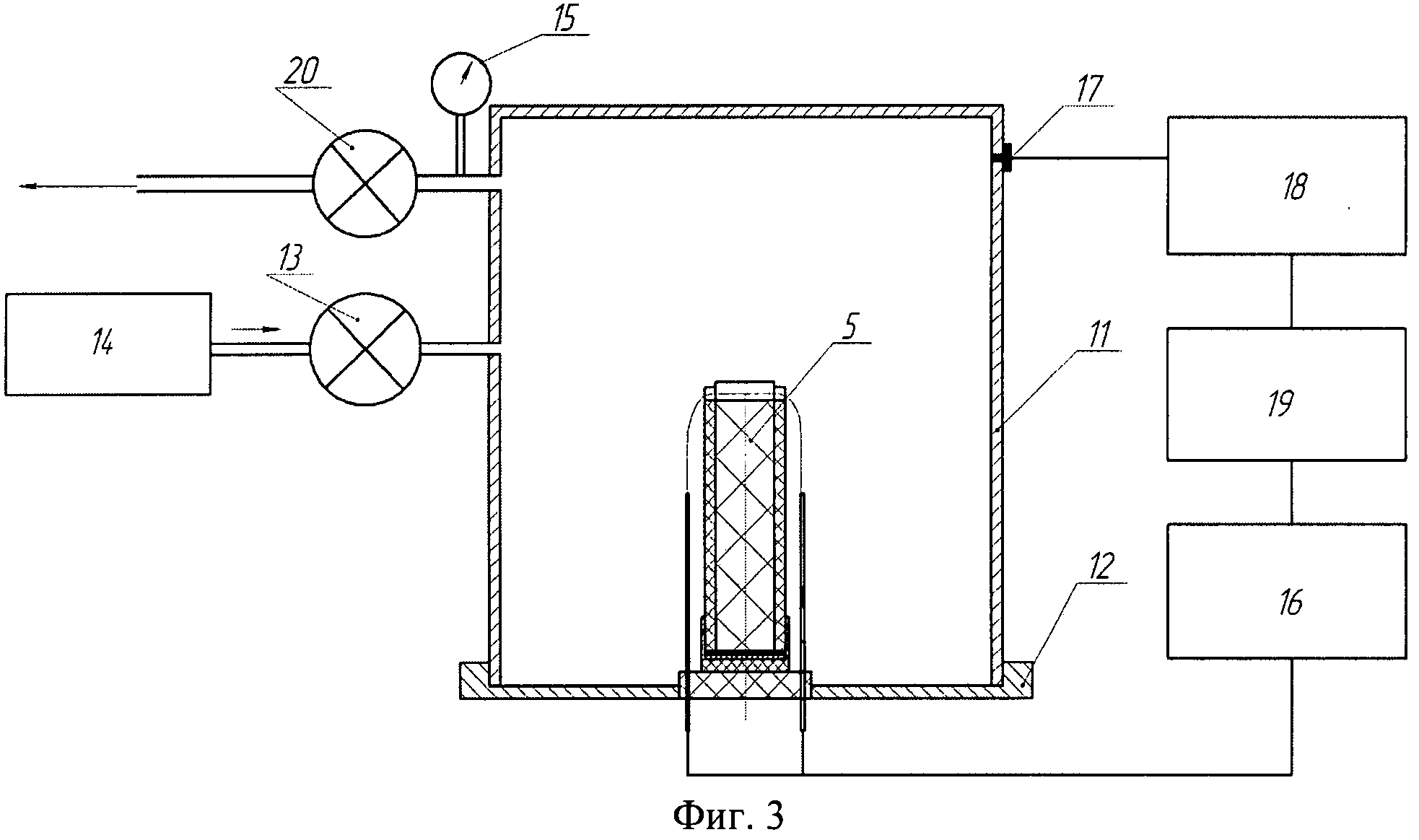
[40]

Образец для определения скорости горения в сборе (далее по тексту - образец) монтировался в камере сгорания (Фиг.3). После герметизации корпуса камеры сгорания (11) крышкой (12) в нее подавалось вентилем подачи давления (13) начальное давление из внешнего источника (14) до уровня рн=45,5 ата, контролируемое по манометру (15). Это начальное давление обеспечивало горение образца при среднем давлении pon, близком к заданному давлению рзад=50 ата.

[41]

Воспламенение топлива образца (5) осуществлялось подачей на запал электрического напряжения из блока запала (16). В процессе горения образца изменение давления р(τ) непрерывно фиксировалось системой регистрации: датчиком (17), преобразователем сигналов (18) и компьютером (19). Испытатель поддерживал давление в камере сгорания, контролируемое по манометру (15), на уровне заданного давления рзад=50 ата,

[42]

сбрасывая избыточное давление через вентиль сброса (20). После выхода фронта горения на огнепроводный шнур, размещенный в нижнем пропиле, произошел всплеск давления, что фиксировалось испытателем по манометру (15). После этого испытатель открывал вентиль сброса, окончательно сбрасывая давление из камеры сгорания.

[43]

Скорость горения определялась следующим образом. По формуле (2) и данным системы регистрации, определялось среднеинтегральное опытное давление pcp on=49,85 ата, при котором происходило горение образца (Фиг.4). Начало горения τн=0,11 с было зафиксировано на кривой давления по началу подъема давления при зажжении образца, а окончание - по времени начала всплеска давления τк - 20,93 с. Средняя скорость горения образца u=3,13 мм/с, соответствующая заданному давлению рзад-=50 ата, определена по формуле (3) при L0=65,1 мм, T0=20°C и T0 зад=20°C.

[44]

В испытаниях моменты τн и τк фиксировались с общей относительной инструментальной погрешностью измерения времени горения, не превышающей 0,034%.

[45]

Погрешность определения длины контрольного участка L0 образца (Фиг.1) определяется инструментальной погрешностью измерительного инструмента и непараллельностью вершин пропилов, которая при использовании соответствующего оборудования не превышает 0,4 мм. Предельная относительная ошибка определения длины контрольного участка образца при L0=65 мм составляет:

[46]

- обусловленная инструментальной погрешностью ~±0,08%;

[47]

- обусловленная непараллельностью вершин пропилов ±0,62%.

[48]

Предельная относительная ошибка канала измерения давления составляет ±0,3%. Таким образом, предельная относительная ошибка определения скорости горения предлагаемым способом не превышает ±0,7%.

[49]

С целью надежного определения времени воспламенения образца отрезок огнепроводного шнура может быть установлен и в вершине пропила со стороны открытого торца.

[50]

Данные, полученные при испытаниях описанным способом, могут использоваться для прогнозирования скорости горения в натурных РДТТ. Проведенные работы по определению скорости горения низкотемпературных твердых ракетных топлив подтвердили высокую технико-экономическую эффективность предлагаемого способа.

[51]

Использованные литературные источники

[52]

1. Ю.М.Милехин, М.А.Кондаков, С.А.Гусев, Б.В.Кононов, А.Т.Завьялов, В.И.Калашников. «Установка для определения скорости горения твердого ракетного топлива». Патент РФ №2406864 от 20.12.2010.

[53]

2. Ю.М.Милехин, Ю.П.Бабаков, В.А.Гамий, В.И.Калашников, B.C.Куренков. «Способ определения скорости горения твердого топлива». Патент РФ №2267636 от 10.01.06.

[54]

3. М. Баррер и др. «Ракетные двигатели».-М :Оборонгиз, 1962, стр.207.

[55]

4. «Исследование РДТТ»/ Под редакцией М. Саммерфильда.-М: Иностранная литература. 1963, стр.120-136.

[56]

5. Stand L.D., Schultz A.D., Reedy G.K. «Метод микроволнового эффекта Доплера для определения нестационарной скорости горения». Journal of Spacecraft and Rockets, 1974, vol.11, №2.

[57]

6. Ю.М.Милехин, Ю.П.Бабаков, В.И.Калашников, А.Н.Ключников. «Установка для определения скорости горения ТРТ». Патент РФ №2194874 от 20.12.2002.

[58]

7. Ю.М.Милехин, Н.В.Сало, В.И.Калашников, А.Н.Ключников, В.М.Меркулов. «Модельный двигатель для определения скорости горения ТРТ». Патент РФ №2215170 от 27.10.2003.

Как компенсировать расходы
на инновационную разработку
Похожие патенты