патент
№ RU 2692166
МПК B60K17/346

Трансмиссия автотранспортного средства

Авторы:
Горбунов Алексей Юрьевич Марохин Антон Сергеевич Федотов Михаил Владимирович
Все (4)
Номер заявки
2018133228
Дата подачи заявки
19.09.2018
Опубликовано
21.06.2019
Страна
RU
Как управлять
интеллектуальной собственностью
Чертежи 
2
Реферат

Изобретение относится к трансмиссиям многоосных полноприводных колесных транспортных средств. Трансмиссия содержит размещенные перед двигателем коробку передач, установленный на ее выходе главный вал, раздаточную коробку, снабженную зубчатыми колесами первой ступени передачи крутящего момента, связанными посредством главного вала с коробкой передач, и зубчатыми колесами второй и дополнительной ступеней передачи крутящего момента на приводы задних третьего и четвертого мостов и приводы передних первого и второго мостов, множество ведущих и промежуточных валов, механизмов передачи привода и колесных редукторов. Первый ведущий вал соединен входным концом с осью зубчатого колеса второй ступени передачи крутящего момента раздаточной коробки и выводным концом - с входом механизма передачи привода заднего четвертого моста. Второй ведущий вал соединен входным концом с выходом механизма передачи привода заднего четвертого моста и выводным концом - с входом механизма передачи привода заднего третьего моста. Третий ведущий вал соединен входным концом с осью зубчатого колеса дополнительной ступени передачи крутящего момента раздаточной коробки и выводным концом - с входом механизма передачи привода переднего второго моста. Четвертый ведущий вал соединен входным концом с выходом механизма передачи привода переднего второго моста и выводным концом - с входом механизма передачи привода переднего первого моста. Механизм передачи привода второго моста снабжен межосевым дифференциалом. Раздаточная коробка снабжена связанными с зубчатым колесом второй ступени передачи крутящего момента тормозным устройством и дифференциалом, выполненным с возможностью включения и блокирования дифференциальной передачи крутящего момента с зубчатых колес второй ступени на привод ведущих валов передних и задних мостов. Достигается расширение компоновочных возможностей, уменьшение габаритов по длине, улучшение эксплуатационных характеристик трансмиссии. 3 з.п. ф-лы, 3 ил.

Формула изобретения

1. Трансмиссия автотранспортного средства, содержащая размещенные перед двигателем коробку передач, установленный на ее выходе главный вал, раздаточную коробку, снабженную зубчатыми колесами первой ступени передачи крутящего момента, связанными посредством главного вала с коробкой передач, и зубчатыми колесами второй и дополнительной ступеней передачи крутящего момента на приводы задних третьего и четвертого мостов и приводы передних первого и второго мостов, множество ведущих и промежуточных валов, механизмов передачи привода и колесных редукторов, при этом первый ведущий вал протянут в направлении задней части кузова и соединен входным концом с осью зубчатого колеса второй ступени передачи крутящего момента раздаточной коробки и выводным концом - с входом механизма передачи привода заднего четвертого моста, второй ведущий вал протянут в направлении, обратном направлению первого ведущего вала, и соединен входным концом с выходом механизма передачи привода заднего четвертого моста и выводным концом - с входом механизма передачи привода заднего третьего моста, третий ведущий вал является несоосным первому ведущему валу, протянут в направлении передней части кузова и соединен входным концом с осью зубчатого колеса дополнительной ступени передачи крутящего момента раздаточной коробки и выводным концом - с входом механизма передачи привода переднего второго моста, четвертый ведущий вал соединен входным концом с выходом механизма передачи привода переднего второго моста и выводным концом - с входом механизма передачи привода переднего первого моста, при этом колесные редукторы, размещенные с обеих сторон каждого моста, связаны с размещенным между ними на одной оси посредством промежуточных валов механизмом передачи привода моста, снабженным межколесным дифференциалом и выполненным с возможностью включения и блокирования дифференциальной передачи крутящего момента на привод колесных редукторов, причем механизм передачи привода второго моста снабжен межосевым дифференциалом и выполнен с возможностью включения и блокирования дифференциальной передачи крутящего момента с третьего ведущего вала на привод осей первого и второго мостов, при этом раздаточная коробка снабжена связанными с зубчатым колесом второй ступени передачи крутящего момента тормозным устройством и дифференциалом, выполненным с возможностью включения и блокирования дифференциальной передачи крутящего момента с зубчатых колес второй ступени на привод ведущих валов передних и задних мостов.

2. Трансмиссия по п. 1, отличающаяся тем, что на раздаточной коробке дополнительно установлена коробка отбора мощности, снабженная зубчатыми колесами передачи крутящего момента на привод дополнительного оборудования.

3. Трансмиссия по п. 1, отличающаяся тем, что дополнительная ступень передачи крутящего момента на передние первый и второй мосты расположена в нижней части раздаточной коробки.

4. Трансмиссия по п. 1 или 2, отличающаяся тем, что дополнительное оборудование с приводом от коробки отбора мощности представляет собой, например, гидравлический насос, или электрический генератор, или компрессор, или их сочетания.

Описание

[1]

Область техники, к которой относится изобретение

[2]

Изобретение относится к транспортным средствам и может быть использовано в трансмиссиях многоосных полноприводных колесных транспортных средств.

[3]

Уровень техники

[4]

Из уровня техники известна трансмиссия полноприводного колесного транспортного средства по патенту РФ на изобретение №2333113 (МПК В60K 17/04, В60K 17/28, B62D 63/02; опубл. 10.09.2008, заявка №2005133264 от 31.10.2005). Она содержит основную раздаточную коробку, выходные валы которой карданными передачами связаны с дифференциалами переднего и заднего ведущих мостов, каждый из которых имеет картер. При этом колесные валы от дифференциалов пропущены через отверстия в вертикальных стенках лонжеронов и через конечные передачи связаны с колесами. Она выполнена с третьим ведущим мостом, расположенным между передним и задним ведущими мостами, и дополнительной раздаточной коробкой, выходные валы которой связаны карданными передачами с дифференциалами третьего и заднего ведущих мостов для привода колес, а входной вал - с выходным валом основной раздаточной коробки привода дифференциала переднего ведущего моста. Картер каждого ведущего моста прикреплен к нижней поверхности отдельной поперечины прямоугольной формы рамы. Основная раздаточная коробка расположена между передним и третьим ведущими мостами и прикреплена к лонжеронам в зоне средней поперечины ниже верхней поверхности лонжеронов. Дополнительная раздаточная коробка размещена между третьим и задним ведущим мостами и прикреплена к нижней поверхности дополнительной поперечины, соединенной с лонжеронами и продольная ось которой расположена под углом к лонжеронам, отличным от прямого. При этом оси входного и выходных валов дополнительной раздаточной коробки расположены под углом к осям входного и выходных валов основной раздаточной коробки. Все мосты выполнены одинаковыми по конструкции и габаритам. Дифференциалы переднего и третьего мостов смещены к одному лонжерону, а дифференциал заднего моста смещен к другому лонжерону. Известное изобретение позволяет улучшить эксплуатационные характеристики за счет использования стандартного оборудования, возможностей по компоновочному построению серии машин различного назначения за счет расположения всех кинематических узлов ниже верхней поверхности лонжеронов рамы, снизить массу рамы за счет использования поперечин в качестве опор для кинематических узлов и обеспечить долговечность привода за счет рационального расположения карданных передач в диапазоне оптимальных расчетных угловых смещений. Но известная трансмиссии полноприводного колесного транспортного не содержит конструкционных элементов, обеспечивающих уменьшение габаритов указанной трансмиссии, и поэтому в полной мере не расширяет эксплуатационные возможности транспортного средства.

[5]

Известно другое техническое решение «Трансмиссия трехосного транспортного средства» по патенту РФ на полезную модель №9419 (МПК В60K 17/34; опубл. 16.03.1999, заявка №98112939 от 08.07.1998). Трансмиссия трехосного транспортного средства ближайшего аналога содержит коробку передач, раздаточную коробку, состоящую из корпуса и расположенных в нем валов и зубчатых колес, карданные передачи и ведущие мосты привода колес. Ведущее зубчатое колесо раздаточной коробки имеет зацепление с первым зубчатым колесом промежуточного вала, на котором установлено второе зубчатое колесо, имеющее зацепление с зубчатым колесом, расположенным на первом ведомом валу, и с зубчатым колесом второго ведомого вала, имеющего два выступающих из корпуса конца, которые связаны с ведущими мостами кинематическими цепями, в которых расположены вязкостные муфты. В другом варианте ведущее зубчатое колесо раздаточной коробки установлено на валу с возможностью связи зубчатой муфтой с первым ведомым валом или зацепления с первым зубчатым колесом промежуточного вала, на промежуточном валу установлено второе зубчатое колесо, имеющее постоянное зацепление с зубчатым колесом на первом ведомом валу и возможность зацепления и расцепления с зубчатым колесом, расположенном на втором ведомом валу, второй ведомый вал имеет два выступающих из корпуса конца, которыми он связан посредством карданных передач с двумя ведущими мостами. При этом в кинематической цепи между вторым ведомым валом и одним из ведущих мостов расположена вязкостная муфта. Еще в одном варианте ведущее зубчатое колесо раздаточной коробки установлено на валу с возможностью связи зубчатой муфтой с первым ведомым валом или зацепления с первым зубчатым колесом промежуточного вала, на промежуточном валу установлено второе зубчатое колесо, имеющее постоянное зацепление с зубчатым колесом на первом ведомом валу и возможность зацепления и расцепления с зубчатым колесом, расположенным на втором ведомом валу, второй ведомый вал имеет два выступающих из корпуса конца, которыми он связан посредством карданных передач с двумя ведущими мостами. При этом по меньшей мере в одном из ведущих мостов, имеющих привод от второго ведомого вала раздаточной коробки, имеются муфты для отключения и включения привода колес транспортного средства. Известная трансмиссия создана для трехосного транспортного средства с относительно большими колесами, предназначенного для передвижения по слабым грунтам, например, по тундре, при этом имеющей простую и надежную конструкцию. Однако в конструкции известной трансмиссии отсутствует дифференциальная связь между ее элементами, что ограничивает эксплуатационные свойства транспортного средства.

[6]

За ближайший аналог может быть принято техническое решение трансмиссии многоосного транспортного средства по патенту РФ на полезную модель №166455 (МПК В60K 17/346; опубл. 27.11.2016, заявка №2015134166 от 13.08.2015). Она содержит в одном комплексном устройстве раздаточную коробку, межосевой дифференциал, выходные валы которого расположены соосно и направлены в противоположные стороны, ведущую коническую шестерню главной передачи одной из ведущих осей, установленную на одном из выходных валов межосевого дифференциала, межколесный дифференциал. Ведущая коническая шестерня главной передачи другой ведущей оси установлена на втором выходном валу межосевого дифференциала. Кроме того, картеры главных передач ведущих осей и картер межосевого дифференциала объединены посредством промежуточных картеров. Кроме того, ведущие конические шестерни главных передач ведущих осей выполнены заодно целое с выходными валами межосевого дифференциала. Раздаточная коробка снабжена проходным валом с симметричным/несимметричным дифференциалом для привода дополнительной ведущей оси. Межосевой и межколесный дифференциалы снабжены механизмом блокировки. Известная трансмиссия многоосного транспортного средства расширяет компоновочные возможности трансмиссии. К недостатку ближайшего аналога можно отнести то, что выходные валы трансмиссии многоосного транспортного средства расположены соосно и направлены в противоположные стороны, что не обеспечивает уменьшение габаритов по длине и улучшение эксплуатационных свойств указанной трансмиссии.

[7]

Раскрытие изобретения

[8]

Задачей заявленного изобретения является создание трансмиссии, обеспечивающей высокую проходимость и расширение эксплуатационных возможностей многоосного автотранспортного средства.

[9]

Техническим результатом заявляемого изобретения является расширение компоновочных возможностей, уменьшение габаритов по длине, улучшение эксплуатационных характеристик трансмиссии, обеспечивающих повышение проходимости многоосного автотранспортного средства, за счет конструкционного размещения трансмиссии и обеспечения дифференциальной связи между ее элементами.

[10]

Технический результат достигается тем, что трансмиссия автотранспортного средства содержит размещенные перед двигателем коробку передач, установленный на ее выходе главный вал, раздаточную коробку, снабженную зубчатыми колесами первой ступени передачи крутящего момента, связанными посредством главного вала с коробкой передач, и зубчатыми колесами второй и дополнительной ступеней передачи крутящего момента на приводы задних третьего и четвертого мостов и приводы передних первого и второго мостов, множество ведущих и промежуточных валов, механизмов передачи привода и колесных редукторов. При этом первый ведущий вал протянут в направлении задней части кузова и соединен входным концом с осью зубчатого колеса второй ступени передачи крутящего момента раздаточной коробки и выводным концом - с входом механизма передачи привода заднего четвертого моста. Второй ведущий вал протянут в направлении, обратном направлению первого ведущего вала и соединен входным концом с выходом механизма передачи привода заднего четвертого моста и выводным концом - с входом механизма передачи привода заднего третьего моста. Третий ведущий вал является несоосным первому ведущему валу, протянут в направлении передней части кузова, и соединен входным концом с осью зубчатого колеса дополнительной ступени передачи крутящего момента раздаточной коробки и выводным концом - с входом механизма передачи привода переднего второго моста. Четвертый ведущий вал соединен входным концом с выходом механизма передачи привода переднего второго моста и выводным концом - с входом механизма передачи привода переднего первого моста. При этом колесные редукторы, размещенные с обоих сторон каждого моста, связаны с размещенным между ними на одной оси посредством промежуточных валов механизмом передачи привода моста, снабженным межколесным дифференциалом и выполненным с возможностью включения и блокирования дифференциальной передачи крутящего момента на привод колесных редукторов. Причем механизм передачи привода второго моста снабжен межосевым дифференциалом и выполнен с возможностью включения и блокирования дифференциальной передачи крутящего момента с третьего ведущего вала на привод осей первого и второго мостов. При этом раздаточная коробка снабжена связанными с зубчатым колесом второй ступени передачи крутящего момента тормозным устройством и дифференциалом, выполненным с возможностью включения и блокирования дифференциальной передачи крутящего момента с зубчатых колес второй ступени на привод ведущих валов передних и задних мостов. Кроме того, на раздаточной коробке дополнительно установлена коробка отбора мощности, снабженная зубчатыми колесами передачи крутящего момента на привод дополнительного оборудования. Кроме этого, дополнительная ступень передачи крутящего момента на передние первый и второй мосты расположена в нижней части раздаточной коробки. Кроме указанного, дополнительное оборудование с приводом от коробки отбора мощности представляет собой, например, гидравлический насос, или электрический генератор, или компрессор, или их сочетания.

[11]

Краткое описание чертежей

[12]

фиг. 1 - кинематическая схема трансмиссии автотранспортного средства;

[13]

фиг. 2 - конструкция трансмиссии автотранспортного средства в изометрии;

[14]

фиг. 3 - фрагмент кинематической схемы трансмиссии автотранспортного средства (раздаточная коробка);

[15]

На фигурах цифрами обозначены следующие позиции:

[16]

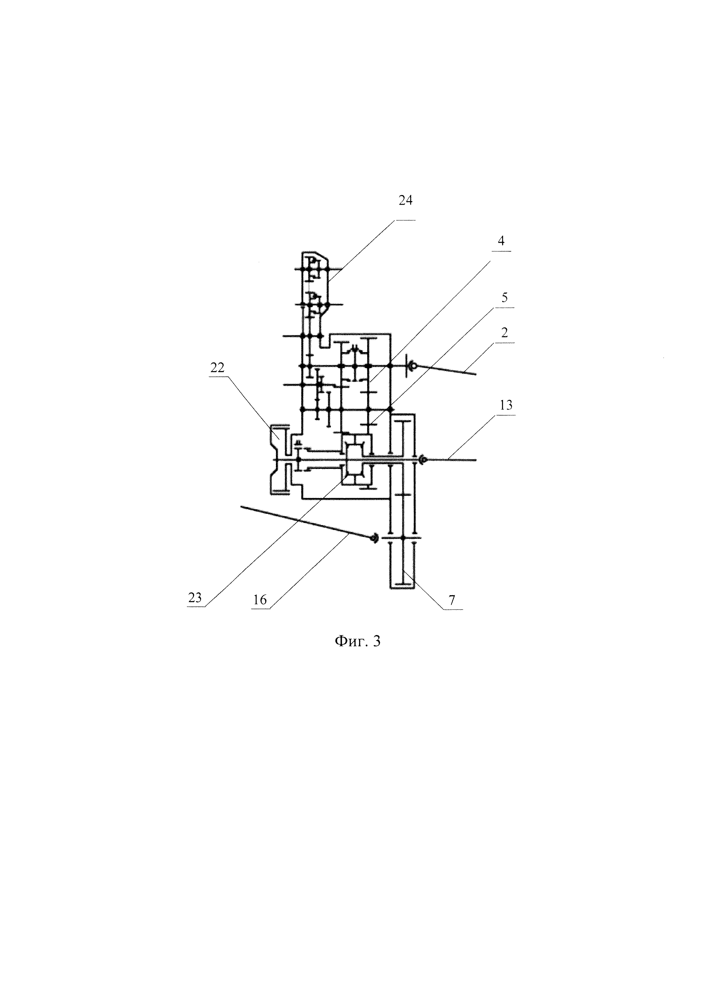
1 - коробка передач; 2 - главный вал; 3 - раздаточная коробка; 4 - зубчатые колеса первой ступени раздаточной коробки; 5 - зубчатые колеса второй ступени раздаточной коробки; 6 - зубчатые колеса дополнительной ступени раздаточной коробки; 7 - механизм передачи привода; 8 - колесный редуктор; 9 - задний четвертый мост; 10 - задний третий мост; 11 - передний второй мост; 12 - передний первый мост; 13 - первый ведущий вал; 14 - второй ведущий вал; 15 - промежуточный вал; 16 - третий ведущий вал; 17 - четвертый ведущий вал; 18 - задняя часть кузова; 19 - передняя часть кузова; 20 - межколесный дифференциал; 21 - межосевой дифференциал; 22 - тормозное устройство раздаточной коробки; 23 - дифференциал раздаточной коробки; 24 - коробка отбора мощности.

[17]

Осуществление изобретения

[18]

Заявленная трансмиссия автотранспортного средства служит для распределения и передачи крутящего момента от двигателя на ведущие колеса с обеспечением вращения колес с различной скоростью при поворотах и отбора мощности на привод дополнительных агрегатов.

[19]

Трансмиссия автотранспортного средства конструктивно содержит следующие основные элементы: коробку передач 1, главный вал 2, раздаточную коробку 3, множество ведущих и промежуточных валов, механизмов передачи привода 7 и колесных редукторов 8.

[20]

Коробка передач 1 размещена перед двигателем 25. На выходе коробки передач 1 установлен главный вал 2, который связан с раздаточной коробкой 3. Раздаточная коробка 3 представляет собой редуктор и снабжена зубчатыми колесами первой, второй и дополнительной ступеней 4, 5, 6 передачи крутящего момента. Зубчатые колеса первой ступени 4 раздаточной коробки связаны посредством главного вала 2 с коробкой передач 1. С зубчатыми колесами первой ступени 4 находятся в зацеплении зубчатые колеса второй ступени 5, которые передают крутящий момент на привод заднего четвертого моста 9 и на привод связанного с ним заднего третьего моста 10 и находятся в зацеплении с зубчатыми колесами дополнительной ступени 6. Зубчатые колеса дополнительной ступени 6 расположены в нижней части раздаточной коробки 3 и передают крутящий момент на привод переднего второго моста 11 и на привод связанного с ним переднего первого моста 12.

[21]

При этом раздаточная коробка 3 снабжена связанными с зубчатым колесом второй ступени 5 тормозным устройством 22 и дифференциалом 23. Тормозное устройство 22 обеспечивает торможение или останов трансмиссии, а дифференциал 23 - дифференциальную связь между передними и задними мостами в процессе работы двигателя 25 автотранспортного средства. Дифференциальная связь между передними и задними мостами улучшает эксплуатационные характеристики и повышает ресурс трансмиссии. Причем дифференциал 23 снабжен устройством блокировки и выполнен с возможностью включения и блокирования дифференциальной передачи крутящего момента с зубчатых колес второй ступени 5 на привод ведущих валов задних и передних мостов 9, 10, 11, 12.

[22]

На раздаточной коробке 3 дополнительно установлена коробка отбора мощности 24 и устройство отключения отбора мощности, выполненное с возможностью включения и отключения передачи крутящего момента от раздаточной коробки 3 к коробке отбора мощности 24. Коробка отбора мощности 24 снабжена зубчатыми колесами передачи крутящего момента на привод дополнительного оборудования. Дополнительное оборудование с приводом от коробки отбора мощности 24 составляет, например, гидравлический насос, или электрический генератор, или компрессор, или их сочетания.

[23]

При этом первый ведущий вал 13, который содержит трансмиссия автотранспортного средства, протянут в направлении задней части кузова 18. Он соединен входным концом с осью зубчатого колеса второй ступени 5 передачи крутящего момента раздаточной коробки и выводным концом - с входом механизма передачи привода 7 заднего четвертого моста 9. Второй ведущий вал 14 протянут в направлении, обратном направлению первого ведущего вала 13. Такое конструктивное решение обеспечивает расширение компоновочных возможностей, уменьшает длину трансмиссии, ее габариты. Второй ведущий вал 14 входным концом соединен с выходом механизма передачи привода 7 заднего четвертого моста 9 и выводным концом - с входом механизма передачи привода 7 заднего третьего моста 10. При этом третий ведущий вал 16 является несоосным первому ведущему валу 13. Он протянут в направлении передней части кузова 19 и соединен входным концом с осью зубчатого колеса дополнительной ступени 6 передачи крутящего момента раздаточной коробки 3 и выводным концом - с входом механизма передачи привода 7 переднего второго моста 11. Четвертый ведущий вал 17 соединен входным концом с выходом механизма передачи привода 7 переднего второго моста Ни выводным концом - с входом механизма передачи привода 7 переднего первого моста 12.

[24]

Колесные редукторы 8 размещены с обоих сторон каждого из задних и передних мостов 9, 10, 11, 12. Колесные редукторы 8 каждого моста связаны с размещенным между ними на одной оси посредством промежуточных валов 15 механизмом передачи привода 7.

[25]

Механизм передачи привода 7 каждого моста снабжен зубчатыми колесами передачи крутящего момента и межколесным дифференциалом 20 и выполнен с возможностью включения и блокирования дифференциальной передачи крутящего момента на промежуточные валы 15 привода одного и второго колесных редукторов 8. Причем механизм передачи привода 7 переднего второго моста 11 кроме того снабжен межосевым дифференциалом 21 и выполнен с возможностью включения и блокирования дифференциальной передачи крутящего момента с третьего ведущего вала 16 привода переднего второго моста 11 на четвертый ведущий вал 17 привода переднего первого моста 12. Дифференциальная связь между промежуточными валами 15 привода одного и второго колесных редукторов 8 каждого моста, а также дифференциальная связь между третьим 16 и четвертым 17 ведущими валами привода передних первого 12 и второго 11 мостов снижают износ и повышают ресурс элементов трансмиссии, улучшают ее эксплуатационные характеристики, обеспечивающие повышение проходимости многоосного автотранспортного средства.

[26]

Заявляемая подвеска колеса транспортного средства работает следующим образом.

[27]

В процессе движения автомобильного транспортного средства крутящий момент от коробки передач посредством главного вала передается на зубчатые колеса первой ступени раздаточной коробки. При этом зубчатые колеса второй ступени, находящиеся в зацеплении с зубчатыми колесами первой ступени, передают крутящий момент на привод заднего четвертого моста и далее на привод связанного с ним заднего третьего моста. В свою очередь зубчатые колеса дополнительной ступени, расположенные в нижней части раздаточной коробки, находятся в зацеплении с зубчатыми колесами второй ступени и передают крутящий момент на привод переднего второго моста и далее на привод связанного с ним переднего первого моста. Торможение или останов трансмиссии в процессе работы двигателя автотранспортного средства обеспечивает тормозное устройство раздаточной коробки. При этом дифференциал раздаточной коробки обеспечивает дифференциальную связь между передним и задним мостами. Он включает и блокирует дифференциальную передачу крутящего момента с зубчатых колес второй ступени на привод ведущих валов передних и задних мостов. Устройство отключения отбора мощности раздаточной коробки, включает и отключает передачу крутящего момента от раздаточной коробки к коробке отбора мощности на привод дополнительного оборудования, которое может включать гидравлический насос, электрический генератор, компрессор. Включение блокировки дифференциала в раздаточной коробке и отбора мощности производится при преодолении опасных участков пути, после чего блокировка дифференциала выключается.

[28]

Первый ведущий вал с оси зубчатого колеса второй ступени раздаточной коробки передает крутящий момент на механизм передачи привода заднего четвертого моста. При этом второй ведущий вал с механизма передачи привода заднего четвертого моста обеспечивает передачу крутящего момента в направлении, обратном направлению первого ведущего вала, на механизм передачи привода заднего третьего моста. Третий ведущий вал, несоосный первому и второму ведущим валам, с оси зубчатого колеса дополнительной ступени раздаточной коробки передает крутящий момент в направлении передней части кузова на механизм передачи привода переднего второго моста. Четвертым ведущим валом с механизма передачи привода переднего второго моста крутящий момент передается на механизм передачи привода переднего первого моста. В свою очередь механизм передачи привода каждого из мостов передает крутящий момент посредством промежуточных валов на привод колесных редукторов автотранспортного средства.

[29]

При этом в зависимости от дорожных условий осуществляется или блокируется посредством межосевого дифференциала механизма передачи привода второго моста дифференциальная связь между третьим и четвертым ведущими валами привода передних второго и первого мостов, и посредством межколесного дифференциала механизма передачи привода каждого моста - дифференциальная связь между промежуточными валами привода колесных редукторов каждого моста. Указанная дифференциальная связь между элементами трансмиссии, а также возможность ее включения и блокировки, улучшает эксплуатационные характеристики трансмиссии и обеспечивает повышение проходимости автотранспортного средства.

[30]

Таким образом заявляемая трансмиссия автотранспортного средства обеспечивает расширение компоновочных возможностей, уменьшение габаритов по длине, улучшение эксплуатационных характеристик трансмиссии, обеспечивающих повышение проходимости многоосного автотранспортного средства, за счет конструкционного размещения трансмиссии и обеспечения дифференциальной связи между ее элементами. При этом конструкционное размещение элементов трансмиссии позволяет уменьшить ее размеры.

[31]

Для изготовления трансмиссии автотранспортного средства используют стандартные материалы и производственное оборудование, что указывает на промышленную применимость заявляемого технического решения.

Как компенсировать расходы
на инновационную разработку
Похожие патенты