патент
№ RU 2660101
МПК C06B21/00

СПОСОБ ИЗГОТОВЛЕНИЯ ЗАРЯДА СМЕСЕВОГО РАКЕТНОГО ТВЕРДОГО ТОПЛИВА

Авторы:
Ляханов Юрий Александрович Карязов Святослав Владимирович Шабалин Владимир Михайлович
Все (9)
Номер заявки
2017125071
Дата подачи заявки
14.07.2017
Опубликовано
04.07.2018
Страна
RU
Как управлять
интеллектуальной собственностью
Чертежи 
2
Реферат

Изобретение касается способа изготовления заряда смесевого ракетного твердого топлива (СРТТ) с использованием технологической схемы напорного формования или литья под небольшим давлением, позволяющего изготавливать мало- и среднегабаритные изделия в широком диапазоне изменения реологических характеристик топливной смеси по сравнению со значениями, допустимыми для технологии свободного литья. Способ заключается в смешении исходных компонентов для получения топливной массы в смесителе планетарного типа, из передвижной чаши масса выдавливается через вакуумный нагнетательный аппарат шнекового типа с имеющейся на входе последнего камерой для вакуумирования с фильерой и нагнетается в пресс-форму. Решение обеспечивает исключение попадания воздушных включений в пресс-форму. 2 ил.

Формула изобретения

Способ изготовления заряда смесевого ракетного твердого топлива (СРТТ) с использованием технологической схемы напорного формования или литья под небольшим давлением, позволяющий изготавливать мало- и среднегабаритные изделия в широком диапазоне изменения реологических характеристик топливной смеси смешением исходных компонентов для получения топливной массы в смесителе и слив ее в пресс-форму, отличающийся тем, что топливная масса, приготовленная в вертикальном смесителе планетарного типа (ВСПТ) со съемными мешалками, выдавливается из передвижной чаши ВСПТ через вакуумный нагнетательный аппарат (ВНА) шнекового типа с имеющейся на входе последнего камерой для вакуумирования с фильерой, разделяющей поток массы на струи, откуда масса нагнетается в пресс-форму.

Описание

[1]

Предлагаемое изобретение относится к области изготовления зарядов из смесевого ракетного твердого топлива (СРТТ) по технологии с применением вертикальных смесителей планетарного типа (ВСПТ) со съемными мешалками.

[2]

Согласно изобретению топливная масса, приготовленная в вертикальном смесителе планетарного типа (ВСПТ) со съемными мешалками, выдавливается из передвижной чаши ВСПТ через вакуумный нагнетательный аппарат (ВНА) шнекового типа с имеющейся на входе последнего камерой для вакуумирования с фильерой, разделяющей поток массы на струи, откуда масса нагнетается в пресс-форму.

[3]

Анализ патентной литературы показывает, что в производстве зарядов из СРТТ широкое распространение получили способы и оборудование, включающие применение ВСПТ со съемными передвижными чашами.

[4]

Формование зарядов из передвижных съемных чаш осуществляется выдавливанием топливной массы в вертикально расположенную пресс-форму сверху в корпус двигателя или снизу. В обоих случаях не исключается вероятность образования воздушных дефектов.

[5]

В патенте РФ №2167135 приоритет от 04.08.1999 г., взятом авторами за прототип, описан способ заполнения из ВСПТ пресс-форм топливной массой снизу.

[6]

Качество зарядов по монолитности обеспечивалось за счет ступенчатого извлечения мешалок и удаления воздуха из-под поршня гидравлической системы вытеснения через систему каналов.

[7]

В процессе реализации данного способа изготовления зарядов выявился ряд недостатков:

[8]

- в процессе извлечения мешалок не исключается капсуляция воздуха даже при ступенчатом опускании съемной чаши;

[9]

- в процессе смешения топливной массы в ВСПТ может происходить подсос и последующая капсуляция воздуха через негерметичности в узлах смесителя, например сливного затвора. Закапсулированный воздух затем в процессе формования попадет в пресс-форму, что приводит к образованию воздушных дефектов в изделиях.

[10]

Технической задачей изобретения является разработка способа, при котором для исключения попадания воздушных включений в пресс-форму при подаче топливной массы из передвижной чаши ВСПТ предлагается пропускать массу, выдавливаемую из чаши ВСПТ, через вакуумный нагнетательный аппарат (ВНА) шнекового типа с имеющейся на входе последнего камерой для вакуумирования, откуда масса нагнетается в пресс-форму.

[11]

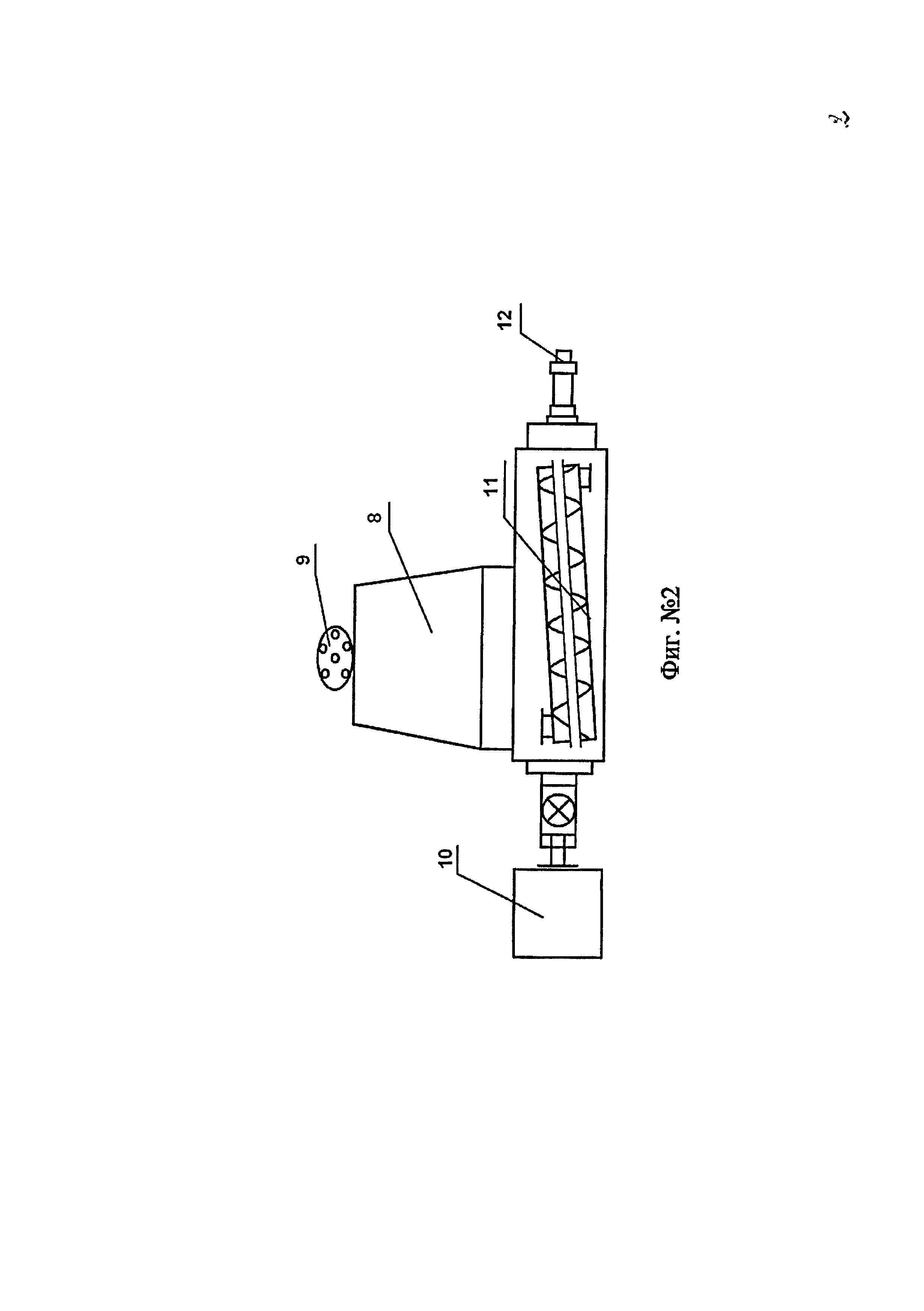
На фиг. 1 изображена технологическая схема с использованием ВНА, включающая в себя дозирование компонентов в смеситель ВСПТ 1 из устройств 2 и 3, смешение топливной массы, отсоединение передвижной съемной чаши 4, подсоединение ее к поршневой гидравлической системе вытеснения 5, выгрузку топливной массы через ВНА шнекового типа 6 в пресс-форму 7 снизу или сверху.

[12]

Технологическая задача решается тем, что позволяет исключить попадание воздушных дефектов из чаши ВСПТ в пресс-форму и обеспечить требуемое давление для формования зарядов с малым проходным входным сечением пресс-формы.

[13]

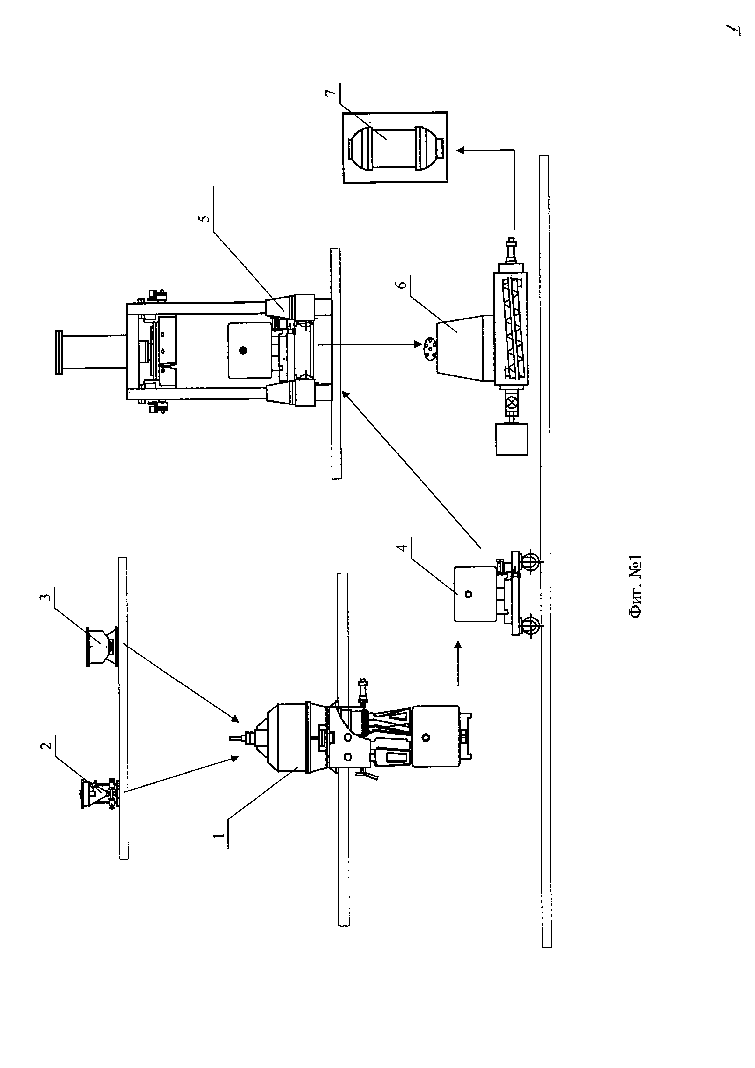
Конструкция ВНА позволяет осуществлять вакуумирование топливной массы в вакуумной камере объемом 50-100 л и создавать необходимый напор (2-10 МПа) в шнековом аппарате. Конструкция ВНА показана на фиг 2. ВНА содержит вакуумную камеру 8 с фильерой 9, разделяющей поток массы на струи, редуктор 10, шнек 11 и формующую головку 12.

[14]

Отличием данного изобретения от прототипа является использование на входе в вакуумный нагнетательный аппарат шнекового типа камеры вакуумирования объемом 50-100 л с фильерой, разделяющей поток массы на струи, что позволяет исключить воздушные дефекты и обеспечить требуемое давление для формования зарядов с малым проходным входным сечением пресс-формы.

[15]

Пример.

[16]

При изготовлении зарядов выдавливанием массы из передвижной съемной чаши в вертикально расположенные пресс-формы наблюдалось наличие воздушных включений в некоторых изделиях. При изготовлении зарядов предлагаемым способом - с использованием камеры вакуумирования с фильерой - дефекты в изделиях не обнаружены.

[17]

Литература

[18]

1. Патент РФ №№2167135, приоритет от 04.08.1999 г. Способ изготовления изделия смесевого топлива.

Как компенсировать расходы
на инновационную разработку
Похожие патенты