патент
№ RU 2515655
МПК F41F3/00
Номер заявки
2012140669/11
Дата подачи заявки
21.09.2012
Опубликовано
20.05.2014
Страна
RU
Как управлять
интеллектуальной собственностью
Чертежи 
2
Реферат

Изобретение относится к газодинамическим устройствам и может быть использовано в ствольных баллистических установках. Газодинамический источник давления содержит корпус, в котором размещен газогенерирующий заряд из пороха, не детонирующего в обычных условиях, стержневой осевой инициирующий заряд из взрывчатого вещества, демпфирующий заряд из дымного пороха и перфорированный вкладыш, которые установлены коаксиально без воздушного зазора в полости корпуса. Изобретение позволяет сократить время воспламенения порохового газогенерирующего заряда, упростить конструкцию газодинамического источника давления и расширить диапазон создаваемых импульсов давления. 2 ил.

Формула изобретения

Газодинамический источник давления, включающий корпус, в котором размещен газогенерирующий заряд из пороха, стержневой осевой инициирующий заряд из взрывчатого вещества и перфорированный вкладыш, установленные коаксиально в полости корпуса, и инициирующее устройство, отличающийся тем, что он снабжен демпфирующим зарядом, выполненным в виде прослойки из дымного пороха, расположенным между инициирующим зарядом и перфорированным вкладышем, газогенерирующий заряд снаряжен порохом, не детонирующим в обычных условиях, при этом газогенерирующий, инициирующий, демпфирующий заряды и перфорированный вкладыш установлены без воздушного зазора.

Описание

[1]

Изобретение относится к газодинамическим устройствам, используемым в ствольных баллистических установках и в установках для создания интенсивных механических нагрузок на различные объекты.

[2]

Известен газодинамический источник давления (ГИД), содержащий корпус, в котором размещен полый цилиндрический пороховой заряд с воспламенителем из взрывчатого вещества и средством воспламенения, описанный в патенте Российской Федерации №2135927, F41F 1/00, опубликованный 27.08.1999 г.

[3]

Недостатком данного ГИД является наличие значительного воздушного зазора для исключения передачи детонации пироксилиновому пороху, что приводит к увеличению внутреннего объема камеры, а для обеспечения необходимых параметров давления (фронта нарастания, амплитуды и общей длительности нагружающего импульса) требуется установка специальных дросселирующих устройств, что усложняет конструкцию ГИД.

[4]

Ближайшим техническим решением, выбранным в качестве прототипа, является ГИД, содержащий корпус, в котором размещен газогенерирующий заряд из пороха и стержневой осевой инициирующий заряд из взрывчатого вещества, инициирующее устройство и перфорированный вкладыш, формирующий внутренний объем газогенерирующего заряда, установленные коаксиально в полости порохового заряда, описанный в патенте Российской Федерации №2357181, F41F 1/00, опубликованный 27.05.2009 г.

[5]

Недостатком данного ГИД является то, что для исключения передачи детонации пироксилиновому пороху необходим значительный воздушный зазор, что приводит к увеличению внутреннего объема взрывной камеры и массы пороха, необходимого для обеспечения той же плотности заряжания, а для изменения параметров импульса давления требуется применение специальных дросселирующих устройств, что усложняет их конструкцию.

[6]

Задача, решаемая предлагаемым изобретением, заключается в упрощении конструкции ГИД, в сокращении времени воспламенения порохового газогенерирующего заряда, в расширении диапазона создаваемых импульсов давления.

[7]

Технический результат заключается в том, что удалось упростить конструкцию газодинамического источника давления, сократить время и увеличить надежность воспламенения порохового газогенерирующего заряда за счет исключения воздушного зазора между инициирующим зарядом ВВ и пироксилиновым порохом; расширить диапазон создаваемых импульсов давления за счет возможности варьирования соотношением компонентов ГИД и реализации различных скоростей их взрывчатого превращения.

[8]

Для получения такого технического результата предлагаемый газодинамический источник давления, включающий корпус, в котором размещен газогенерирующий заряд из пороха, стержневой осевой инициирующий заряд из взрывчатого вещества и перфорированный вкладыш, установленные коаксиально в полости корпуса, и инициирующее устройство, согласно изобретению, он снабжен демпфирующим зарядом, выполненным в виде прослойки из дымного пороха, расположенным между инициирующим зарядом и перфорированным вкладышем, газогенерирующий заряд снаряжен порохом, не детонирующим в обычных условиях, при этом газогенерирующий, инициирующий, демпфирующий заряды и перфорированный вкладыш установлены без воздушного зазора.

[9]

Это приводит к тому, что введение в ГИД прослойки дымного ружейного пороха обеспечивает демпфирование детонационной волны инициирующего заряда бризантного ВВ и равномерное задействование газогенерирующего заряда по всей его длине, что повышает стабильность создаваемого импульса давления и одновременно создает возможность управления его формой за счет изменения толщины демпфирующей прослойки без применения дополнительных дросселирующих устройств.

[10]

Наличие в заявляемом изобретении признаков, отличающих его от прототипа, позволяет считать его соответствующим условию «новизна».

[11]

В процессе поиска не выявлено технических решений, содержащих признаки, сходные с отличительными признаками заявляемого устройства, что позволяет сделать вывод о соответствии его условию «изобретательский уровень».

[12]

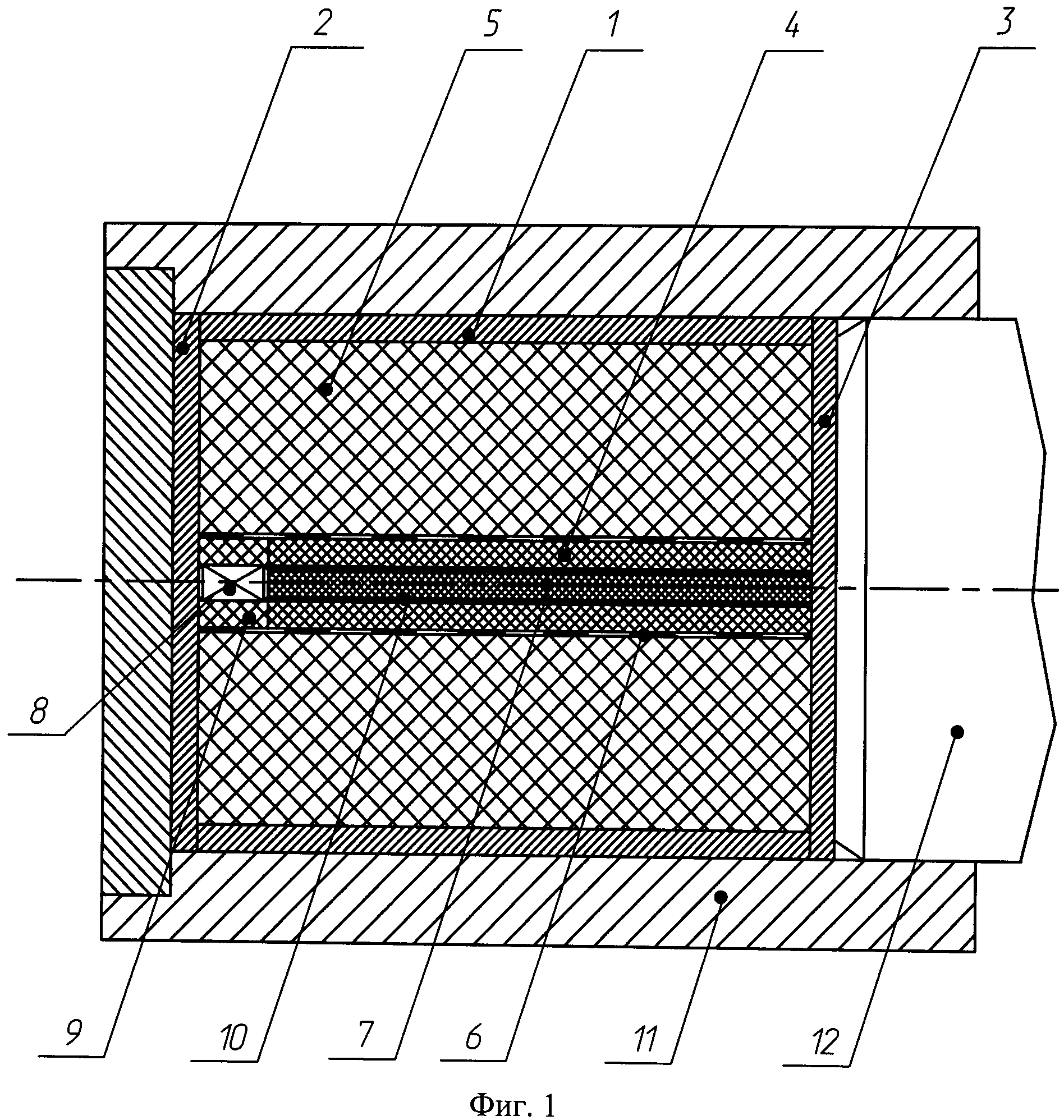
Предлагаемый ГИД иллюстрируется чертежами, представленными на фиг.1 и 2.

[13]

На фиг.1 изображена схема газодинамического источника давления, на фиг.2 приведены графики зависимости давления, создаваемого ГИД, от времени.

[14]

Газодинамический источник давления (фиг.1) содержит полый цилиндрический корпус 1 с крышкой 2 и дном 3. В корпусе 1 концентрически установлены газогенерирующий заряд 5 из пироксилинового пороха, демпфирующий заряд 4 из дымного ружейного пороха, который отделен от газогенерирующего заряда 5 перфорированным вкладышем 6, и инициирующий заряд 7 из бризантного ВВ.

[15]

Пример конкретного выполнения. Корпус 1, крышка 2 и дно 3 ГИД выполнены из картона или листового стеклотекстолита. Демпфирующий заряд 4 из дымного ружейного пороха марки ДРП-1 и газогенерирующий заряд 5 из пироксилинового пороха марки 7/14 разделены перфорированным вкладышем 6 из электрокартона, обклеенного тканью. Инициирующий заряд 7 выполнен в виде прутка из пластичного ВВ, запрессованного в пенопластовую трубку 10, электродетонатор 8 установлен во втулку 9 из поликарбоната. Собранный ГИД установлен в корпус исполнительного устройства 11 вплотную или на расчетном расстоянии от приемной поверхности поршня 12 исполнительного устройства.

[16]

Газодинамический источник давления работает следующим образом.

[17]

При задействовании электродетонатора 8 детонационный импульс передается бризантному ВВ инициирующего заряда 7 и дымному ружейному пороху демпфирующего заряда 4, в котором, благодаря его свойствам, формируется низкоскоростной детонационный импульс, вызывающий низкоскоростную детонацию прилегающих слоев газогенерирующего заряда 5 из пироксилинового пороха, переходящую в его стационарное горение. Продукты детонации и горения воздействуют непосредственно на приемную поверхность поршня 12 исполнительного устройства.

[18]

Проведенные испытания показали, что предлагаемое техническое решение обеспечивает возможность получения импульсов давления в широком диапазоне основных характеристик (амплитуды, крутизны фронта, длительности импульса) при минимальных затратах на изготовление ГИД. Применение выявленных в предварительных исследованиях марок пироксилиновых порохов, не детонирующих в обычных условиях, обеспечивает гарантированную стабильность и воспроизводимость импульсов давления в широком диапазоне характеристик.

[19]

Графики характерных зависимостей импульсов давления от времени, реализованных с помощью заявляемого ГИД в корпусе исполнительного устройства объемом 17 дм3, приведены на фиг.2.

[20]

Из графиков видно, что при увеличении массы демпфирующего заряда из пороха марки ДРП-1 по отношению к массе газогенерирующего заряда из пироксилинового пороха марки 7/14 от 3% (график 2) до 6% (график 1) длительность фронта создаваемого импульса давления уменьшается на 40%, что подтверждает возможность получения с использованием заявляемого ГИД различных по форме и амплитуде импульсов давления.

[21]

Заявляемое изобретение позволяет упростить конструкцию газодинамического источника давления, уменьшить его размеры и расширить диапазон создаваемых импульсов давления.

[22]

Таким образом, изложенные сведения свидетельствуют о выполнении при использовании заявленного изобретения следующей совокупности условий:

[23]

- ГИД, воплощающий заявленное изобретение, предназначен для создания импульсов давления в широком диапазоне характеристик;

[24]

- для заявленного ГИД в том виде, как он охарактеризован в формуле изобретения, подтверждена возможность его осуществления с помощью описанных в заявке и известных до даты приоритета средств и методов;

[25]

- ГИД, воплощенный в заявленном изобретении, способен обеспечить достижение усматриваемого заявителем достигаемого технического результата.

[26]

Следовательно, заявляемое техническое решение соответствует критерию «промышленная применимость».

Как компенсировать расходы
на инновационную разработку
Похожие патенты