патент
№ RU 2580465
МПК H01P1/26

СВЧ-НАГРУЗКА

Авторы:
Гутенко Сергей Валерьевич Власюк Марина Николаевна Петров Сергей Александрович
Все (4)
Номер заявки
2014152058/08
Дата подачи заявки
22.12.2014
Опубликовано
10.04.2016
Страна
RU
Как управлять
интеллектуальной собственностью
Чертежи 
2
Реферат

Изобретение относится к технике СВЧ и может быть использовано как оконечная нагрузка в волноводных трактах с высоким уровнем мощности и в качестве эталонной измерительной согласованной нагрузки. Техническим результатом является уменьшение коэффициента стоячей волны по напряжению (КСВН) и длины СВЧ-нагрузки при конструктивном и технологическом упрощении. Для этого СВЧ-нагрузка содержит металлический волновод, поглотитель и экран. Волновод выполнен прямоугольным с высотой b узкой стенки и шириной а широкой стенки, в котором образован плавный переход переменной высоты, уменьшающейся до нуля на длине L. Поглощающая поверхность перехода совмещена с поглощающей поверхностью поглотителя шириной s, расположенной на одной из широких стенок волновода, а отражающая поверхность перехода - на противоположной широкой стенке, при условии s<a, α=arctg(b/L), где α - угол наклона перехода. 2 з.п. ф-лы, 3 ил.

Формула изобретения

1. СВЧ-нагрузка, содержащая металлический волновод, поглотитель, экран, отличающаяся тем, что волновод выполнен прямоугольным с высотой b узкой стенки и шириной а широкой стенки, в котором образован плавный переход длиной L переменной высоты, уменьшающейся до нуля, поглощающая поверхность перехода совмещена с поглощающей поверхностью поглотителя шириной s, расположенной на одной из широких стенок волновода, а отражающая поверхность перехода - на противоположной широкой стенке, при условии s<a, α=arctg(b/L), где α - угол наклона перехода, при этом поглотитель помещен в экран, выполненный из меди, и закреплен в нем электропроводным клеем или пайкой.

2. СВЧ-нагрузка по п. 1, отличающаяся тем, что поглощающая поверхность поглотителя выполнена в виде прямоугольника, причем его ширина s находится в пределах 0.55а≤s≤0.65а.

3. СВЧ-нагрузка по п. 1, отличающаяся тем, что поглощающая поверхность поглотителя выполнена в виде равнобедренной трапеции, меньшее основание которой расположено в начале перехода, причем меньшее основание находится в пределах от 0.4а до 0.45а, а большее - от 0.95а до а.

Описание

[1]

Изобретение относится к технике СВЧ и может быть использовано как оконечная нагрузка в волноводных трактах с высоким уровнем мощности и в качестве эталонной измерительной согласованной нагрузки.

[2]

Известна СВЧ-нагрузка высокого уровня мощности [1], содержащая отрезок волновода, на одном из концов которого выполнен срез под углом к его продольной оси, и диэлектрическую подложку, установленную на срезе, при этом на поверхность диэлектрической подложки со стороны волноводного канала нанесен слой коррозионно-устойчивого жаропрочного проводящего материала, диэлектрическая подложка выполнена из керамики с высокой теплопроводностью, а на наружной поверхности диэлектрической подложки установлен металлический фланец, прикрепленный вместе с диэлектрической подложкой к волноводному отрезку.

[3]

Недостатком этой конструкции является повышенный КСВН СВЧ-нагрузки на низких частотах волновода при ее большой длине.

[4]

Известна СВЧ-нагрузка высокого уровня мощности [2], принятая за прототип, содержащая кососрезанный волновод, объемный поглотитель, выполненный в виде прямоугольного параллелепипеда, и экран, выполненный в виде радиатора или фланца. Плоская поверхность поглотителя совмещена с плоской поверхностью кососрезанного волновода, причем размеры плоской поверхности поглотителя превышают размеры плоской поверхности кососрезанного волновода.

[5]

Недостатком данной конструкции является повышенный КСВН СВЧ-нагрузки на низких частотах волновода, причем ее длина не указана.

[6]

Техническим результатом предлагаемого изобретения является уменьшение КСВН и длины СВЧ-нагрузки при конструктивном и технологическом упрощении.

[7]

Технический результат достигается тем, что СВЧ-нагрузка содержит металлический волновод, поглотитель и экран. Волновод выполнен прямоугольным с высотой b узкой стенки и шириной а широкой стенки, в котором образован плавный переход длиной L переменной высоты, уменьшающейся до нуля. Поглощающая поверхность перехода совмещена с поглощающей поверхностью поглотителя шириной s, расположенной на одной из широких стенок волновода, а отражающая поверхность перехода - на противоположной широкой стенке, при условии s<a, α=arctg(b/L), где α - угол наклона перехода.

[8]

Для простоты изготовления поглощающая поверхность поглотителя может быть выполнена в виде прямоугольника, причем его ширина s находится в пределах 0.55а≤s≤0.65а.

[9]

Для получения лучшего согласования (минимального КСВН) поглощающая поверхность поглотителя может быть выполнена в виде равнобедренной трапеции, меньшее основание которой расположено в начале перехода, причем меньшее основание находится в пределах от 0.4а до 0.45а, а большее - от 0.95а до а.

[10]

В прямоугольном волноводе образован плавный переход длиной L переменной высоты, уменьшающейся до нуля, что упрощает расчет конструкции нагрузки.

[11]

Поглощающая поверхность перехода совмещена с поглощающей плоскостью поглотителя шириной s, расположенной на одной из широких стенок волновода, а отражающая поверхность перехода - на противоположной, что уменьшает КСВН при оптимальной длине нагрузки.

[12]

Предлагаемая конструкция СВЧ-нагрузки поясняется чертежами.

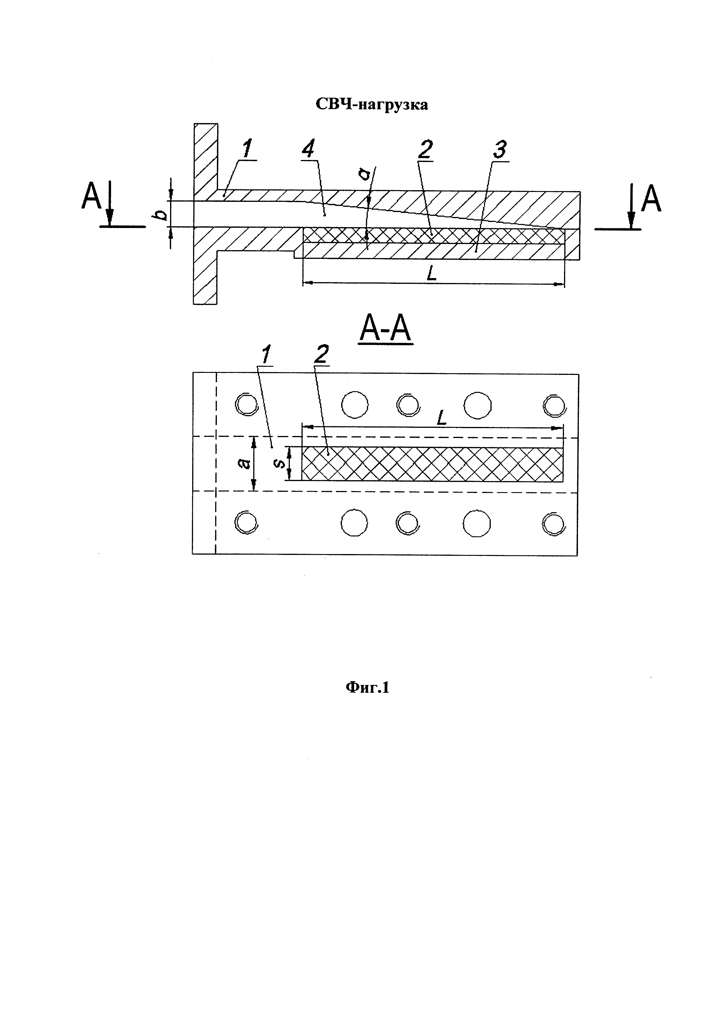
[13]

На фиг. 1 представлена конструкция предлагаемой СВЧ-нагрузки, где: металлический волновод - 1, поглотитель - 2, экран - 3, плавный переход - 4.

[14]

На фиг. 2 представлены топологии СВЧ-нагрузок с фиксированной длиной L перехода:

[15]

1 - поглощающая поверхность поглотителя имеет прямоугольную форму оптимизированной ширины (s<а) (а - поглощающая поверхность расположена на плоской широкой стенке перехода, б - поглощающая поверхность расположена на наклонной широкой стенке перехода);

[16]

2 - поглощающая поверхность поглотителя имеет форму равнобедренной трапеции с оптимизированными основаниями (в - поглощающая поверхность расположена на плоской широкой стенке перехода, г - поглощающая поверхность расположена на наклонной широкой стенке перехода);

[17]

3 - поглощающая поверхность поглотителя имеет прямоугольную форму неоптимизированной ширины а (д - поглощающая поверхность расположена на плоской широкой стенке перехода, е - поглощающая поверхность расположена на наклонной широкой стенке перехода).

[18]

На фиг. 3 представлены графики КСВН в диапазоне частот 26-40 ГГц для топологий СВЧ-нагрузок, изображенных на фиг. 2.

[19]

Пример

[20]

Волновод 1 выполнен из меди прямоугольным. Корпус волновода 1 выполнен из двух частей, разделенных по широкой стенке и соединенных винтами. Высота узкой стенки b=3.4 мм, ширина широкой стенки а=7.2 мм. Плавный переход 4 переменной высоты имеет длину L=34 мм. На плоской широкой стенке перехода расположен поглотитель 2 так, что его поглощающая поверхность совмещена с плоскостью стенки. Поглотитель 2 выполнен в форме прямоугольного параллелограмма из корундо-титанатной керамической пластины КТ-30 длиной L=34 мм и высотой 2 мм. Ширина поглощающей поверхности поглотителя 2 s=4.4 мм. Поглотитель 2 помещен в экран 3, выполненный из меди, и закреплен в нем электропроводным клеем или пайкой.

[21]

Предлагаемая СВЧ-нагрузка работает следующим образом.

[22]

Электромагнитная волна распространяется в прямоугольном волноводе 1, попадает в канал плавного перехода 4 переменной высоты. Падая на поглощающую поверхность поглотителя 2, электромагнитная волна затухает, преобразуясь в тепловую энергию, которая отводится через экран 3 на систему охлаждения.

[23]

Возможность реализации предлагаемого изобретения проверена расчетным путем на топологиях СВЧ-нагрузок, представленных на фиг. 2, с фиксированной длиной L перехода.

[24]

СВЧ-нагрузка 1: поглощающая поверхность поглотителя имеет прямоугольную форму оптимизированной ширины (s<а) (а - поглощающая поверхность расположена на плоской широкой стенке перехода, б - поглощающая поверхность расположена на наклонной широкой стенке перехода);

[25]

СВЧ-нагрузка 2: поглощающая поверхность поглотителя имеет форму равнобедренной трапеции с оптимизированными основаниями (в - поглощающая поверхность расположена на плоской широкой стенке перехода, г - поглощающая поверхность расположена на наклонной широкой стенке перехода);

[26]

СВЧ-нагрузка 3: поглощающая поверхность поглотителя имеет прямоугольную форму неоптимизированной ширины а (д - поглощающая поверхность расположена на плоской широкой стенке перехода, е - поглощающая поверхность расположена на наклонной широкой стенке перехода).

[27]

Графики КСВН топологий СВЧ-нагрузок (фиг. 3) показывают, что оптимизированные нагрузки (фиг. 2а-г) имеют КСВН<1.03, а неоптимизированные нагрузки (фиг. 2д, е) имеют резкое увеличение КСВН в диапазоне нижних частот волновода.

[28]

При этом размещение поглощающей поверхности поглотителя на плоской широкой стенке перехода (фиг. 2а, в, д) предпочтительно, поскольку ведет к уменьшению КСВН по сравнению с ее размещением на наклонной широкой стенке перехода.

[29]

Экспериментальные СВЧ-нагрузки с волноводным каналом [7.2×3.4], у которых в качестве поглотителя использовалась корундо-титанатная керамическая пластина КТ-30 высотой 2 мм, позволили получить КСВН менее 1.05.

[30]

СВЧ-нагрузка по сравнению с аналогами имеет лучшее согласование и упрощенное конструктивное исполнение при меньших размерах поглотителя.

[31]

Применяя поглотители, выполненные из других поглощающих материалов, и корректируя ширину s поглощающей поверхности поглотителя, можно использовать СВЧ-нагрузку в качестве эталонной измерительной согласованной волноводной нагрузки низкого, среднего и высокого уровней мощности.

[32]

Источники информации

[33]

1. Патент РФ №2329574, H01P 1/26, 2006 г.

[34]

2. Патент РФ №2438215, H01P 1/26, 2010 г.

Как компенсировать расходы
на инновационную разработку
Похожие патенты