патент
№ RU 2653282
МПК G06T7/00

Использование встроенного в сканер программного обеспечения для экономии времени за счет отказа от повторного сканирования

Авторы:
Исаев Андрей Анатольевич
Номер заявки
2014137823
Дата подачи заявки
18.09.2014
Опубликовано
07.05.2018
Страна
RU
Как управлять
интеллектуальной собственностью
Чертежи 
9
Реферат

[61]

Изобретение относится к конвертации печатных документов в электронные изображения для обработки или хранения в компьютерной системе. Технический результат заключается в сокращении времени сканирования документа. Приведено описание способов и устройств для обнаружения границ документов в планшетных и многофункциональных сканерах при первом проходе узла каретки и последующем сканировании с высоким разрешением при втором проходе. Затем изображения документов с высоким разрешением можно получить без операций или практически без операций, обычно необходимых для выявления необходимых областей на планшете сканера. Текстуры на крышке сканера облегчают не только выявление краев документа, но и определение ориентации текста и других объектов, а также обработку изображений в рамках подготовки к OCR и связанных с ним функций. Электронные изображения и файлы, полученные из бумажных документов, могут автоматически кадрироваться, в них может корректироваться наклон, они могут подвергаться OCR, и им могут присваиваться имена, соответствующие их содержанию или другой полученной от них информации. 3 н. и 33 з.п. ф-лы, 9 ил.

Формула изобретения

1. Устройство для сканирования документа, содержащее:

корпус, включающий прозрачный планшет, выполненный с возможностью размещения на нем одного или более документов;

сканирующую каретку для формирования по меньшей мере одного электронного изображения одного или более документов, выполненную с возможностью осуществления сканирования с первым разрешением при проходе в первом направлении и сканирования со вторым разрешением, более высоким, чем указанное первое разрешение, при проходе во втором направлении, противоположном указанному первому направлению; и

крышку для прозрачного планшета, содержащую нанесенную на нее текстуру, используемую при обработке одного или более изображений.

2. Устройство по п. 1, отличающееся тем, что текстура содержит повторяющийся элемент узора.

3. Устройство по п. 1, дополнительно содержащее: одно или более электронных устройств хранения, содержащих программные инструкции для осуществления шагов, включающих:

получение электронного образа документа;

обнаружение краев представления документа на основе электронного изображения;

кадрирование части электронного изображения на основании обнаруженных краев;

определение ориентации создаваемого электронного изображения относительно края электронного изображения документа; и

устранение наклона электронного изображения на основе определенной ориентации.

4. Устройство по п. 3, в котором шаги дополнительно включают:

получение электронного представления документа;

обнаружение краев документа на основе электронного представления документа;

кадрирование части электронного представления документа на основе обнаруженных краев;

определение ориентации электронного представления документа; и

устранение наклона электронного представления документа на основании определенной ориентации.

5. Устройство по п. 4, отличающееся тем, что текстура выполнена в виде множества элементов текстуры, где два элемента текстуры пространственно ближе друг к другу, чем к другим элементам текстуры.

6. Устройство по п. 3, отличающееся тем, что указанные шаги дополнительно включают:

оптическое распознавание символов (OCR) в представлении по меньшей мере одной части документа; и

запись текста, распознанного при выполнении OCR, для электронного сохранения.

7. Устройство по п. 3 или 4, отличающееся тем, что устранение наклона включает:

обнаружение угла наклона документа на основе обнаруженных краев по отношению к прозрачному планшету;

определение угла поворота для представления документа; и

формирование электронной копии представления документа на основе угла поворота.

8. Устройство по п. 3 или 4, отличающееся тем, что устранение наклона включает:

после формирования электронного изображения документа обнаружение угла наклона из представления документа по отношению к прозрачному планшету;

определение угла поворота для представления документа; и

формирование электронной копии представления документа на основе угла поворота.

9. Устройство по п. 3 или 4, отличающееся тем, что устранение наклона включает:

обнаружение направляющей линии для строки текста из представления документа;

определение угла поворота для направляющей линии относительно края представления документа; и

формирование электронного представления части документа на основе угла поворота.

10. Устройство по п. 5, в котором шаги дополнительно включают:

обнаружение края представления документа посредством обнаружения элементов текстуры на крышке и обнаружения элементов в представлении документа, связанных с обнаруженными элементами текстуры на крышке; и

формирование электронного представления документа на основе обнаруженного края представления документа.

11. Устройство по п. 5, отличающееся тем, что формирование электронного изображения дополнительно включает:

устранение наклона электронного изображения на основе элементов текстуры на крышке относительно обнаруженных элементов в представлении документа.

12. Устройство по п. 1, в котором при сканировании с первым разрешением определяются размеры одного или более документов.

13. Устройство по п. 1, в котором при сканировании со вторым разрешением осуществляется регулирование шума одного или более электронного изображения одного или более документа.

14. Система формирования электронного представления документа, содержащая:

одно или более электронных запоминающих устройств, выполненных с возможностью хранения одного или более электронного изображения;

текстуру, позиционируемую позади одного или более документа перед сканированием одного или более документа;

сканирующую каретку для формирования электронного изображения одного или более документа на фоне текстуры, расположенной на крышке для прозрачного планшета, выполненную с возможностью осуществления сканирования с первым разрешением при проходе указанной каретки в первом направлении и сканирования со вторым разрешением, более высоким, чем указанное первое разрешение, при ее проходе во втором направлении, противоположном указанному первому направлению; и

исполняемые инструкции, побуждающие сканирующую каретку формировать указанное одно или более электронное изображение.

15. Система по п. 14, дополнительно содержащая детектор границы для определения границы между электронным представлением документа и электронным представлением части текстуры.

16. Система по п. 14, дополнительно содержащая электронную подсистему кадрирования изображения.

17. Система по п. 14, дополнительно содержащая компонент устранения наклона изображения.

18. Система по п. 14, дополнительно содержащая подсистему распознавания символов.

19. Способ сканирования документов, содержащий этапы:

автоматическое позиционирование одного или более документа на прозрачном планшете сканера под расположенной на крышке для прозрачного планшета поверх одного или более документа текстурой, прилегающей к планшету сканера;

формирование первого изображения с первым разрешением из первого прохода компонента изображения сканера по планшету сканера с использованием текстуры и упомянутого одного или более документа;

программное определение, по меньшей мере, одной области, ассоциированной с одним или более документом, с использованием указанного первого изображения и текстуры; и

автоматическое формирование второго изображения со вторым разрешением, более высоким, чем указанное первое разрешение, из компонента изображения, полученного при втором проходе сканера по, по меньшей мере, части планшета сканера.

20. Способ по п. 19, отличающийся тем, что первый проход является проходом вперед, а второй проход является проходом в обратном направлении.

21. Способ по п. 19, отличающийся тем, что автоматическое позиционирование одного или более документа на прозрачном планшете сканера включает позиционирование содержащего текстуру материала поверх одного или документа.

22. Способ по п. 19, дополнительно содержащий:

автоматическое кадрирование первого изображения путем выбора одного или более участков первого изображения;

применение полученного кадрирования при котором формировании второго изображения.

23. Способ по п. 19, дополнительно содержащий автоматическое формирование третьего изображения из компонента изображения второго прохода на основе, по меньшей мере, одной части определенной области, ассоциированной с одним или более документом.

24. Способ по п. 19, отличающийся тем, что определение области включает кадрирование, по меньшей мере, одной части первого изображения.

25. Способ по п. 19, отличающийся тем, что определение области включает определение угла наклона из первого изображения и применение коррекции наклона ко второму изображению с учетом угла наклона из первого изображения.

26. Способ по п. 19, отличающийся тем, что, по меньшей мере, один из документов включает более чем одну область контента и определение области, ассоциированной, по меньшей мере, с одним из документов, включает определение указанной более чем одной области контента.

27. Способ по п. 19, дополнительно включающий:

оптическое распознавание символов (OCR) в, по меньшей мере, одной части второго изображения.

28. Способ по п. 27, дополнительно содержащий:

извлечение текста на основании оптического распознавания символов (OCR) второго изображения;

формирование имени файла на основе извлеченного текста; и

сохранение электронного файла с новым сформированным именем совместно с указанным вторым изображением.

29. Способ по п. 27, дополнительно содержащий:

определение одного или более типа одного или более документа, связанного с документом на основании результатов, полученных при оптическом распознавании символов;

извлечение фрагментов текста из указанных результатов;

формирование имени файла на основании множества фрагментов извлеченного текста и указанного типа документа; и

сохранение электронного файла со сформированным именем файла на основе указанного второго изображения.

30. Способ по п. 19, в котором автоматическое позиционирование осуществляется из устройства подачи документов, выполненного с возможностью крепления к сканеру.

31. Способ по п. 30, отличающийся тем, что текстура является содержимым фона.

32. Способ по п. 31, в котором фон содержит элементы, способствующие различению фона и одного или более документа.

33. Способ по п. 32, отличающийся тем, что элементы фона выполнены на областях указанного фона и включают повторяющуюся фигуру, расположенную с более высокой плотностью в первой области фона по сравнению с другой областью фона.

34. Способ по п. 30, отличающийся тем, текстура выполнена из отдельных элементов.

35. Способ по п. 32, отличающийся тем, что различение фона от одного или более документов включает сравнение изображения с представлением части фона, сохраненного в компоненте электронного запоминающего устройства.

36. Способ по п. 29, отличающийся тем, что формирование одного или более изображения одного или более документа, расположенного на прозрачном планшете, производится с помощью компонента сканирования, в котором представление фона ориентировано под углом или в заданном положении по отношению к направлению движения или положению сканирующей компоненты.

Описание

[1]

ОБЛАСТЬ ТЕХНИКИ

[2]

Настоящее изобретение относится к функциям, традиционно связанным с конвертацией печатных документов в электронные изображения для обработки или хранения в компьютерной системе. Для решения этой задачи часто используются планшетные сканеры и многофункциональные устройства (МФУ). В частности, варианты реализации обеспечивают повышение скорости сканирования и сокращение числа проходов сканирования, необходимых для обработки документов или других объектов.

[3]

УРОВЕНЬ ТЕХНИКИ

[4]

Документ, обрабатываемый системой оптического распознавания символов (OCR), первоначально, как правило, представлен в виде электронного изображения. Печатные изображения, которые должны быть сохранены в компьютерной системе, также обычно изначально представлены в виде электронного изображения. Обычно такие изображения получают с планшетного сканера или многофункционального устройства с функциями принтера и сканера (МФУ).

[5]

В планшетном сканере или МФУ обычно имеется узел каретки, который преобразует световой поток в электронное изображение, узел шагового двигателя, который перемещает каретку, и основная электронная плата, которая формирует и обрабатывает электронное изображение и, при необходимости, передает электронное изображение в компьютерную систему по интерфейсному кабелю, кабелю локальной сети или через беспроводную сеть посредством одного или нескольких сетевых протоколов.

[6]

На Фиг. 1 показан пример обычного сканера 100 в соответствии с известным уровнем техники и типичный пример операции сканирования бумажного документа 102. На Фиг. 1 сканер 100 содержит корпус сканера 104 и стекло или планшет 106, на котором размещен один бумажный документ или несколько бумажных документов 102. Откидная крышка 108 закрывает собой документы 102. На крышке 108 имеется равномерный сплошной белый фон или сплошной черный фон 110 в рабочей области сканера. В процессе работы крышка 108 закрыта.

[7]

При работе с планшетным сканером пользователь сначала запускает предварительный просмотр, чтобы увидеть, где находятся бумажные документы на планшете 106 устройства 100. Необходимо выяснить, как эти документы 102 расположены на планшете 106, чтобы пользователь смог вручную выбрать или указать одну или несколько областей сканирования. Во время предварительного просмотра сканер быстро перемещает каретку (не показана) вдоль планшета 106 или корпуса 104 из исходного положения в конечное положение. В этот момент, то есть во время предварительного просмотра, лампа в каретке включена. Устройство производит сканирование и получает электронное изображение с достаточно низким разрешением. Затем каретка возвращается в исходное положение. Во время обратного перемещения для продления срока службы лампы и уменьшения потребляемой мощности лампа в каретке выключена, и сканирование не производится. Предварительное изображение передается на подключенный компьютер.

[8]

Затем пользователь изучает результат предварительного просмотра на экране компьютера, подключенного к сканеру. Пользователь выбирает одну или несколько областей сканирования и инициирует сканирование, как правило, с высоким разрешением для получения электронного изображения достаточно высокого качества, чтобы выполнить OCR (оптическое распознавание символов), сохранить его в виде электронного файла, распечатать, отправить по электронной почте и т.д.

[9]

Когда сканер 100 производит сканирование с высоким разрешением, он снова перемещает каретку вдоль планшета 106, но на этот раз с меньшей скоростью.

[10]

Лампа включена, сканер производит сканирование и создает одно или несколько электронных изображений с относительно высоким разрешением или с разрешением, которое выше, чем при предварительном сканировании. Затем каретка возвращается в исходное положение. Если у пользователя имеется два или более документов для сканирования на планшетном сканере 106, то пользователю необходимо начать сканирование с новой или неинициированной области сканирования, поскольку сканер 100 не в состоянии детектировать положение следующего бумажного документа на планшете 106, а также размеры и ориентацию нового бумажного документа (бумажных документов), помещенного на планшет сканера 106. После повтора первоначального сканирования пользователь снова должен выбрать одну или несколько областей для сканирования с высоким разрешением, прежде чем он сможет получить электронные изображения.

[11]

Как следствие, пользователь вынужден запускать сканер дважды для каждого документа: сначала для предварительного просмотра, а затем для сканирования с высоким разрешением. Кроме того, как правило, пользователь должен иметь компьютер, подключенный к сканеру или связанный с ним, с целью управления сканером и процессом сканирования для получения отсканированных изображений.

[12]

Для работы с серией изображений на подключенном компьютере пользователь должен открывать каждое изображение последовательно, используя программу для редактирования изображений. Пользователь должен вручную произвести кадрирование, устранить наклон, удалить цифровой шум, изменить значение гаммы, придумать имя файла и запустить операцию сохранения, чтобы сохранить изображение в виде компьютерного файла. Такой сценарий повторяется миллионы раз каждый день. Такой сценарий является утомительным, при этом он может быть автоматизирован.

[13]

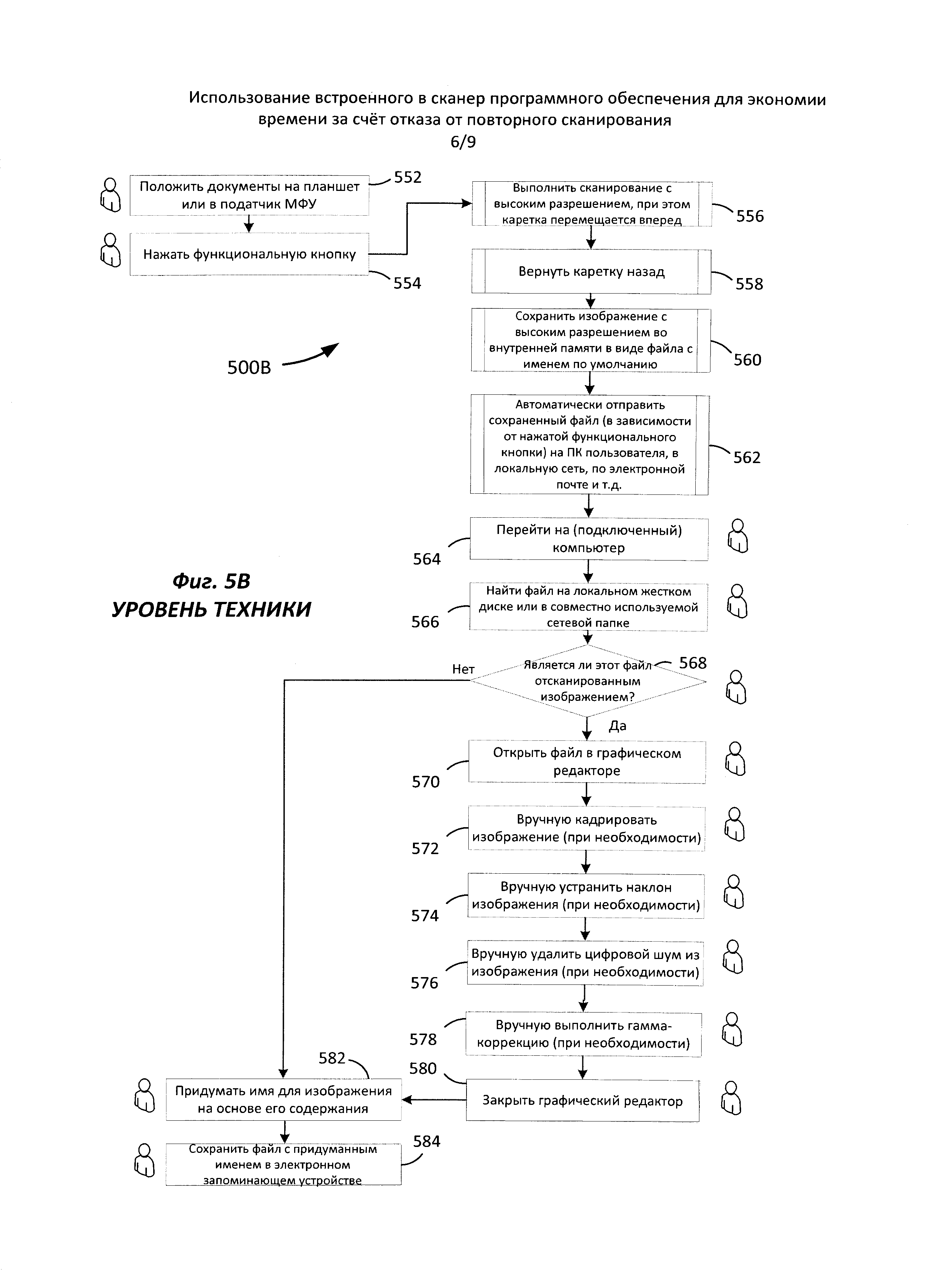
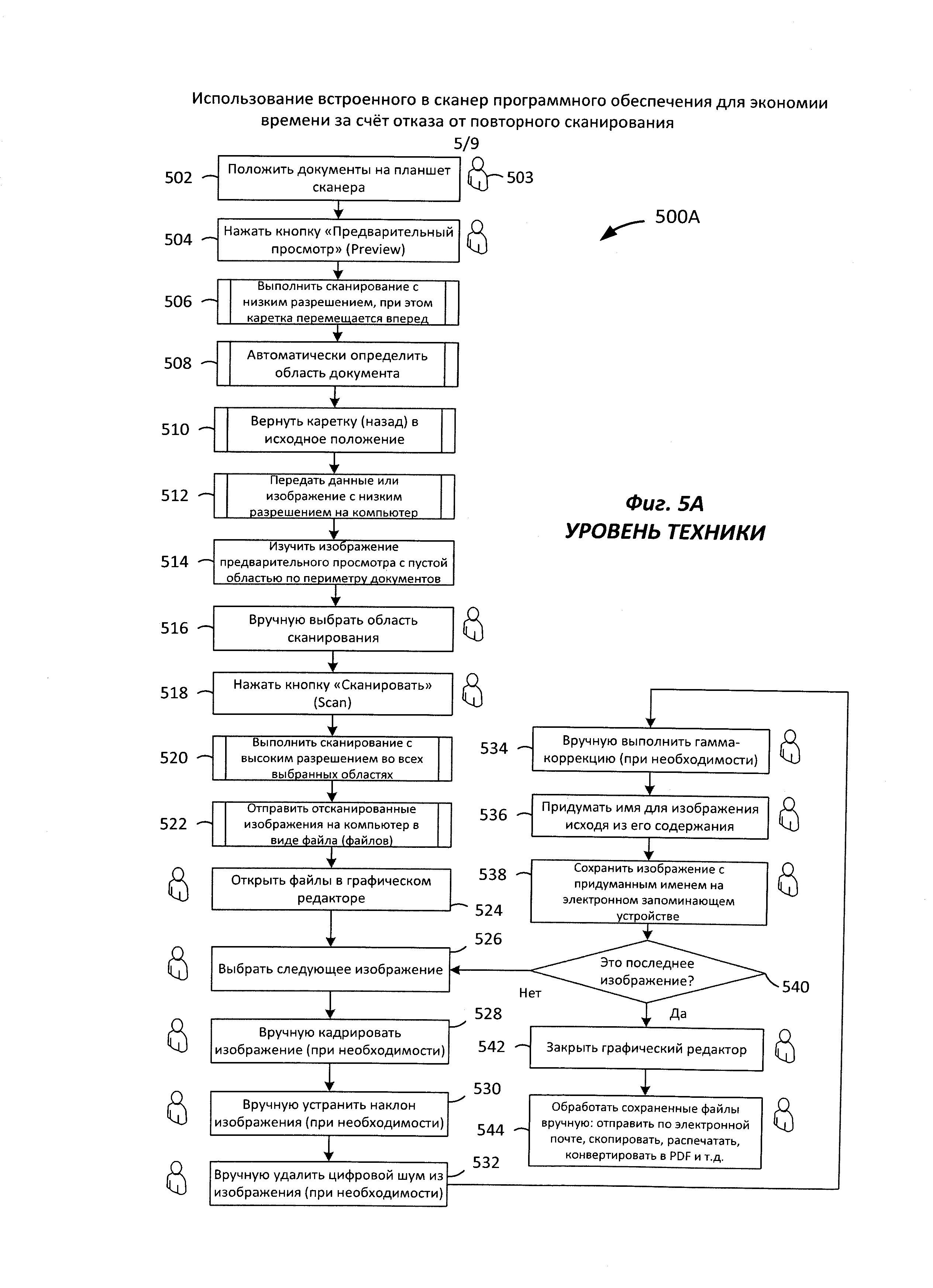
На Фиг. 5А представлена блок-схема способа 500А сканирования документов с помощью планшетного сканера в соответствии с известной методикой. На Фиг. 5А пользователь помещает один или несколько документов на планшет сканера 502. Изображение человека 503 на Фиг. 5А означает, что, как правило, пользователь выполняет этот шаг вручную. После этого пользователь нажимает кнопку предварительного просмотра 504. Каретка сканера активизируется и перемещается вперед вдоль планшета сканера; при этом происходит сканирование планшета, и сканер получает изображение 506 (с низким разрешением). Затем область документа 508 определяется автоматически или программно. Каретка возвращается в исходное положение 510. Изображение с низким разрешением передается в подключенный компьютер 512. Снимок предварительного изображения отображается на дисплее 514, который подключен к компьютеру. Начальная граница или область определяется для всех документов в изображении, захваченном при первом сканировании. Одна или несколько областей для дальнейшего сканирования 516 выбираются вручную. Такой выбор основан на первом изображении или изображении предварительного просмотра, полученном от сканера. Затем пользователь нажимает кнопку сканирования 518 или использует иной элемент программного обеспечения, который инициирует окончательное (не предварительное)сканирование.

[14]

В ответ сканер выполняет сканирование (с высоким разрешением) всех выбранных областей 520. Изображения или файлы передаются в подключенный компьютер 522. Обычно пользователь открывает изображения в графическом редакторе 524 - по меньшей мере для того, чтобы убедиться, что качество захваченных изображений достаточно для его целей. Пользователь последовательно работает с полученными снимками, например, выбирая следующее изображение 526. Часто пользователь вручную кадрирует изображения, захваченные с более высоким разрешением 528, вручную устраняет наклон изображений 530, вручную удаляет шумы из изображения 532 и вручную выполняет гамма-коррекцию изображений 534. Затем пользователь должен придумать имя файла для каждого файла 536 и сохранить каждый файл на электронном запоминающем устройстве 538. Как правило, пользователь работает с изображениями последовательно, пока каждое изображение не будет сохранено. Если изображение является последним 540, то пользователь закрывает редактор изображений 542 и далее вручную обрабатывает сохраненные изображения 544: выполняет OCR для одного или нескольких изображений, отправляет изображения с помощью почтового клиента, печатает изображения и передает изображения для совместного использования на сайт социальной сети.

[15]

Если пользователь работает с МФУ, то он не может выполнить предварительный просмотр. В этом случае пользователь нажимает функциональную кнопку на МФУ, например, выбирает кнопку или пункт меню, соответствующие команде «Сканировать в папку» или «Сканировать и отправить по электронной почте». Кроме того, как правило, пользователь должен произвести настройку или выбрать один или несколько параметров МФУ. Например, пользователь должен выбрать целевую папку в локальной сети или задать адрес электронной почты и выбрать необходимые настройки, связанные с ранее упомянутыми функциями.

[16]

Как правило, когда пользователь нажимает функциональную кнопку, МФУ перемещает каретку из вдоль планшета, при этом лампа каретки включена. МФУ сканирует всю площадь планшета и создает один электронный образ с высоким разрешением. Затем каретка возвращается в исходное положение. В этот момент лампа на каретке выключена, и сканирование не производится.

[17]

В этом сценарии пользователь не имеет возможности рассмотреть результат первоначального сканирования, просмотреть результаты сканирования МФУ или выбрать для сканирования область, отличную от всего планшета МФУ. Вместо этого ему приходится использовать компьютер, чтобы просмотреть отсканированное изображение, которое было сохранено или отправлено по электронной почте из МФУ. После просмотра этого изображения пользователь может затем кадрировать, устранить наклон, произвести OCR или выполнить другие операции с изображением. При этом, если сканировалась книга, и при сканировании не удалось захватить необходимую часть бумажного документа, то пользователь должен вернуться к МФУ, чтобы снова произвести сканирование.

[18]

На Фиг. 5В показана блок-схема последовательности операций способа 500В для сканирования документов с помощью многофункционального устройства или многофункционального принтера (МФУ) в соответствии с известной методикой. На Фиг. 5В пользователь помещает один или несколько документов на планшет или в податчик МФУ 552. Затем пользователь нажимает или выбирает функциональную кнопку 554. Каретка сканера активизируется, и сканер (или подключенный компьютер) получает изображение с высоким разрешением 556. Затем каретка возвращается в исходное положение 558. Обычно изображение с высоким разрешением сохраняется на внутреннем электронном накопителе. Изображение сохраняется с используемым по умолчанию или общим серийным именем 560. Изображение или файл 562 передается в соответствии с функцией, связанной с функциональной кнопкой, которая была выбрана ранее. Далее пользователь переходит на компьютер, например, на персональный компьютер или компьютер, подключенный к МФУ 564 по сети. Пользователь должен найти файл на локальном жестком диске или в другом месте, например, в общей сетевой папке, связанной с МФУ 566. После этого пользователь должен определить, является ли конкретный файл изображением или набором изображений, соответствующих бумажным документам, которые он первоначально положил в МФУ 568.

[19]

Когда эти изображения найдены, пользователь обычно открывает изображения в графическом редакторе 570 - по меньшей мере для того, чтобы убедиться, что качество захваченных изображений достаточно для его целей. Часто (но не в каждом случае) пользователь вручную кадрирует изображения 572, вручную устраняет наклоны изображений 574, вручную удаляет шумы из изображений 576 и вручную выполняет гамма-коррекцию изображений 578. Пользователь может закрыть редактор изображений 580. Затем пользователь должен придумать имя файла для каждого файла 582 на основании его содержания и сохранить каждый файл в соответствии с придуманным именем файла на цифровом запоминающем устройстве 584. Как правило, пользователь работает с изображениями последовательно, пока каждое изображение не будет сохранено. После завершения присвоения имен файлам пользователь может дополнительно вручную обработать сохраненные изображения, например, выполнив OCR одного или нескольких изображений, отправив изображения с помощью почтового клиента, распечатав изображения и передав изображения для совместного использования на сайт социальной сети.

[20]

При этом имеется возможность существенного улучшения трудоемкого процесса сканирования бумажных документов и работы с изображениями таких документов.

[21]

РАСКРЫТИЕ ИЗОБРЕТЕНИЯ

[22]

Приведено описание способов и устройств для обнаружения границ документов в планшетных и многофункциональных сканерах при первом проходе узла каретки и последующем сканировании с высоким разрешением при втором проходе. Затем изображения документов с высоким разрешением можно получить без операций или практически без операций, обычно необходимых для выявления необходимых областей на планшете сканера. Текстуры на крышке сканера облегчают не только выявление краев документа, но и определение ориентации текста и других объектов, а также обработку изображений в рамках подготовки к OCR и связанных с ним функций. Некоторые функции, например, связанные с OCR, могут быть автоматизированы. Например, изображения и электронные файлы, полученные из бумажных документов, могут автоматически кадрироваться, в них может устраняться наклон, производиться оптическое распознавание символов и последовательное присвоение имен в соответствии с содержанием или другой информацией, полученной из бумажных документов.

[23]

Любая из множества текстур может использоваться для нанесения на крышку сканера. Текстура может представлять собой изображение, содержащее один или несколько фрагментов либо циклически повторяющихся узоров или текстур. Например, текстура может представлять собой стандартную сетку из сплошных линий, множество полос, идущих параллельно планшету сканера, два множества параллельных линий, набор линий с неравными интервалами между ними, последовательность штрихов или точек, либо всевозможные конфигурации, составленные из одной или нескольких фигур.

[24]

КРАТКОЕ ОПИСАНИЕ ЧЕРТЕЖЕЙ

[25]

Признаки настоящего изобретения изложены в прилагаемой формуле изобретения. Однако настоящее изобретение, вместе с его целями и преимуществами, будет более понятно из приведенного ниже описания предпочтительных вариантов осуществления, которое следует рассматривать совместно с прилагаемыми чертежами. Во всем описании одинаковые числа относятся к схожим элементам, причем первая цифра обычно означает чертеж, который впервые иллюстрирует конкретный элемент.

[26]

На Фиг. 1 приведено перспективное изображение планшетного сканера, соответствующего известному уровню техники.

[27]

На Фиг. 2 приведено перспективное изображение планшетного сканера в соответствии с одним из вариантов реализации настоящего изобретения для планшетных сканеров.

[28]

На Фиг. 3 показана схема расположения документов (например, чеков, визитных карточек), лежащих на планшете планшетного сканера, например, сканера, изображенного на Фиг. 2.

[29]

На Фиг. 4 показаны различные текстуры для крышки или фона сканера в соответствии с различными вариантами осуществления.

[30]

На Фиг. 5А приведена блок-схема последовательности операций для способа сканирования документов планшетным сканером в соответствии с обычной методикой.

[31]

На Фиг. 5В показана блок-схема последовательности операций для способа сканирования документов с помощью многофункционального устройства или многофункционального принтера (МФУ) в соответствии с обычной методикой.

[32]

На Фиг. 6 показан пример реализации способа для сканирования документа в соответствии с вариантом осуществления настоящего изобретения.

[33]

На Фиг. 7 приведена таблица, иллюстрирующая различия между обычными методами сканирования и сканированием в соответствии с вариантом реализации настоящего изобретения.

[34]

На Фиг. 8 показан пример оборудования (компьютер), которое может быть подключено к сканеру для реализации процедур настоящего изобретения в электронном устройстве в соответствии с вариантом реализации настоящего изобретения.

[35]

ОПИСАНИЕ ПРЕДПОЧТИТЕЛЬНЫХ ВАРИАНТОВ ОСУЩЕСТВЛЕНИЯ

[36]

В широком смысле варианты осуществления и методы настоящего изобретения относятся к способам уменьшения затрат времени, ресурсов и мощности, связанных с работой сканера или многофункционального принтера (МФУ) или другого устройства, имеющего возможность сканирования и захвата изображения, при получении изображения с бумажных документов. Кроме того, некоторые функции могут быть автоматизированы.

[37]

На Фиг. 2 показан пример сканера 200 в соответствии с вариантом осуществления настоящего изобретения для сканирования одного или нескольких бумажных документов 102. На Фиг. 2 сканер 200 содержит корпус сканера 104, стеклянную пластину или планшет 106 и крышку 108. На крышке 108 имеется фон 202, на который нанесена текстура, паттерн или узор вместо равномерно сплошного белого или сплошного черного фона. В процессе работы крышку 108 желательно держать закрытой. Фон 202 предоставляет возможности для более интеллектуального выполнения операций сканирования.

[38]

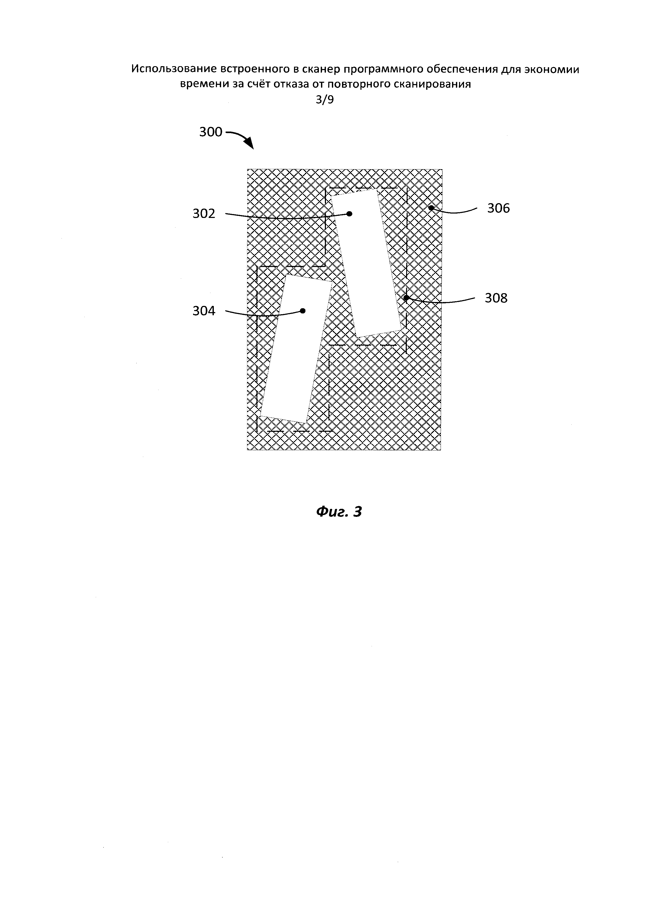
На Фиг. 3 показана схема расположения документов (например, чеков, визитных карточек), лежащих на планшете планшетного сканера, например, сканера, изображенного на Фиг. 2. На Фиг. 3 показаны два обособленных представления документов 302 и 304, которые находятся на планшете 106. Также фон с нанесенной текстурой виден позади, вне очертаний документа (документов), лежащих на планшете сканера. Представленные документы 302 и 304 показаны пустыми только для иллюстрации. Кроме того, для иллюстрации фон с нанесенной текстурой 306 показан с однородной текстурой. Однако, как подробно описано далее, это не является обязательным требованием к фону с нанесенной текстурой 306. На практике документы, представленные в виде 302 и 304, могут представлять собой любой документ или другой тип физического документа или объекта, который может быть просканирован в сканере 200. Документы 302 и 304 показаны лежащими с наклоном на планшете 106, чтобы проиллюстрировать, что изобретение применимо к документам, произвольно расположенным или ориентированным по отношению к планшету сканера. Сканер 200 или подключенный к нему компьютер (не показан на Фиг. 3) может быть запрограммирован таким образом, чтобы выявить область кадрирования 308 вокруг представления одного документа 302, представлений обоих документов 302 и 304 или вокруг отдельных представлений документов 302 и 304, даже если представления документов 302 и 304 перекрываются по вертикали.

[39]

В процессе работы сканер 200 производит начальное сканирование планшета 106 с низким разрешением. Такое первоначальное сканирование может производиться быстро. Сразу после этого сканер 200 может получить или выявить область кадрирования 308. Затем вместо того, чтобы ожидать дальнейшего взаимодействия с пользователем, сканер 200 или подключенный к нему компьютер (то есть программное обеспечение или часть операционной системы, работающей на компьютере) может сразу произвести сканирование с высоким разрешением или второе сканирование изображения с использованием информации, текстуры или данных, полученных за счет фона с нанесенной на него текстурой 306. При этом не требуется, чтобы каретка сканера (не показана) вернулась в исходное положение. За один проход (туда и обратно), то есть за проход вперед и проход назад сканера 200 можно получить изображение с высоким разрешением или изображение, подготовленное для дальнейшей обработки без ручного вмешательства со стороны пользователя. После первоначального прохода и после выявления представляющих интерес областей сканер 200 может просканировать одну или несколько областей, таких как область кадрирования 308, которая, скорее всего, будет содержать один или несколько документов, предназначенных для захвата или сканирования. При последующей обработке пользователь или набор программных команд могут кадрировать изображение и выполнять прочие действия с изображением (изображениями) с высоким разрешением.

[40]

На Фиг. 4 показаны различные текстуры для крышки или фона сканера в соответствии с различными вариантами осуществления. На Фиг. 4 согласно одному из вариантов осуществления текстура представляет собой изображение, которое содержит один или несколько фрагментов либо циклически повторяющихся узоров или текстур. Например, текстура может представлять собой стандартную сетку 402, образованную сплошными линиями, проходящими с равным интервалом перпендикулярно друг другу, причем ее квадраты ориентированы так же, как планшет сканера (не показан на Фиг. 4). В другом варианте реализации текстура может представлять собой множество напечатанных точек малого диаметра 404. В другом варианте реализации текстура представляет собой набор линий, образующих обычную сетку, ориентированную под произвольным углом по отношению к планшету сканера (406). В еще одном примере реализации текстура образована двумя множествами параллельных линий 408, причем внутри каждого из множеств линии параллельны друг другу, но расположены с разными интервалами. Кроме того, каждый набор линий ориентирован под произвольным углом по отношению к другому набору линий. В еще одном варианте реализации текстура может представлять собой ряд штрихов, точек, крестов, кругов, углов и/или других фигур 410, расположенных в одном или нескольких направлениях либо вдоль одной или нескольких линий или контуров. В другом примере реализации текстура представляет собой случайное или близкое к случайному множество фигур (например, точек, штрихов, квадратов, прямоугольников), расположенных на крышке сканера 108 с достаточно большими интервалами. В еще одном примере реализации текстура содержит штрихи, точки, кресты, круги, углы и/или другие фигуры, расположенные с большей плотностью по мере радиального или линейного приближения к центру поверхности сканирования и с меньшей плотностью у ее краев. При такой реализации команды программы могут определить положение документа по отношению к поверхности сканирования.

[41]

В общем случае текстура может быть аналогична бумаге, расчерченной в клетку, в линейку или по диагонали. Все элементы текстуры могут быть одного цвета или разных цветов. Элементы могут быть напечатаны, нанесены краской, закреплены на крышке сканера с помощью клея или любым другим способом, либо сформованы в пластмассе, металле или в другом материале крышки сканера. Текстура может располагаться на отдельной пластине или листах, которые помещаются поверх или позади сканируемых объектов.

[42]

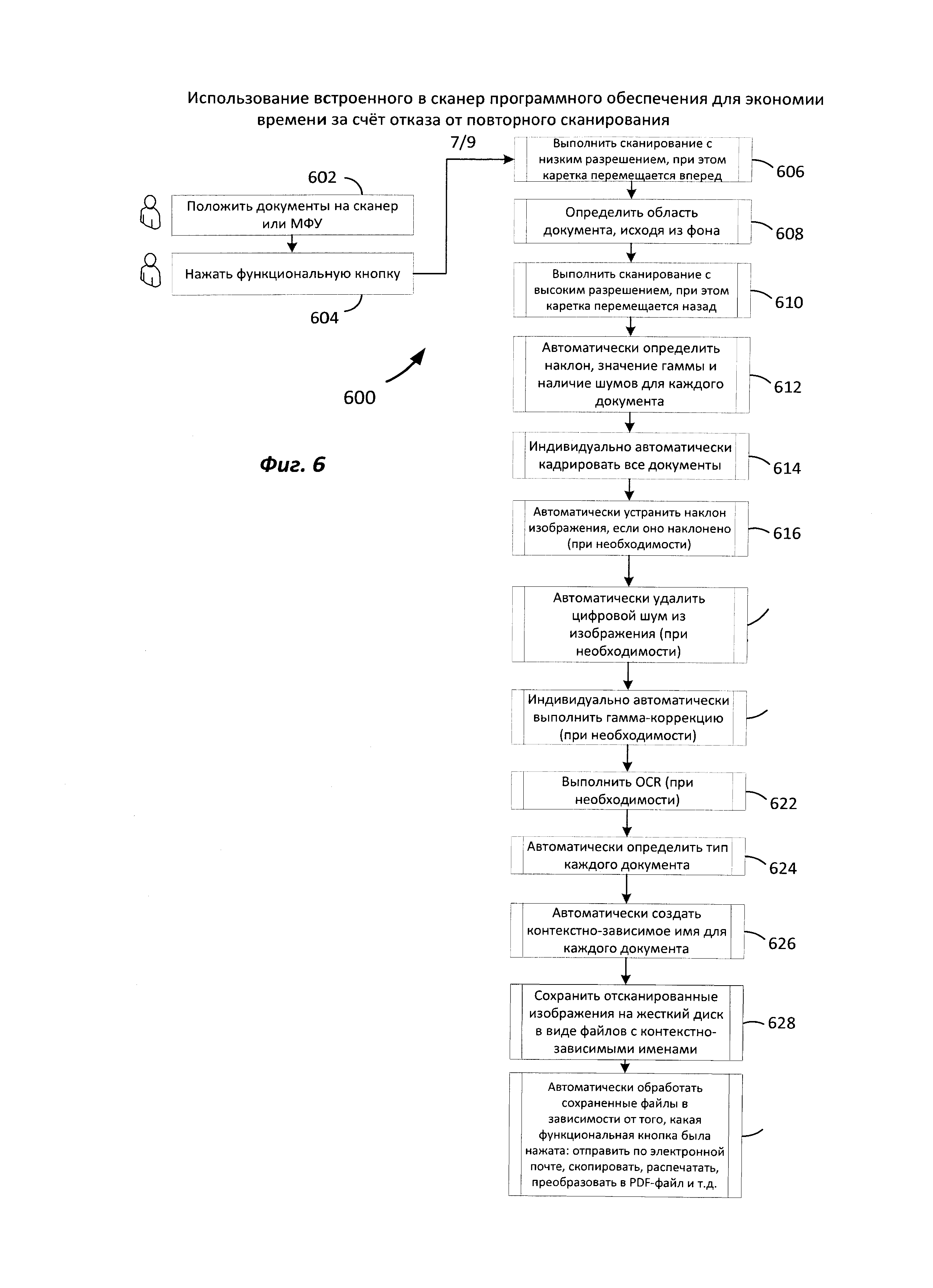
В отличие от фигур 5А и 5В, на Фиг. 6 показан пример реализации способа сканирования документа в соответствии с вариантом реализации настоящего изобретения. В этом варианте осуществления на шаге 602 пользователь сначала помещает один или несколько документов на планшет сканера или МФУ. Затем пользователь нажимает функциональную кнопку на шаге 604, например, кнопку "SCAN" (Сканировать). Сканер производит сканирование с низким разрешением, когда его каретка двигается в первом или прямом направлении на шаге 606. Сканер или подключенный компьютер (или комбинация сканера и подключенного компьютера) автоматически (программно) определяет или задает интересующую область или область документа на шаге 608. Во время захвата при сканировании планшетным сканером с низким разрешением точное обнаружение формы, размеров и координат документа может производиться с использованием программного обеспечения или команд, реализованных в МФУ, сканере и/или подключенном компьютере. Такая обработка может производиться во время этапа, который традиционно ассоциируется с предварительным сканированием, пока каретка МФУ или сканера перемещается вперед. Таким образом, задержка для пользователя становится небольшой или же вообще отсутствует, поскольку в любом случае МФУ или сканер должен механически выполнять шаги, связанные с захватом изображения.

[43]

При движении каретки во втором направлении, то есть при возвращении или при движении в обратном направлении, сканер захватывает изображение или производит сканирование с высоким разрешением на шаге 610. Затем для каждого документа автоматически или программно определяются угол наклона, гамма и уровень шума. Все изображения, соответствующие документам на сканере, могут автоматически кадрироваться на этапе 614. Существующий наклон может автоматически исправляться на этапе 616. Шум каждого изображения документа может автоматически регулироваться или удаляться на шаге 618. Поправки к значению гаммы могут автоматически вноситься для каждого документа на шаге 620. Более того, все операции 614, 616, 618, 620 могут выполняться для каждого документа независимо друг от друга. Например, первый документ можно обработать со значением гамма 1,2 с удалением шумов. В то же время второй документ может быть обработан со значением гамма 1,05 без удаления шумов.

[44]

В предпочтительном варианте осуществления на шаге 622 производится оптическое распознавание символов (OCR) для изображений, содержащих текст на изображении. Этот шаг является необязательным, однако он является предшественником других функций. На основании одной или нескольких характеристик изображений каждое изображение или его часть автоматически связывается с определенным типом документа на шаге 624. Так, документ в сканере может быть определен как чек на основании, например, определенных характеристик, таких как номер чека в одном углу области и блок подписи в одной области вблизи края.

[45]

На шаге 626 автоматически формируется контекстно-зависимое имя для каждого изображения. Такое имя может быть получено из текста, распознанного в изображении. Каждое изображение автоматически сохраняется как один или несколько компьютерных файлов на шаге 628. Впоследствии одна или несколько других функций могут быть автоматически выполнены на шаге 630. Например, изображения находящихся в сканере документов можно отправить с помощью протокола электронной почты по одному или нескольким адресам электронной почты. Другой пример - не содержащие текст изображения можно дополнительно сохранить в исходном или несжатом формате, а текстовые документы можно сохранить в виде PDF-файлов. Третий пример - первый документ можно классифицировать как текст, распознать его и сохранить в виде PDF-файла с текстовым слоем. В то же время второй документ можно классифицировать как цветную фотографию и сохранить в виде JPG-файла без распознавания символов.

[46]

Одно из преимуществ этого метода включает сканирование всех документов в сканере за один проход каретки. Для каждого документа необходим только один проход.

[47]

На Фиг. 7 приведена таблица, иллюстрирующая различия между обычными методами сканирования и сканированием в соответствии с вариантом реализации настоящего изобретения. В первой колонке 702 представлен список возможностей. Вторая колонка 704 содержит возможности, связанные с обычным сканированием документов с помощью планшетного сканера. В третьей колонке 706 представлены возможности при обычном сканировании документов с помощью многофункционального устройства с функциями сканера и принтера (МФУ). В четвертой колонке 708 представлены возможности при сканировании документов в соответствии с одним вариантом осуществления настоящего изобретения.

[48]

Далее приведено описание некоторых различий сканирования в планшетных сканерах и МФУ. Одно различие заключается в числе проходов каретки, необходимых для сканирования документов. Только один проход 710 необходим для сканирования нескольких документов, если имеется фон позади документов. Для сравнения - в соответствии с известными способами и без использования фона каретка планшетного сканера или МФУ должна быть приведена в действие повторно..

[49]

Другое отличие заключается в том, что может производиться автоматическое кадрирование всех отсканированных документов 712. В этом заключается отличие от традиционных методов сканирования. В традиционных случаях кадрирование не выполняется вообще или оно должна выполняться вручную на подключенном компьютере с помощью отдельного программного обеспечения или другого программного элемента. Согласно этому изобретению кадрирование выполняется автоматически, с помощью одной или нескольких особенностей фона за помещенным в сканер документом или документами. Сканер может производить автоматическое кадрирование. Один из вариантов осуществления автоматического кадрирования включает следующее: определение одной или нескольких особенностей в фоне, обнаружение краев каждого документа в изображении, полученном с планшетного сканера, определение координат, связанных с краями каждого документа, и выполнение операции кадрирования, например, путем сохранения каждой уменьшенной области, связанной с соответствующим документом, в качестве электронного изображения или файла. Автоматическое кадрирование может производиться командами программного обеспечения, встроенного программного обеспечения или аппаратными командами, реализованными в МФУ или сканере, или с помощью команд программного обеспечения, встроенного программного обеспечения или аппаратных команд, реализованных в компьютере, подключенном к МФУ или сканеру. Другое отличие заключается в том, что может производиться автоматическое устранение наклона для всех отсканированных документов 714. В этом заключается отличие от традиционных методов сканирования. В традиционных случаях автоматическое устранение наклона не может быть выполнено совсем или устранение наклона должно выполняться вручную. В этом изобретении устранение наклона выполняется автоматически, оно облегчается с помощью одной или нескольких особенностей фона, находящегося за документом или документами в сканере. Один вариант осуществления автоматического устранение наклона включает следующее: определение одной или нескольких особенностей фона, обнаружение краев каждого документа в изображении, полученном с планшетного сканера, или определение направления элементов в каждом документе, определение угла наклона для каждого документа и выполнения операции устранения наклона, например, путем поворота каждого изображения для соответствующего документа в соответствии с углом наклона. Угол наклона первого документа может отличаться от угла наклона второго документа, если первый документ и второй документ подвергаются сканированию и размещаются для сканирования на сканере, поскольку первый и второй документы могут быть независимо ориентированы на планшете сканера. Автоматическое устранение наклона может производиться командами программного обеспечения, встроенного программного обеспечения или аппаратными командами, реализованными в МФУ или сканере, или с помощью команд программного обеспечения, встроенного программного обеспечения или аппаратных команд, реализованных в компьютере, подключенном к МФУ или сканеру.

[50]

Другое отличие заключается в том, что может выполняться автоматическое оптическое распознавание символов (OCR) отсканированных документов 716. В этом заключается отличие от традиционных методов сканирования. В традиционных случаях OCR не может выполняться совсем, или OCR должно производиться вручную или на отдельном шаге после кадрирования или иной операции. В данном изобретении OCR может выполняться автоматически, с помощью одной или нескольких особенностей фона за документом или документами в сканере. Один вариант осуществления автоматического распознавания текста включает следующее: определение одной или нескольких особенностей фона, обнаружение краев каждого документа в изображении, полученном с планшетного сканера, или определение направления элементов (строк) в каждом документе, и выполнение операции OCR для каждого документа на основании обнаруженных краев или направлений в учебном документе. Автоматическое OCR может производиться командами программного обеспечения, встроенного программного обеспечения или аппаратными командами, реализованными в МФУ или сканере, или с помощью команд программного обеспечения, встроенного программного обеспечения или аппаратных команд, реализованных в компьютере, подключенном к МФУ или сканеру.

[51]

Другое отличие состоит в том, что может выполняться автоматическое присвоение имен файлам 718. Имя, присваиваемое конкретному документу, предпочтительно включает одно или несколько слов, полученных из тела или содержания этого конкретного документа. В этом заключается отличие от традиционных методов сканирования. В традиционных случаях автоматическое OCR совсем не может быть выполнено или OCR должно производиться вручную. OCR является одним из источников слов, которые могут использоваться для создания имени соответствующего документа или изображения. В данном изобретении автоматическое присвоение имени может выполняться автоматически, оно облегчается с помощью одной или нескольких особенностей фона за документом или документами в сканере. Один вариант осуществления автоматического присвоения имени включает использование фрагментов текста, полученного при выполнении OCR соответствующих документов. Такая реализация включает идентификацию одной или нескольких особенностей фона, определение направления строк в каждом документе, выполнение операции OCR для каждого документа и создание имени для соответствующих документов на основании выходных данных операции OCR. Автоматическое присвоение имени может производиться командами программного обеспечения, встроенного программного обеспечения или аппаратными командами, реализованными в МФУ или сканере, или с помощью команд программного обеспечения, встроенного программного обеспечения или аппаратных команд, реализованных в компьютере, подключенном к МФУ или сканеру.

[52]

Изменение значения гаммы, устранение наклона и очистка изображения являются необязательными операциями. Эти операции могут выполняться для каждого документа отдельно. В традиционных случаях эти операции обычно выполняются вручную, и они не могут быть автоматизированы. В одном случае (при использовании МФУ) эти операции могут выполняться автоматически, но они ограничены выполнением этих операций для всех документов, рассматриваемых вместе как одно изображение. В описываемом изобретении гамма-коррекция, устранение наклона и очистка изображения могут выполняться автоматически, причем они могут выполняться для каждого документа в отдельности. Они могут выполняться командами программного обеспечения, встроенного программного обеспечения или аппаратными командами, реализованными в МФУ или сканере, или с помощью команд программного обеспечения, встроенного программного обеспечения или аппаратных команд, реализованных в компьютере, подключенном к МФУ или сканеру.

[53]

OCR, классификация документов и автоматизированное создание имени файла являются необязательными операциями. Эти операции могут выполняться для каждого документа отдельно. В известных традиционных методиках эти операции должны выполняться вручную. В описываемом изобретении эти операции могут выполняться автоматически. Сканер или МФУ может выполнить любую из этих операций с помощью команд программного обеспечения, встроенного программного обеспечения или аппаратных команд, реализованных в МФУ или сканере, они могут запускаться функциональной клавишей, нажатой в начале осуществления.

[54]

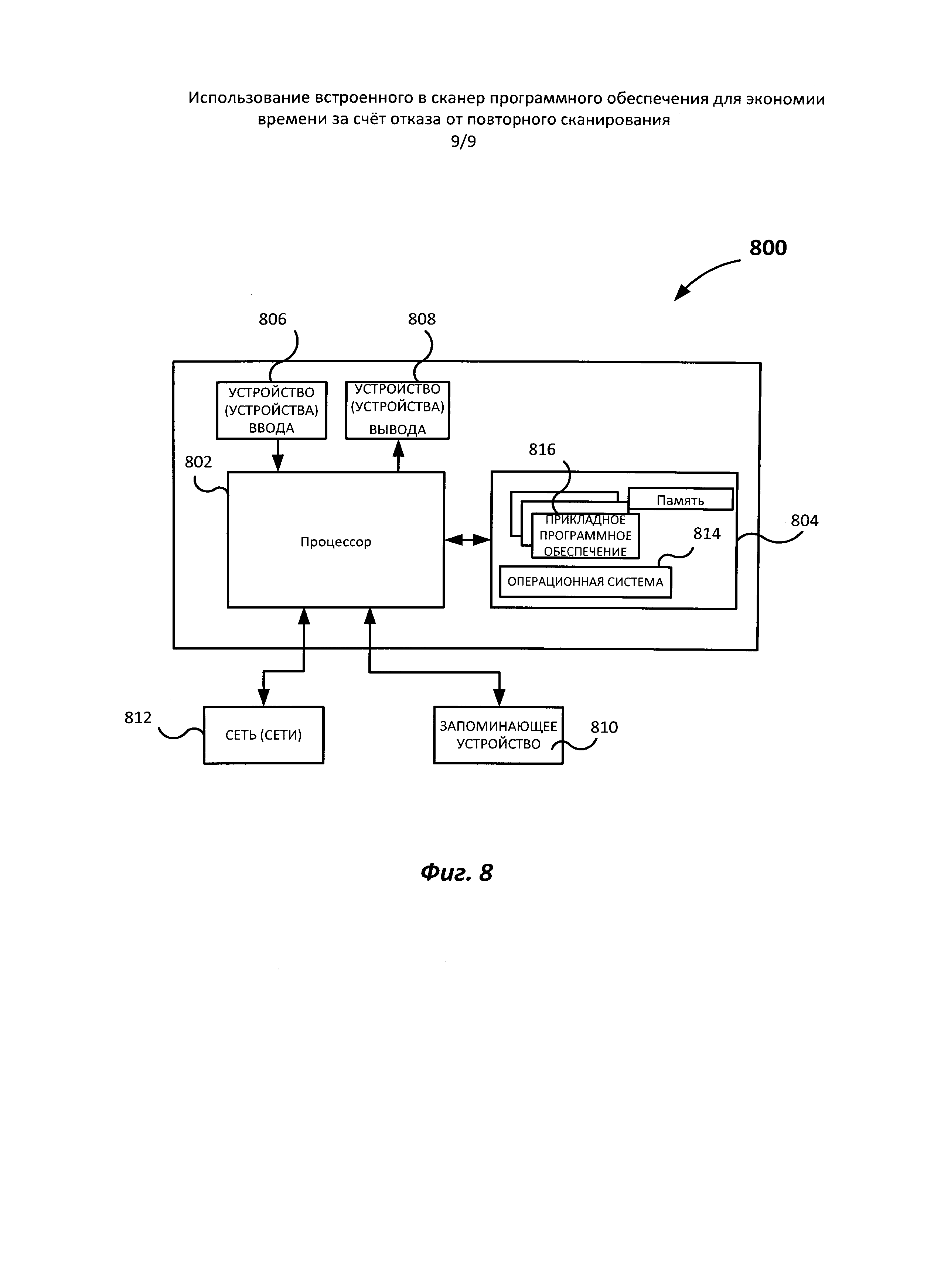
Обратимся теперь к Фиг. 8, на которой показан пример оборудования 800, это оборудование может использоваться для реализации описанных здесь методов в соответствии с вариантом осуществления настоящего изобретения. Оборудование 800 обычно включает по меньшей мере один процессор 802, соединенный с запоминающим устройством 804. Процессор 802 может представлять собой один или несколько процессоров (например, микропроцессоров), а память 804 может представлять собой устройства оперативной памяти (RAM), содержащие основное запоминающее устройство оборудования 800, а также любые дополнительные уровни памяти (например, кэш-память, энергонезависимые или резервные запоминающие устройства, такие как программируемые запоминающие устройства или флэш-накопители), постоянные запоминающие устройства и т.д. Кроме того, память 804 может включать запоминающее устройство, физически расположенное в другом месте оборудования 800, например любую кэш-память в процессоре 802, а также любое запоминающее устройство, используемое в качестве виртуальной памяти, например, запоминающее устройство большой емкости 810.

[55]

Оборудование 800 также обычно имеет несколько входов и выходов для приема информации извне и передачи информации вовне. В качестве пользовательского или операторского интерфейса в системе 800 может применяться одно или несколько устройств пользовательского ввода 806 (таких как клавиатура, мышь, сканер и т.д.) и дисплей 808 (например, жидкокристаллический дисплей). В качестве дополнительной памяти оборудование системы 800 может также включать одно или несколько запоминающих устройств большой емкости 810, например, накопитель на дискете или другом съемном диске, накопитель на жестком диске, запоминающее устройство с прямым доступом (ЗУПД), привод на оптическом диске (например, накопитель на компакт-диске (CD), накопитель на универсальном цифровом диске формата DVD и т.д.) и/или накопитель на магнитной ленте и пр. Кроме того, оборудование 800 может включать интерфейс с одной сетью или несколькими сетями 812 (например, с локальной сетью (LAN), глобальной сетью (WAN), беспроводной сетью и (или) сетью Интернет и т.д.) для обмена информацией с другими компьютерами, подключенными к этим сетям. Следует иметь в виду, что оборудование 800 обычно включает соответствующие аналоговые и (или) цифровые интерфейсы между процессором 802 и каждым из компонентов 804, 806, 808 и 812, что хорошо известно специалистам в данной области.

[56]

Оборудование 800 работает под управлением операционной системы 814, на нем выполняются различные программные приложения, компоненты, программы, объекты, модули и т.д., которые помечены в совокупности ссылкой номер 816 для осуществления описанных выше способов.

[57]

В общем и целом, процедуры, используемые для внедрения варианта осуществления, могут быть использованы в качестве части операционной системы или отдельного приложения, компонента, объекта модуля или последовательности инструкций, именуемых "компьютерными программами". Обычно программы для компьютера содержат один набор команд или несколько наборов команд, записанных в различные моменты времени в различных запоминающих устройствах и системах хранения в компьютере; после считывания и выполнения одним или несколькими процессорами в компьютере эти команды приводят к тому, что компьютер выполняет операции, необходимые для выполнения элементов, связанных с различными аспектами настоящего изобретения. Более того, хотя это изобретение было описано в контексте полностью работоспособных компьютеров и компьютерных систем, специалистам в данной области техники будет понятно, что различные варианты осуществления могут распространяться в виде программного продукта в различных формах, и что это изобретение применимо в равной степени независимо от конкретного типа машины или машиночитаемого носителя, фактически используемых для распространения. Примеры машиночитаемых информационных носителей включают, в том числе перезаписываемые энергозависимые и энергонезависимые устройства памяти, дискеты, внешние и внутренние жесткие диски, оптические диски (CD, DVD) и т.д.

[58]

Несмотря на то, что настоящее изобретение было описано со ссылкой на конкретные варианты его осуществления, очевидно, что в эти варианты можно внести различные модификации и изменения, не отклоняясь от более широкой сущности изобретения.

[59]

Кроме того, специалист в этой области техники может практически осуществить изобретение без предоставленных конкретных деталей.

[60]

Ссылка в этом описании на «один вариант осуществления» или «вариант осуществления» означает, что конкретная особенность, структура или характеристика, описанные в связи с вариантом осуществления, включены по меньшей мере в один вариант осуществления настоящего изобретения. Словосочетания «в одном варианте реализации (осуществления)» в различных местах описания не обязательно относятся к одному и тому же варианту, а отдельные или альтернативные варианты не исключают друг друга. Более того, различные описанные возможности могут быть указаны в некоторых вариантах осуществления и не указаны в других вариантах осуществления. Подобным образом некоторые описанные здесь требования могут относиться к одним вариантам осуществления, но не относиться к другим вариантам осуществления. Соответственно, описание и чертежи следует рассматривать как иллюстрации, а не как ограничения.

Как компенсировать расходы
на инновационную разработку
Похожие патенты