патент
№ RU 2690210
МПК H04L12/66

Модуль сопряжения реальных и виртуальных радиосетей

Авторы:
Харламов Михаил Викторович Андрианов Виталий Александрович Зинков Александр Анатольевич
Все (4)
Номер заявки
2018109796
Дата подачи заявки
13.07.2017
Опубликовано
31.05.2019
Страна
RU
Как управлять
интеллектуальной собственностью
Чертежи 
2
Реферат

Изобретение относится к модулю сопряжения реальных и виртуальных радиосетей. Технический результат заключается в возможности управлять одновременно ходом обучения учащихся, как на виртуальных тренажерах радиосредств, так и на реальных радиосредствах. Модуль сопряжения содержит: персональный компьютер, обеспечивающий обмен информацией с виртуальными радиосетями через интерфейс «Ethernet» и управление радиостанциями путем посылки управляющих сообщений радиостанциям по интерфейсу «USB»; источник питания и ячейку модуля сопряжения. При этом дополнительно введены USB-звуковые карты с возможностью речевого обмена между персональным компьютером и радиостанциями и ячейка основного блока, обеспечивающего обмен управляющей информации от всех радиостанций с персональным компьютером через ячейки модуля сопряжения; выход ячейки основного блока соединен с n ячейками модуля сопряжения, а вход с персональным компьютером; вход ячейки модуля сопряжения соединен с ячейкой основного блока, а выход с радиостанциями диапазонов 30…108 МГц, 146…174 МГц и 390…440 МГц, с возможностью управления радиостанциями и получения данных об их состоянии. 2 ил.

Формула изобретения

Модуль сопряжения реальных и виртуальных радиосетей, содержащий персональный компьютер, обеспечивающий обмен информацией с виртуальными радиосетями через интерфейс «Ethernet» и управление радиостанциями путем посылки управляющих сообщений радиостанциям по интерфейсу «USB»; источник питания и ячейку модуля сопряжения, обеспечивающую управление радиостанцией от персонального компьютера аппаратным ключом с цифровым управлением и прием/передачу речевой информации от/к радиостанции, используя преобразователь симметричного сигнала в несимметричный; виртуальные радиосети и/или виртуальные тренажеры образованы комплексом учебно-тренажерных средств, состоящим из: по крайней мере одного персонального компьютера с обучающим программным обеспечением, сетевого оборудования, многофункционального устройства (МФУ), проектора, экрана, по крайней мере одной гарнитуры высокой шумоизоляции, по крайней мере одного имитатора нагрудного переключателя и, по крайней мере одной вебкамеры; отличающийся тем, что в него дополнительно введены USB-звуковые карты с возможностью речевого обмена между персональным компьютером и радиостанциями и ячейка основного блока, обеспечивающая обмен управляющей информацией от всех радиостанций с персонального компьютера через ячейки модуля сопряжения, преобразуя сигналы интерфейса «RS-232» в «USB» и концентрируя их в одно подключение «USB» через микросхемы; выход ячейки основного блока соединен с n ячейками модуля сопряжения, а вход с персональным компьютером; вход ячейки модуля сопряжения соединен с ячейкой основного блока, а выход с радиостанциями диапазонов 30…108 МГц, 146…174 МГц и 390…440 МГц, с возможностью управления радиостанциями и получения данных об их состоянии.

Описание

[1]

Изобретение относится к области тренажеростроения и может быть использована для обмена речевой информации между виртуальными радиосетями, образованными комплексом учебно-тренировочных средств (КУТС), и реальными радиосетями, образованными радиостанциями УКВ-диапазона, в том числе и в Комплексах сопряжения реальных и виртуальных радиосетей.

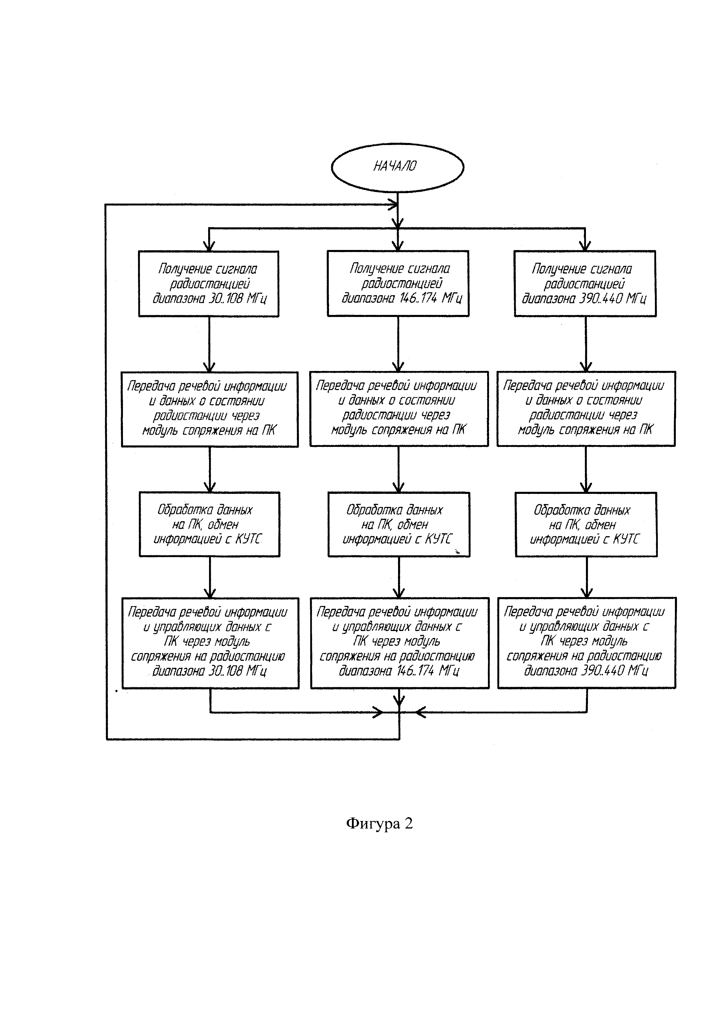
[2]

Известен Блок сопряжения устройства сопряжения двухпроводной линии с радиостанцией УКВ-диапазона (патент №2445744). Изобретение предназначено для обмена информационными сигналами между оборудованием конечных пользователей по различным каналам связи и может быть использовано для обмена сообщениями между оборудованием конечных пользователей и радиостанцией УКВ-диапазона. Технический результат заключается в повышении эффективности передачи информационных сигналов между оборудованием конечного пользователя и каналами связи, входящими в радиостанцию УКВ-диапазона, за счет цифровой обработки информационных сигналов. Для этого блок сопряжения устройства двухпроводной линии с радиостанцией УКВ-диапазона содержит интерфейс сопряжения радиостанции УКВ-диапазона с телефонной линией, телефонный кодек, аудиокодек, сторожевой таймер, ключ переключения радиостанции, микропроцессорный узел обработки информации и преобразователь элекропитания.

[3]

Известен Блок сопряжения устройства сопряжения двухпроводной линии с радиостанцией УКВ-диапазона (патент №102281), содержащий интерфейс сопряжения радиостанции УКВ-диапазона с телефонной линией, телефонный кодек, аудиокодек, сторожевой таймер, ключ переключения радиостанции, микропроцессорный узел обработки информации и преобразователь электропитания, выход которого соединен со входами электропитания интерфейса сопряжения радиостанции УКВ-диапазона с телефонной линией, телефонного кодека, аудиокодека, сторожевого таймера, ключа переключения радиостанции и микропроцессорного узла обработки информации, первая информационная шина которого соединена с первой информационной шиной телефонного кодека, а вторая информационная шина подключена к информационной шине аудиокодека, вторая информационная шина телефонного кодека соединена с информационной шиной интерфейса сопряжения радиостанции УКВ-диапазона с телефонной линией, информационный выход сторожевого таймера подключен к информационному входу микропроцессорного узла обработки информации, информационный выход которого связан с информационным входом ключа переключения радиостанции, выполненного с возможностью подключения к радиостанции, при этом информационные выводы аудиокодека выполнены с возможностью соединения с информационными выводами радиостанции.

[4]

Известно Устройство сопряжения ультракоротковолновой радиолинии с линией цифровой автоматической телефонной станции (патент №121112), содержащее ультракоротковолновую радиолинию, предназначенную для функционирования в режиме РТТ полудуплексном стандарте голосовой связи с двусторонним радиоинтерфейсом и возможностью передачи сигнала одновременно только в одном направлении, линию цифровой автоматической телефонной станции, предназначенную для приема и передачи протокола интерфейса Е&М, резистор, транзистор, две диодные оптопары, каждая из которых имеет излучающий диод и фотодиод, катоды излучающих диодов оптопар объединены и через резистор подсоединены к источнику постоянного напряжения, аноды излучающих диодов оптопар объединены и служат для подсоединения линией к выходу цифровой автоматической телефонной станции, анод фотодиода первой диодной оптопары заземлен, а его катод служит для подсоединения к ультракоротковолновой радиолинии, катод фотодиода второй диодной пары заземлен, его анод подсоединен к базе транзистора, коллектор которого заземлен, а эмиттер транзистора служит для подсоединения линией к входу цифровой автоматической телефонной станции. Объединенные аноды излучающих диодов оптопар подсоединены через этот светодиод линией к выходу цифровой автоматической телефонной станции.

[5]

Наиболее близким по технической сущности к заявленного изобретения является Устройство сопряжения персонального компьютера с внешними устройствами имитации радиолокационной обстановки для управления информацией с пультов операторов (патент №155520), содержащее коммутатор, передающие усилители команд, отличающееся тем, что введены блок микроконтроллера согласования с USB-портом персонального компьютера, приемные усилители данных и передающие усилители данных, регистр данных от внешнего устройства, регистр команд от внешнего устройства, регистр данных на внешнее устройство, регистр команд от внешнего устройства, приемные усилители команд и передающие усилители команд; при этом первый вход-выход коммутатора соединен со вторым входом-выходом блока микроконтроллера согласования с USB-портом, второй вход коммутатора соединен с третьим выходом блока микроконтроллера согласования с USB-портом, третий вход коммутатора соединен с первым выходом регистра данных от внешнего устройства, второй вход которого соединен с первым выходом приемных усилителей данных, второй вход которых соединен с первым выходом шины внешнего устройства, четвертый вход коммутатора соединен с первым выходом регистра команд от внешнего устройства, второй вход которого соединен с первым выходом приемных усилителей команд, второй вход которых соединен со вторым выходом шины внешнего устройства; при этом пятый выход коммутатора соединен с первым входом регистра данных на внешнее устройство, второй выход которого соединен с первым входом передающих усилителей данных, второй выход которых соединен с третьим входом шины внешнего устройства; при этом шестой выход коммутатора соединен с первым входом регистра команд на внешнее устройство, второй выход которого соединен с первым входом передающих усилителей команд, второй выход которых соединен с четвертым входом шины внешнего устройства; при этом первый вход-выход блока микроконтроллера согласования с USB-портом соединен с входом-выходом последовательного USB-порта персонального компьютера.

[6]

Модуль сопряжения реальных и виртуальных радиосетей обеспечивает:

[7]

- обмен речевой информации между виртуальными радиосетями, образованными комплексом учебно-тренажерных средств (КУТС), и реальными радиосетями, образованными радиостанциями диапазона 30…108 МГц;

[8]

- обмен речевой информации между виртуальными радиосетями, образованными комплексом учебно-тренажерных средств (КУТС), и реальными радиосетями, образованными радиостанциями диапазона 146…174 МГц;

[9]

- обмен речевой информации между виртуальными радиосетями, образованными комплексом учебно-тренажерных средств (КУТС), и реальными радиосетями, образованными радиостанциями диапазона 390…440 МГц;

[10]

- вывод состояния подключенных к модулю сопряжения десяти радиостанций диапазона 30…108 МГц, 146…174 МГгц и 390…440 МГц после диагностики на монитор ПК;

[11]

- возможность управления с ПК десятью радиостанциями диапазона 30…108 МГц, 146…174 МГц и 390…440 МГц, подключенными к модулю сопряжения радиостанциями (оперативная смена частоты без запоминания, управление режимом «техническое маскирование» («ТМ»), передачу тонального вызова, переключение радиосредств в режим передачи или приема);

[12]

- возможность соединить в общую радиосеть КУТС и реальные радиосредства для совместного обучения учащихся, как на виртуальных тренажерах радиосредств, так и на реальных радиосредствах диапазона 30…108 МГц, 146…174 МГц и 390…440 МГц;

[13]

- возможность управлять радиостанциями диапазона 30…108 МГц, 146…174 МГц и 390…440 МГц;

[14]

- возможность работы от сети 220 В.

[15]

Технический результат, достигаемый изобретением, заключается в возможности управлять одновременно ходом обучения учащихся, как на виртуальных тренажерах радиосредств, образованных комплексом учебно-тренажерных средств, так и на реальных радиосредствах диапазона 30…108 МГц, 146…174 МГц и 390…440 МГц посредствам радиосвязи.

[16]

Виртуальные радиосети и/или виртуальные тренажеры создаются комплексом учебно-тренажерных средств, который состоит из персональных компьютеров (ПК) различных конфигураций (количество и конфигурация зависит от варианта исполнения) с установленным обучающим программным обеспечением, сетевого оборудования, многофункционального устройства (МФУ), проектора, экрана, гарнитур высокой шумоизоляции (количество зависит от варианта исполнения), имитаторов нагрудного переключателя (количество зависит от варианта исполнения), вебкамер (количество зависит от варианта исполнения).

[17]

Технический результат достигается тем, что в Модуль сопряжения реальных и виртуальных радиосетей, содержащий персональный компьютер, обеспечивающий обмен информации с виртуальными радиосетями через интерфейс «Ethernet» и управление радиостанциями путем посылки управляющих сообщений радиостанциям по интерфейсу «USB»; источник питания и ячейку модуля сопряжения, обеспечивающую управление радиостанцией от ПК аппаратным ключом с цифровым управлением и прием/передачу речевой информации от/к радиостанции, используя преобразователь симметричного сигнала в несимметричный; виртуальные радиосети и/или виртуальные тренажеры образованы комплексом учебно-тренажерных средств, состоящим из: по крайней мере, одного персонального компьютера с обучающим программным обеспечением, сетевого оборудования, многофункционального устройства (МФУ), проектора, экрана, по крайней мере, одной гарнитуры высокой шумоизоляции, по крайней мере одного имитатора нагрудного переключателя и, по крайней мере одной вебкамеры; дополнительно введены USB-звуковые карты с возможностью речевого обмена между персональным компьютером и радиостанциями и ячейка основного блока, обеспечивающего обмен управляющей информации от всех радиостанций с ПК через ячейки модуля сопряжения, преобразуя сигналы интерфейса «RS-232» в «USB» и концентрируя их в одно подключение «USB» через микросхемы; выход ячейки основного блока соединен с n ячейками модуля сопряжения, а вход с персональным компьютером; вход ячейки модуля сопряжения соединен с ячейкой основного блока, а выход с радиостанциями диапазонов 30…108 МГц, 146…174 МГц и 390…440 МГц, с возможностью управления радиостанциями и получения данных об их состоянии.

[18]

На фигуре 1 представлена структурная схема Модуля сопряжения реальных и виртуальных радиосетей, где:

[19]

1 - радиостанция диапазона 30…108 МГц;

[20]

2 - радиостанция диапазона 146…174 МГц;

[21]

3 - радиостанция диапазона 390…440 МГц;

[22]

4 - ячейка сопряжения;

[23]

5 - ячейка основного блока;

[24]

6 - источник питания;

[25]

7 - персональный компьютер.

[26]

На фигуре 2 представлен алгоритм работы программного обеспечения.

[27]

Каждая ячейка модуля сопряжения подключается к любой из радиостанций диапазона 30…108 МГц, либо 146…174 МГц, либо 390…440 МГц кабелями, и обеспечивает:

[28]

- управление радиостанцией по интерфейсу «RS232» по командам от персонального компьютера через ячейку основного блока;

[29]

- обмен информации с реальными радиосетями;

[30]

- обеспечивает речевой обмен персонального компьютера и радиостанции.

[31]

На ячейках модуля сопряжения реализована USB - звуковая карта, что обеспечивает возможность подключения к радиостанциям по стыку тональной частоты («ТЧ») для речевого обмена, а к персональному компьютеру - по интерфейсу «USB». Ячейки модуля сопряжения подключены к ячейке основного блока, который в свою очередь подключен к персональному компьютеру по интерфейсу «USB», источник питания подключается к ячейке основного блока и обеспечивает питание всех ячеек. На персональном компьютере установлено программное обеспечение для передачи/получения речевой информации от радиостанции через ячейки модуля сопряжения.

Как компенсировать расходы
на инновационную разработку
Похожие патенты