патент
№ RU 2597303
МПК E21B43/247

СПОСОБ РАЗРАБОТКИ ЗАЛЕЖИ ВЫСОКОВЯЗКОЙ НЕФТИ И БИТУМА

Авторы:
Зиятдинов Радик Зяузятович
Номер заявки
2015136426/03
Дата подачи заявки
27.08.2015
Опубликовано
10.09.2016
Страна
RU
Как управлять
интеллектуальной собственностью
Чертежи 
2
Реферат

Изобретение относится к нефтегазодобывающей промышленности и предназначено для разработки залежи высоковязкой нефти и битума путем нагревания. Технический результат - повышение эффективности прогревания залежи, увеличение охвата залежи прогреванием, повышение объемов отбора нефти и битума, надежность способа. Способ разработки залежи высоковязкой нефти и битума включает разбуривание залежи двумя технологическими скважинами и добывающей скважиной с горизонтальными стволами, установку в горизонтальные стволы технологических скважин электродов, соединение электродов с электрической подстанцией на устье скважины, спуск в горизонтальный ствол добывающей скважины электроцентробежного насоса, прогрев залежи электрическим током с помощью установленных в горизонтальных стволах технологических скважин электродов, отбор разогретых нефти и битума из залежи электроцентробежным насосом из горизонтального ствола добывающей скважины. Первоначально бурят как минимум одну добывающую и одну нагревательную скважины с горизонтальными стволами, расположенными параллельно и друг под другом на расстоянии 15 м. Затем в верхнем горизонтальном стволе нагревательной скважины производят гидравлический разрыв пласта с образованием продольной трещины с последующим ее креплением токопроводящим материалом. Затем перпендикулярно начальному участку горизонтального ствола нагревательной скважины бурят первую технологическую скважину с горизонтальным стволом, а перпендикулярно конечному участку горизонтального ствола нагревательной скважины бурят вторую технологическую скважину с горизонтальным стволом,

Формула изобретения

Способ разработки залежи высоковязкой нефти и битума, включающий разбуривание залежи двумя технологическими скважинами и добывающей скважиной с горизонтальными стволами, установку в горизонтальные стволы технологических скважин электродов, соединение электродов с электрической подстанцией на устье скважины, спуск в горизонтальный ствол добывающей скважины электроцентробежного насоса, прогрев залежи электрическим током с помощью установленных в горизонтальных стволах технологических скважин электродов, отбор разогретых нефти и битума из залежи электроцентробежным насосом из горизонтального ствола добывающей скважины, отличающийся тем, что первоначально бурят как минимум одну добывающую и одну нагревательную скважины с горизонтальными стволами, расположенными параллельно и друг под другом на расстоянии 15 м, затем в верхнем горизонтальном стволе нагревательной скважины производят гидравлический разрыв пласта с образованием продольной трещины с последующим ее креплением токопроводящим материалом, затем перпендикулярно начальному участку горизонтального ствола нагревательной скважины бурят первую технологическую скважину с горизонтальным стволом, а перпендикулярно конечному участку горизонтального ствола нагревательной скважины бурят вторую технологическую скважину с горизонтальным стволом, причем горизонтальные стволы технологических скважин размещают в пределах трещин гидравлического разрыва пласта, затем между технологическими скважинами параллельно их вертикальным стволам и перпендикулярно горизонтальным стволам пары нагревательной и добывающей скважин бурят две дополнительные добывающие скважины, горизонтальные стволы дополнительных добывающих скважин размещают параллельно и между верхним и нижним горизонтальными стволами нагревательной и добывающей скважин, в качестве электродов, спускаемых в скважину, используют колонны насосных штанг, оснащают нижний горизонтальный ствол добывающей скважины и горизонтальные стволы дополнительных добывающих скважин электроцентробежными насосами, осуществляют прогрев залежи с помощью верхнего горизонтального ствола нагревательной скважины, а отбор разогретых нефти и битума осуществляют с помощью электроцентробежных насосов через нижний горизонтальный ствол добывающей скважины и горизонтальные стволы дополнительных добывающих скважин.

Описание

[1]

Предложение относится к нефтегазодобывающей промышленности и предназначено для разработки залежи высоковязкой нефти и битума путем нагревания.

[2]

Известен способ разработки залежи высоковязкой нефти и битума (Вахитов Г.Г., Симкин Э.М. Использование физических полей для извлечения нефти из пластов. - М.: Недра, 1985, с. 192-194), включающий воздействие электрическим полем на пласт через скважины.

[3]

Недостатком способа является низкая эффективность разработки залежи высоковязкой нефти и битума из-за недостаточного охвата пласта электрическим полем и прогреванием.

[4]

Известен способ разработки залежи высоковязкой нефти и битума (патент RU №2418163, МПК E21B 43/24, опубл. 10.05.2011 г., бюл. №13), включающий строительство скважины с подземной емкостью, вскрытие пласта горизонтальными скважинами, устья которых обвязаны через дистанционно управляемые задвижки и коллектор с подземной емкостью, прогрев пласта, сбор продукции в подземной емкости и ее откачку на поверхность насосами, при этом прогрев пласта для приведения его продукции в текучее состояние осуществляют комбинированным воздействием электромагнитных и акустических полей, создаваемых излучателями, помещенными в горизонтальные скважины с возможностью периодического перемещения и соединенными через устьевые уплотнители и соответствующие линии передач внутри скважины с наземными генераторами высокочастотных и акустических колебаний, причем прогрев участков пласта начинают согласно принятой технологии добычи от устья горизонтальных скважин до забоя для попутного прогрева в последующем неохваченных полями участков пласта теплом протекающей продукции, оптимальной температуры которой достигают регулированием дебита дистанционно управляемыми задвижками, при этом продукция пласта в гравитационном режиме и под действием пластового давления поступает в подземную емкость, а насосы для откачки продукции помещают в дополнительную скважину, соединенную с наземной системой улавливания легких фракций и перфорированную в зоне подземной емкости, при этом генераторы высокочастотных и акустических колебаний помещают в зоне пласта в скважине, а на разрабатываемом месторождении строят скважины, охватывая всю его площадь, а расстояния между ними выбирают больше двойных длин горизонтальных скважин.

[5]

Недостатками способа являются:

[6]

- во-первых, сложный технологический процесс реализации способа;

[7]

- во-вторых, дороговизна осуществления способа, связанная с применением большого количества технологического оборудования (наземных генераторов высокочастотных и акустических колебаний, излучателей, подземной емкости и т.д.) и строительством дополнительной скважины. Эти затраты повышают себестоимость добычи нефти;

[8]

- в-третьих, небольшой охват тепловым воздействием залежи и, как следствие, низкие коэффициенты охвата и нефтеотдачи залежи высоковязкой нефти и битума.

[9]

Наиболее близким по технической сущности является способ разработки залежи высоковязкой нефти и битума (патент RU №2085715, МПК E21B 43/24, опубл. 27.07.1997 г., бюл. №21), включающий разбуривание залежи двумя технологическими скважинами и добывающей скважиной с горизонтальными стволами, направленными параллельно друг другу, при этом в горизонтальные стволы технологических скважин устанавливают электроды, а на устье скважины соединяют электроды с высокочастотной установкой, в горизонтальный ствол добывающей скважины спускают электроцентробежный насос двустороннего действия, производят прогрев залежи электрическим током с помощью установленных в горизонтальных стволах технологических скважин электродов - анода и катода, после прогрева залежи разогретую продукцию из горизонтального ствола добывающей скважины направляют в неохваченную электрическим полем часть залежи с последующей откачкой путем реверса насоса разогретой нефти на дневную поверхность.

[10]

Недостатками способа являются:

[11]

- во-первых, низкая эффективность прогревания залежи электрическим током, создаваемым высокочастотной установкой, обусловленная точечным прогреванием электродами ограниченной площади залежи в начальном участке (со стороны устья) горизонтальной скважины с получением ограниченного объема разогретой продукции, и последующей закачкой реверсивным насосом этого объема разогретой продукции через перфорационные отверстия, выполненные в конечном участке (со стороны забоя) горизонтальных скважин с целью разогревания залежи высоковязкой нефти и битума на забоях горизонтальных скважин. Кроме того, все это осложняет технологический процесс реализации способа;

[12]

- во-вторых, небольшой охват (10-12 м) залежи прогреванием электрическим полем в начальном участке горизонтальной скважины и еще меньший охват (5-6 м) залежи прогреванием разогретой продукции в конечном участке горизонтальной скважины и, как следствие, неравномерный прогрев залежи, приводящий к низкой нефтеотдаче залежи высоковязкой нефти и битума;

[13]

- в-третьих, низкие объемы отбора (дебит) разогретых нефти и битума из добывающих скважин при разработке залежи обусловлены тем, что перед отбором поднятая на поверхность разогретая продукция закачивается обратно в залежь с целью ее прогревания, где частично успевает остыть и обратно уже не отбирается;

[14]

- в-четвертых, низкая надежность реализации способа, так как необходимо применять насосы специальной конструкции для реверсирования продукции в скважине, которые будут работать в неблагоприятных горизонтальных условиях, и для разработки всей залежи потребуется большое количество дорогой насосной техники.

[15]

Техническими задачами изобретения являются повышение эффективности прогревания залежи высоковязкой нефти и битума, упрощение технологического процесса реализации способа, увеличение охвата залежи прогреванием, повышение объемов отбора разогретых нефти и битума и повышение надежности реализации способа.

[16]

Поставленные технические задачи решаются способом разработки залежи высоковязкой нефти и битума, включающим разбуривание залежи двумя технологическими скважинами и добывающей скважиной с горизонтальными стволами, установку в горизонтальные стволы технологических скважин электродов, соединение электродов с электрической подстанцией на устье скважины, спуск в горизонтальный ствол добывающей скважины электроцентробежного насоса, прогрев залежи электрическим током с помощью установленных в горизонтальных стволах технологических скважин электродов, отбор разогретых нефти и битума из залежи электроцентробежным насосом из горизонтального ствола добывающей скважины.

[17]

Новым является то, что первоначально бурят как минимум одну добывающую и одну нагревательную скважины с горизонтальными стволами, расположенными параллельно и друг под другом на расстоянии 15 м, затем в верхнем горизонтальном стволе нагревательной скважины производят гидравлический разрыв пласта с образованием продольной трещины с последующим ее креплением токопроводящим материалом, затем перпендикулярно начальному участку горизонтального ствола нагревательной скважины бурят первую технологическую скважину с горизонтальным стволом, а перпендикулярно конечному участку горизонтального ствола нагревательной скважины бурят вторую технологическую скважину с горизонтальным стволом, причем горизонтальные стволы технологических скважин размещают в пределах трещин гидравлического разрыва пласта, затем между технологическими скважинами параллельно их вертикальным стволам и перпендикулярно горизонтальным стволам пары нагревательной и добывающей скважин бурят две дополнительные добывающие скважины, горизонтальные стволы дополнительных добывающих скважин размещают параллельно и между верхним и нижним горизонтальными стволами нагревательной и добывающей скважин, в качестве электродов, спускаемых в скважину, используют колонны насосных штанг, оснащают нижний горизонтальный ствол добывающей скважины и горизонтальные стволы дополнительных добывающих скважин электроцентробежными насосами, осуществляют прогрев залежи с помощью верхнего горизонтального ствола нагревательной скважины, а отбор разогретых нефти и битума осуществляют с помощью электроцентробежных насосов через нижний горизонтальный ствол добывающей скважины и горизонтальные стволы дополнительных добывающих скважин.

[18]

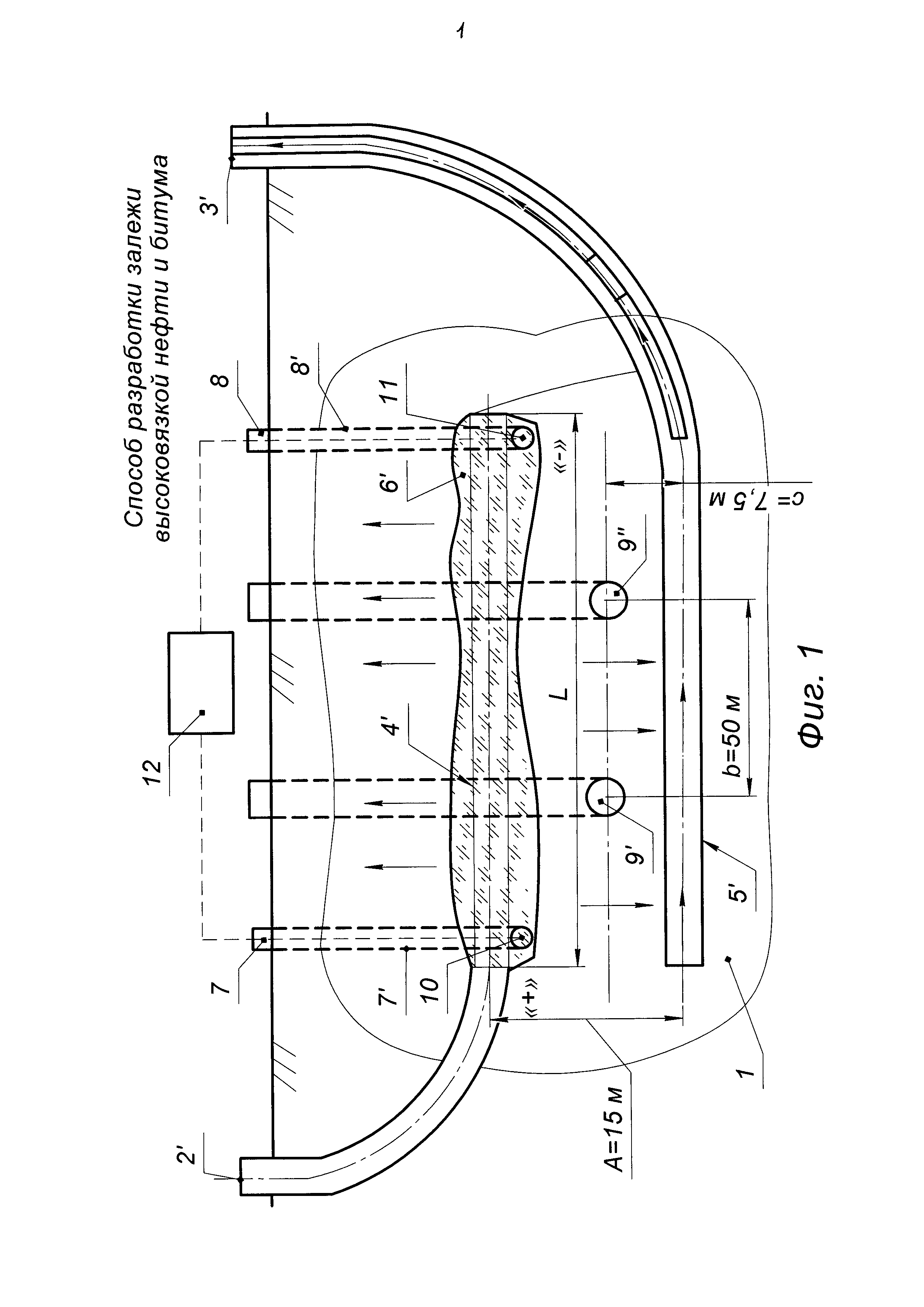
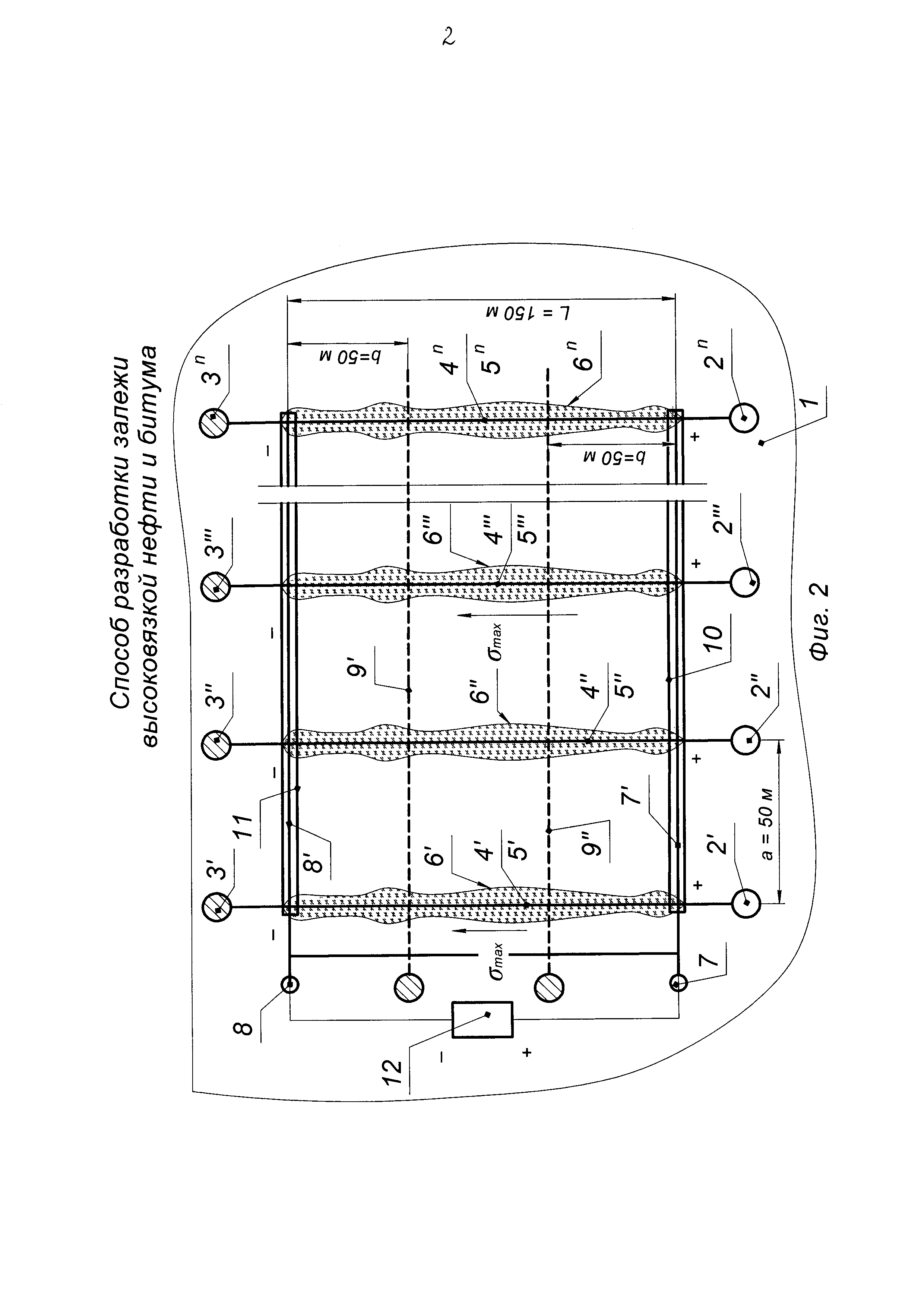
На фиг. 1 и 2 изображены схемы предлагаемого способа разработки залежи высоковязкой нефти и битума.

[19]

Способ разработки залежи высоковязкой нефти и битума реализуют следующим образом.

[20]

На залежи 1 (см. фиг. 1 и 2) высоковязкой нефти и битума на расстоянии, например, 50 м друг от друга, бурят пары нагревательных 2′, 2″, 2″′, …2n и добывающих 3′, 3″, 3″′, …3n скважин с параллельными горизонтальными стволами 4′, 4″, 4″′, …4n и 5′, 5″, 5″′, …5n соответственно, расположенными друг под другом на расстоянии A=15 м.

[21]

Затем в верхних горизонтальных стволах 4′, 4″, 4″′, …4n нагревательных скважин 2′, 2″, 2″′, …2n производят гидравлический разрыв пласта (ГРП) с образованием продольных трещин 6′, 6″, 6″′, …6n с последующим их креплением токопроводящим материалом.

[22]

Для получения продольных трещин 6′, 6″, 6″′, …6n бурят горизонтальные стволы 4′, 4″, 4″′, …4n соответствующих нагревательных скважин 2′, 2″, 2″′, …2n в направлении максимального напряжения σmax в залежи 1.

[23]

ГРП производят любым известным способом, например, как описано в патенте RU №2485306, МПК E21B 43/26, опубл. 20.06.2013 г., бюл. №17.

[24]

В качестве токопроводящего материала, закачиваемого в продольные трещины 6 горизонтальных стволов 4 и 5 соответствующих скважин 2 и 3 с целью их крепления, например, используют искусственный графит, смешанный с алюминиевой пудрой в соотношении 3:1 по массе. Графит искусственный имеет следующие физико-химические свойства:

[25]

- насыпная масса, г/см, не менее 0,05;

[26]

- углерод, %, не менее 99,0;

[27]

- влажность, %, не более 1,0;

[28]

- сера, %, не более 0,05;

[29]

- зольность, %, не более 1,0.

[30]

Пудра алюминиевая выпускается по ГОСТ 5494-95.

[31]

Например, для крепления одного горизонтального ствола длиной 200 м необходимо использовать 12 т графита гранулированного и 4 т пудры алюминиевой.

[32]

Смешивание графита искусственного массой 12 т и алюминиевой пудры массой 4 т производят на устье скважины в бункере смесительного агрегата (на фиг. 1 и 2 не показан).

[33]

Далее перпендикулярно начальному участку верхних горизонтальных стволов 4′, 4″, 4″′, …4n (см. фиг. 1 и 2) нагревательных скважин 2′, 2″, 2″′, …2n бурят первую технологическую скважину 7 с горизонтальным стволом 7′, а перпендикулярно конечному участку верхних горизонтальных стволов 4′, 4″, 4″′, …4n нагревательных скважин 2′, 2″, 2″′, …2n бурят вторую технологическую скважину 8 с горизонтальным стволом 8′.

[34]

Горизонтальные стволы 7′ и 8′ технологических скважин 7 и 8 соответственно пробурены в пределах трещин ГРП 6′, 6″, 6″′, …6n. Закрепленные трещины ГРП 6′, 6″, 6″′, …6n могут иметь высоту до 7 м.

[35]

Между технологическими скважинами 7 и 8 бурят дополнительные добывающие скважины 9′ и 9″ перпендикулярно горизонтальным стволам пар нагревательных 2′, 2″, 2″′, …2n и добывающих 3′, 3″, 3″′, …3n скважин с параллельными горизонтальными стволами 4′, 4″, 4″′, …4n и 5′, 5″, 5″′, …5n соответственно.

[36]

Горизонтальные стволы дополнительных добывающих скважин 9′ и 9″ размещают посередине между верхними 4′, 4″, 4″′, …4n и нижними 5′, 5″, 5″′, …5n горизонтальными стволами нагревательных 2′, 2″, 2″′, …2n и добывающих 3′, 3″, 3″′, …3n скважин соответственно.

[37]

Например, при длине L=150 м горизонтальных стволов 4′, 4″, 4″′, …4n нагревательных скважин 2′, 2″, 2″′, …2n на равноудаленном расстоянии бурят две дополнительные добывающие скважины 9′ и 9″, т.е. на расстоянии b=50 м от первой 7 и второй 8 технологических скважин соответственно, а также на расстоянии b=50 м между дополнительными добывающими скважинами 9′ и 9″ с горизонтальными стволами, размещенными посередине, т.е. на расстоянии c=15/2=7,5 м между верхними 4′, 4″, 4″′, …4n и нижними 5′, 5″, 5″′, …5n горизонтальными стволами нагревательных 2′, 2″, 2″′, …2n и добывающих 3′, 3″, 3″′, …3n скважин соответственно.

[38]

В горизонтальном стволе 7′ первой технологической скважины 7 устанавливают электрод 10 - катод «+».

[39]

В горизонтальном стволе 8′ второй технологической скважины 8 устанавливают электрод 11 - анод «-».

[40]

Электроды 10 и 11 пересекают трещины ГРП 6′, 6″, 6″′, …6n в верхних горизонтальных стволах 4′, 4″, 4″′, …4n нагревательных скважин 2′, 2″, 2″′, …2n и взаимодействуют с токопроводящим материалом, заполняющим трещины ГРП 6′, 6″, 6″′, …6n.

[41]

В качестве электродов, спускаемых в скважину, используют колонну насосных штанг диаметром 22 мм. На устье скважин соединяют электроды 10 и 11 с электрической подстанцией 12 любого известного производителя.

[42]

Оснащают нижние горизонтальные стволы 5′, 5″, 5″′, …5n добывающих скважин 3′, 3″, 3″′, …3n и горизонтальные стволы дополнительных добывающих скважин 9′, 9″ электроцентробежными насосами.

[43]

Начинают разработку залежи 1. Запускают электрическую подстанцию 12 в работу, которая подает электрический ток на электроды 10 и 11, по которым электрический ток проходит через закрепленные токопроводящим материалом трещины 6′, 6″, 6″′, …6n по всей длине (L=150 м) горизонтальных стволов 4′, 4″, 4″′, …4n нагревательных скважин 2′, 2″, 2″′, …2n, при этом закрепленные токопроводящим материалом трещины 6″, 6″′, …6n работают как нагревательные элементы.

[44]

Вырабатываемое тепло от трещин 6′, 6″, 6″′, …6n передается в окружающую горную породу (залежь 1), вызывая их прогревание. В результате высоковязкая нефть и битум, находящиеся в залежи 1, разогреваются до температуры, достаточной для ее течения в залежи 1 под действием сил гравитации. Запускают в эксплуатацию насосы, размещенные в нижних горизонтальных стволах 5′, 5″, 5″′, …5n добывающих скважин 3′, 3″, 3″′, …3n, а также в горизонтальных стволах дополнительных добывающих скважин 9′, 9″.

[45]

Повышается эффективность прогревания залежи высоковязкой нефти и битума вследствие того, что прогреванием охватывается вся площадь залежи 1. Это происходит по всей длине (L=150 м) горизонтальных стволов 4′, 4″, 4″′, …4n нагревательных скважин 2′, 2″, 2″′, …2n, а также по всей ширине залежи 1 на расстоянии a=50 м между параллельными горизонтальными стволами 4′, 4″, 4″′, …4n нагревательных скважин 2′, 2″, 2″′, …2n, при этом исключается точечное прогревание залежи электрическим полем, создаваемым между электродами электрической подстанции с последующей закачкой ограниченного объема разогретых нефти и битума в другую часть залежи, поэтому упрощается технологический процесс реализации способа.

[46]

В результате реализации способа в верхних горизонтальных стволах 4′, 4″, 4″′, …4n нагревательных скважин 2′, 2″, 2″′, …2n образуются соответствующие продольные трещины 6′, 6″, 6″′, …6n высотой до 7 м, что позволяет увеличить охват залежи тепловым воздействием до 15 м, при этом происходит равномерное прогревание залежи по всей длине горизонтального ствола, увеличивается нефтеотдача залежи высоковязкой нефти и битума.

[47]

Разогретые высоковязкая нефть и битум под действием сил гравитации стекают вниз в нижние горизонтальные стволы 5′, 5″, 5″′, …5n добывающих скважин 3′, 3″, 3″′, …3n и в горизонтальные стволы дополнительных добывающих скважин 9′, 9″. Откуда погружными электроцентробежными насосами (на фиг. 2 показаны условно) отбираются на дневную поверхность.

[48]

Исключается обратная закачка разогретых нефти и битума в залежь, где они успевают частично остыть, а наличие двух дополнительных горизонтальных добывающих скважин 9′, 9″ (см. фиг. 1 и 2), пробуренных параллельно на равноудаленном расстоянии друг от друга и между верхними 4′, 4″, 4″′, …4n и нижними 5′, 5″, 5″′, …5n горизонтальными стволами нагревательных 2′, 2″, 2″′, …2n, и добывающих 3′, 3″, 3″′, …3n скважин соответственно, позволяет увеличить объемы отбора (дебит) разогретых нефти и битума из залежи 1.

[49]

При реализации предлагаемого способа исключается применение погружных электроцентробежных насосов специальной конструкции для реверсирования продукции в скважине, поэтому вследствие исключения реверсирования нет необходимости размещать насосы в горизонтальных условиях, в связи с чем улучшаются условия работы погружных электроцентробежных насосов и повышается надежность реализации способа.

[50]

Предлагаемый способ разработки позволяет повысить эффективность прогревания залежи высоковязкой нефти и битума нагреванием, упростить технологический процесс реализации способа, увеличить охват залежи прогреванием, повысить объемы отбора разогретых нефти и битума, надежность реализации способа.

Как компенсировать расходы
на инновационную разработку
Похожие патенты