Группа изобретений относится к области измерений для исследования или анализа движения тела человека или его частей для диагностических целей, в частности определения вида двигательной активности человека. При осуществлении способа регистрируют сигналы трехкомпонентного акселерометра, закрепленного на теле человека, на их основе вычисляют модуль вектора ускорения, формируют временной массив значений модуля вектора ускорения и выделяют его экстремумы. Далее последовательно от экстремума к экстремуму, отсчитывая число экстремумов, равное эталонному значению числа экстремумов, по меньшей мере, одного эталона, сформированного предварительно для определенного вида двигательной активности, определяют длительности отдельных двигательных актов, и в пределах каждого отдельного двигательного акта определяют значения разности соседних экстремумов модуля вектора ускорения, которые затем сравнивают с эталонными значениями длительности двигательного акта и разности соседних экстремумов модуля вектора ускорения соответствующего эталона. По результатам сравнения принимают решение о совершении двигательного акта определенного вида двигательной активности. Устройство для определения вида двигательной активности включает трехкомпонентный акселерометр, выполненный с возможностью закрепления на теле человека и формирования сигналов, соответствующих проекциям вектора ускорения, которое испытывает акселерометр по трем ортогональным осям в пространстве, и подсоединенное к выходам акселерометра вычислительное устройство, выполненное с возможностью принятия решения о совершении двигательного акта
1. Способ определения вида двигательной активности человека, характеризующийся тем, что 2. Способ по п. 1, характеризующийся тем, что дополнительно решение о совершении двигательного акта определенного вида двигательной активности принимают с учетом дисперсии разности соседних экстремумов модуля вектора ускорения относительно соответствующих эталонных значений. 3. Способ по п. 1, характеризующийся тем, что трехкомпонентный акселерометр закреплен на руке человека. 4. Способ по п. 3, характеризующийся тем, что трехкомпонентный акселерометр закреплен на запястье. 5. Способ по п. 1, характеризующийся тем, что в качестве трехкомпонентного акселерометра используют три датчика ускорения, конструктивно соединенные между собой с образованием трех ортогональных осей измерения ускорения. 6. Способ по п. 1, характеризующийся тем, что дополнительно, до формирования временного массива значений модуля вектора ускорения, регистрируемые сигналы трехкомпонентного акселерометра или вычисляемый модуль вектора ускорения подвергают процедуре сглаживания. 7. Способ по п. 1, характеризующийся тем, что для формирования, по меньшей мере, одного используемого при осуществлении способа эталона 8. Способ по п. 7, характеризующийся тем, что в случае обнаружения двигательных актов, по меньшей мере, с иным повторяющимся числом экстремумов, формируют, по меньшей мере, один дополнительный эталон, при этом в качестве эталонных значений дополнительного эталона принимают повторяющееся число экстремумов, минимальное и максимальное значения длительности двигательных актов с этим числом экстремумов и минимальные и максимальные значения разности соседних экстремумов двигательных актов с этим числом экстремумов, при этом сформированные эталоны образуют подмножество эталонов одного вида двигательной активности. 9. Способ по п. 7, характеризующийся тем, что дополнительно, до формирования временного массива значений модуля вектора ускорения, регистрируемые сигналы трехкомпонентного акселерометра или вычисляемый модуль вектора ускорения подвергают процедуре сглаживания. 10. Способ по п. 7, характеризующийся тем, что при формировании эталонов трехкомпонентный акселерометр закрепляют на теле того же человека и так же, как он будет в последующем закреплен на теле человека при осуществлении способа. 11. Способ по п. 7, характеризующийся тем, что число двигательных актов в серии двигательных актов определенного вида, совершаемых человеком при формировании, по меньшей мере, одного используемого при осуществлении способа эталона, составляет от 50 до 300. 12. Устройство для определения вида двигательной активности, включающее трехкомпонентный акселерометр, выполненный с возможностью закрепления на теле человека и способный формировать сигналы, соответствующие проекциям вектора ускорения, которое испытывает акселерометр, по трем ортогональным осям в пространстве, и вычислительное устройство, подсоединенное к выходам акселерометра, при этом вычислительное устройство выполнено с возможностью 13. Устройство по п. 12, характеризующееся тем, что вычислительное устройство выполнено с возможностью принятия решения о совершении двигательного акта определенного вида двигательной активности дополнительно с учетом дисперсии разности соседних экстремумов модуля вектора ускорения относительно соответствующих эталонных значений. 14. Устройство по п. 12, характеризующееся тем, что упомянутый акселерометр выполнен с возможностью закрепления на запястье. 15. Устройство по п. 12, характеризующееся тем, что в качестве упомянутого акселерометра используют три датчика ускорения, конструктивно соединенные между собой с образованием трех ортогональных осей измерения ускорения. 16. Устройство по п. 12, характеризующееся тем, что вычислительное устройство подсоединено к выходам акселерометра через циклические буферы. 17. Устройство по п. 12, характеризующееся тем, что дополнительно снабжено приемопередатчиком, обеспечивающим беспроводную передачу во внешнее устройство данных о текущем виде двигательной активности человека.
регистрируют сигналы трехкомпонентного акселерометра, закрепленного на теле человека с возможностью формирования сигналов, вызванных двигательной активностью человека,
на основе упомянутых сигналов трехкомпонентного акселерометра вычисляют модуль вектора ускорения, формируют временной массив значений модуля вектора ускорения и выделяют его экстремумы,
последовательно от экстремума к экстремуму модуля вектора ускорения, отсчитывая число экстремумов, равное эталонному значению числа экстремумов, по меньшей мере, одного эталона, сформированного предварительно для определенного вида двигательной активности и характеризуемого эталонным значением числа экстремумов модуля вектора ускорения, эталонным значением длительности двигательного акта и эталонными значениями разности соседних экстремумов модуля вектора ускорения, определяют длительности отдельных двигательных актов и в пределах каждого отдельного двигательного акта определяют значения разности соседних экстремумов модуля вектора ускорения,
упомянутые определенные значения длительности двигательного акта и разности соседних экстремумов модуля вектора ускорения сравнивают с эталонными значениями длительности двигательного акта и разности соседних экстремумов модуля вектора ускорения соответствующего эталона,
при этом решение о совершении двигательного акта определенного вида двигательной активности принимают при условии, что упомянутые определенные значения длительности двигательного акта и разности соседних экстремумов модуля вектора ускорения укладываются в заданные диапазоны упомянутых эталонных значений длительности двигательного акта и разности соседних экстремумов модуля вектора ускорения, по меньшей мере, одного эталона.
регистрируют сигналы трехкомпонентного акселерометра, закрепленного на теле человека с возможностью формирования сигналов, вызванных двигательной активностью человека, при этом упомянутые сигналы регистрируют во время совершения человеком серии двигательных актов определенного вида, для которого формируют эталон,
вычисляют на основе упомянутых сигналов трехкомпонентного акселерометра модуль вектора ускорения, формируют временной массив значений модуля вектора ускорения и выделяют его экстремумы,
в пределах выбранного числа двигательных актов определяют для каждого из них число экстремумов модуля вектора ускорения, длительность двигательного акта и разность соседних экстремумов,
при этом в качестве эталонных значений, по меньшей мере, одного эталона принимают повторяющееся число экстремумов, минимальное и максимальное значения длительности двигательных актов с этим числом экстремумов и минимальные и максимальные значения разности соседних экстремумов двигательных актов с этим числом экстремумов.
вычисления на основе упомянутых сигналов акселерометра модуля вектора ускорения, формирования временного массива значений модуля вектора ускорения и выделения его экстремумов,
определения длительности отдельных двигательных актов, и в пределах каждого отдельного двигательного акта определения значения разности соседних экстремумов модуля вектора ускорения, при этом границы двигательных актов определяются последовательно от экстремума к экстремуму модуля вектора ускорения по числу экстремумов, равному эталонному значению числа экстремумов, по меньшей мере, одного эталона, сформированного предварительно для определенного вида двигательной активности и характеризуемого эталонным значением числа экстремумов модуля вектора ускорения, эталонным значением длительности двигательного акта и эталонными значениями разности соседних экстремумов модуля вектора ускорения,
сравнения упомянутых определенных значений длительности двигательного акта и разности соседних экстремумов модуля вектора ускорения с эталонными значениями длительности двигательного акта и разности соседних экстремумов модуля вектора ускорения соответствующего эталона, и
принятия решения о совершении двигательного акта определенного вида двигательной активности при условии, что упомянутые определенные значения длительности двигательного акта и разности соседних экстремумов модуля вектора ускорения укладываются в заданные диапазоны упомянутых эталонных значений длительности двигательного акта и разности соседних экстремумов модуля вектора ускорения, по меньшей мере, одного эталона.
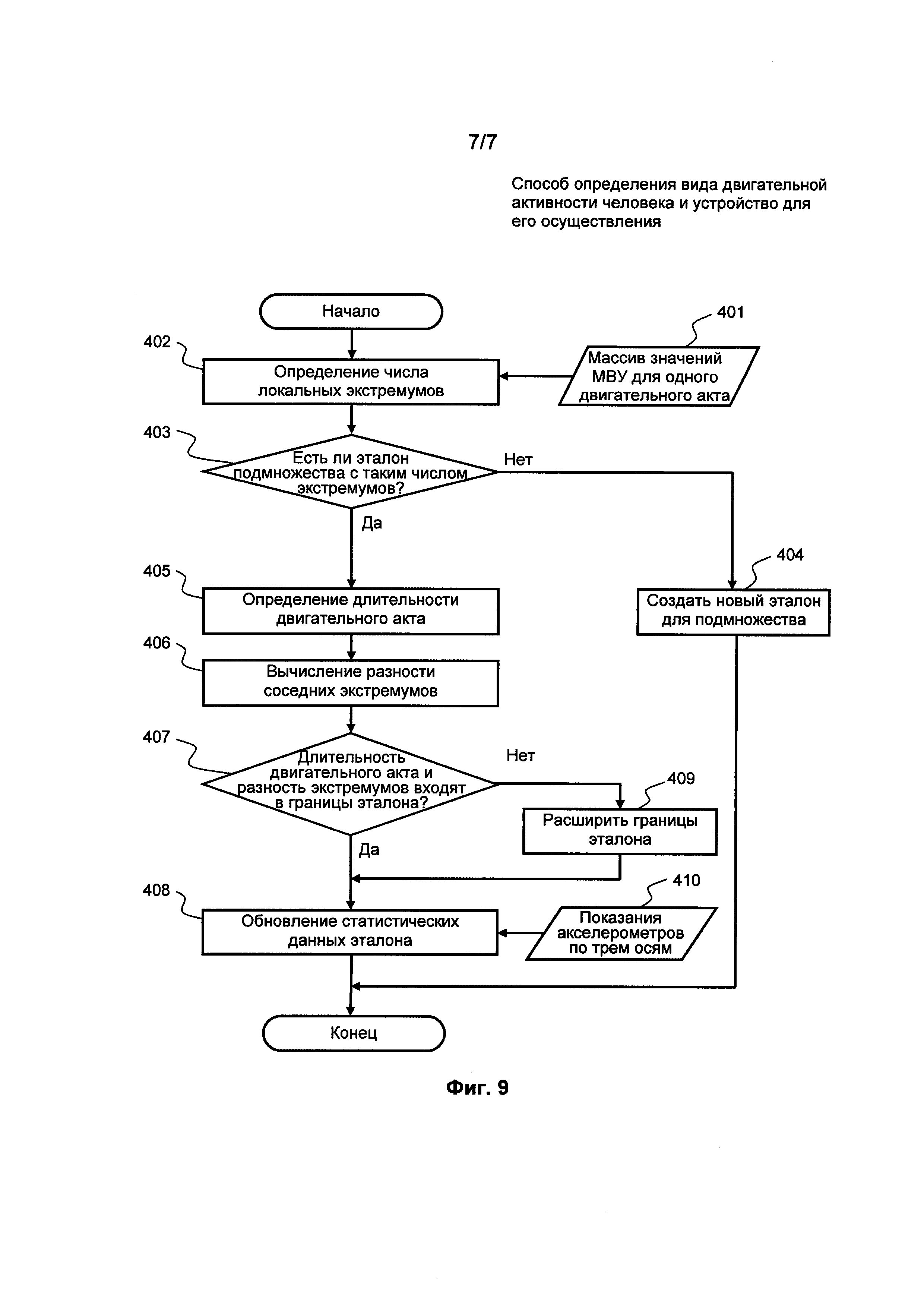
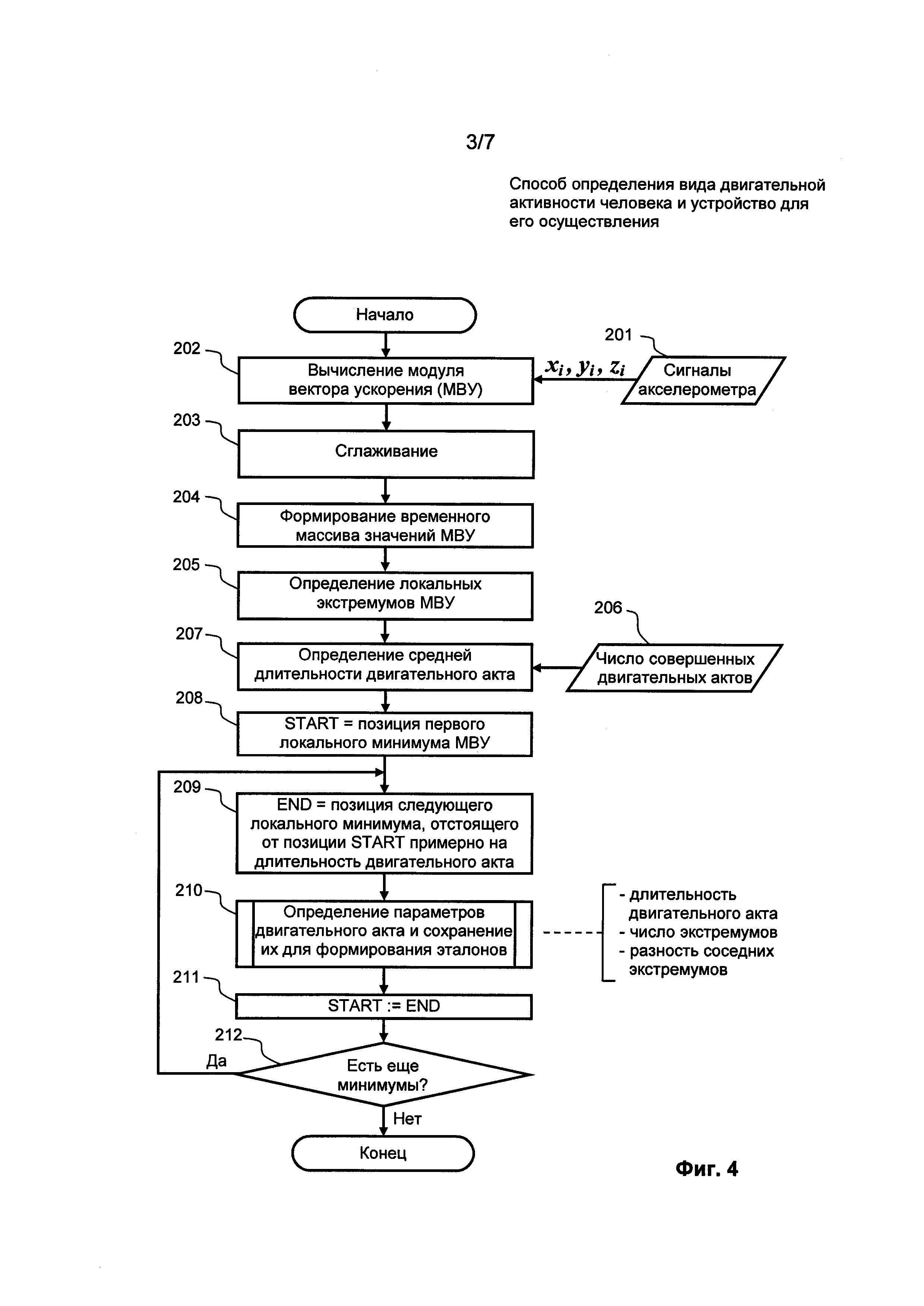
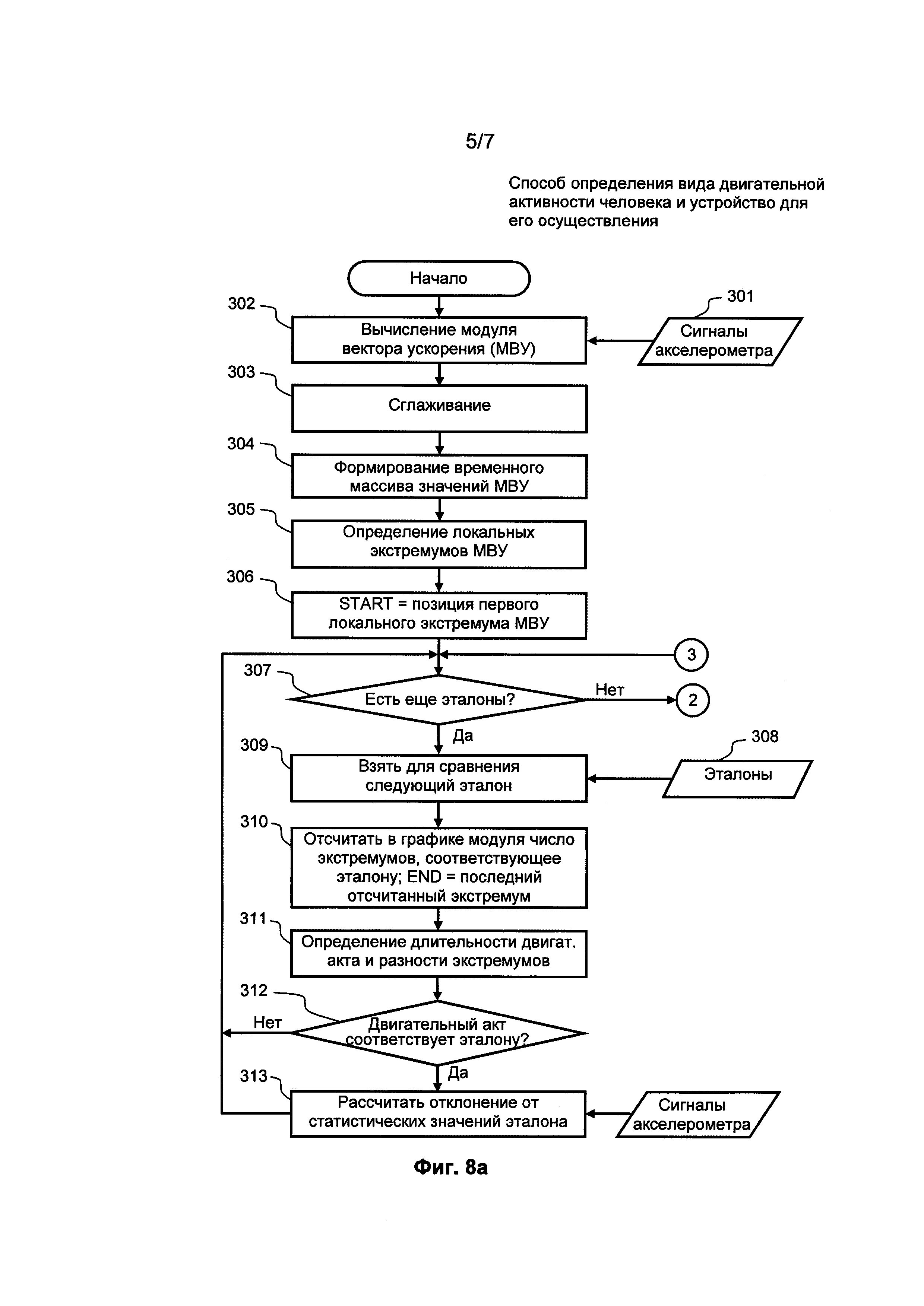
ОБЛАСТЬ ТЕХНИКИ Изобретение относится к области измерений для исследования или анализа движения тела человека или его частей для диагностических целей, в частности определения вида двигательной активности человека. УРОВЕНЬ ТЕХНИКИ Определение вида двигательной активности человека, то есть определение (или распознавание, идентификация) того, стоит, идет, бежит, плывет или как-то иначе двигается человек в данный момент времени, является важным средством получения диагностической информации, в частности для оценки физического состояния человека, испытываемой им физической нагрузки, расходуемой организмом энергии. Известны различные способы определения вида двигательной активности человека, осуществляемые с использованием датчиков ускорения, расположенных на теле человека. Так, в заявке JP 2013143996 (публ. 25.07.2013; МПК A61B 5/103, A61B 5/55) описан способ определения вида двигательной активности человека, основанный на регистрации сигналов трехкомпонентного акселерометра, размещенного на запястье, выявлении в зарегистрированных сигналах ускорения пиков, связанных с касанием ног и движением руки пользователя, определению амплитуды этих пиков. Вид двигательной активности, такой как бег или ходьба, определяют путем решения соответствующих уравнений и последующего сравнения результатов вычислений с заданным пороговым значением. Данный способ не обеспечивает надежного определения вида двигательной активности, ввиду того, что не учитывает особенностей движений конкретного человека, которые достаточно индивидуальны. В заявке US 20130245470 (публ. 19.09.2013; МПК A61B 5/11) описан способ определения вида двигательной активности человека с использованием трехкомпонентного акселерометра, закрепленного на груди человека. Определение вида двигательной активности основано на том факте, что в некоторые промежутки времени, когда человек бежит и его обе ноги оторваны от земли, вектор ускорения, регистрируемого акселерометром, имеет направление, противоположное направлению силы тяжести. В эти промежутки времени значение производной модуля вектора ускорения имеет другой знак, чем в случае, когда хотя бы одна из ног касается земли. В итоге вид движения определяется по производной модуля вектора ускорения. Данный способ также не обеспечивает надежного определения вида двигательной активности, так как не учитывает особенностей движений конкретного человека, и, кроме того, его возможности по определению различных видов двигательной активности ограничены только возможностью отличать бег от ходьбы. Наиболее близким к настоящему изобретению является способ определения вида двигательной активности человека, описанный в заявке JP 2012065749 (публ. 05.04.2012; МПК A61B 5/103, A43B 5/22). Способ включает регистрацию сигналов трехкомпонентного акселерометра, установленного на теле человека, и вычисление на их основе модуля вектора ускорения. Далее вычисляют разность экстремумов модуля вектора ускорения и по этим значениям выносят решение о виде двигательной активности человека. Однако данный способ, как и вышеописанные, не обеспечивает надежного определения вида двигательной активности, поскольку не учитывает особенностей движений конкретного человека, которые достаточно индивидуальны даже при одном и том же виде движения. Технической задачей, на решение которой направлено настоящее изобретение, является создание более надежного способа и устройства для определения вида двигательной активности, что обеспечивается за счет формирования эталонных значений амплитудных и временных параметров модуля ускорения для конкретного человека при различных видах двигательной активности, так называемых эталонов, и использования их при осуществлении способа. РАСКРЫТИЕ ИЗОБРЕТЕНИЯ В настоящем описании изобретения использованы следующие термины. Двигательная активность человека - совокупность двигательных актов, движений человека; основная функция мышечной системы человека. Вид двигательной активности человека - ходьба, бег, приседание, махи руками, ногами, плавание и другие совершаемые человеком виды движения. Двигательный акт - как правило, повторяемые движения, типа отдельного шага при ходьбе или беге, отдельного приседания, взмаха рукой и т.п. Трехкомпонентный акселерометр - техническое средство, которое, будучи установленным на движущемся объекте, способно формировать три электрических сигнала, соответствующих проекциям вектора ускорения движущегося объекта по трем ортогональным осям трехмерного пространства. Модуль вектора ускорения - абсолютное значение ускорения, регистрируемого трехкомпонентным акселерометром в виде трех сигналов, соответствующих проекциям ускорения движущегося объекта по трем ортогональным осям трехмерного пространства. Временной массив значений модуля вектора ускорения - массив значений модуля вектора ускорения за определенный (заданный) промежуток времени. Временные границы или длительность двигательного акта - промежуток времени от начала до окончания отдельного двигательного акта, промежуток времени между одними и теми же фазами периодически повторяемых двигательных актов. Экстремум модуля вектора ускорения - локальный экстремум модуля вектора ускорения во временном массиве его значений. Число экстремумов модуля вектора ускорения - число локальных экстремумов в пределах временных границ или длительности отдельного двигательного акта. Эталон - набор параметров, характеризующих определенный вид двигательной активности человека как совокупности двигательных актов определенного вида, включает: эталонное значение числа экстремумов, приходящихся на один двигательный акт (например, шаг при ходьбе, шаг во время бега, взмах рукой и т.п.); эталонное значение длительности двигательного акта, представленное минимальным и максимальным значениями; эталонное значение разности соседних экстремумов, представленное минимальным и максимальным значениями для каждого экстремума относительно последующего экстремума, приходящихся на один двигательный акт. Подмножество эталонов - множество эталонов, относящихся к одному виду двигательной активности и отличающихся эталонным значением числа экстремумов, приходящихся на один двигательный акт. Указанные наборы параметров (эталоны) получают предварительно на этапе настройки для различных видов двигательной активности, которые могут быть определены (идентифицированы) путем осуществления способа в соответствии с настоящим изобретением. Одним объектом изобретения является способ определения вида двигательной активности человека, характеризующийся тем, что: регистрируют сигналы трехкомпонентного акселерометра, закрепленного на теле человека с возможностью формирования сигналов, вызванных двигательной активностью человека, на основе упомянутых сигналов трехкомпонентного акселерометра вычисляют модуль вектора ускорения, формируют временной массив значений модуля вектора ускорения и выделяют его экстремумы, последовательно от экстремума к экстремуму модуля вектора ускорения, отсчитывая число экстремумов, равное эталонному значению числа экстремумов, по меньшей мере, одного эталона, сформированного предварительно для определенного вида двигательной активности и характеризуемого эталонным значением числа экстремумов модуля вектора ускорения, эталонным значением длительности двигательного акта и эталонными значениями разности соседних экстремумов модуля вектора ускорения, определяют длительности отдельных двигательных актов, и в пределах каждого отдельного двигательного акта определяют значения разности соседних экстремумов модуля вектора ускорения, упомянутые определенные значения длительности двигательного акта и разности соседних экстремумов модуля вектора ускорения сравнивают с эталонными значениями длительности двигательного акта и разности соседних экстремумов модуля вектора ускорения соответствующего эталона, при этом решение о совершении двигательного акта определенного вида двигательной активности принимают при условии, что упомянутые определенные значения длительности двигательного акта и разности соседних экстремумов модуля вектора ускорения укладываются в заданные диапазоны упомянутых эталонных значений длительности двигательного акта и разности соседних экстремумов модуля вектора ускорения, по меньшей мере, одного эталона. Как экспериментально установили изобретатели, исследуя последовательность сигналов, регистрируемых трехкомпонентным акселерометром, закрепленным на теле человека, отдельные двигательные акты при различных видах двигательной активности характеризуются такими информативными параметрами, как число экстремумов модуля вектора ускорения, длительность двигательного акта и значения разности соседних экстремумов модуля вектора ускорения. Соответственно, предложено сформировать ряд эталонов, характеризуемых эталонными значениями числа экстремумов модуля вектора ускорения, длительности двигательного акта и разности соседних экстремумов модуля вектора ускорения, с которыми будут сравниваться соответствующие параметры модуля вектора ускорения, регистрируемого при осуществлении способа в соответствии с настоящим изобретением. При этом, учитывая естественную девиацию таких параметров, как длительность двигательного акта и разность соседних экстремумов модуля вектора ускорения, соответствующие эталонные значения представлены в виде диапазонов значений - минимального и максимального. Следует отметить, что в зависимости от задач эталонов может быть несколько, как на разные виды двигательной активности, так и на один вид двигательной активности, и в частности может быть использован один эталон, например, когда стоит задача распознавания только конкретного вида двигательной активности человека. В процессе осуществления способа на основе упомянутых сигналов трехкомпонентного акселерометра вычисляют модуль вектора ускорения, формируют временной массив значений модуля вектора ускорения и выделяют его экстремумы. Затем, начиная с первого экстремума модуля вектора ускорения, отсчитывают число экстремумов, равное эталонному значению числа экстремумов первого эталона, определяют длительность предполагаемого двигательного акта, в пределах которого также определяют значения разности соседних экстремумов. Подобную процедуру выполняют последовательно от экстремума к экстремуму модуля вектора ускорения, повторяя ее для каждого эталона. При этом всякий раз производят сравнение определенных описанным образом значений длительности двигательного акта и разности соседних экстремумов модуля вектора ускорения с эталонными значениями длительности двигательного акта и разности соседних экстремумов модуля вектора ускорения соответствующего эталона. Описанная процедура позволяет проанализировать последовательно все фрагменты массива значений модуля вектора ускорения, сравнивая его параметры с эталонными, при этом длина анализируемого фрагмента каждый раз определяется эталонным значением числа экстремумов соответствующего эталона. В итоге решение о совершении двигательного акта определенного вида двигательной активности принимают при условии, что упомянутые определенные значения длительности двигательного акта и разности соседних экстремумов модуля вектора ускорения, которые характеризуют анализируемый фрагмент массива значений модуля вектора ускорения, укладываются в заданные диапазоны упомянутых эталонных значений длительности двигательного акта и разности соседних экстремумов модуля вектора ускорения соответствующего эталона. Использование предложенной изобретателями модели двигательного акта, характеризуемого числом экстремумов модуля вектора ускорения, длительностью двигательного акта, измеряемой в пределах этого числа экстремумов, и разностью соседних экстремумов, вместе с описанной последовательностью выделения фрагментов зарегистрированного временного массива значений модуля вектора ускорения и сравнения параметров этих фрагментов с соответствующими эталонными параметрами (значениями) обеспечивает возможность надежного определения, к какому виду двигательной активности относится совершенный двигательный акт, и соответственно - определения вида двигательной активности в целом. Под надежностью понимается вероятность ошибок первого и второго рода, то есть вероятность как ложного определения вида совершенного двигательного акта, так и неопределения, к какому именно виду он относится. Также надежность принимаемого решения о совершении двигательного акта определенного вида двигательной активности может быть повышена, если при принятии данного решения учитывать дисперсию разности соседних экстремумов модуля вектора ускорения относительно соответствующих эталонных значений. Учитывая, что руки человека участвуют в большинстве видов движения, акселерометр может быть закреплен на руке человека, в частности на запястье, что обеспечивает возможность определения наибольшего числа разнообразных видов двигательной активности человека. Кроме того, ношение подобных технических средств на запястье привычно и удобно для человека. В частном случае в качестве трехкомпонентного акселерометра могут быть использованы три датчика ускорения, конструктивно соединенные между собой с образованием трех ортогональных осей измерения ускорения. Для устранения высокочастотных скачкообразных изменений сигналов акселерометра, характерных для такого использования, до формирования временного массива значений модуля вектора ускорения, регистрируемые сигналы трехкомпонентного акселерометра или вычисляемый модуль вектора ускорения может быть подвергнут процедуре сглаживания. Это дополнительно повышает надежность определения вида двигательной активности и уменьшает объем вычислительных операций, производимых при осуществлении способа. Процесс формирования эталона, например, может быть осуществлен следующим образом. Регистрируют сигналы трехкомпонентного акселерометра, закрепленного на теле человека с возможностью формирования сигналов, вызванных двигательной активностью человека, при этом упомянутые сигналы регистрируют во время совершения человеком серии двигательных актов определенного вида, для которого формируют эталон. Далее на основе упомянутых сигналов трехкомпонентного акселерометра вычисляют модуль вектора ускорения, формируют временной массив значений модуля вектора ускорения и выделяют его экстремумы. Затем в пределах выбранного числа двигательных актов определяют для каждого из них число экстремумов модуля вектора ускорения, длительность двигательного акта и разность соседних экстремумов. Наконец в качестве эталонных значений, по меньшей мере, одного эталона принимают повторяющееся число экстремумов, минимальное и максимальное значения длительности двигательных актов с этим числом экстремумов и минимальные и максимальные значения разности соседних экстремумов двигательных актов с этим числом экстремумов. Дополнительно в случае обнаружения двигательных актов с иным повторяющимся числом экстремумов формируют, по меньшей мере, один дополнительный эталон, при этом в качестве эталонных значений дополнительного эталона также принимают повторяющееся число экстремумов, минимальное и максимальное значения длительности двигательных актов с этим числом экстремумов и минимальные и максимальные значения разности соседних экстремумов двигательных актов с этим числом экстремумов. При этом сформированные в итоге эталоны образуют подмножество эталонов одного вида двигательной активности. Дополнительно для устранения высокочастотных скачкообразных изменений сигналов акселерометра, до формирования временного массива значений модуля вектора ускорения, регистрируемые сигналы трехкомпонентного акселерометра или вычисляемый модуль вектора ускорения подвергают процедуре сглаживания. В общем случае формирование эталонов может быть не связано с конкретным человеком, вид двигательной активности которого определяется при осуществлении способа. Однако для достижения наилучшего результата трехкомпонентный акселерометр при формировании эталонов следует закреплять на теле того же человека и так же, как он будет в последующем закреплен на теле человека при осуществлении способа. В этом случае могут быть сформированы эталоны, отражающие индивидуальные особенности человека, проявляющиеся во время движения. В частности, число двигательных актов, совершаемых человеком при формировании эталона, составляет от 50 до 300. Другим объектом изобретения является устройство для определения вида двигательной активности, включающее трехкомпонентный акселерометр, выполненный с возможностью закрепления на теле человека и способный формировать сигналы, соответствующие проекциям вектора ускорения, которое испытывает акселерометр, по трем ортогональным осям в пространстве, и вычислительное устройство, подсоединенное к выходам акселерометра. При этом вычислительное устройство выполнено с возможностью выполнения всех описанных выше вычислительных процедур, используемых при осуществлении способа. А именно: вычисления на основе упомянутых сигналов акселерометра модуля вектора ускорения, формирования временного массива значений модуля вектора ускорения и выделения его экстремумов, определения длительности отдельных двигательных актов, и в пределах каждого отдельного двигательного акта определения значения разности соседних экстремумов модуля вектора ускорения, при этом границы двигательных актов определяются последовательно от экстремума к экстремуму модуля вектора ускорения по числу экстремумов, равному эталонному значению числа экстремумов, по меньшей мере, одного эталона, сформированного предварительно для определенного вида двигательной активности и характеризуемого эталонным значением числа экстремумов модуля вектора ускорения, эталонным значением длительности двигательного акта и эталонными значениями разности соседних экстремумов модуля вектора ускорения, сравнения упомянутых определенных значений длительности двигательного акта и разности соседних экстремумов модуля вектора ускорения с эталонными значениями длительности двигательного акта и разности соседних экстремумов модуля вектора ускорения соответствующего эталона, и принятия решения о совершении двигательного акта определенного вида двигательной активности при условии, что упомянутые определенные значения длительности двигательного акта и разности соседних экстремумов модуля вектора ускорения укладываются в заданные диапазоны упомянутых эталонных значений длительности двигательного акта и разности соседних экстремумов модуля вектора ускорения, по меньшей мере, одного эталона. В частном случае вычислительное устройство может быть выполнено с возможностью принятия решения о совершении двигательного акта определенного вида двигательной активности дополнительно с учетом дисперсии разности соседних экстремумов модуля вектора ускорения относительно соответствующих эталонных значений. Упомянутый акселерометр может быть выполнен с возможностью закрепления на запястье. В качестве упомянутого акселерометра могут быть использованы три датчика ускорения, конструктивно соединенные между собой с образованием трех ортогональных осей измерения ускорения. В частном случае для временного согласования потока сигналов, поступающих с выходов акселерометра, и их последующей обработки вычислительное устройство может быть подсоединено к выходам акселерометра через циклические буферы. Дополнительно устройство для определения вида двигательной активности человека может быть снабжено приемопередатчиком, обеспечивающим беспроводную передачу во внешнее устройство данных о текущем виде двигательной активности человека. КРАТКОЕ ОПИСАНИЕ ЧЕРТЕЖЕЙ Изобретение поясняется чертежами. На Фиг. 1 представлена блок-схема примерного устройства, предназначенного для осуществления способа определения вида двигательной активности человека в соответствии с настоящим изобретением. На Фиг. 2 показан пример размещения устройства для определения вида двигательной активности человека, включающего трехкомпонентный акселерометр, на запястье человека. На Фиг. 3 представлена блок-схема примерного алгоритма осуществления способа в соответствии с настоящим изобретением, при этом алгоритм представлен в общем виде для иллюстрации основных операций способа. На Фиг. 4 представлена блок-схема примерного алгоритма формирования эталонов для различных видов двигательной активности человека. На Фиг. 5 приведен пример графического представления изменения во времени модуля вектора ускорения, регистрируемого трехкомпонентным акселерометром. Пример иллюстрирует определение локальных экстремумов модуля вектора ускорения, характеризующих двигательную активность различного вида. На Фиг. 6 показан в увеличенном масштабе фрагмент «с» представленного на Фиг. 5 графика модуля вектора ускорения, иллюстрирующий изменение модуля вектора ускорения в пределах одного двигательного акта и определение разности соседних экстремумов модуля вектора ускорения. На Фиг. 7 приведены примерные графики, иллюстрирующие дисперсию сигналов трехкомпонентного акселерометра, регистрируемых при осуществлении способа в соответствии с настоящим изобретением. На Фиг. 8а и Фиг. 8b (как продолжение) представлена блок-схема примерного алгоритма определения вида двигательной активности человека, раскрывающая более детально способ, блок-схема алгоритма которого в общем виде представлена на Фиг. 3. На Фиг. 9 представлена блок-схема примерного алгоритма корректировки эталонов, соответствующих определенному виду двигательной активности человека и используемых при осуществлении способа в соответствии с настоящим изобретением. ОСУЩЕСТВЛЕНИЕ ИЗОБРЕТЕНИЯ Способ в соответствии с настоящим изобретением может быть осуществлен, например, с помощью устройства 1, блок-схема которого представлена на Фиг. 1. Устройство 1 включает трехкомпонентный акселерометр 2, имеющий три датчика ускорения 3, 4, 5, формирующих сигналы, соответствующие проекциям (составляющим) вектора ускорения, которое испытывает акселерометр 2, по трем ортогональным осям в пространстве X, Y и Z. Выходы датчиков ускорения 3, 4 и 5 через соответствующие циклические буферы 6, 7 и 8, накапливающие за определенный период времени значения сигналов с датчиков ускорения 3, 4 и 5, подключены к входам вычислительного устройства 9. Устройство 1 может быть размещено на теле человека с таким расчетом, чтобы вследствие его двигательной активности формировались устойчивые сигналы датчиков ускорения 3, 4, 5. Наиболее удобное место установки устройства 1, по меньшей мере, той его части, которая включает акселерометр 2, - на запястье, как это показано на Фиг. 2, что обеспечивает возможность определения наибольшего числа разнообразных видов двигательной активности человека, иначе - видов движения. Трехкомпонентный акселерометр 2 (см. Фиг. 1) непрерывно во времени формирует сигналы xi, yi и zi (где i - порядковый номер отсчета), соответствующие проекциям по трем ортогональным осям X, Y и Z вектора ускорения, которое испытывает акселерометр 2. Указанные сигналы через соответствующие циклические буферы 6, 7 и 8 поступают в вычислительное устройство 9 для последующей обработки. Циклический (или кольцевой) буфер является разновидностью буфера FIFO, First Input First Output (первый вошел - первый вышел), используемого обычно для согласования потоков данных между асинхронными процессами, в данном случае - между непрерывно поступающими сигналами xi, yi, zi и их обработкой вычислительным устройством 9. Таким образом, в циклических буферах 6, 7, 8 хранятся последовательные значения сигналов xi, yi, zi, число которых определяется емкостью циклических буферов 6, 7, 8 и которые непрерывно обновляются с каждым очередным отсчетом. Вычислительное устройство 9 осуществляет операции по определению того или иного вида двигательной активности на основе алгоритмов, блок-схемы которых представлены: в общем виде - на Фиг. 4, и более детально - на Фиг. 8а, 8b. Емкость циклических буферов 6, 7, 8 определяется в совокупности такими факторами, как быстродействие вычислительного устройства 9, сложность выполняемых вычислительных процедур, требуемая точность вычислений. Устройство 1 может быть дополнено приемопередатчиком 10, обеспечивающим беспроводную передачу данных о текущем виде двигательной активности человека во внешнее автономное устройство, например персональный компьютер или смартфон 11, где эти данные могут накапливаться. Также могут быть реализованы схемы, при которых данные со смартфона 11 посредством сетевых технологий, например сети Интернет, передаются во внешнее хранилище, где может быть организовано их накопление, последующая обработка и анализ с учетом упомянутых выше задач оценки физического состояния человека, испытываемой им физической нагрузки, расходуемой организмом энергии и пр. Блок-схема алгоритма осуществления способа в объеме основных операций представлена на Фиг. 3. На выходах трехкомпонентного акселерометра 2 (обозначены позицией 101), входящего в состав устройства 1, закрепленного на запястье, с заданной частотой дискретизации одновременно формируются сигналы xi, yi, zi, где i - порядковый номер отсчета. Эти сигналы, как было указано, соответствуют проекциям вектора ускорения по трем ортогональным осям в пространстве X, Y, Z. Вначале (шаг 102) на основе сигналов xi, yi, zi вычисляют модуль вектора ускорения как формируя тем самым последовательность значений Ai. Для устранения высокочастотных скачкообразных изменений вычисленных значений Ai эта последовательность может быть подвергнута процедуре сглаживания (шаг 103), например, с использованием метода экспоненциального взвешенного скользящего среднего. При этом формируется новый массив значений Как вариант, последовательность выполнения процедур сглаживания и вычисления модуля вектора ускорения может быть иная: вначале выполняют сглаживание сигналов xi, yi, zi, а затем вычисляют модуль вектора ускорения. Из полученных значений Значения модуля вектора ускорения На следующем шаге 105 (см. Фиг. 3) определяют локальные экстремумы модуля вектора ускорения Эталон, как было сказано выше, представляет собой набор параметров - эталонных значений, характеризующих определенный вид двигательной активности человека. При этом может быть использовано множество эталонов, относящихся к определенному виду двигательной активности, каждый из которых, в свою очередь, может быть представлен подмножеством эталонов данного вида двигательной активности. Например, для распознавания ходьбы, бега и прыжков множество эталонов S будет включать где: SW - подмножество эталонов для ходьбы; SR - подмножество эталонов для бега; SJ - подмножество эталонов для прыжков. При этом каждое из подмножеств SW, SR или SJ может включать несколько эталонов. Например, подмножество эталонов для ходьбы SW, включающее w эталонов (w - натуральное число), может быть представлено как где: … В качестве критерия для различения эталонов, относящихся к одному подмножеству, может быть использовано число локальных экстремумов, приходящихся на один двигательный акт данного вида двигательной активности. Наконец, каждый эталон включает набор следующих эталонных значений: где: Е - число экстремумов, приходящихся на один двигательный акт (например, шаг при ходьбе, шаг во время бега, прыжок, взмах рукой и т.п.); Tmin - минимальное значение длительности двигательного акта; Tmax - максимальное значение длительности двигательного акта; h(1)min - минимальное значение разности первого и второго экстремумов; h(1)max - максимальное значение разности первого и второго экстремумов; … h(E-1)min - минимальное значение разности предпоследнего и последнего экстремумов; h(E-1)max - максимальное значение разности предпоследнего и последнего экстремумов. Эти эталоны получают предварительно на этапе настройки или «обучения» устройства 1, что будет описано ниже, и в виде указанных эталонных значений хранятся в памяти, в данном случае упомянутого вычислительного устройства 9. Определение на шаге 106 (см. Фиг. 3) временных границ отдельных двигательных актов производят последовательно от первого обнаруженного локального экстремума модуля вектора ускорения для всех имеющихся эталонов. Вначале от первого локального экстремума, принимая его условно за начало двигательного акта, отсчитывают число экстремумов, равное числу экстремумов Е первого эталона, определяя тем самым длительность T данного условного двигательного акта. Если определенная таким образом длительность T не попадает в заданный первым эталоном диапазон Tmin-Tmax, ту же процедуру проводят для следующего эталона. Если относительно упомянутого первого локального экстремума модуля вектора ускорения не было выявлено ни одного эталона с диапазоном длительности Tmin-Tmax, в который укладывается длительность T, подобную процедуру проводят относительно следующего локального экстремума модуля вектора ускорения. И так - до нахождения в массиве модуля вектора ускорения локального минимума, относительно которого есть подходящий эталон, то есть когда длительность T, приходящаяся на число экстремумов Е этого эталона, укладывается в заданный этим эталоном диапазон значений Tmin-Tmax. Число эталонов, как было упомянуто выше, определяется сложностью задачи распознавания различных видов двигательной активности человека, хотя, вообще говоря, эталон может быть единственным, если ставится простая задача распознавания конкретного вида двигательной активности, которая характеризуется определенными эталонными значениями. Далее в пределах определенных на шаге 106 временных границ двигательного акта определяют (шаг 108) разности соседних экстремумов, например, от h1 до h4 при числе экстремумов, равном пяти, как это показано на примере Фиг. 6, которые затем сравнивают (шаг 109) с соответствующими эталонными значениями разности соседних экстремумов: h(1)min, h(1)max, …, h(4)min, h(4)max. Результаты сравнения запоминают. И так для всех эталонов. Если по результатам сравнения все разности соседних экстремумов модуля вектора ускорения укладываются в заданный диапазон эталонных значений для определенного вида двигательной активности, выносят решение о совершении двигательного акта, соответствующего данному эталону или виду двигательной активности. Для формирования эталонов устройство 1 закрепляется на теле человека так же, как оно будет в последующем использоваться для определения вида двигательной активности, например, на запястье, как показано на Фиг. 2. Устройство 1 пользователь переводит в 1 режим настройки и выполняет заданный вид движения, например, идет или бежит. Блок-схема примерного алгоритма формирования эталонов для различных видов двигательной активности человека представлена на Фиг. 4. Число циклических движений ходьбы или бега - двигательных актов, требуемых для получения эталонных значений, составляет от 50 до 300. При необходимости процесс настройки устройства 1 может быть повторен, для чего предусмотрен режим обновления или корректировки эталонных значений, который будет описан ниже со ссылкой на Фиг. 9. В режиме формирования эталонов (см. Фиг. 4), так же как и в режиме определения вида двигательной активности, используют сигналы xi, yi, zi акселерометра 2 (обозначены позицией 201), по которым вычисляют модуль вектора ускорения (шаг 202), значения которого затем последовательно подвергаются описанным выше процедурам сглаживания (шаг 203), формирования временного массива значений модуля вектора ускорения (шаг 204) и определения локальных экстремумов модуля вектора ускорения (шаг 205). Затем с учетом числа совершенных двигательных актов одного вида (обозначено позицией 206) определяют среднюю длительность двигательного акта данного вида (шаг 207). В частности, на графике Фиг. 5, полученном в процессе формирования эталонов для ходьбы, точками отмечены экстремумы модуля вектора ускорения, а вертикальными пунктирными линиями - временные границы одного двигательного акта, на которые приходятся периодически повторяющиеся примерно через одинаковые промежутки времени локальные минимумы модуля вектора ускорения. Позиция этих локальных минимумов принята за начало очередного двигательного акта. Как можно видеть, длительность одного двигательного акта, в данном случае одного шага при ходьбе, составляет примерно от 0,4 с до 0,6 с. Затем определяют число экстремумов, приходящихся на один двигательный акт. Как видно на Фиг. 5, в данном примере на один двигательный акт может приходиться от трех до пяти экстремумов, при этом принимают, что последний экстремум текущего двигательного акта совпадает с первым экстремумом следующего двигательного акта. После этого определяют разности соседних экстремумов. Определение разности соседних экстремумов проиллюстрировано Фиг. 6, где в увеличенном масштабе показан фрагмент «с» представленного на Фиг. 5 графика модуля вектора ускорения. В данном случае число экстремумов, приходящихся на двигательный акт длительностью T, равняется пяти, а разности соседних экстремумов обозначены как h1, h2, h3, h4 соответственно. Данные операции проводят циклически: START - начало цикла, соответствует позиции первого локального минимума (шаг 208), END - позиция следующего локального минимума, отстоящего от первого локального минимума (позиции START) примерно на длительность двигательного акта (шаг 209). На следующем шаге 210 определяется число экстремумов, приходящихся на данный двигательный акт, длительность данного двигательного акта, а также значения разности соседних экстремумов в пределах этого двигательного акта. Данные параметры запоминают в качестве начальных эталонных значений для первого эталона подмножества эталонов для ходьбы. Далее следует проверка (шаг 212) - есть ли еще минимумы модуля вектора ускорения в пределах примерной длительности двигательного акта данного вида. Если очередной локальный минимум обнаружен, следует возврат к началу цикла и выполняется описанное определение числа экстремумов, приходящихся на данный двигательный акт, длительности данного двигательного акта, а также значений разности соседних экстремумов в пределах этого двигательного акта. При этом начало цикла (START) соответствует позиции последнего локального минимума, относящегося к предыдущему двигательному акту. Результаты сохраняются как очередные эталонные значения. И так далее, пока на шаге 212 больше не будет обнаружено локальных минимумов временного массива значений модуля вектора ускорения. Окончательное формирование подмножества эталонов для данного вида двигательной активности проводят следующим образом. Сохраненные на шаге 210 параметры сортируют на группы с одинаковым числом экстремумов, число таких групп определяет число эталонов в подмножестве. Для каждой группы с числом экстремумов E определяют минимальные и максимальные значения длительности двигательного акта Tmin и Tmax соответственно, а также минимальные и максимальные значения разности соседних экстремумов: h(1)min, h(1)max, …, h(E-1)min, h(E-1)max. Данные параметры принимают в качестве эталонных. Например, для случая, проиллюстрированного на Фиг. 5, было сформировано три эталона по числу экстремумов: 3, 4 и 5, выявленных в массиве модуля ускорения для отдельных двигательных актов. Более подробно возможность осуществления способа в соответствии с настоящим изобретением проиллюстрирована на Фиг. 7 и Фиг. 8а, 8b. Так, на Фиг. 8а и 8b представлена блок-схема алгоритма определения вида двигательной активности человека, раскрывающая более детально способ, блок-схема алгоритма которого в общем виде была описана со ссылкой на Фиг. 3. При этом для повышения надежности определения вида двигательной активности алгоритм дополнительно предусматривает учет дисперсии регистрируемых сигналов трехкомпонентного акселерометра, например, через вычисление модуля отклонения от среднего значения. Как было описано выше, вначале по сигналам акселерометра xi, yi, zi (позиция 301) вычисляют модуль вектора ускорения (шаг 302), который подвергают процедуре сглаживания (шаг 303), после чего формируют временной массив значений модуля вектора ускорения (шаг 304) и определяют локальные экстремумы модуля вектора ускорения (шаг 305). Непосредственно определение вида двигательной активности представляет собой циклическую операцию сравнения временного массива значений вектора ускорения с эталонами. Этот процесс происходит так же, как это было описано со ссылкой на Фиг. 3. Он начинается с выявления первого локального экстремума модуля вектора ускорения (шаг 306). Затем на шаге 307 проверяют, есть ли еще эталоны, с которыми не было произведено сравнение временного массива значений модуля вектора ускорения. Если такие эталоны есть (данные эталонов обозначены позицией 308), то для сравнения берут очередной эталон (шаг 309) и по числу экстремумов Е данного эталона отсчитывают такое же число экстремумов в массиве значений модуля вектора ускорения (шаг 310). Затем на шаге 311 определяют длительность T и значения разности соседних экстремумов h1, …, hE-1, после чего путем сравнения с эталонными значениями Tmin и Tmax, а также h(1)min, h(1)max, …, h(E-1)min, h(E-1)max выносят предварительное решение (шаг 312) о соответствии двигательного акта данному эталону. Данное решение является предварительным, поскольку при наличии нескольких эталонов не исключается случай, когда анализируемый фрагмент из массива значений модуля вектора ускорения будет соответствовать двум и более эталонам. Фактически на этом шаге определяют своего рода эталоны-«кандидаты» на вынесение окончательного решения о том, двигательный акт какого вида был совершен. Далее для этого фрагмента определяют отклонение от среднестатистических значений эталона (шаг 313), для чего используют текущие сигналы акселерометра. Данная информация запоминается и происходит возврат процедуры выбора очередного эталона, если он есть, и повторение процедур, предусмотренных шагами 309-312 и при необходимости - 313. Если соответствия нет, то данный эталон не включается в число «кандидатов» и происходит возврат процедуры выбора очередного эталона, если он есть, и повторение процедур, предусмотренных шагами 309-312 и при необходимости - 313. В итоге после перебора всех эталонов среди отобранных эталонов может быть один, два и более или вообще ни одного, после чего начинается процедура окончательного выбора эталона среди «кандидатов» или определения, какому виду двигательной активности соответствует данный двигательный акт, в том числе с учетом отклонения значений разности соседних экстремумов от среднестатистических значений эталона. Дополнительная оценка отклонения указанных параметров от статистических значений эталона производится для того, чтобы повысить надежность определения вида двигательной активности. Пример определения дисперсий сигналов акселерометра xi, yi, zi приведен на Фиг. 7 для случая ходьбы, проиллюстрированного Фиг. 5. В качестве дисперсии как параметра, характеризующего степень отклонения, в данном примере принято среднее модуля отклонения значения сигналов акселерометра относительно их среднего значения. Так, в данном примере значение дисперсии DX сигнала xi находится в диапазоне от 2,5 до 9, среднее значение дисперсии DX составляет примерно 5. Для сигналов yi и zi значение дисперсии DY и DZ не превышает 2, среднее - составляет примерно 1. Так, если в качестве эталонных значений указаны средние значения сигналов M(xi), М(yi), M(zi) соответственно 6; 1,5; 1, то отклонение от эталона будет равно Чем меньше значение D, тем в большей степени совершенный двигательный акт соответствует данному эталону. Заключительные шаги определения вида двигательной активности проиллюстрированы Фиг. 8b. Вначале (шаг 314) оценивают число выявленных на шаге 312 эталонов-«кандидатов», которым соответствует анализируемый двигательный акт. Если таких эталонов больше одного вида, то для данного двигательного акта принимается решение о его соответствии тому виду двигательной активности, относительно эталона которого значение D минимально (шаг 315), после чего соответственно счетчик данного вида двигательных актов увеличивается на единицу (шаг 316). Если на шаге 314 было установлено, что выявлен только один эталон-кандидат», то сразу осуществляется переход к шагу 316, на котором увеличивается показание счетчика двигательных актов данного вида. Шаг 317 обозначает конец цикла. Далее на шаге 318 проверяется, есть ли еще экстремумы в массиве модуля ускорения, и если их нет, процесс определения вида двигательной активности человека завершается, при этом в соответствующих счетчиках сохраняется информация о том, какое число двигательных актов того или иного вида было идентифицировано, и эти данные в целом позволяют определить вид двигательной активности человека за тот или иной промежуток времени. Если на шаге 314 было установлено, что на шаге 312 не было выявлено ни одного эталона-«кандидата», то осуществляется переход на позицию следующего экстремума модуля ускорения (шаг 320). При этом снова определяется, есть ли еще экстремумы модуля ускорения (шаг 318). Если их нет, процесс определения вида двигательной активности человека завершается, а если экстремумы в массиве модуля ускорения еще есть, то происходит обнуление счетчика эталонов (шаг 321) и далее возврат к шагу 307 (см. Фиг. 8а). При необходимости пользователь может запустить режим обновления эталонов. Это может потребоваться, например, если устройство 1 будет закреплено на другой руке пользователя, или в другом месте тела, либо при смене пользователя. Также обновление эталонов может потребоваться, если возникнет потребность различать виды двигательной активности при особом поведении пользователя. Блок-схема алгоритма работы устройства 1 в режиме обновления эталонов представлена на Фиг. 9. Вначале необходимо указать, какой эталон, а точнее подмножество эталонов, обновляется. Например, предполагается обновить подмножество эталонов для ходьбы. Пользователь включает в устройстве 1 режим обновления эталонов и выполняет серию двигательных актов соответствующего вида (ходьба в нашем примере), число которых, как и при формировании эталонов, составляет также от 50 до 300. При этом формируется массив значений модуля вектора ускорения, как это было описано выше со ссылками на Фиг. 3, 4, 8а, 8b. Далее процедура обновления эталонов подмножества описывается на примере обработки фрагмента массива значений модуля вектора ускорения, приходящегося на отдельный двигательный акт (позиция 401). Вначале процедуры определяется число экстремумов в этом фрагменте массива значений модуля вектора ускорения (шаг 402). Затем (шаг 403) проверяют, есть ли среди ранее созданных эталонов данного подмножества эталон с таким же числом экстремумов. Если нет, то создается новый эталон (шаг 404) для данного подмножества эталонов. При этом в качестве эталонных значений принимается: для эталонного числа экстремумов - новое число экстремумов, для эталонных значений минимальной и максимальной длительности двигательного акта одновременно - длительность этого фрагмента, а для минимальных и максимальных значений разности соседних экстремумов - соответствующие значения разности соседних экстремумов данного фрагмента массива значений модуля вектора ускорения. На этом формирование нового эталона завершается, и его эталонные значения впоследствии будут уточняться в части диапазона значений длительности двигательного акта и диапазонов значений разности соседних экстремумов. Если на шаге 403 было установлено, что среди ранее созданных эталонов данного подмножества существует эталон с таким же числом экстремумов Е, как у анализируемого фрагмента массива значений модуля вектора ускорения, начинается процесс обновлений его эталонных значений. Вначале определяют длительность этого фрагмента, то есть длительность двигательного акта (шаг 405), и на следующем шаге 406 вычисляют значения разности соседних экстремумов модуля вектора ускорения. Далее проверяют (шаг 407), укладываются ли полученные значения длительности двигательного акта и разности соседних экстремумов в диапазоны эталонных значений: Tmin, Tmax, а также h(1)min, h(1)max, …, h(E-1)min, h(E-1)max. Если да, то на следующем шаге 408 производится обновление статистических данных эталона: M(xi), M(yi), M(zi). Если хотя бы одно из полученных значений длительности двигательного акта и разности соседних экстремумов не укладывается в диапазон соответствующего эталонного значения, то вначале (шаг 409) расширяют этот диапазон значений, изменяя соответствующее значение из Tmin, Tmax или h(1)min, h(1)max, …, h(E-1)min, h(E-1)max, а затем также производят обновление статистических данных эталона: M(xi), M(yi), M(zi) Для обновления статистических данных эталона используют сигналы акселерометра (позиция 410). На этом обновление эталонов заканчивается. Способ определения вида двигательной активности человека в соответствии с настоящим изобретением позволяет идентифицировать не только описанные в примерах ходьбу или бег, но и другие виды движения, например, когда человек прыгает или находится в состоянии покоя (без движения). Определение вида двигательной активности типа «машет рукой вертикально» или «машет рукой горизонтально» можно использовать, в том числе для определения вида физических упражнений, или для определения действий, совершаемых человеком-оператором. Данный способ может быть использован в самых различных приложениях. Наиболее перспективным представляется его использование при осуществлении наблюдения за состоянием организма пользователя, например, при контроле его двигательной активности. Описанное устройство, предназначенное для осуществления способа, может быть выполнено в виде наручного прибора, определяющего виды движения, ведущего подсчет числа двигательных актов и осуществляющего контроль состояния организма человека. При этом способ может быть реализован как отдельным прибором, так и системой, включающей носимое человеком устройство с датчиками ускорения и схемой обработки сигналов датчиков ускорения, средство мобильной связи и удаленную базу данных.