патент
№ RU 2407079
МПК G21C17/08
Номер заявки
2009113983/06
Дата подачи заявки
13.04.2009
Опубликовано
20.12.2010
Страна
RU
Как управлять
интеллектуальной собственностью
Чертежи 
4
Реферат

Изобретение относится к средствам для визуального контроля за дистанционно управляемым процессом погрузки-выгрузки или разделки отработанных тепловыделяющих сборок. Устройство содержит зеркальный лабиринт в радиационно-защитном материале с отклоняющими зеркалами и входным каналом, к которому со стороны «грязного» помещения примыкает защитный кожух с входным окном, в котором размещена система отклоняющих зеркал. Система, состоящая из двух входных и двух выходных зеркал, дает возможность проецировать достаточно большой угол обзора при существенном отклонении оси лабиринта от направления наблюдения в относительно небольшое отверстие входного канала зеркального лабиринта. К выходному каналу зеркального лабиринта примыкает блок регистрации с проецирующим объективом и фотоприемной цифровой матрицей, соединенной кабелем с внешним процессорным блоком управления и визуализации изображения. За счет использования матричной структуры фоторегистратора обеспечивается высокое качество выводимого изображения. При этом фотоприемная матрица цифрового фоторегистратора изображения максимально защищена от попадания на нее ионизирующего излучения, т.к. зеркальный лабиринт выполняет функцию радиационного коллиматора. Кроме того, жесткая привязка оптической системы переноса изображения к определенному участку наблюдаемого пространства обеспечивает единообразие восприятия изображения и позволяет использовать его для формирования соответствующих управляющих команд. 5 з.п. ф-лы, 4 ил.

Формула изобретения

1. Устройство для получения изображения объекта, находящегося в радиационно-опасной зоне, содержащее фоторегистратор изображения, а также вынесенные в чистую зону процессорный блок управления фоторегистратором и блок визуализации изображения, отличающееся тем, что устройство содержит коленчатый зеркальный лабиринт, выполненный в радиационно-защитном материале и размещенный в проходке через защитную стенку между радиационно-опасной и чистой зонами, а также размещенную в защитном кожухе, по меньшей мере, с одним светопроницаемым окном внешнюю систему отклоняющих зеркал, установленную между контролируемым участком радиационно-опасной зоны и входным каналом зеркального лабиринта и обеспечивающую приведение заданного угла и направления обзора к входному каналу зеркального лабиринта, при этом фоторегистратор изображения выполнен на основе многоэлементной полупроводниковой матрицы высокого разрешения, которая вместе с проецирующим объективом размещена на выходе коленчатого зеркального лабиринта и соединена кабелем, проложенным в проходке с собственной радиационной защитой, с процессорным блоком управления и визуализации изображения.

2. Устройство по п.1, отличающееся тем, что фоторегистратор изображения выполнен на основе цифровой CMOS-матрицы.

3. Устройство по п.1, отличающееся тем, что внешняя система отклоняющих зеркал содержит одно входное и одно выходное зеркала.

4. Устройство по п.1, отличающееся тем, что внешняя система отклоняющих зеркал содержит два входных зеркала, каждое из которых принимает изображение своего участка обзора в собственном угле, и два выходных зеркала, каждое из которых проецирует изображение соответствующего ему входного зеркала на вход зеркального лабиринта.

5. Устройство по п.1, отличающееся тем, что зеркала отклоняющей системы установлены на юстировочных столах с регулируемым углом наклона в нескольких плоскостях.

6. Устройство по п.5, отличающееся тем, что в радиационно-защитном материале проходки выполнены каналы для обеспечения доступа к регулировочным винтам юстировочных столов со стороны чистой зоны.

Описание

[1]

Изобретение относится к средствам контроля отработанного ядерного топлива, в частности, для визуального контроля за дистанционно управляемым процессом погрузки-выгрузки или разделки отработанных тепловыделяющих сборок (ОТВС) при переводе их на сухое хранение.

[2]

Проблема заключается в высокой степени радиоактивности вблизи отработанного ядерного топлива (ОЯТ) и высокой степени опасности от ошибочных действий персонала, осуществляющего манипуляции с перемещением ОТВС, в процессе обращения с ОЯТ. В частности, существует необходимость обеспечить визуальный контроль определения текущих координат конца ампулы с ОЯТ относительно ячеек чехла контейнера, в который производится ее загрузка.

[3]

Использование радиационно-стойких окон в данном случае нецелесообразно, т.к. отсутствует возможность однозначного восприятия ситуации лицом, управляющим крановым оборудованием, что делает вероятность ошибок весьма высокой. Кроме того, сам процесс контроля затруднен из-за потемнения окон, вызванного воздействием радиации.

[4]

Появление устойчивых к радиации фоторегистраторов изображения (телекамер) привело к возможности дистанционного получения изображения из опасной зоны.

[5]

Например, известна телевизионная система СТС-РБМК-40Д (см. сайт фирмы Диаконт (DIAKONT) http://www.diakont.com/tv_spec_stsl.shml и http://www.diakont.com/RBMK-40D-e.pdf), которая предназначена для оперативного просмотра внутренней поверхности графитовой кладки топливных каналов СУЗ реакторов большой мощности кипящих (РБМК) при массовой замене каналов, опубл. 28.11.2003 г.

[6]

Система состоит из:

[7]

- двухсекционной радиационно-стойкой телевизионной камеры (ТВК) с возможностью осевого и бокового обзора,

[8]

- объектива телевизионной камеры с широким углом обзора,

[9]

- осветителей, встроенных в телевизионную камеру,

[10]

- манипулятора для вертикального перемещения ТВК вдоль топливного канала,

[11]

- комплекта соединительных кабелей.

[12]

Известно также устройство, позволяющее осуществить вывод изображения из радиационно-опасной зоны, содержащее фоторегистраторы изображения (камеры телевизионные), процессорный блок управления фоторегистраторами и блок визуализации изображения, функцию которых выполняют системный блок персонального компьютера и видеомонитор. Кроме того, устройство содержит осветители и поворотные устройства для телевизионных камер и осветителей (патент РФ №2282261 от 31.12.2004, МПК G21C 17/04, 17/08).

[13]

Данное устройство также предназначено для обследования элементов управления и защиты ядерного реактора, но, как и предыдущее, является достаточно сложным в управлении и требует высокой квалификации персонала, осуществляющего съем изображения с нужных позиций. Кроме того, длительное нахождение телевизионных камер в зоне облучения даже в радиационно-защитном исполнении приводит к неизбежному ухудшению их параметров и снижению качества изображения.

[14]

Поставленная задача заключалась в создании надежного устройства для вывода качественного цифрового изображения заданного участка пространства вместе с находящимся в нем контролируемым объектом из радиационно-опасной зоны, не требующего от обслуживающего персонала в процессе работы дополнительных настроек и использующего обычные цифровые фоторегистраторы изображения.

[15]

Поставленная задача решается следующим образом.

[16]

Устройство для получения изображения объекта, находящегося в радиационно-опасной зоне, содержащее фоторегистратор изображения, а также вынесенные в чистую зону процессорный блок управления фоторегистратором и блок визуализации изображения, согласно изобретению снабжено коленчатым зеркальным лабиринтом, выполненным в радиационно-защитном материале и размещенным в проходке через защитную стенку между радиационно-опасной и чистой зонами, а также расположенную в защитном кожухе, по меньшей мере, с одним светопроницаемым окном внешнюю систему отклоняющих зеркал, установленную между контролируемым участком радиационно-опасной зоны и входным каналом зеркального лабиринта и обеспечивающую приведение заданного угла и направления обзора к входному каналу зеркального лабиринта; фоторегистратор изображения выполнен на основе многоэлементной полупроводниковой матрицы высокого разрешения, которая вместе с проецирующим объективом размещена на выходе коленчатого зеркального лабиринта и соединена кабелем, проложенным в проходке с собственной радиационной защитой, с процессорным блоком управления и блоком визуализации изображения.

[17]

Технический результат заключается в обеспечении высокого качества выводимого изображения за счет использования матричной структуры фоторегистратора. При этом фотоприемная матрица цифрового фоторегистратора изображения максимально защищена от попадания на нее ионизирующего излучения, т.к. зеркальный лабиринт выполняет функцию радиационного коллиматора. Кроме того, оптическое изображение определенного участка пространства поступает на фотоприемную матрицу через заранее настроенную в соответствии с законами оптики внешнюю систему отклоняющих зеркал. Жесткая привязка оптической системы к определенному участку наблюдаемого пространства обеспечивает единообразие восприятия изображения и позволяет использовать его для формирования соответствующих управляющих команд.

[18]

Предпочтительно фоторегистратор изображения выполнять на основе цифровой CMOS-матрицы.

[19]

Кроме того, возможны различные варианты построения отклоняющей системы зеркал в зависимости от величины угла отклонения оси входного канала зеркального лабиринта от направления обзора и от самого угла обзора.

[20]

При небольших углах обзора и отклонения достаточно использовать два зеркала: входное и выходное.

[21]

Наиболее оптимизировано выполнение системы, состоящей из двух входных и двух выходных зеркал, при этом каждое из входных зеркал принимает изображение своего участка обзора в собственном угле, а каждое из выходных проецирует изображение соответствующего ему входного зеркала на вход зеркального лабиринта. Такая система дает возможность проецировать достаточно большой угол обзора при существенном отклонении оси лабиринта от направления наблюдения.

[22]

Кроме того, все зеркала установлены на юстировочных столах с регулируемым углом наклона в нескольких плоскостях. Этим обеспечивается необходимая настройка углов наклона зеркал для обеспечения заданного направления отраженных оптических лучей.

[23]

Кроме того, в радиационно-защитном материале зеркального лабиринта выполнены сквозные каналы для обеспечения доступа продольных ключей к регулировочным винтам юстировочных столов со стороны чистой зоны.

[24]

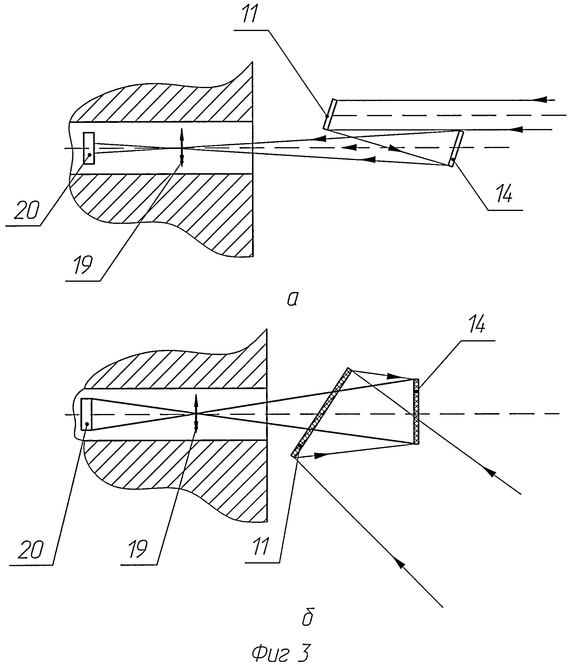
На фиг.1 приведен общий вид заявляемого устройства. На фиг.2 - разрез А-А фиг.1. На фиг.3 показана оптическая схема хода лучей для одной пары отклоняющих зеркал, на фиг.4 - оптическая схема хода лучей для двух пар отклоняющих зеркал, причем на обоих чертежах: а - вид сбоку, б - вид сверху.

[25]

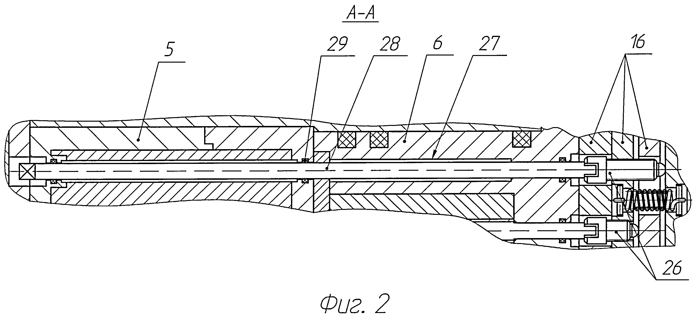
Устройство (фиг.1) размещено в корпусе 1 проходки, выполненной в радиационно-защитном исполнении между чистым помещением и помещением, где уровень радиации существенно повышен. Устройство содержит зеркальный лабиринт 2, выполненный в радиационно-защитном материале 3, с отклоняющими зеркалами 4. Все это вместе образует блок 5 коллимации, примыкающий со стороны «грязного» помещения к основанию 6 с уплотнительными кольцами 7, в котором выполнено сквозное отверстие 8, служащее входным каналом зеркального лабиринта 2. К противоположной стороне основания 6 примыкает защитный кожух 9 с входным окном 10, в котором размещена система отклоняющих зеркал. Входные зеркала 11 и 12 установлены напротив входного окна 10, зеркала 13 и 14 установлены напротив входного окна 15 канала 8. Все зеркала установлены на собственные юстировочные столы 16. К выходному каналу зеркального лабиринта примыкает блок 17 регистрации с входным окном 18, проецирующим объективом 19 и фотоприемной матрицей 20. Кабель 21, проложенный через радиационно-стойкую проходку 22, соединяет блок 17 регистрации с внешним процессорным блоком 23 управления и визуализации изображения, снабженным дисплеем 24 и клавиатурой 25. Каждый юстировочный стол 16 настраивается регулировочными винтами 26 (фиг.2), для доступа к которым в материале радиационной защиты блока 5 и основания 6 выполнены сквозные каналы 27 для инструментов настройки 28, снабженных уплотнительными кольцами 29.

[26]

Сборка устройства осуществляется следующим образом.

[27]

Изначально к торцу проходки 1, который будет ориентирован в радиационно-опасную зону, присоединяется (при помощи болтового соединения) в строго заданном положении основание 6. Основание 6 устанавливается с уже надетыми уплотнительными кольцами 7 и центрируется по прецизионной цилиндрической внутренней части корпуса 1 проходки.

[28]

Со стороны радиационно-опасной зоны на основании 6 фиксируются юстировочные столы 16 с зеркалами 11, 12, 13, 14, при этом для каждого зеркала предназначен собственный юстировочный стол. До установки защитного кожуха 9 (с использованием имитатора объекта) производится ручная настройка юстировочных столов, обеспечивающая необходимые углы поворота и наклона зеркал для приведения заданного угла обзора к входному окну 15 канала 8 (фотоприемную матрицу в процессе настройки располагают на выходе канала 8). Затем устанавливается защитный кожух 9 с входным оптическим окном 10.

[29]

Блок 5 коллимации с предварительно настроенным зеркальным лабиринтом 2 присоединяется к основанию 6 с противоположной стороны свободным перемещением по проходке с помощью шариковых направляющих на его боковой поверхности и съемной ручки (не показаны). После присоединения к основанию 6 блока 5 коллимации к последнему строго однозначным образом пристыковывается блок 17 регистрации, включающий в себя входное окно 18, объектив 19, CMOS-матрицу 20. Из блока 17 выходит заделанный в него кабель 21 в металлорукаве, который удерживается внутри проходки 22 в заданном положении с помощью элементов, обеспечивающих проходку радиационно-защитным свойством, и подсоединяется к процессорному блоку 23.

[30]

В конкретном варианте выполнения область съемки контролируемого объекта имеет достаточно большой угол обзора и смещена относительно оси проходки. Изображение контролируемой области принимается двумя входными зеркалами 11 и 12. Каждое из них настроено на свой угол обзора, в результате чего два независимых изображения, в сумме обеспечивающие полный угол обзора, поступают на выходные зеркала 13, 14, отклоняющие то и другое изображения в направлении входного окна 15. При необходимости окончательная прецизионная настройка внешних отклоняющих зеркал осуществляется продолговатыми инструментами 28 со стороны чистого помещения. Оптическая схема хода лучей настраивается таким образом, чтобы оба изображения точно вписались в габариты входного окна 15. Через зеркальный лабиринт 2 блока коллимации 5 изображение поступает на вход блока регистрации 17, и по сигналу с блока 23 управления и визуализации происходит запись изображения на многоэлементную фотоприемную CMOS-матрицу. Далее преобразованное в электрические сигналы изображение по кабелю 21 поступает через блок визуализации 25 на дисплей 24.

[31]

Таким образом, заявляемое устройство обеспечивает возможность дистанционного наблюдения за рядом операций с тепловыделяющими сборками с обеспечением высокого качества и информативности изображения, получаемого из радиационно-опасной зоны.

Как компенсировать расходы
на инновационную разработку
Похожие патенты