патент
№ RU 2576666
МПК H05K3/34

СПОСОБ МОНТАЖА МОЩНОГО ПОЛУПРОВОДНИКОВОГО ЭЛЕМЕНТА

Авторы:
Топчиев Сергей Александрович Астафьев Алексей Арнольдович Левитан Борис Аркадьевич
Все (11)
Номер заявки
2014135015/07
Дата подачи заявки
28.08.2014
Опубликовано
10.03.2016
Страна
RU
Как управлять
интеллектуальной собственностью
Чертежи 
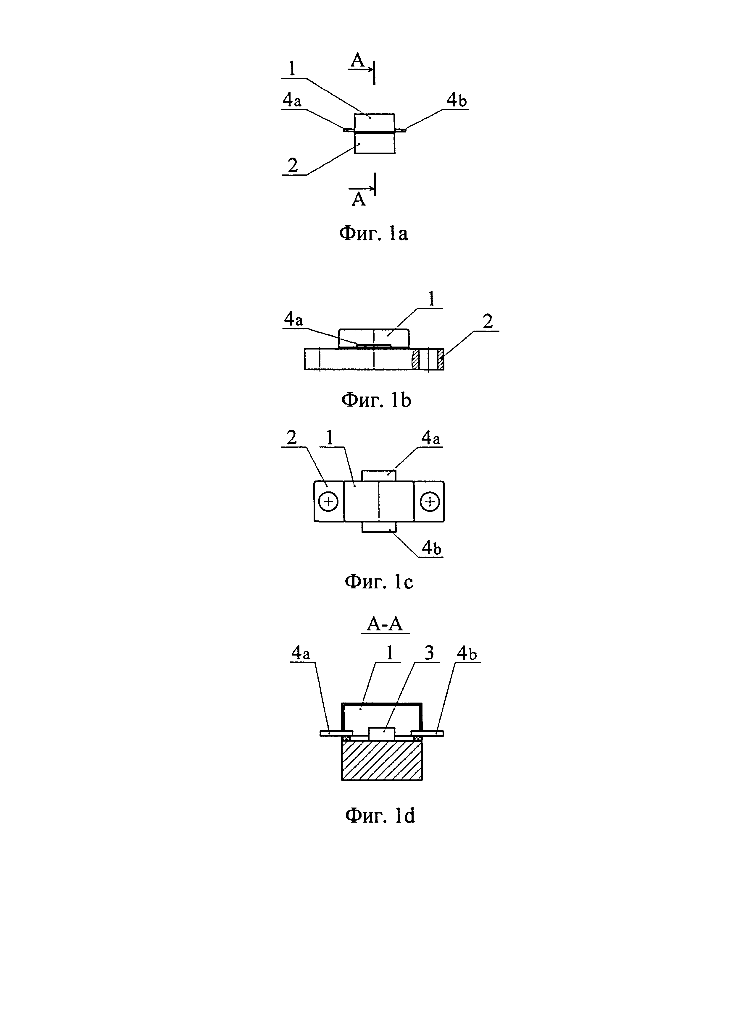
3
Реферат

Изобретение может быть использовано при изготовлении радиоэлектронных устройств. Технический результат - обеспечение оптимального согласования входного и выходного импедансов, уменьшение паразитной реактивной составляющей, увеличение максимальной выходной мощности радиоэлектронного устройства. Достигается тем, что при монтаже мощного полупроводникового элемента, содержащего корпус, теплоотводящее основание, связанное с корпусом, по меньшей мере, один кристалл, расположенный в корпусе на теплоотводящем основании, и выводы для передачи высокочастотного сигнала, сначала теплоотводящее основание в зоне, максимально близкой к упомянутому, по меньшей мере, одному кристаллу, электрически и механически соединяют с заземляющей поверхностью, по меньшей мере, одной промежуточной печатной платы, имеющей толщину, позволяющую осуществить ее упругую деформацию. Выводы для передачи высокочастотного сигнала электрически соединяют с плоскими проводниками, расположенными на ее противоположной поверхности, с образованием согласованных участков передачи сигнала. Затем электрически и механически соединяют упомянутую, по меньшей мере, одну промежуточную печатную плату с основной печатной платой. 3 з.п. ф-лы, 10 ил.

Формула изобретения

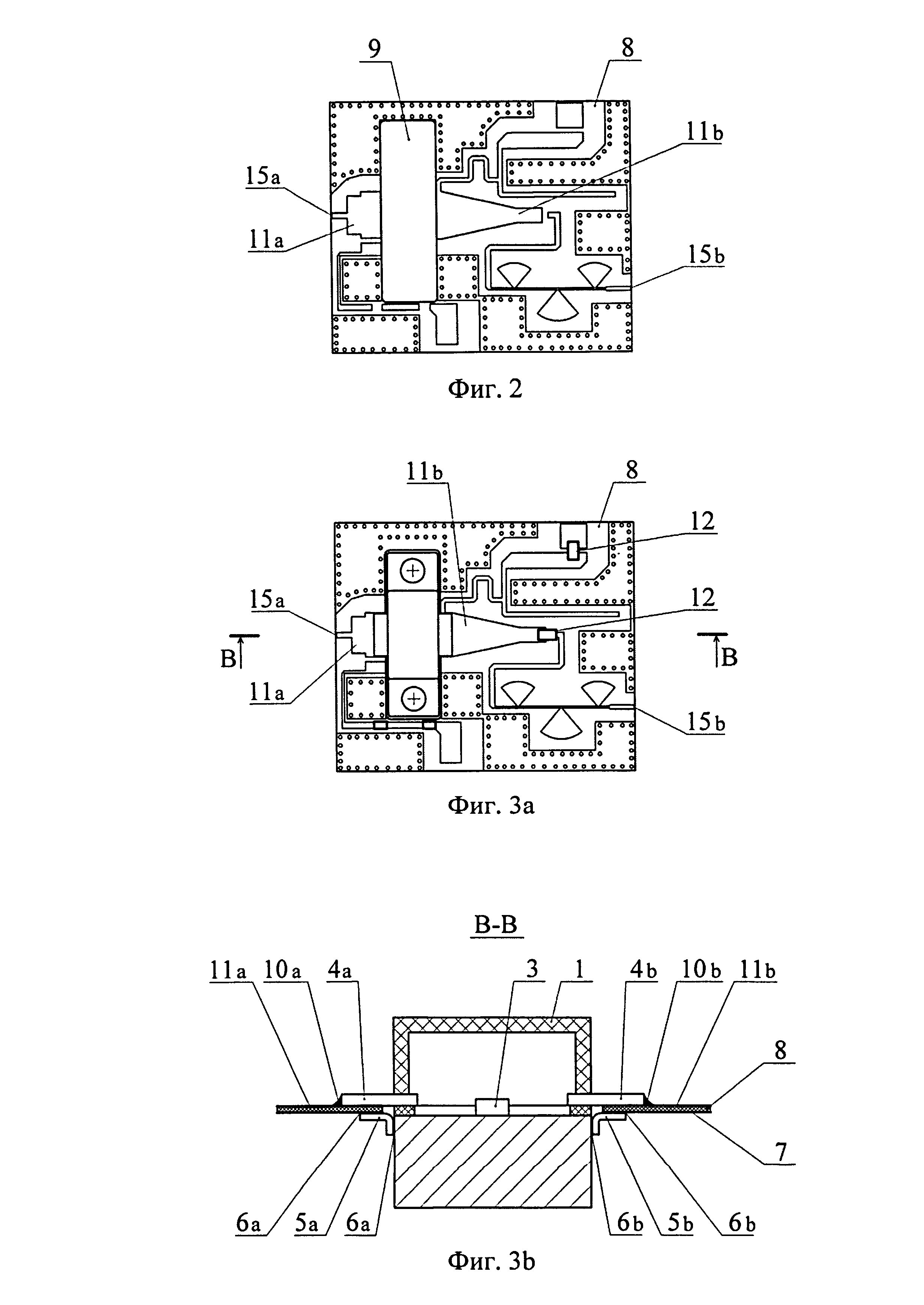
1. Способ монтажа в радиоэлектронное устройство мощного полупроводникового элемента, содержащего корпус, теплоотводящее основание, связанное с корпусом, по меньшей мере, один кристалл, расположенный в корпусе на теплоотводящем основании, и выводы для передачи высокочастотного сигнала, в котором теплоотводящее основание устанавливают на поверхность теплоотводящей структуры и электрически соединяют с заземляющей поверхностью печатной платы, а выводы для передачи высокочастотного сигнала электрически соединяют с плоскими проводниками, расположенными на противоположной поверхности печатной платы, отличающийся тем, чтосначала теплоотводящее основание в зоне, максимально близкой к упомянутому, по меньшей мере, одному кристаллу, электрически и механически соединяют с заземляющей поверхностью, по меньшей мере, одной промежуточной печатной платы, имеющей толщину, позволяющую осуществить ее упругую деформацию, а выводы для передачи высокочастотного сигнала электрически соединяют с плоскими проводниками, расположенными на ее противоположной поверхности, с образованием согласованных участков передачи сигнала, затем электрически и механически соединяют упомянутую, по меньшей мере, одну промежуточную печатную плату с основной печатной платой.

2. Способ монтажа по п. 1, отличающийся тем, чтотеплоотводящее основание устанавливают на поверхность теплоотводящей структуры с обеспечением непосредственного контакта.

3. Способ монтажа по п. 1, отличающийся тем, чтотеплоотводящее основание устанавливают на поверхность теплоотводящей структуры с использованием слоя теплопроводящего материала между ними.

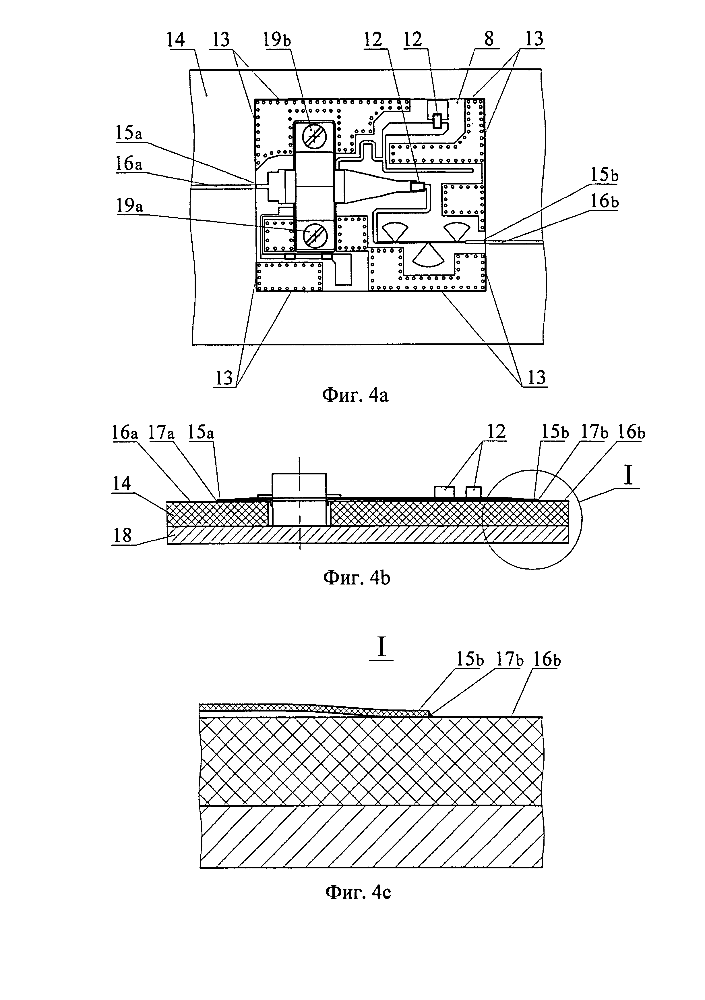
4. Способ монтажа по п. 3, отличающийся тем, чтов качестве теплопроводящего материала используют индий.

Описание

[1]

Заявленное изобретение относится к области радиоэлектронной техники и может быть использовано при изготовлении радиоэлектронных устройств.

[2]

Известны различные способы монтажа в радиоэлектронные устройства мощных полупроводниковых элементов, содержащих корпус, теплоотводящее основание, связанное с корпусом, по меньшей мере, один кристалл, расположенный в корпусе на теплоотводящем основании, и выводы для передачи высокочастотного сигнала, в которых теплоотводящее основание электрически соединяют с заземляющей поверхностью печатной платы, выводы для передачи высокочастотного сигнала электрически соединяют с плоскими проводниками, расположенными на противоположной поверхности печатной платы, а теплоотводящее основание устанавливают на поверхность теплоотводящей структуры.

[3]

В известных способах электрическое соединение теплоотводящего основания и заземляющей поверхности печатной платы осуществляют посредством установки между ними промежуточного элемента, выполненного в виде прокладки из фольги (см. US 6222741 В1, 24.04.2001) или металлической полосы (см. US 3982271 А, 21.09.1976).

[4]

Подобный способ принят за ближайший аналог к заявленному способу.

[5]

Недостатки известных способов состоят в том, что промежуточный элемент имеет значительные размеры, что увеличивает паразитную реактивную составляющую, что, в свою очередь, приводит к сужению полосы пропускания радиоэлектронного устройства.

[6]

Задачей заявленного изобретения является создание способа монтажа в радиоэлектронное устройство мощного полупроводникового элемента, лишенного указанных недостатков.

[7]

В результате достигается технический результат, заключающийся:

[8]

1) в обеспечении оптимального согласования входного и выходного импедансов;

[9]

2) в уменьшении паразитной реактивной составляющей, что, в свою очередь, приводит к расширению полосы пропускания радиоэлектронного устройства, увеличению его максимальной выходной мощности и КПД;

[10]

3) в возможности эксплуатации радиоэлектронного устройства в широком температурном диапазоне;

[11]

4) в повышении ремонтопригодности радиоэлектронного устройства.

[12]

Конкретно, указанный технический результат достигается посредством осуществления способа монтажа в радиоэлектронное устройство мощного полупроводникового элемента, содержащего корпус, теплоотводящее основание, связанное с корпусом, по меньшей мере, один кристалл, расположенный в корпусе на теплоотводящем основании, и выводы для передачи высокочастотного сигнала, в котором сначала теплоотводящее основание в зоне, максимально близкой к упомянутому, по меньшей мере, одному кристаллу, электрически и механически соединяют с заземляющей поверхностью, по меньшей мере, одной промежуточной печатной платы, имеющей толщину, позволяющую осуществить ее упругую деформацию, а выводы для передачи высокочастотного сигнала электрически соединяют с плоскими проводниками, расположенными на ее противоположной поверхности, с образованием согласованных участков передачи сигнала, а затем электрически и механически соединяют упомянутую, по меньшей мере, одну промежуточную печатную плату с основной печатной платой, при этом теплоотводящее основание устанавливают на поверхность теплоотводящей структуры.

[13]

В одном из частных вариантов выполнения теплоотводящее основание устанавливают на поверхность теплоотводящей структуры с обеспечением непосредственного контакта.

[14]

В другом частном варианте выполнения теплоотводящее основание устанавливают на поверхность теплоотводящей структуры с использованием слоя теплопроводящего материала между ними.

[15]

В предпочтительном варианте выполнения в качестве теплопроводящего материала используют индий.

[16]

Заявленные особенности монтажа мощного полупроводникового элемента позволяют обеспечить оптимальное согласование входного и выходного импедансов и уменьшение паразитной реактивной составляющей, что, в свою очередь, приводит к расширению полосы пропускания радиоэлектронного устройства, увеличению его максимальной выходной мощности и КПД.

[17]

Использование, по меньшей мере, одной промежуточной печатной платы, имеющей толщину, позволяющую осуществить ее упругую деформацию, позволяет использовать радиоэлектронное устройство в широком температурном диапазоне, а также повысить его ремонтопригодность за счет возможности простого отсоединения полупроводникового элемента, соединенного с промежуточной печатной платой, от основной печатной платы и их замены.

[18]

На фиг. 1a показан частный случай мощного полупроводникового элемента (вид спереди).

[19]

На фиг. 1b показан частный случай мощного полупроводникового элемента (вид сбоку).

[20]

На фиг. 1с показан частный случай мощного полупроводникового элемента (вид сверху).

[21]

На фиг. 1d показан частный случай мощного полупроводникового элемента (поперечный разрез А-А).

[22]

На фиг. 2 показана промежуточная плата (вид сверху).

[23]

На фиг. 3a показана промежуточная плата, соединенная с полупроводниковым элементом (вид сверху).

[24]

На фиг. 3b показана промежуточная плата, соединенная с полупроводниковым элементом (вид сбоку в разрезе).

[25]

На фиг. 4a показано схематичное изображение полупроводникового элемента, смонтированного в радиоэлектронное устройство (вид сверху).

[26]

На фиг. 4b показано схематичное изображение полупроводникового элемента, смонтированного в радиоэлектронное устройство (вид сбоку).

[27]

На фиг. 4с показан вид I.

[28]

Заявленный способ реализуют, например, следующим образом.

[29]

Мощный полупроводниковый элемент (в частности, транзистор, показанный на фиг. 1a-1d) содержит корпус 1, теплоотводящее основание 2, связанное с корпусом, кристалл 3, расположенный в корпусе 1 на теплоотводящем основании 2, и выводы 4a и 4b для передачи высокочастотного сигнала.

[30]

Сначала, как показано на фиг. 3a и 3b, теплоотводящее основание 2 в зоне, максимально близкой к кристаллу 3, электрически и механически, например при помощи металлических уголков 5a и 5b, имеющих ширину, не меньшую, чем ширина выводов 4a и 4b, и паяных или сварных соединений 6a и 6b, соединяют с заземляющей поверхностью 7 промежуточной печатной платы 8. В промежуточной печатной плате 8, как показано на фиг. 2, имеется отверстие 9, позволяющее осуществить данное соединение.

[31]

Возможно использование двух и более промежуточных печатных плат 8, соединенных между собой (условно не показано).

[32]

Выводы 4a и 4b для передачи высокочастотного сигнала электрически (например, при помощи паяных или сварных соединений 10a и 10b) соединяют с плоскими проводниками 11a и 11b, расположенными на поверхности промежуточной печатной платы 8, противоположной заземляющей поверхности 7. При этом плоские проводники 11а и 11b выполняют функцию трансформаторов импедансов, в результате чего образуются согласованные участки передачи сигнала. Согласование обеспечивают также при помощи дополнительных согласующих элементов (в частности, конденсаторов 12), расположенных на этой же поверхности промежуточной печатной платы 8.

[33]

Промежуточная печатная плата 8 имеет толщину, позволяющую осуществить ее упругую деформацию.

[34]

Затем, как показано на фиг. 4а и 4b, электрически и механически (например, при помощи паяных соединений 13) соединяют промежуточную печатную плату 8 с основной печатной платой 14. При этом, как показано на фиг. 4 с, концевые части 15а и 15b плоских проводников 11а и 11b электрически соединяют с плоскими проводниками 16а и 16b, расположенными на поверхности основной печатной платы 14 (например, при помощи паяных или сварных соединений 17а и 17b).

[35]

Теплоотводящее основание 2 устанавливают на поверхность теплоотводящей структуры 18 (в частности, на внутреннюю поверхность металлического корпуса радиоэлектронного устройства) с обеспечением непосредственного контакта и, например, закрепляют при помощи винтов 19а и 19b.

[36]

Теплоотводящее основание 2 могут устанавливать на поверхность теплоотводящей структуры 18 с использованием слоя теплопроводящего материала (например, индия) между ними.

[37]

Электрические соединения, относящиеся к питанию полупроводникового элемента и/или его управлению, осуществляются известным образом, не раскрываемым конкретно в рамках настоящего изобретения.

Как компенсировать расходы
на инновационную разработку
Похожие патенты