Изобретение относится к вычислительной технике. Технический результат заключается в повышении сохранности информации в элементах на битовых ячейках магниторезистивной памяти (MRAM). Элемент MRAM состоит из n ячеек MRAM, где n ≥3, причем каждая из ячеек содержит по меньшей мере один слой магнитного материала с изменяемой ориентацией вектора намагниченности (свободный слой) и по меньшей мере один слой с фиксированным направлением вектора намагниченности (опорный слой), при этом легкая ось первой ячейки данного элемента MRAM имеет заданное направление, а направление легкой оси каждой последующей ячейки повернуто относительно предыдущей ячейки на угол, равный, при этом угол между ячейкой с номером n и первой ячейкой также составляет. 9 н.п. ф-лы, 6 ил.
1. Элемент магниторезистивной памяти (MRAM), состоящий из двух ячеек MRAM, каждая из которых содержит по меньшей мере один слой магнитного материала с изменяемой ориентацией вектора намагниченности (свободный слой) и по меньшей мере один составной слой (опорный слой), состоящий из двух противоположно направленных магнитных слоев с фиксированным направлением вектора намагниченности, направление которого определяется по слою, ближайшему к свободному слою, причем легкие оси ячеек являются сонаправленными, вне зависимости от пространственного расположения ячеек, и намагниченности свободных слоев каждой из ячеек являются противоположно направленными. 2. Способ записи информации на элемент памяти по п.1, характеризующийся тем, что в процессе записи информации осуществляется изменение векторов намагниченности свободного слоя каждой из ячеек таким образом, чтобы они были противоположно направленными друг другу. 3. Способ считывания информации из элемента MRAM по п.1, характеризующийся тем, что определяют направление намагниченности свободных слоев каждой ячейки, и если намагниченность ячеек является противоположно направленной, то выполняют считывание информации из элемента, в противном случае считают, что информация, содержащаяся в элементе, утратила целостность и считыванию не подлежит. 4. Элемент MRAM, состоящий из n ячеек MRAM, где n ≥3, причем каждая из ячеек содержит по меньшей мере один слой магнитного материала с изменяемой ориентацией вектора намагниченности (свободный слой) и по меньшей мере один слой с фиксированным направлением вектора намагниченности (опорный слой), при этом легкая ось первой ячейки данного элемента MRAM имеет заданное направление, а направление легкой оси каждой последующей ячейки повернуто относительно предыдущей ячейки на угол, равный 5. Способ записи информации в элемент памяти по п.4, характеризующийся тем, что задается направление намагниченности для первой ячейки вдоль или противоположно направлению намагниченности её опорного слоя (соответствует логическому нулю или единице в элементе памяти), при этом для каждой ячейки с увеличивающимся порядковым номером намагниченность имеет положительную проекцию на направление намагниченности предыдущей ячейки. 6. Способ считывания информации из элемента памяти по п.4, характеризующийся тем, что определяют направление вектора намагниченности свободного слоя каждой ячейки относительно её опорного слоя, определяют ячейки, у которых направление вектора намагниченности свободного слоя соответствует логическому нулю и у которых направление вектора намагниченности свободного слоя соответствует логической единице, при этом определяют состояние элемента как состояние большинства входящих в него ячеек, причем после процедуры считывания состояние всех ячеек элемента приводится в соответствие с определенным состоянием элемента. 7. Комбинированный элемент MRAM, содержащий два элемента памяти по п. 4, причем каждая из ячеек первого упомянутого элемента имеет спаренную ей ячейку во втором упомянутом элементе, в которой легкие оси ячеек являются сонаправленными, вне зависимости от пространственного расположения центров ячеек первого и второго элементов памяти, и намагниченности свободных слоев ячеек первого элемента памяти и соответствующих им спаренных ячеек второго элемента памяти являются противоположно направленными. 8. Способ записи информации в комбинированный элемент памяти по п.7, характеризующийся тем, что в первом элементе памяти задают направление намагниченности вдоль легкой оси первой ячейки, определяют для первой ячейки состояние намагниченности как логический 0 или логическая 1, выполняют запись информации в элемент памяти таким образом, чтобы направление намагниченности вдоль легкой оси каждой последующей ячейки относительно предыдущей было идентичным состоянию намагниченности первой ячейки, причем направления векторов намагниченности свободного слоя ячеек второго элемента памяти определяются как противоположно направленные направлениям намагниченности свободного слоя соответствующих спаренных ячеек первого элемента памяти. 9. Способ считывания информации из комбинированного элемента памяти по п.7, характеризующийся тем, что определяют направление вектора намагниченности свободного слоя каждой ячейки первого элемента памяти и спаренной ей ячейки второго элемента памяти, определяют пары ячеек, у которых направления векторов намагниченности свободных слоев являются противоположно направленным, остальные спаренные ячейки признаются утратившими информацию, причем состояние комбинированного элемента памяти определяется как состояние большинства ячеек комбинированного элемента памяти, сохранивших информацию, и если таких ячеек нет, то весь упомянутый комбинированный элемент считается утратившим информацию и считыванию не подлежит, причем после процедуры считывания состояния всех ячеек приводится в соответствие с определенным состоянием элемента.
, при этом угол между ячейкой с номером n и первой ячейкой также составляет
.
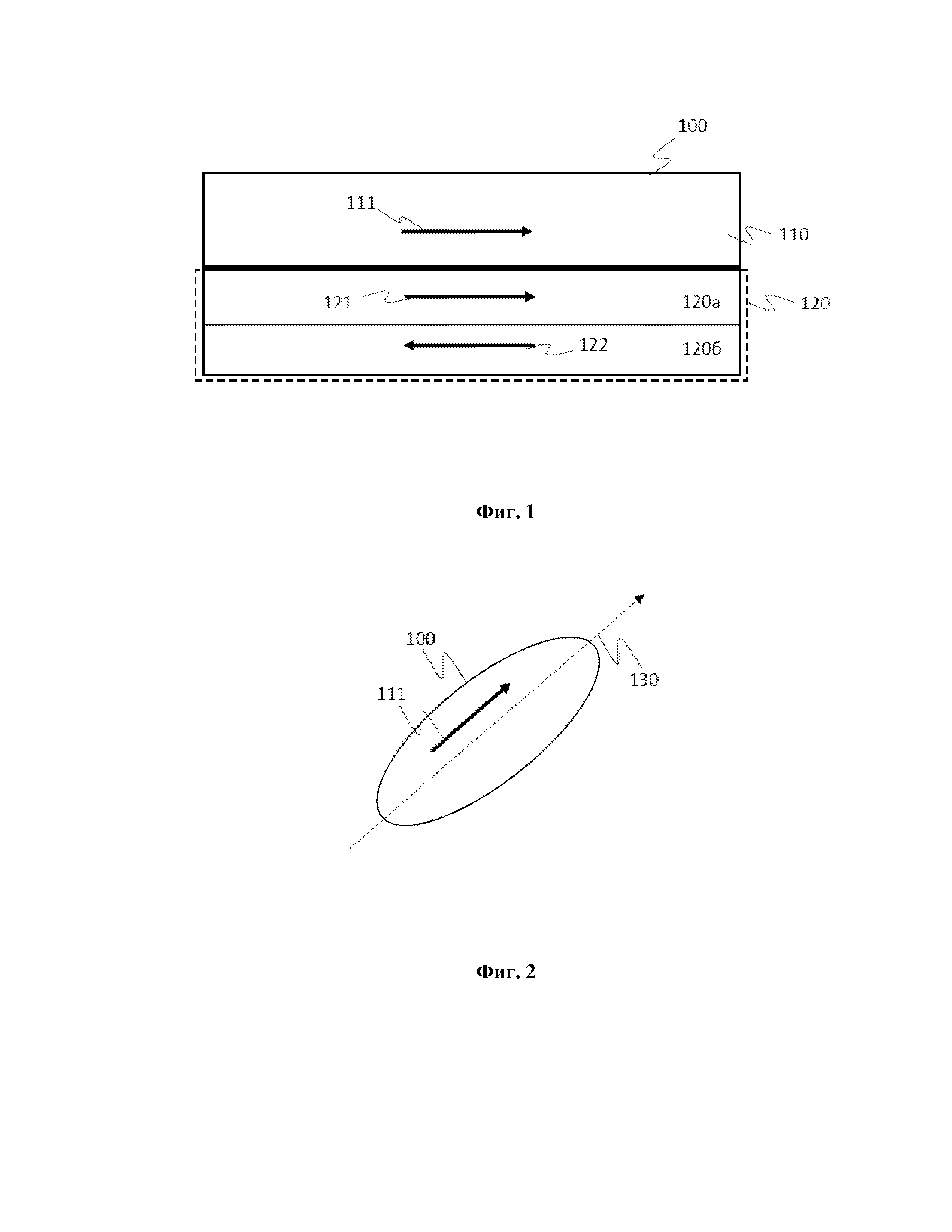
ОБЛАСТЬ ТЕХНИКИ Настоящее изобретение описывает элемент магниторезистивной памяти, состоящий из ячеек магнитной памяти с произвольным доступом (MRAM), содержащих туннельный магнитный переход и имеющих улучшенную эффективность переключения, более низкое потребление электроэнергии, обладающий повышенной устойчивостью к внешним магнитным полям и обеспечивающий достоверность считываемых данных. Настоящее изобретение описывает многоячеечные биты памяти MRAM и их конфигурации, а также способы записи информации на них и способы считывания данной информации. УРОВЕНЬ ТЕХНИКИ В существующем уровне техники известны различные примеры изготовления и работы с MRAM ячейками памяти, защищенными от внешних магнитных полей. Из патента US6515352 (Micron Technology, Inc., 04.02.2003) известно решение по защите магнитного проводника от внешнего воздействия с помощью применения кожуха из магниточувствительного материала, расположенного на поверхности проводника. Патент US7489015 (Samsung Electronics Co., Ltd., 10.02.2009) раскрывает устройство памяти, в частности MRAM памяти, содержащее положку с защитой от внешнего магнитного поля. Таким образом, на сегодняшний момент существует необходимость в изготовлении ячейки памяти MRAM с устойчивой защитой от внешнего магнитного воздействия, что позволит повысить устойчивость средства памяти и защиту информации от ее потери. РАСКРЫТИЕ ИЗОБРЕТЕНИЯ Технической проблемой, решаемой с помощью заявленного технического решения, является реализация конструкции элемента памяти MRAM, обеспечивающей повышенную устойчивость данных записанных на данную ячейку. Технический результат совпадает с решением технической проблемы и заключается в повышении сохранности информации в элементах на битовых ячейках памяти MRAM. Дополнительно также решается задача контроля достоверности считываемой информации. Для осуществления указанного технического результата в предпочтительном варианте осуществления заявлен элемент магниторезистивной памяти (MRAM), состоящий из двух ячеек MRAM, каждая из которых содержит по меньшей мере один слой магнитного материала с изменяемой ориентацией вектора намагниченности (свободный слой) и по меньшей мере один составной слой (опорный слой), состоящий из двух противоположно направленных магнитных слоев с фиксированным направлением вектора намагниченности, направление которого определяется по слою, ближайшему к свободному слою, причем легкие оси ячеек являются сонаправленными, вне зависимости от пространственного расположения ячеек, и намагниченности свободных слоев каждой из ячеек являются противоположено направленными. В другом предпочтительном варианте осуществления заявлен способ записи информации на вышеуказанный элемент памяти, характеризующийся тем, что в процессе записи информации осуществляется изменение векторов намагниченности свободного слоя каждой из ячеек таким образом, чтобы они были противоположено направленными друг другу. В другом предпочтительном варианте осуществления заявлен способ считывания информации из вышеуказанного элемента MRAM, характеризующийся тем, что определяют направление намагниченности свободных слоев каждой ячейки, и если намагниченность ячеек является противоположено направленной, то выполняют считывание информации из элемента, в противном случае считают, что информация, содержащаяся в элементе, утратила целостность и считыванию не подлежит. В другом предпочтительном варианте осуществления заявлен элемент MRAM, состоящий из n ячеек MRAM, где n ≥3, причем каждая из ячеек содержит по меньшей мере один слой магнитного материала с изменяемой ориентацией вектора намагниченности (свободный слой) и по меньшей мере один слой с фиксированным направлением вектора намагниченности (опорный слой), при этом легкая ось первой ячейки данного элемента MRAM имеет заданное направление, а направление легкой оси каждой последующей ячейки повернуто относительно предыдущей ячейки на угол, равный 2π⁄n±10%, при этом угол между ячейкой с номером n и первой ячейкой также составляет 2π⁄n±10%. В другом предпочтительном варианте заявлен способ записи информации в вышеуказанный элемент памяти MRAM, характеризующийся тем, что задается направление намагниченности для первой ячейки вдоль или противоположно направлению намагниченности её опорного слоя (соответствует логическому нулю или единице в элементе памяти), при этом для каждой ячейки с увеличивающимся порядковым номером намагниченность имеет положительную проекцию на направление намагниченности предыдущей ячейки. В другом предпочтительном варианте заявлен способ считывания информации из элемента памяти, характеризующийся тем, что определяют направление вектора намагниченности свободного слоя каждой ячейки относительно её опорного слоя, определяют ячейки, у которых направление вектора намагниченности свободного слоя соответствует логическому нулю и у которых направление вектора намагниченности свободного слоя соответствует логической единице, при этом определяют состояние элемента как состояние большинства входящих в него ячеек, причем после процедуры считывания состояние всех ячеек элемента приводится в соответствие с определенным состоянием элемента. В другом предпочтительном варианте представлен комбинированный элемент MRAM, содержащий два элемента памяти, каждый из которых соответствует вышеуказанной конструкции элемента MRAM из n ячеек памяти, причем каждая из ячеек первого упомянутого элемента имеет спаренную ей ячейку во втором упомянутом элементе, в которой легкие оси ячеек являются сонаправленными, вне зависимости от пространственного расположения центров ячеек первого и второго элементов памяти, и намагниченности свободных слоев ячеек первого элемента памяти и соответствующих им спаренных ячеек второго элемента памяти являются противоположено направленными. В другом предпочтительном варианте осуществления заявлен способ записи информации в комбинированный элемент памяти, описанный выше, характеризующийся тем, что в первом элементе памяти задают направление намагниченности вдоль легкой оси первой ячейки, определяют для первой ячейки состояние намагниченности как логический 0 или логическая 1, выполняют запись информации в элемент памяти таким образом, чтобы направление намагниченности вдоль легкой оси каждой последующей ячейки относительно предыдущей было идентичным состоянию намагниченности первой ячейки, причем направления векторов намагниченности свободного слоя ячеек второго элемента памяти определяются как противоположно направленные направлениям намагниченности свободного слоя соответствующих спаренных ячеек первого элемента памяти. В другом предпочтительном варианте осуществления заявлен способ считывания информации из комбинированного элемента памяти, описанного выше, характеризующийся тем, что определяют направление вектора намагниченности свободного слоя каждой ячейки первого элемента памяти и спаренной ей ячейки второго элемента памяти, определяют пары ячеек, у которых направления векторов намагниченности свободных слоев являются противоположено направленным, остальные спаренные ячейки признаются утратившими информацию, причем состояние комбинированного элемента памяти определяется как состояние большинства ячеек комбинированного элемента памяти, сохранивших информацию, и если таких ячеек нет, то весь упомянутый комбинированный элемент считается утратившим информацию и считыванию не подлежит, причем после процедуры считывания состояния всех ячеек приводится в соответствие с определенным состоянием элемента. КРАТКОЕ ОПИСАНИЕ ЧЕРТЕЖЕЙ Фиг. 1 иллюстрирует вид ячейки памяти в разрезе. Фиг. 2 иллюстрирует вид ячейки памяти (вид сверху). Фиг. 3 иллюстрирует вариант комбинированного элемента памяти MRAM. Фиг. 4 иллюстрирует пример работы логики при проверке целостности комбинированного элемента памяти. Фиг. 5 иллюстрирует пример бита MRAM, состоящего из пяти ячеек. Фиг. 6 иллюстрирует пример комбинированного бита MRAM со спаренными ячейками. ОСУЩЕСТВЛЕНИЕ ИЗОБРЕТЕНИЯ Магнитная память произвольного доступа (MRAM), использует магнитные, а не электрические, эффекты для хранения бит информации. Использование магнитной памяти в большинстве случаев позволяет увеличить производительность электронных устройств, позволяя хранить большие объемы информации и при этом иметь достаточно быстрое время записи/считывания, не требуют высокого энергопотребления (по сравнению с другими типами памяти). Кроме того, MRAM позволяет сохранять информацию даже при отключенном питании, позволяя электронным устройствам, работающим на базе MRAM, мгновенно запускаться, в отличие от устройств с обычной электронной памятью, которые требуют предварительной инициализации для загрузки программного обеспечения в память. Типичный элемент (чип) магнитной памяти включает в себя массив ячеек. Ячейки памяти могут включать в себя слой магнитного материала с изменяемой ориентацией вектора намагниченности и слоя магнитного материала, у которого вектор намагниченности имеет фиксированное направление. Слой с изменяемой ориентацией вектора намагниченности используется для хранения информации и в литературе часто называется свободным слоем (FL - free layer или иногда SL – sence layer). Слой же с фиксированным направлением вектора намагниченности называется опорным слоем (RL – reference layer). Сопротивление ячейки магнитной памяти MRAM при параллельном и антипараллельном положении свободного и опорного слоя различны благодаря эффекту туннельного магнетосопротивления (TMR - tunnel magnetoresistance). Таким образом в ячейках памяти MRAM определяются логические “0” – положение меньшего сопротивления и “1” – положение большего сопротивления (возможно и обратное определение). Есть два параметра, определяющие стабильность ячейки, это критическое поле Энергетический барьер определяет такой важный параметр как параметр температурной стабильности дельта (Δ). Данный параметр равен отношению энергетического барьера, который должен быть преодолен намагниченностью свободного слоя ячейки памяти для того чтобы произошло переключение между двумя стабильными состояниями ячейки памяти (соответствующими логическим «нулю» и «единице»), к температуре ячейки ( Параметр температурной стабильности ячеек памяти позволяет определить вероятность спонтанного переключения ячеек памяти. Для этого используется простая формула, полученная из распределения Больцмана: Обычно, чем меньше критическое поле, тем меньше энергетический барьер, однако зависимость между ними может быть нелинейная и включать ряд дополнительных параметров (размер ячейки, угол, под которым направлено поле, и т.д.). Переключение ячеек памяти MRAM может осуществляться различными способами, включающими в себя переключение за счет переноса магнитного момента спиновым током, переключение магнитным полем, переключение магнитным полем с применением нагрева, а также некоторыми другими способами. Кроме запланированного переключения, ячейки памяти MRAM могут переключаться незапланированно, особенно сильно это может проявляться в сильном внешнем магнитном поле. Таким образом, чипы памяти MRAM могут претерпевать ошибки в присутствии внешнего паразитного магнитного поля. Это связано с тем что при наличии внешнего магнитного поля величина энергетического барьера ячеек памяти MRAM, разделяющего два положения равновесия, соответствующие логическим «0» и «1», изменяется и ячейка может спонтанно перейти из одного положения в другое, что приведет к потере информации. При этом изменение энергетического барьера зависит не только от величины паразитного внешнего магнитного поля, но и от его направления. Так, при поле, направленном под углом Для реальных приложений внешнее магнитное поле может быть направлено в произвольном направлении, поэтому для расчета энергетического барьера необходимо ориентироваться на направление, которое наиболее сильно уменьшает барьер – наихудшее направление. Таким образом, для одной ячейки – это направление внешнего магнитного поля на На Фиг. 1 представлен общий вид ячейки 100 элемента MRAM согласно первому предпочтительному варианту осуществления. Ячейка 100 содержит по меньшей мере один слой магнитного материала с изменяемой ориентацией вектора намагниченности (свободный слой) 110 и по меньшей мере один составной слой (опорный слой) 120, состоящий из двух противоположно направленных магнитных слоев 120а, 120б с фиксированным направлением вектора намагниченности 121, 122, направление которого определяется по слою 120а, ближайшему к свободному слою 110. Согласно Фиг. 2 ячейка 100 может выполняться различной формы (прямоугольная, эллиптическая и т.п.). На Фиг. 3 представлен пример выполнение комбинированного элемента памяти MRAM 10, состоящего из двух ячеек 100 и 200. Легкие оси 130, 230 ячеек памяти являются сонаправленными, в то время как намагниченности свободных слоев 111, 211 являются противоположено направленными. На Фиг. 4 показан пример работы логики комбинированного элемента MRAM 10. В процессе записи информации (может осуществляться как магнитным полем, так и спин-поляризованным током) на элемент MRAM 10, состоящего из двух ячеек памяти 100, 200, осуществляется изменение векторов намагниченности 111, 211 свободного слоя 110, 120 каждой из ячеек 100, 200 таким образом, чтобы они были противоположено направленными друг другу. Положения «верх» и «низ», отображенные на Фиг. 4, соответствуют большему и меньшему сопротивлению структуры. Такая разница достигается благодаря эффекту туннельного магнитосопротивления. Логика работы заключается в том, что если вектора намагниченности в ячейках памяти 100, 200 противоположно ориентированы, то данным хранящимся в этом бите памяти 10 можно доверять. Если же ориентация векторов намагниченности 111, 211 будет совпадать, это будет означать что бит подвергся воздействию внешнего магнитного поля и потерял хранящуюся в нем информацию и доверять данным из этого бита 10 нельзя. При считывании информации с элемента памяти MRAM 10, состоящего из двух ячеек памяти 100, 200 выполняется определение направления векторов намагниченности свободных слоев 111, 211 каждой из ячеек 100, 200, в ходе которого устанавливается произошло ли изменение направления вектора намагниченности по сравнению с направлением намагниченности свободных слоев 111, 211 ячеек 100, 200 при записи информации на элемент MRAM 10. Если намагниченность ячеек 100, 200 является противоположено направленной, то выполняют считывание информации из элемента MRAM 10, т.к. целостность информации, хранимой на нем, не является нарушенной. В противном же случае, при определении намагниченности свободных слоев ячеек 100, 200 изменившей свое направление на сонаправленное, информация, содержащаяся в элементе 10, признается утратившей целостность из-за воздействия магнитного поля и считыванию не подлежит. На Фиг. 5 представлен пример комбинированного бита (элемента) MRAM 20, состоящего из n количества ячеек 100-500, где n больше или равно трём, в частности, из пяти ячеек памяти 100-500. Элемент памяти 20 создается путем комбинирования пяти ячеек 100-500 памяти MRAM, расположенных таким образом, что каждая последующая ячейка 100-500 относительно предыдущей повернута на угол Количество ячеек может быть различным в элементе 20, главное в данной структуре соблюдение положения ячеек 100-500 друг относительно друга, и количество ячеек n должно быть больше или равно трём. Способность хранить информацию для ячейки памяти 100 MRAM определяется так называемым параметром температурной стабильности дельта (Δ). Данный параметр равен отношению величины энергетического барьера ( Для того, чтобы массив памяти хранил информацию 10 лет, необходимый минимальный уровень Важно напомнить, что Здесь где Разные знаки обозначают что разные направление внешнего магнитного поля могут действовать как против поля анизотропии, тем самым уменьшая энергетический барьер и Такое поле называется критическим и обозначается Наименьшее значение Параметр температурной зависимости, при учете угла наклона вектора магнитного поля к легкой оси, связан с критическим полем Как видно из этой формулы, падение Предложенное техническое решение позволяет нивелировать влияния направления внешнего магнитного поля на устойчивость бита памяти MRAM 10 (20), состоящего из двух и более ячеек памяти, а также позволяет контролировать достоверность хранящейся в бите информации. Полученный вышеуказанным способом комбинированный элемент MRAM 20 из множества ячеек 100-500, равномерно распределенных по Для определения целостности информации, хранимой в элементе памяти MRAM 20, проверяется целостность всех ячеек 100-500, входящих в него. Принципу работы логики схож со способом, отображенным на Фиг. 4. Логика работы заключается в том, что если вектора намагниченности в ячейках памяти 100-500 противоположно ориентированы, то данным хранящимся в этом бите памяти 20 можно доверять. Если же ориентация векторов намагниченности ячеек 100-500 будет совпадать, это будет означать что бит 20 подвергся воздействию внешнего магнитного поля и потерял хранящуюся в нем информацию и доверять данным из бита 20 нельзя. Способ записи информации в элемент памяти MRAM 20 заключается в том, что направление намагниченности для первой ячейки 100 задается вдоль или противоположно направлению намагниченности её опорного слоя (соответствует логическому нулю или единице в элементе памяти), при этом для каждой ячейки 200-500 элемента MRAM 20 с увеличивающимся порядковым номером намагниченность имеет положительную проекцию на направление намагниченности предыдущей ячейки. Направление намагниченности опорного слоя ячеек, в частности, выполняется с помощью нагрева в магнитной печи выше температуры Кюри в присутствии сильного магнитного поля. Направление намагниченности свободного слоя может задаваться как локальным воздействием магнитного поля (за счет пропускания тока через токовые линии вблизи ячейки), так и воздействием спин-поляризованного тока. При считывании информации их элемента памяти 20 определяется направление вектора намагниченности свободных слоев каждой ячейки 100-500 относительно их опорных слоёв, при этом в ходе проверки определяются ячейки 100-500, у которых направление вектора намагниченности свободного слоя соответствует логическому нулю и у которых направление вектора намагниченности свободного слоя соответствует логической единице. Выполняется определение состояния элемента MRAM 20 как состояние большинства входящих в него ячеек 100-500, причем, после процедуры считывания, состояние всех ячеек 100-500 элемента 20 приводится в соответствие с определенным состоянием элемента 20 в момент записи на него информации, что позволяет произвести восстановление утраченной информации в таких ячейках памяти. Наихудшее направление магнитного поля для элемента памяти MRAM 20 – это то, при котором информацию будет утеряна у большей части ячеек памяти 100-500 MRAM, входящих в комбинированный элемент памяти 20, например, если информация будет утеряна в трех ячейках памяти из пяти. В противном случае информацию можно восстановить по значению данных в большинстве ячеек 100-500, т.е. по их первоначально определенному состоянию. В этом случае для двух ячеек памяти 100, 200 из пяти критическое поле уменьшается на 30% от максимального, а для оставшихся трех 300-500 – не изменится или даже возрастает. Соответственно, увеличение барьера для описанного случая комбинированного бита памяти 20 будет соответствовать увеличению дельты примерно на На примере элемента MRAM 20 Соответственно, падение барьера от угла наклона вектора магнитного поля к легкой оси 130-530 для наихудшего случая комбинированного элемента памяти 20 будет на На Фиг. 6 представлен другой предпочтительный вариант реализации заявленного решения, который заключается в комбинации предыдущих, в частности, предлагается архитектура комбинированного элемента памяти MRAM 30, который содержит два комбинированных элемента памяти 30а и 30б, каждый из которых является аналогичным элементу памяти MRAM 20. Каждая из ячеек 100а-500а элемента 30а имеет спаренную ей ячейку 100б-500б элемента 30б, в которой легкие оси соответствующих ячеек являются сонаправленными, вне зависимости от пространственного расположения центров ячеек 100а-500а и 100б-500б, и намагниченности свободных слоев ячеек 100а-500а и соответствующих им спаренных ячеек 100б-500б являются противоположено направленными. Представленное на Фиг. 6 расположение ячеек элемента MRAM 30 может отличаться (при сохранении взаимной ориентации ячеек). Так, например, расположение ячеек вдоль по кругу или вдоль прямой линии будет иметь тоже самое значение. Стрелками обозначены векторы направления намагниченности. Комбинирование описанных выше примеров исполнения комбинированных элементов MRAM 10 и 20 в конструкции элемента 30 позволяет считывать информацию с такого бита MRAM 30 даже в том случае, если 4 из 5 спаренных ячеек памяти сменили ориентацию на сонаправленную. Таким образом, стабильность данного бита к воздействию внешнего магнитного поля оказывается очень высокой – бит потеряет информацию при величине поля практически совпадающем с полем перемагничивания при отсутствии наклона вектора внешнего магнитного поля к вектору намагниченности ячейки памяти, что в 2 раза выше чем для одной ячейки при направлении магнитного поля π/4 к вектору намагниченности ячейки. В целом, данная конструкция обладает примерно тем же уровнем стабильности, что и описанная в ранее комбинированная ячейка, однако возможность проверки достоверности записанной информации является крайне важным преимуществом конструкции элемента памяти 30. Способ записи информации в элемент памяти 30 заключается в том, что в первом элементе 30а задают направление намагниченности вдоль легкой оси первой ячейки 100а, определяют для первой ячейки 100а состояние намагниченности как логический 0 или логическая 1. Впоследствии выполняют запись информации в элемент памяти 30а таким образом, чтобы направление намагниченности вдоль легкой оси каждой последующей ячейки 200а-500а относительно предыдущей ячейки было идентичным состоянию намагниченности первой ячейки 100а, причем направления векторов намагниченности свободного слоя ячеек 100б-500б элемента 30б определяются как противоположно направленные направлениям намагниченности свободного слоя соответствующих спаренных ячеек 100а-500а элемента 30а. Для считывания информации с элемента памяти MRAM 30 заключается в том, что определяют направление вектора намагниченности свободного слоя каждой ячейки 100а-500а и спаренной ей ячейки 100б-500б. Затем определяют пары ячеек, у которых направления векторов намагниченности свободных слоев являются противоположено направленным, остальные спаренные ячейки признаются утратившими информацию, причем состояние упомянутого комбинированного элемента памяти 30 определяется как состояние большинства ячеек элемента памяти, сохранивших информацию, и если таких ячеек нет, то весь комбинированный элемент MRAM 30 считается утратившим информацию и считыванию не подлежит, причем после процедуры считывания состояния всех ячеек приводится в соответствие с определенным состоянием элемента. Также может применяться способ инициализации опорных слоев ячеек памяти на примере элемента MRAM 20, при котором ячейки нагреваются до температуры выше температуры Нееля при наличии магнитного поля с заданной мощностью, направленного вдоль первой ячейки 100 упомянутого элемента MRAM 20, затем температура нагрева и мощность магнитного поля снижаются. Представленные в настоящих материалах заявки варианты реализации заявленного технического решения раскрывают предпочтительные аспекты его воплощения и не должны использоваться как ограничивающие иные, частные варианты реализации, которые являются очевидными для специалиста данной области техники, не выходящие за рамки представленного объема правовой охраны.
и энергетический барьер. Критическое поле – это поле переключения ячейки при нулевой температуре при данном направлении магнитного поля. Энергетический барьер (
) – это разность между значениями в минимуме и в барьере. Значение энергии в барьере определяется как значение максимальной энергии в минимальном пути между двумя положениями минимума энергии.
) в единицах постоянной Больцмана (
):

, критическое поле может упасть в два раза. Соответственно, энергетический барьер может упасть в два раза и более, кроме того, барьер может и вовсе исчезнуть. Зависимость критического поля от направления для идеализированной ячейки памяти MRAM описывается так называемой теорией Стонера-Вольфарта (Stoner-Wohlfarth).
по отношению к легкой оси.
(где n=5). Угол между последней ячейкой 500 и первой 100 также равен
.
), который должен быть преодолен намагниченностью 111 свободного слоя 110 ячейки памяти 100 для того чтобы произошло переключение между двумя стабильными состояниями ячейки памяти (состояния отличаются по уровню сопротивления, которое достигается благодаря эффекту туннельного магнитосопротивления, и соответствуют логическим «нулю» и «единице»), к температуре (
) ячейки в единицах постоянной Больцмана (
):
(1)
должен составлять от 45 до 60 для массивов от 100 бит до 500 Мбит.
зависит от энергетического барьера в ячейке памяти, который является чувствительным к воздействию внешнего магнитного поля
. Если зафиксировать направление магнитного поля либо сонаправленно с легкой осью ячейки памяти или перпендикулярно ей, то зависимость примет следующий вид [A.V. Khvalkovskiy, J. Phys. D: Appl. Phys., 2013]:
(2)
есть поле анизотропии, определяющееся выражением
, (3)
– плотность энергии анизотропии, а
– намагниченность насыщения.
, так и в том же направлении, увеличивая энергетический барьер и
. При этом
. Таким образом, внешнее магнитное поле приводит к уменьшению стабильности одного из двух стационарных состояний ячейки памяти 100 MRAM, вплоть до того, что при
энергетический барьер исчезает и у ячейки 100 остается всего одно стабильное состояние.
. Как видно из формулы выше, для внешнего магнитного поля сонаправленного с легкой осью 103 или перпендикулярного ей, критическое поле равно полю анизотропии, то есть
.
достигается при угле между легкой осью ячейки и магнитным полем
и составляет порядка половины от значения при
(например, для ячеек эллиптического сечения, по так называемой теории Стонера-Вольфарта,
для
и составляет ровно половину от значений при 
).
аналогично выше описанному:
(4)
при изменении угла наклона вектора магнитного поля к легкой оси 130-530 ячеек 100-500 существенно влияет на величину барьера. Например, для ячейки 100, которая в отсутствии магнитного поля имеет
и
, что обеспечивает время жизни массива из миллиона ячеек более чем в
лет при комнатной температуре в отсутствии внешнего магнитного поля. При наличии внешнего магнитного поля
, сонаправленного с легкой осью 130 ячейки 100 или перпендикулярного ей, дельта уменьшается до значения
, что приводит к тому, что массив из миллиона ячеек имеет время хранения информации (все биты массива сохраняют свою информацию)
лет. Если же изменить направление магнитного поля на
, то дельта сократится до значения
, и время хранения информации массива из миллиона ячеек сократится до 10 миллисекунд. Так как внешнее магнитное поле может быть направленно произвольно, то для оценки стабильности ячейки необходимо рассматривать наихудшее направление. Поэтому в рассматриваемом выше примере можно прийти к выводу, что данная ячейка будет не стабильна в магнитном поле в 100 эрстед.
, обладает практически такой же устойчивостью к внешнему паразитному магнитному полю произвольного направления, что и одна ячейка к внешнему магнитному полю с фиксированным направлением магнитного поля вдоль оси перемагничивания или перпендикулярного ей. Таким образом, данная схема позволяет практически полностью нивелировать зависимость стабильности элемента памяти MRAM 20 от направления внешнего паразитного магнитного поля.
(в зависимости от
для ячейки) в отсутствии магнитного поля и поля анизотропии ячейки
, что будет соответствовать увеличению времени жизни ячейки в определенном состоянии на
порядков по сравнению с наихудшим случаем для обыкновенной ячейки (при угле наклона магнитного поля к легкой оси в
). Для любого другого направления падение критического поля для четырех из пяти ячеек 100-500 будет выше, чем для указанного направления и комбинированный элемент (бит) памяти 20 будет еще более стабилен.
является наихудшим направлением поля. При этом критическое поле
будет составлять 0.7 от максимального, достигаемого при сонаправленном положении вектора направления внешнего магнитного поля и легкой оси 130-530 ячеек 100-500, что на 40% выше, чем для одиночной ячейки памяти с теми же параметрами. Соответственно, падение барьера от угла наклона вектора магнитного поля к легкой оси 130-530 для описанного выше случая будет соответствовать уменьшению дельты до значения
, таким образом, время хранения информации массива из миллиона ячеек будет составлять 6 дней при внешнем магнитном поле в 100 Oe, что более чем на 7 порядков больше, чем для наихудшего случая обыкновенной ячейки.
меньше чем для одиночной ячейки памяти MRAM с теми же характеристиками, что приведет к увеличению времени хранения информации на
порядков.