патент
№ RU 2696698
МПК E21B17/10

Калибратор ствола скважины

Авторы:
Исхаков Альберт Равилевич
Номер заявки
2018143640
Дата подачи заявки
10.12.2018
Опубликовано
05.08.2019
Страна
RU
Как управлять
интеллектуальной собственностью
Чертежи 
2
Реферат

Изобретение относится к нефтегазодобывающей промышленности, а именно к опорно-центрирующим устройствам, используемым в компоновке низа бурильной колонны при наклонно направленном и/или горизонтальном бурении нефтяных и газовых скважин. Технический результат - качественная очистка стенки скважины от шлама за счет направления всего потока жидкости после бурения через гидромониторные каналы. Калибратор ствола скважины включает корпус с верхней и нижней присоединительными резьбами и центральным каналом для подвода промывочной жидкости к забою, лопасти с армированными рабочими поверхностями, разделенные между собой промывочными пазами, гидромониторные каналы с соплом-насадкой на конце или без таковой, сообщенные с центральным каналом для нагнетания снизу-вверх к стенкам скважины промывочной жидкости под острым углом к оси. Центральный канал сверху имеет цилиндрическое расширение с переходным торцом снизу. Гидромониторные каналы выполнены в один ряд равномерно по периметру ниже лопастей и герметично перекрыты в транспортном положении изнутри полой втулкой, расположенной внутри цилиндрического расширения и зафиксированной в транспортном положении срезными элементами. Полая втулка снабжена сверху седлом под бросовый шарик и выполнена с возможностью после взаимодействия седла с шариком разрушения срезных элементов и перемещения вниз до переходного торца с открытием гидромониторных каналов в рабочем положении. 3 ил.

Формула изобретения

Калибратор ствола скважины, включающий корпус с верхней и нижней присоединительными резьбами и центральным каналом для подвода промывочной жидкости к забою, лопасти с армированными рабочими поверхностями, разделенные между собой промывочными пазами, гидромониторные каналы с соплом-насадкой на конце или без таковой, сообщенные с центральным каналом для нагнетания снизу вверх к стенкам скважины промывочной жидкости под острым углом к оси, отличающийся тем, что центральный канал сверху имеет цилиндрическое расширение с переходным торцом снизу, гидромониторные каналы выполнены в один ряд равномерно по периметру ниже лопастей и герметично перекрыты в транспортном положении изнутри полой втулкой, расположенной внутри цилиндрического расширения и зафиксированной в транспортном положении срезными элементами, при этом полая втулка снабжена сверху седлом под бросовый шарик и выполнена с возможностью после взаимодействия седла с шариком разрушения срезных элементов и перемещения вниз до переходного торца с открытием гидромониторных каналов в рабочем положении.

Описание

[1]

Изобретение относится к нефтегазодобывающей промышленности, а именно к опорно-центрирующим устройствам, используемым в компоновке низа бурильной колонны при наклонно направленном и/или горизонтальном бурении нефтяных и газовых скважин.

[2]

Известен калибратор ствола скважины (патент RU №2377385, МПК Е21В 17/10, опубл. 27.12.2009 г. Бюл. №36), включающий верхнюю и нижнюю присоединительную резьбы, внутренний канал для подвода промывочной жидкости к забою, три или более лопастей с армированными рабочими поверхностями, разделенных между собой промывочными пазами, причем длина лопастей L (мм) связана с рабочим диаметром калибратора Dк (мм) следующим соотношением: L/Dк=(0,7÷0,95)

[3]

Недостатками данного калибратора являются отсутствие промывки пазов и охлаждения лопастей при больших скоростях проходки, а также слабое вымывание шлама вдоль ствола скважины.

[4]

Известно также устройство для очистки скважины от шлама (патент RU №109496, МПК Е21В 21/00, опубл. 20.10.2011 г. Бюл. №29), содержащее бурильную трубу и установленный на ней шнек, причем в качестве шнека использован однозаходовый шнек с четырьмя лопастями. При этом толщина шнека равна 30-35 мм, а высота лопасти составляет 50-60 мм, угол наклона каждой лопасти шнека к осевой линии бурильной колонны равен 55°, в лопастях шнека на каждом шаге витка установлены по две гидромониторные насадки диаметром 6 мм под углом 55° к осевой линии бурильной трубы влево по направлению шнека.

[5]

Недостатками данного устройства являются сложность изготовления, связанная с большой длиной и стабильными параметрами по всей длине, большое количество гидромониторных отверстий и открытый центральный канал, что приводит к снижению напора прокачиваемой через них жидкости и слабой очистке от шлама стенок скважины.

[6]

Наиболее близким по технической сущности и достигаемому результату является калибратор ствола скважины (патент RU №2531982, МПК Е21В 17/10, Е21В 10/26, опубл. 27.10.2014 г. Бюл. №30), включающий верхнюю и нижнюю присоединительные резьбы, внутренний канал для подвода промывочной жидкости к забою, лопасти с армированными рабочими поверхностями, разделенные между собой промывочными пазами, из внутреннего канала в этих пазах выполнены каналы для дополнительного нагнетания поднимающейся со стороны забоя промывочной жидкости под острым углом к оси с соплом-насадкой на конце или без таковой, при этом каналы для дополнительного нагнетания промывочной жидкости выполнены в два или более ярусов один над другим в одном или более промывочных пазах.

[7]

Недостатком данного калибратора является то, что большое количество гидромониторных каналов и открытого центрального канала приводят к снижению напора прокачиваемой через них жидкости и слабой очистке от шлама стенок скважины.

[8]

Технической задачей предлагаемого изобретения является создание конструкции калибратора ствола скважины, позволяющей качественно очищать стенки скважины от шлама за счет направления всего потока жидкости после бурения через гидромониторные каналы.

[9]

Техническая задача решается калибратором ствола скважины, включающим корпус с верхней и нижней присоединительными резьбами и центральным каналом для подвода промывочной жидкости к забою, лопасти с армированными рабочими поверхностями, разделенные между собой промывочными пазами, гидромониторные каналы с соплом-насадкой на конце или без таковой, сообщенные с центральным каналом для нагнетания снизу-вверх к стенкам скважины промывочной жидкости под острым углом к оси.

[10]

Новым является то, что центральный канал сверху имеет цилиндрическое расширение с переходным торцом снизу, гидромониторные каналы выполнены в один ряд равномерно по периметру ниже лопастей и герметично перекрыты в транспортном положении изнутри полой втулкой, расположенной внутри цилиндрического расширения и зафиксированной в транспортном положении срезными элементами, при этом полая втулка снабжена сверху седлом под бросовый шарик и выполнена с возможностью после взаимодействия седла с шариком разрушения срезных элементов и перемещения вниз до переходного торца с открытием гидромониторных каналов в рабочем положении.

[11]

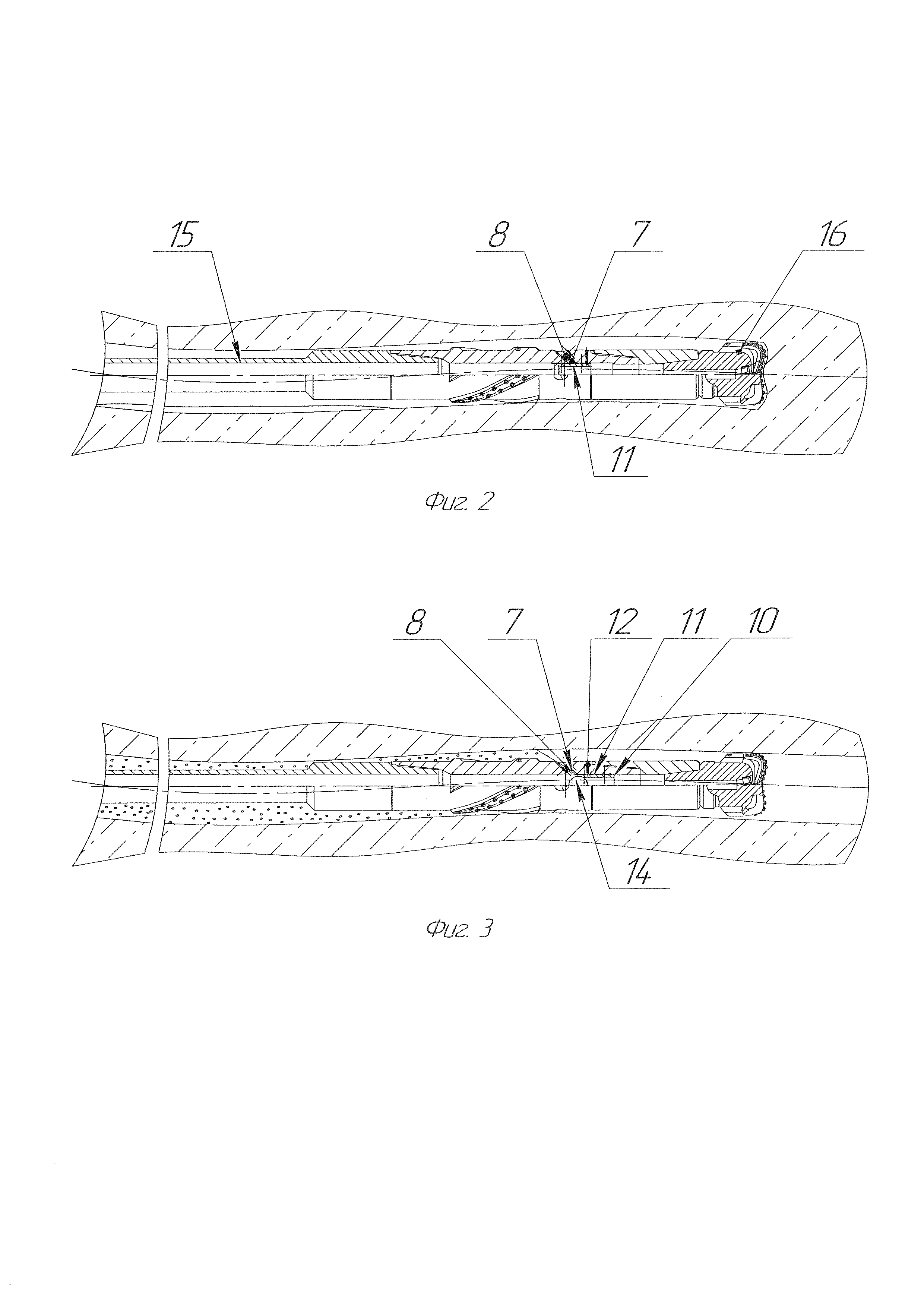
На фиг. 1 изображен калибратор ствола скважины с осевым разрезом.

[12]

На фиг. 2 - калибратор ствола скважины в составе бурильной колонны труб в транспортном положении.

[13]

На фиг. 3 - калибратор ствола скважины в составе бурильной колонны труб в рабочем положении.

[14]

Калибратор ствола скважины состоит из корпуса 1 (фиг. 1) с верхней 2 и нижней 3 присоединительными резьбами и центральным каналом 4 для подвода промывочной жидкости. На наружной поверхности корпуса 1 расположены лопасти 5 с армированными рабочими поверхностями, которые разделены между собой промывочными пазами 6. Ниже лопастей 5 на корпусе 1 в один ряд равномерно по периметру выполнены гидромониторные каналы 7 (фиг. 1, 2, 3) с соплом-насадкой 8 на конце (либо без таковой), сообщенные с центральным каналом 4 (фиг. 1) для нагнетания снизу-вверх к стенкам скважины промывочной жидкости под острым углом к оси. Центральный канал 4 (фиг. 1) корпуса 1 сверху имеет цилиндрическое расширение 9 с переходным торцом 10 (фиг. 1, 3) снизу. Гидромониторные каналы 7 (фиг. 1, 2, 3) герметично перекрыты в транспортном положении изнутри полой втулкой 11, расположенной внутри цилиндрического расширения 9 (фиг. 1) и зафиксированной в транспортном положении срезными элементами 12 (фиг. 1, 3). Полая втулка 11 снабжена сверху седлом 13 (фиг. 1) под бросовый шарик 14 (фиг. 3) и выполнена с возможностью после взаимодействия седла 13 с шариком 14 разрушения срезных элементов 12 (фиг. 1, 3) и перемещения вниз до переходного торца 10 с открытием при этом гидромониторных каналов 7. Калибратор ствола скважины работает в составе колонны бурильных труб 15 (фиг. 2) и установлен над долотом 16.

[15]

Калибратор ствола скважины работает следующим образом.

[16]

Калибратор ствола скважины посредством верхней 2 (фиг. 1) и нижней 3 присоединительных резьб, изготовленных на корпусе 1, устанавливается в составе колонны бурильных труб 15 (фиг. 2, 3) над долотом 16. В таком положении калибратора (транспортное положение) начинается операция бурения скважины. Полая втулка 11 (фиг. 1, 2, 3), расположенная внутри цилиндрического расширения 9 (фиг. 1) корпуса 1 и зафиксированная в транспортном положении срезными элементами 12, герметично перекрывает расположенные ниже лопастей 5 гидромониторные каналы 7, и весь поток промывочной жидкости при этом поступает на гидромониторные насадки долота 16 (фиг. 2). Промывочная жидкость с разбуренным шламом при этом проходит по промывочным пазам 6 и выносится на устье скважины. В горизонтальной части ствола скважины разбуренный шлам частично поднимается наверх, а частично, пройдя определенное расстояние, оседает на стенках скважины.

[17]

Пробурив ствол скважины до проектной глубины, в колонну бурильных труб бросают шарик 14 (фиг. 3). Вместе с потоком промывочной жидкости он перемещается вниз и, дойдя до полой втулки 11, садится в седло 13 (фиг. 1), перекрыв при этом центральный канал 4 калибратора. В результате этого повышается гидравлическое давление и при расчетном давлении происходит разрушение срезных элементов 12 (фиг. 3), и полая втулка 11 перемещается вниз по цилиндрическому расширению 9 до переходного торца 10, калибратор переходит в рабочее положение. При этом открываются гидромониторные каналы 7, которые могут быть снабжены соплом-насадкой 8, а центральный канал 4 ниже полой втулки 11, который идет на долото 16 (фиг. 2), остается закрытым.

[18]

Далее начинают подъем компоновки с вращением и промывкой.

[19]

При этом армированные рабочие поверхности лопастей 5 (фиг. 1) приподнимают оставшийся на стенках скважины шлам, а расположенные под острым углом к оси скважины гидромониторные каналы 7 нагнетают снизу-вверх промывочную жидкость, подхватывая при этом шлам и вынося его на устье скважины.

[20]

Предлагаемая конструкция калибратора ствола скважины позволяет качественно очищать стенки скважины от шлама за счет направления всего потока жидкости после бурения через гидромониторные каналы.

Как компенсировать расходы
на инновационную разработку
Похожие патенты