патент
№ RU 2691125
МПК G01N17/00

СПОСОБ КОНТРОЛЯ КОРРОЗИИ СТЕНОК ТЕПЛОИЗОЛИРОВАННОГО ОБОРУДОВАНИЯ И ТРУБОПРОВОДОВ (ВАРИАНТЫ)

Авторы:
Журавлёв Юрий Алексеевич
Номер заявки
2018128073
Дата подачи заявки
31.07.2018
Опубликовано
11.06.2019
Страна
RU
Как управлять
интеллектуальной собственностью
Чертежи 
2
Реферат

Изобретение относится к нефтегазоперерабатывающей, химической и другим отраслям промышленности, использующим теплоизолированное ёмкостное оборудование, например сепараторы, реакторные колонны и трубопроводы, проходящие регулярную техническую диагностику. Способ включает обустройство стационарных окон-люков в теплоизоляции для доступа к поверхности, обработку мест контрольных точек до требуемой чистоты, проведение первичных и вторичных измерений толщины стенок в контрольных точках переносными датчиками (преобразователями) ультразвукового контроля, определение по результатам измерений толщины стенок остаточного коррозионного ресурса оборудования и трубопроводов. Согласно первому варианту способа готовят технологический шаблон, состоящий из прочного износостойкого листового материала, размер и форма которого соответствует окну-люку, обустроенному в теплоизоляции. Выполняют единичное или группу отверстий в технологическом шаблоне, соответствующих размеру, форме и расположению рабочих поверхностей переносных датчиков ультразвукового контроля при планируемых измерениях толщины. Устанавливают и закрепляют приготовленный технологический шаблон на поверхность объекта, доступную через окно-люк. Обрабатывают через отверстия в технологическом шаблоне участки поверхности объекта до необходимой чистоты, по размеру и расположению соответствующие отверстиям в технологическом шаблоне. После чего удаляют технологический шаблон из обустроенного окна-люка и проводят первичные и вторичные измерения остаточной толщины стенок, ориентируя переносные датчики ультразвукового контроля по зачищенным контрольным точкам. Согласно второму варианту способа готовят технологический шаблон, выполненный из листового материала, стойкого к коррозии, в котором выполняют единичное или группу отверстий, соответствующих размеру, форме и расположению рабочих поверхностей переносных датчиков ультразвукового контроля при планируемых измерениях толщины. Покрывают одну сторону приготовленного технологического шаблона коррозионно-стойким адгезивом. Обрабатывают поверхность объекта, ограниченную через обустроенное в теплоизоляции окно-люк, до необходимой чистоты. Устанавливают на подготовленную поверхность объекта технологический шаблон стороной, покрытой адгезивом, и проводят первичные и вторичные измерения остаточной толщины стенки, ориентируя переносные датчики ультразвукового контроля по отверстиям технологического шаблона. После чего оставляют технологический шаблон в обустроенном окне-люке для последующих измерений толщины. Технический результат - повышение показателей надежности определения остаточного коррозионного ресурса теплоизолированного оборудования и трубопроводов по результатам первичных и вторичных измерений толщины стенок переносными датчиками ультразвукового контроля через окна-люки, обустроенные в теплоизоляции. 2 н.п. ф-лы, 3 ил.

Формула изобретения

1. Способ контроля коррозии и определения коррозионного ресурса стенок теплоизолированного оборудования и трубопроводов, включающий обустройство стационарных окон-люков в теплоизоляции для доступа к поверхности, обработку мест контрольных точек до требуемой чистоты, проведение первичных и вторичных измерений толщины стенок в контрольных точках переносными датчиками ультразвукового контроля, определение по результатам измерений толщины стенок остаточного коррозионного ресурса оборудования и трубопроводов, отличающийся тем, что готовят технологический шаблон, состоящий из прочного износостойкого листового материала, соответствующий по размеру и форме окну-люку, в технологическом шаблоне выполняют единичное или группу отверстий, соответствующих размещению, размеру, форме и ориентации рабочих поверхностей переносных датчиков ультразвукового контроля при планируемой диагностике, устанавливают приготовленный технологический шаблон через окно-люк на поверхность объекта, обрабатывают до необходимой чистоты через отверстия в технологическом шаблоне участки поверхности, по размеру и расположению соответствующие отверстиям в технологическом шаблоне, удаляют технологический шаблон из обустроенного окна-люка, проводят первичные и вторичные измерения остаточной толщины стенок, ориентируя переносные датчики ультразвукового контроля по зачищенным контрольным точкам.

2. Способ контроля коррозии и определения коррозионного ресурса стенок теплоизолированного оборудования и трубопроводов, включающий обустройство стационарных окон-люков в теплоизоляции для доступа к поверхности, обработку мест контрольных точек до требуемой чистоты, проведение первичных и вторичных измерений толщины стенок в контрольных точках переносными датчиками ультразвукового контроля, определение по результатам измерений толщины стенок остаточного коррозионного ресурса оборудования и трубопроводов, отличающийся тем, что готовят технологический шаблон, выполненный из листового материала, стойкого к коррозии, соответствующий по размеру и форме окну-люку, в технологическом шаблоне выполняют единичное или группу отверстий, соответствующих размещению, размеру, форме и ориентации рабочих поверхностей переносных датчиков ультразвукового контроля при планируемой диагностике, покрывают одну сторону приготовленного технологического шаблона коррозионно-стойким адгезивом, обрабатывают поверхность объекта, ограниченную через обустроенное в теплоизоляции окно-люк, до необходимой чистоты, устанавливают на подготовленную поверхность объекта технологический шаблон стороной, покрытой адгезивом, проводят первичные и вторичные измерения остаточной толщины стенки, ориентируя переносные датчики ультразвукового контроля по отверстиям технологического шаблона, и оставляют технологический шаблон в обустроенном окне-люке для последующих измерений толщины.

Описание

[1]

Изобретение относится к нефтегазоперерабатывающей, химической и другим отраслям промышленности, использующим теплоизолированные емкостное оборудование, например, сепараторы, реакторные колонны и трубопроводы, проходящие регулярную техническую диагностику.

[2]

Известен способ определения величины остаточного коррозионного ресурса оборудования и трубопроводов, при реализации которого выбирают несколько контрольных точек на поверхности объекта, проводят первичное и вторичное измерения в контрольных точках, которые разделяют некоторым промежутком времени (сутки, недели, месяцы), вычисляют скорость коррозии путем деления разницы величин результатов измерения толщины стенки при первичном и вторичном измерениях на период времени между измерениями, а остаточный коррозионный ресурс определяют путем деления последней измеренной остаточной толщины стенки на скорость коррозии (см. ИНСТРУКЦИЯ по определению скорости коррозии металла стенок корпусов сосудов и трубопроводов на предприятиях Миннефтехимпрома СССР, ВНИКТИнефтехимоборудования, Волгоград - 1983).

[3]

Недостатком известного способа является большая погрешность определения остаточного коррозионного ресурса, соизмеримая с фактическим коррозионным ресурсом, и невозможность проведения измерений на теплоизолированных оборудовании и трубопроводах, что может привести к принятию необоснованных решений, связанных с большими материальными издержками.

[4]

Известен способ определения величины остаточного коррозионного ресурса оборудования и трубопроводов при осуществлении которого выбирают несколько ограниченных по площади контрольных участков поверхности, подготавливают на контрольных участках группу контрольных точек, расстояние между контрольными точками принимают сравнимыми с размерами контактной поверхности переносного датчика (преобразователя) ультразвукового контроля (УЗК), проводят первичные и вторичные измерения в подготовленных контрольных точках. Путем статистической обработки результатов измерений, определяют параметры надежности остаточного коррозионного ресурса: доверительный интервал и доверительную вероятность. При поведении диагностики теплоизолированных объектов для получения доступа к поверхности необходимо демонтировать теплоизоляцию частично или полностью с последующим ее восстановлением, что требует значительных временных и материальных затрат (см. РД 09-244-98 Инструкция по проведению диагностирования технического состояния сосудов, трубопроводов и компрессоров промышленных аммиачных холодильных установок).

[5]

Недостатком известного способа являются высокие затраты времени и материалов при проведения коррозионных измерений на теплоизолированных оборудовании и трубопроводах.

[6]

Известен способ (см. РД 03-410-01 Инструкция по проведению комплексного технического освидетельствования изотермических резервуаров сжиженных газов), принятый в качестве прототипа, при реализации которого обустраивают окна-люки в теплоизоляции, обеспечивающие доступ к поверхности, при этом на поверхности, ограниченной окном-люком, проводят измерения толщины стенки переносными датчиками УЗК в контрольных точках поверхности объекта.

[7]

Недостатком данного способа является низкая надежность определения скорости коррозии и остаточного коррозионного ресурса объекта, связанная с тем, что в углублении окна-люка, обустроенного в теплоизоляции, практически невозможно с достаточной точностью разметить единичные или групповые контрольные точки, а при вторичном измерении невозможно установить переносные датчики УЗК точно в те же позиции, что и при первичном измерении. Несоответствия в установке датчиков УЗК при первичном и вторичном измерениях на доли миллиметра приводят к ошибке, составляющей до 100% от фактической величины остаточного коррозионного ресурса, что делает результат не надежным.

[8]

Технической задачей изобретения является повышение надежности определения скорости коррозии и остаточного коррозионного ресурса теплоизолированного оборудования и трубопроводов.

[9]

Технический результат предлагаемого способа по обоим вариантам заключается в повышении показателей надежности определения остаточного коррозионного ресурса теплоизолированного оборудования и трубопроводов по результатам первичных и вторичных измерений толщины стенок переносными датчиками УЗК через окна-люки, обустроенные в теплоизоляции.

[10]

Технический результат по первому варианту достигается тем, что в предлагаемом способе контроля коррозии и определения коррозионного ресурса стенок теплоизолированного оборудования и трубопроводов, включающем обустройство стационарных окон-люков в теплоизоляции для доступа к поверхности, обработку мест контрольных точек до требуемой чистоты, проведение первичных и вторичных измерений толщины стенок в контрольных точках переносными датчиками (преобразователями) ультразвукового контроля, определение по результатам измерений толщины стенок остаточного коррозионного ресурса оборудования и трубопроводов, согласно изобретению, готовят технологический шаблон, состоящий из прочного износостойкого листового материала, размер и форма которого соответствует окну-люку, обустроенному в теплоизоляции, выполняют единичное или группу отверстий в технологическом шаблоне, соответствующих размеру, форме и расположению рабочих поверхностей переносных датчиков УЗК при планируемых измерениях толщины, устанавливают и закрепляют приготовленный технологический шаблон на поверхность объекта, доступную через окно-люк, обрабатывают через отверстия в технологическом шаблоне участки поверхности объекта до необходимой чистоты, по размеру и расположению соответствующие отверстиям в технологическом шаблоне, удаляют технологический шаблон из обустроенного окна-люка, проводят первичные и вторичные измерения остаточной толщины стенок, ориентируя переносные датчики УЗК по зачищенным контрольным точкам.

[11]

Технический результат по второму варианту достигается тем, что в предлагаемом способе контроля коррозии и определения коррозионного ресурса стенок теплоизолированного оборудования и трубопроводов, включающем обустройство стационарных окон-люков в теплоизоляции для доступа к поверхности, обработку мест контрольных точек до требуемой чистоты, проведение первичных и вторичных измерений толщины стенок в контрольных точках переносными датчиками (преобразователями) ультразвукового контроля, определение по результатам измерений толщины стенок остаточного коррозионного ресурса оборудования и трубопроводов, согласно изобретению, готовят технологический шаблон, выполненный из листового материала, стойкого к коррозии, в котором выполняют единичное или группу отверстий, соответствующих размеру, форме и расположению рабочих поверхностей переносных датчиков УЗК при планируемых измерениях толщины, покрывают одну сторону приготовленного технологического шаблона коррозионностойким адгезивом, обрабатывают поверхность объекта, ограниченную через обустроенный в теплоизоляции окном-люком, до необходимой чистоты, устанавливают на подготовленную поверхность объекта технологический шаблон стороной, покрытой адгезивом, проводят первичные и вторичные измерения остаточной толщины стенки, ориентируя переносные датчики УЗК по отверстиям технологического шаблона, и оставляют технологический шаблон в обустроенном окне-люке для последующих измерений толщины.

[12]

Заявляемая совокупность признаков предлагаемого способа по обоим вариантам позволяет повысить однообразность установки датчиков переносных толщиномеров при первичных и вторичных измерениях остаточной толщины стенок, повысить точность вычисления скорости коррозии и вычисление остаточного коррозионного ресурса с погрешностью, не превышающей ±15% от среднего значения (для первого варианта) и ±10% от среднего значения (для второго варианта).

[13]

Способ по первому варианту применяется преимущественно при необходимости оценить влияние изменений условий эксплуатации объекта, например, изменен состав рабочей среды, температурный режим, применена противокоррозионная защита на скорость коррозии рабочей поверхности стенки, и осуществляется следующим образом:

[14]

Вырезают из износостойкого пластика или другого листового материала, обладающего износостойкостью, заготовку технологического шаблона по размерам, соответствующим окну люку в теплоизоляции исследуемого объекта. В заготовке технологического шаблона вырезают отверстия, соответствующие по расположению планируемым точкам измерения толщины стенки, а по размеру соответствующие рабочей поверхности переносного датчика толщинометрии. Вкладывают технологический шаблон в окно-люк и механически прижимают к поверхности объекта, таким образом, чтобы пластина приняла форму стенки. Далее зачищают через отверстия в технологическом шаблоне участки поверхности объекта до состояния, требуемого при измерении толщины стенки. После чего извлекают технологический шаблон из окна люка и проводят первичные и вторичные измерения толщины стенки объекта, ориентируя датчик толщинометра по зачищенным участкам в точках измерения. После окончания измерений зачищенные участки консервируют для защиты от коррозии.

[15]

Способ по второму варианту применяется преимущественно при необходимости определить остаточный коррозионный ресурс объекта при неизменных условиях эксплуатации и осуществляется следующим образом:

[16]

Вырезают из пластика или другого листового материала, обладающего стойкостью к коррозии, заготовку технологического шаблона по размерам, соответствующим окну-люку в теплоизоляции исследуемого объекта. В заготовке технологического шаблона вырезают отверстия, соответствующие по расположению планируемым точкам измерения толщины стенки, а по размеру соответствующие рабочей поверхности переносного датчика толщинометрии. Далее зачищают поверхность объекта, доступную через окно-люк, до состояния, требуемого при измерении толщины стенки, и наносят на одну сторону приготовленного технологического шаблона адгезивный материал (клей), обладающий стойкостью к коррозии. Затем вкладывают технологический шаблон в окно-люк, прижимают к поверхности объекта, таким образом, чтобы пластина приняла форму стенки, и дожидаются отверждения адгезива. После чего проводят первичные и вторичные измерения толщины стенки объекта, ориентируя датчик толщинометра по отверстиям в технологическом шаблоне, приклеенном к поверхности объекта. После проведения измерений оставляют технологический шаблон на поверхности объекта, консервируя для защиты от коррозии участки поверхности объекта, открытые отверстиями в технологическом шаблоне.

[17]

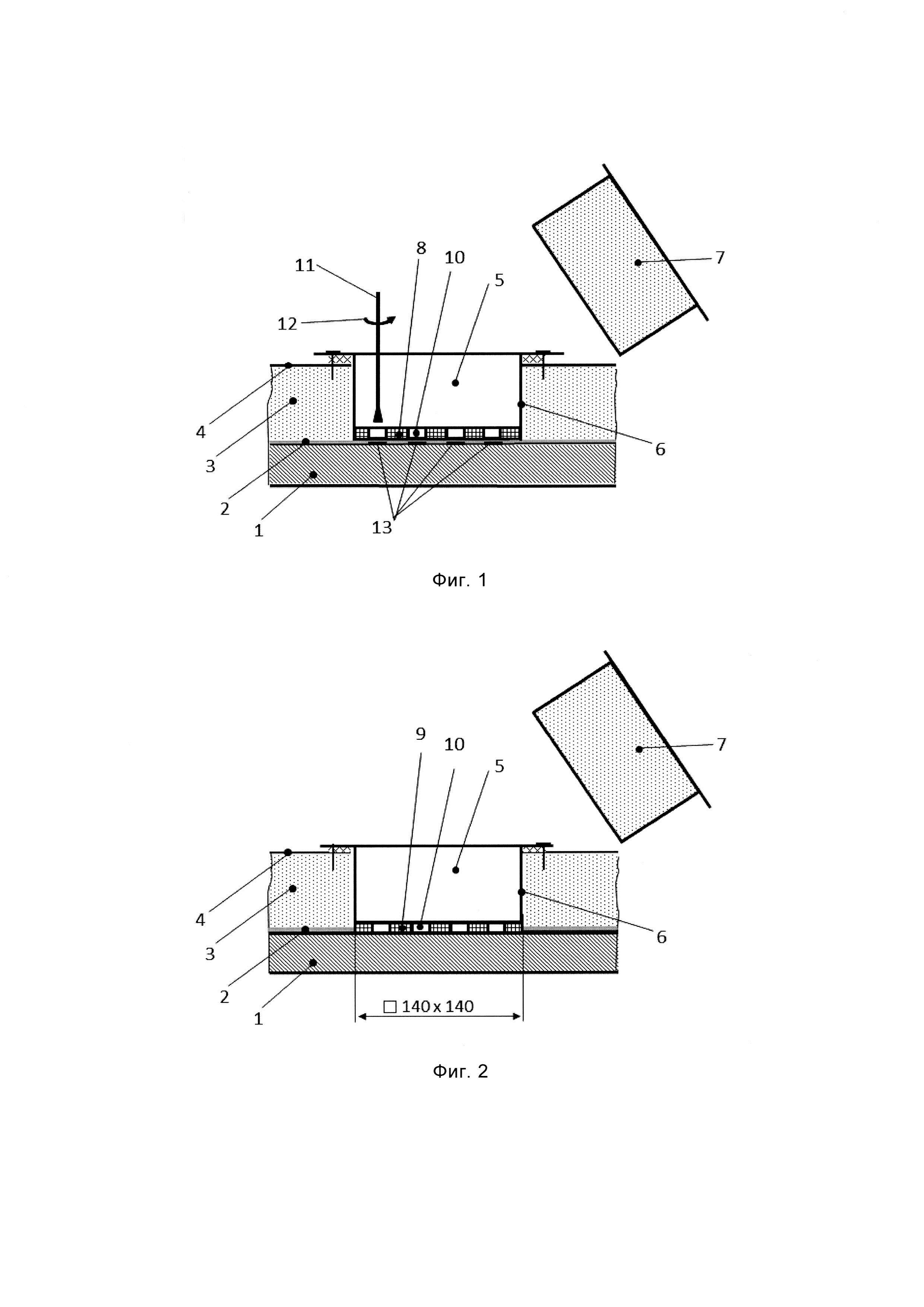
На фигурах 1-3 приведены примеры осуществления способа контроля стенок теплоизолированных оборудования и трубопроводов, где:

[18]

- на фигуре 1 приведена схема осуществления способа по первому варианту;

[19]

- на фигуре 2 приведена схема осуществления способа по второму варианту;

[20]

- на фигуре 3 приведена схема шаблона для организации групповых точек контроля коррозии, соответствующая размерам рабочим поверхностей и размещению датчика-преобразователя УЗК типа П112-2,5-10/2-А-01 для толщиномера А-1212.

[21]

На фигурах 1-3 показаны следующие позиции:

[22]

1 - поперечное сечение фрагмента стенки технологического трубопровода, выполненного из углеродистой стали по ГОСТ 10704-91, с наружным диаметром 426 мм, толщиной 9 мм;

[23]

2 - защитный слой из лакокрасочного материала (ЛКМ) грунт-эмали TAIKOR Тор 490 (ТУ 2312-102-72746455-2016);

[24]

3 - теплоизоляция из сегментного пеноплэкса толщиной 80 мм поверх защитного слоя 2;

[25]

4 - защитный кожух из оцинкованного стального листа толщиной 0,5 мм;

[26]

5 - окна-люки, обустроенные в теплоизоляции трубопровода;

[27]

6 - рамка из листовой оцинкованной стали прямоугольной формы с размером в свету 140×140 мм;

[28]

7 - теплоизолированная крышка окна-люка 5;

[29]

8 - технологический шаблон из многослойного износостойкого стеклопластика;

[30]

9 - технологический шаблон из эластичного коррозионностойкого пластика;

[31]

10 - отверстия;

[32]

11 - торцевой инструмент;

[33]

12 - стрелка;

[34]

13 - контрольные точки. Пример 1.

[35]

При выполнении способа по первому варианту (см. фиг. 1) подготовили технологический шаблон 8 из многослойного износостойкого стеклопластика, в котором выполнили отверстия 10, расположенные по схеме, приведенной на фигуре 3 и соответствующие по размеру и расположению рабочим поверхностям переносного датчика-преобразователя УЗК типа П112-2,5-10/2-А-01 для толщиномера А-1212. Уложили технологический шаблон 8 через окно-люк 5 на поверхность трубопровода 1, покрытого защитным слоем 2, и прижали специальной рамкой (на фигуре не показана). В окно-люк 5 ввели специальный торцевой инструмент 11, вращающийся по стрелке 12. Через отверстия 10 в технологическом шаблоне 8 зачистили поверхность трубопровода 1 от защитного слоя 2 на участках 13, соответствующих по размеру и расположению отверстиям 10 в технологическом шаблоне 8, после чего инструмент 11 и технологический шаблон 8 извлекли из окна-люка 5.

[36]

Таким образом, на поверхности трубопровода 1 на площадке, ограниченной рамкой 6 окна-люка 5, сформировали группу из 16 контрольных точек 13, зачищенных до необходимой чистоты и подготовленных для измерения толщины стенки трубопровода 1 ультразвуковым методом. В этих точках проведены толщиномером А-1212 первичные и вторичные измерения остаточной толщины трубопровода 1 с помощью переносного датчика-преобразователя П112-2,5-10/2-А-01. Период времени между первичным и вторичным измерениями составил 6 месяцев.

[37]

Скорость коррозии, определенная таким способом, составила 0,15 мм/г, а остаточный ресурс трубопровода 12 лет ±1,5 года с доверительной вероятностью 0,95.

[38]

После окончания измерений вставили теплоизолированную крышку 7 в окно-люк 5, восстановив на этом участке теплоизоляцию.

[39]

Пример 2.

[40]

При выполнении способа по второму варианту (см. фиг. 2) подготовили технологический шаблон 9 из эластичного коррозионностойкого пластика, в котором выполнили отверстия 10, расположенные по схеме, приведенной на фигуре 3 и соответствующие по размеру и расположению рабочим поверхностям переносного датчика-преобразователя УЗК типа П112-2,5-10/2-А-01 для толщиномера А-1212, очистили от защитного слоя 2 поверхность трубопровода 1 в квадрате 140×140 мм, ограниченным рамкой 6. Технологический шаблон 9 покрыли с одной стороны клеем герметиком Masterfix MS 40, наложили технологический шаблон 9 стороной покрытой клеем герметиком через окно-люк 5 на очищенную от защитного слоя 2 поверхность трубопровода 1. После отверждения клея герметика провели первичные и вторичные измерения остаточной толщины стенки трубопровода методом УЗК в 16 контрольных точках, расположенных в пределах площадки, ограниченной рамкой 6, устанавливали при этом переносной датчик преобразователь П112-2,5-10/2-А-01 на поверхность трубопровода 1 через отверстия в технологическом шаблоне 9. Период времени между первичным и вторичным измерениями составил 6 месяцев.

[41]

Скорость коррозии, определенная по результатам измерений таким способом, составила 0,18 мм/г, а остаточный ресурс трубопровода 11 лет ±1,3 года с доверительной вероятностью 0,95.

[42]

Таким образом, реализация предлагаемого способа контроля коррозии стенок по двум вариантам позволяет получить надежные данные об остаточном коррозионном ресурсе теплоизолированного оборудования и трубопроводов.

Как компенсировать расходы
на инновационную разработку
Похожие патенты