Полезная модель относится к строительным конструкциям - панелям из монолитного бетона для ограждающих частей зданий: наружных стен, утепляемых покрытий и перекрытий. Теплосберегающая легкобетонная панель здания включает несъемную опалубку из цементно-стружечных плит (ЦСП), соединенных внутренними поперечными связями, каждая из которых состоит из: 2-х жестко крепящихся стальными шурупами к ЦСП стальных боковин П-образного профиля с упругими полками, отгибами, прямоугольными пазами для фиксации поперечной связи, круглыми отверстиями для стальных шурупов, крепящих боковины к ЦСП, а также с карманами для пропуска арматурных стержней панели, и фиксирующейся поперечной планки швеллерообразного профиля с выступами на концах для фиксации в пазах боковин и отверстиями для пропуска армирующих панель стержней. При этом фиксирующаяся поперечная планка выполнена комбинированной, состоящей из 2-х стальных концевых элементов шириной 35-40 мм с выступами для фиксации в пазах боковин, и стеклопластикового швеллера толщиной не более 3 мм с круглыми отверстиями для пропуска арматурных стержней, крепящегося стальными шурупами к стальным концевым элементам поперечной планки. Бетонная часть панели выполнена из монолитного полистиролбетона плотностью 150-250 кг/м. Технический результат состоит в обеспечении выполнения нормативных требований по энергосбережению при минимизации затрат на их изготовление. 1 з.п. ф-лы, 5 ил., 1 табл.
1. Теплосберегающая легкобетонная панель здания, включающая несъемную опалубку из цементно-стружечных плит (ЦСП), соединенных внутренними поперечными связями, каждая из которых состоит из: 2-х жестко крепящихся стальными шурупами к ЦСП стальных боковин П-образного профиля с упругими полками, отгибами, прямоугольными пазами для фиксации поперечной связи, круглыми отверстиями для стальных шурупов, крепящих боковины к ЦСП, а также с карманами для пропуска арматурных стержней панели, и фиксирующейся поперечной планки швеллерообразного профиля с выступами на концах для фиксации в пазах боковин и отверстиями для пропуска армирующих панель стержней, отличающаяся тем, что фиксирующаяся поперечная планка выполнена комбинированной, состоящей из 2-х стальных концевых элементов шириной 35-40 мм с выступами для фиксации в пазах боковин, и стеклопластикового швеллера толщиной не более 3 мм с круглыми отверстиями для пропуска арматурных стержней, крепящегося стальными шурупами к стальным концевым элементам поперечной планки, при этом бетонная часть панели выполнена из монолитного полистиролбетона плотностью 150-250 кг/м3. 2. Теплосберегающая легкобетонная панель здания по п. 1, отличающаяся тем, что стальные части внутренних поперечных связей выполнены оцинкованными, панель армируется стеклопластиковыми стержнями или/и оцинкованным стальным профилем, а бетонная часть панели выполнена из монолитного полистиролбетона плотностью 150-200 кг/м3.
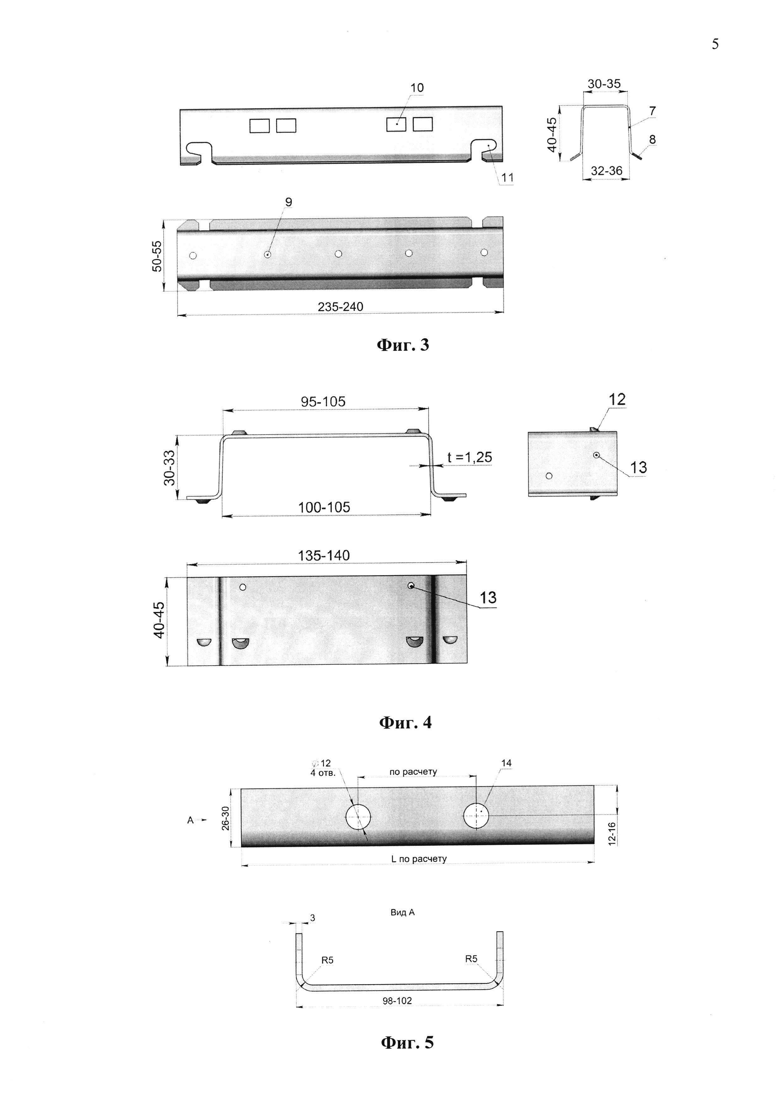
Полезная модель относится к строительным конструкциям - армированным панелям из монолитного бетона для ограждающих частей зданий (наружных стен, утепляемых покрытий и перекрытий). Задачей настоящей полезной модели является создание теплосберегающей панели, конструкция которой обеспечивает выполнение нормативных требований по энергосбережению при минимизации затрат на их изготовление. Известно конструктивно-техническое решение железобетонных монолитных панелей, формуемых в несъемной опалубке, образованной наружными цементно-стружечными плитами (ЦСП), фиксируемых поперечными стальными связями [1]. При этом поперечные связи состоят из 2-х видов стальных деталей толщиной 1,25-1,50 мм: а) боковин шириной 45-50 мм П-образного профиля с упругими полками и отгибами, а также с круглыми отверстиями для стальных шурупов, крепящих боковины к ЦСП, и б) фиксирующейся поперечной планки швеллерообразного профиля. В боковинах предусмотрены прямоугольные пазы, а в фиксирующейся планке - выступы, и после того, как фиксирующаяся планка вставляется до упора в боковины с упруго-разжимающимися полками, ее выступы попадают в соответствующие пазы боковин, фиксируя заданное расстояние и параллельность между ЦСП. В боковине также предусмотрены карманы, а в поперечной планке - круглые отверстия для пропуска стержней, армирующих панель. Недостатком указанного технического решения, которое принято в качестве прототипа, является то, что стальные поперечные связи (порядка 8-10 шт. на 1 м2 поверхности панели) в значительной степени ухудшают теплозащитные свойства панелей в ограждающих конструкциях зданий, существенно повышая расход тепла на их отопление. Причем даже при использовании легких (например, на легком керамзитовом заполнителе) и ячеистых монолитных бетонов плотностью 400-500 кг/м3 для соблюдения нормативных требований по теплозащите [2] необходимо для средней полосы России иметь толщину стеновых панелей порядка 400-600 мм, что экономически неэффективно. Также при применении монолитного тяжелого бетона, укладываемого в опалубку из ЦСП с внутренним просветом до 25 см, экономически неэффективно использование (для выполнения теплосберегающих требований) внешнего дополнительного наружного утепления панелей минватой или пенополистиролом толщиной 100-150 мм. Решение поставленной задачи достигается тем, что для поперечных связей между ЦСП используется фиксирующаяся планка, включающая стеклопластиковый швеллер с низкой теплопроводностью, а монолитная часть панелей формуется из малотеплопроводного полистиролбетона. Так, конструкцию фиксирующейся поперечной планки предлагается выполнить комбинированной, состоящей из 2-х стальных концевых элементов шириной 35-40 мм П-образного профиля, имеющих упругие полки, отгибы и выступы для фиксации в пазах боковин, и стеклопластикового швеллера толщиной не более 3 мм, крепящегося стальными шурупами к стальным концевым элементам поперечной планки. При этом бетонная часть панели выполнена из затвердевшего монолитного полистиролбетона плотностью 225-250 кг/м3. Дополнительно для повышения теплозащитных свойств для бетонной части панели может использоваться монолитный полистиролбетон плотностью 150-200 кг/м3 при условии, что стальные части поперечных связей оцинковываются. В этом случае для армирования панелей применяются стеклопластиковые стержни или/и оцинкованный стальной профиль. Для возможности беспрепятственного размещения стержней для армирования панели в стеклопластиковом швеллере предусмотрены круглые отверстия, аналогичные используемым в прототипе. На фиг. 1 показан фрагмент панели, включающий: несъемную опалубку из ЦСП - 1, полистиролбетонную часть - 2, поперечную связь в сборе, включающую стальные боковины - 3, крепящиеся стальными шурупами к ЦСП, фиксирующуюся поперечную планку, включающую стальные концевые элементы - 4 и стеклопластиковый швеллер - 5, крепящийся стальными шурупами - 6 к стальным концевым элементам; на фиг. 2 - сборочный чертеж фиксирующейся поперечной планки, включающей стальные концевые элементы - 4 с выступами - 12 для фиксации в пазах боковин и стеклопластиковый швеллер - 5, скрепленные друг с другом стальными шурупами - 6; на фиг. 3 - стальные боковины с упругими полками - 7, отгибами - 8, круглыми отверстиями - 9 для стальных шурупов, крепящих боковины к ЦСП, прямоугольными пазами - 10 для фиксации поперечной планки и карманами - 11 для пропуска стержней, армирующих панель; на фиг 4 - стальной концевой элемент с выступами - 12 для фиксации в пазах боковин и отверстиями - 13 для крепления стеклопластикового швеллера стальными шурупами, и на фиг. 5 - стеклопластиковый швеллер с круглыми отверстиями - 14 для пропуска арматурных стержней. Технико-экономические данные предлагаемых технических решений для панели наружной стены зданий в сравнении с прототипом приведены в таблице. Как следует из приведенных в таблице данных, предлагаемое техническое решение приводит к ожидаемому эффекту - обеспечению нормируемых значений приведенного сопротивления теплопередаче (Ro=2,33÷4,18 м2°С/Вт) при снижении толщины панелей в 1,5-2,5 раза и уменьшении стоимости изготовления панели в 1,5-1,7 раза. Использованная литература 1. Техническая документация на производство панелей из ЦСП VST SYSTEM MANUAL, фирмы VST Verbundschalungtechnik GmbH, Австрия. 2. СП 50.13330.2012. Тепловая защита зданий. 3. ГОСТ Р 51263-2012. Полистиролбетон. Технические условия. Примечания: 1. Расчетное количество связей - 9 шт. на 1 м2 поверхности панелей. 2. Расчетная теплопроводность стали принята согласно СП 50.13330.2012 [2], полистирол-бетона - по ГОСТ Р 51263-2012 [3], стеклопластика - по данным НИИЖБа и ЦСП плотностью 1150 кг/м3 λБ=0,4 Вт/(м°С) - по справочным данным.