патент
№ RU 2644631
МПК G02F1/11

Светосильный двухкристальный акустооптический монохроматор

Авторы:
Судденок Юрий Александрович Пустовойт Владислав Иванович Шорин Владимир Николаевич
Все (5)
Номер заявки
2016148691
Дата подачи заявки
12.12.2016
Опубликовано
13.02.2018
Страна
RU
Как управлять
интеллектуальной собственностью
Чертежи 
2
Реферат

Изобретение относится к прикладной оптике и может быть использовано в акустооптических монохроматорах, спектрометрах и спектрометрах изображений. Светосильный двухкристальный акустооптический монохроматор состоит из оптически соединенных входного элемента селекции поляризации света, первой АО ячейки, промежуточного элемента селекции поляризации света, второй АО ячейки, выходного элемента селекции поляризации света. Для увеличения светосилы двухкристального АО монохроматора роль входного и выходного элементов селекции поляризации света выполняют отражающие грани АО ячеек, действующие как разводящие поляризаторы. 2 з.п. ф-лы, 3 ил.

Формула изобретения

1. Светосильный двухкристальный акустооптический монохроматор, состоящий из оптически соединенных входного элемента селекции поляризации света, первой АО ячейки, промежуточного элемента селекции поляризации света, второй АО ячейки, выходного элемента селекции поляризации света, отличающийся тем, что роль входного и выходного элементов селекции поляризации света выполняют отражающие грани АО ячеек, действующие как разводящие поляризаторы.

2. Монохроматор по п. 1, отличающийся тем, что для обеспечения передачи спектральных изображений без хроматических искажений используются 2 идентичные АО ячейки с отражающими гранями, выполняющими роль разводящих поляризаторов, при этом вторая АО ячейка повернута относительно первой на 180 градусов вокруг оси, перпендикулярной плоскости АО взаимодействия.

3. Монохроматор по п. 1, отличающийся тем, что вторая АО ячейка повернута под углом 90 градусов вокруг выходного пучка первой АО ячейки, а затем на 90 градусов в плоскости, перпендикулярной входному световому пучку первой АО ячейки, при этом отражающая грань первой АО ячейки выполняет роль входного элемента селекции поляризации света, отражающая грань второй АО ячейки выполняет роль промежуточного элемента селекции поляризации света, а роль выходного элемента селекции поляризации света выполняется выходной гранью второй АО ячейки.

Описание

[1]

Изобретение относится к прикладной оптике и может быть использовано в акустооптических спектрометрах, газоанализаторах и в спектроскопии комбинационного (рамановского) рассеяния.

[2]

Известны различные конструкции акустооптических (АО) монохроматоров (US №3756689, опубл. 1973 г.; US №4052121, опубл. 1977 г.; SU №1340395 А1, опубл. 1988 г; SU №1406554, опубл. 1988 г.; US №4720177, опубл. 1988 г.; US №5329397, опубл. 1994 г.; RU №2169936 С2, опубл. 2001 г.).

[3]

Двухкристальные АО монохроматоры, в которых происходит последовательная дифракция светового излучения, в отличие от одинарных обладают целым рядом достоинств: резкое подавление паразитного пропускания прямого излучения, значительное уменьшение вклада боковых лепестков в аппаратную функцию [1, 2]. Особенно это важно при использовании таких АО монохроматоров для передачи изображения, поскольку в двухкристальных монохроматорах существенно снижаются хроматические искажений. Однако при этом за счет дополнительных элементов уменьшается коэффициент передачи монохроматора. Повышение коэффициента передачи мононохроматоров АО спектрометров, особенно монохроматоров для передачи изображения, - важная и актуальная задача. Эта задача обычно решается несколькими способами - увеличением входной апертуры, увеличением угла зрения, качественным просветлением всех оптических элементов. Однако этот путь практически исчерпан.

[4]

Известен двухкристальный акустооптический монохроматор, содержащий два АО фильтра, у которых оптический выход первого АО фильтра оптически связан с оптическим входом второго АО фильтра (Мазур М.М. и др. Двойной акустооптический монохроматор на CaMoO4; Оптика и спектроскопия, том 67, вып. 3, 1989 г.; Мазур М.М. и др. Спектрометр с двойным акустооптическим монохроматором; Оптика и спектроскопия, том 81, вып. 3, 1996 г.).

[5]

Недостатком такого устройства является необходимость использовать две корректирующие призмы, а также использование трех поляризаторов, что приводит к усложнению оптической схемы и уменьшению коэффициента пропускания.

[6]

Также известен двухкристальный акустооптический монохроматор (патент РФ №2242779), содержащий два АО фильтра, у которых оптический выход первого АО фильтра оптически связан с оптическим входом второго АО фильтра.

[7]

Недостатком такого устройства является использование трех поляризаторов и уменьшение коэффициента пропускания.

[8]

Решаемая настоящим изобретением задача – увеличение коэффициента пропускания двухкристального АО монохроматора – обеспечивается за счет уменьшения оптических потерь при применении АО ячеек с отражающей световой пучок гранью А, которая выполняет роль разводящего поляризатора. В результате не нужно использовать входной и выходной поляризаторы, а в некоторых вариантах отпадает необходимость и в промежуточном поляризаторе.

[9]

Достигаемым техническим результатом при использовании заявленного устройства, является увеличение коэффициента пропускания монохроматора, упрощение конструкции монохроматора.

[10]

Данный технический результат достигается за счет того, что в светосильном двухкристалическом акустооптическом монохроматоре, состоящем из оптически соединенных входного элемента селекции поляризации света, первой АО ячейки, промежуточного элемента селекции поляризации света, второй АО ячейки, выходного элемента селекции поляризации света, роль входного и выходного элементов селекции поляризации света выполняют отражающие грани АО ячеек, действующие как разводящие поляризаторы.

[11]

Для увеличения светосилы двухкристального АО монохроматора предложена конструкция акустооптических ячеек, в которых функции входного и выходного поляризаторов выполняют отражающие грани самих АО ячеек.

[12]

Так как нет дополнительных двух оптических элементов увеличивается коэффициент пропускания АО монохроматора и упрощается его конструкция за счет того, что роль входного и выходного поляризатора выполняют отражающие грани A1, А2 АО ячеек (Фиг. 1), действующие как разводящие поляризаторы.

[13]

Светосильный двухкристальный акустооптический монохроматор может содержать две идентичных АО ячейки с гранями, выполняющими роль разводящего поляризатора, и поляризатор, распложенный между АО ячейками. АО ячейки повернуты одна относительно другой.

[14]

Для обеспечения передачи спектральных изображений без хроматических искажений светосильный двухкристальный АО монохроматор может содержать 2 идентичные АО ячейки с отражающими гранями, выполняющими роль разводящих поляризаторов, причем вторая АО ячейки повернута относительно первой на 180 градусов относительно оси, перпендикулярной плоскости АО взаимодействия.

[15]

Светосильный двухкристальный АО монохроматор, в котором вообще нет поляризаторов, выполнен таким образом, что вторая АО ячейка повернута под углом 90 градусов вокруг выходного пучка первой АО ячейки, а затем на 90 градусов в плоскости, перпендикулярной входному световому пучку первой АО ячейки, при этом отражающая грань первой ячейки выполняет роль входного элемента селекции поляризации света, отражающая грань второй ячейки выполняет роль промежуточного элемента селекции поляризации света, а роль выходного элемента селекции поляризации света выполняется выходной гранью второй АО ячейки.

[16]

Изобретение поясняется чертежами.

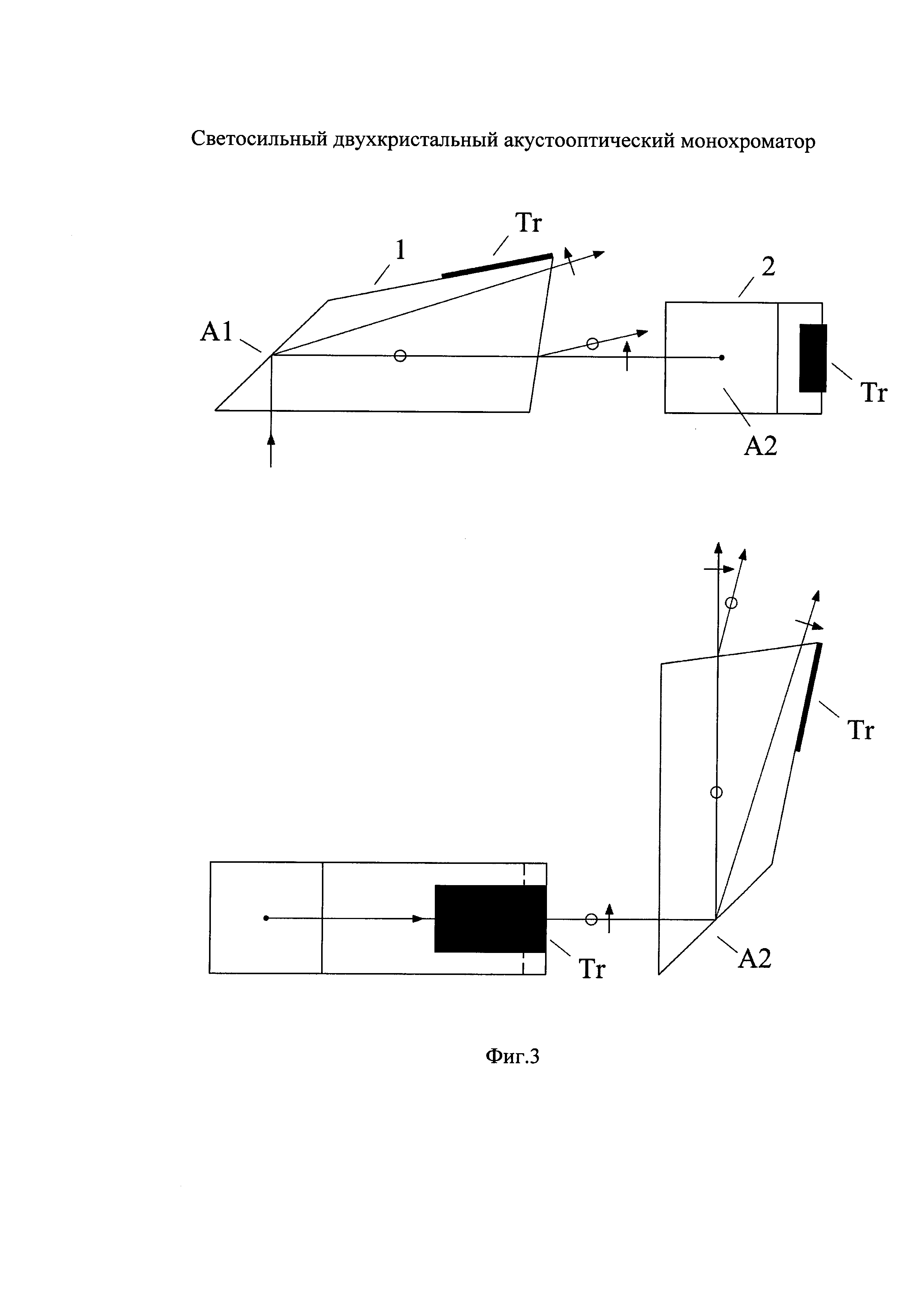
[17]

На Фиг. 1 представлена схема двухкристального монохроматора, где 1 - первая АО ячейка, 2 - вторая АО ячейка, 3 - поляризатор, Tr - ультразвуковой преобразователь, А1, А2 - грани АО ячеек, выполняющие роль разводящего поляризатора, знаки ↑ и указывают состояния поляризации светового пучка.

[18]

На Фиг. 2 – расчетные зависимости (на длине волны λ=633 nm) угла ϕo отклонения падающего необыкновенного луча на выходе из АО ячейки (кривая 1) и угла ϕe между дифрагированным необыкновенным лучом и падающим необыкновенным лучом (кривая 2) от направления падающего обыкновенного луча (θo).

[19]

На Фиг. 3 – оптическая схема в двух проекциях АО монохроматора без поляризаторов. 1 - первая АО ячейка, 2 - вторая АО ячейка, A1, А2 - грани АО ячеек, выполняющие роль разводящего поляризатора, знаки ↑ и указывают состояния поляризации светового пучка.

[20]

Устройство работает следующим образом.

[21]

Неполяризованный световой пучок, вошедший в монохроматор, при отражении от грани А1 АО ячейки 1 в соответствии с законами отражения в анизотропных средах расщепляется на два пучка с обыкновенной и необыкновенной поляризацией. У пучка света с обыкновенной поляризацией угол отражения равен углу падения. Пучок с необыкновенной поляризацией отражается под углом большим угла падения и выходит из апертуры АО взаимодействия. Пучок с обыкновенной поляризацией после отражения распространяется в направлении АО взаимодействия. Удобно сделать АО ячейку таким образом, чтобы отраженный пучок распространялся перпендикулярно падающему пучку. В результате акустооптической дифракции часть обыкновенного пучка света преобразуется в монохроматичный необыкновенный пучок света. Кристаллический поляризатор 2, расположенный между двумя АО ячейками, пропускает только продифрагировавший пучок света с необыкновенной поляризацией. Пучок света с необыкновенной поляризацией, который отразился от грани А1 АО ячейки 1, выходит из апертуры поляризатора, кроме того, если какие-то части этого пучка и попадают в поляризатор, то они не могут пройти через поляризатор, т.к. находятся вне угловой апертуры поляризатора. Угловое расщепление пучков должно быть больше угловой апертуры АО монохроматора, а для качественного подавления прямого излучения желательно, чтобы угол расщепление пучков был больше угловой апертуры поляризатора. В соответствии с этими критериями (по графику Фиг. 2) геометрия АО ячейки должна быть с углами распространения света θo не более 50°, а по более мягкому критерию допускается θo вплоть до примерно 60°. Затем продифрагировавшая часть пучка света еще раз дифрагирует во второй АО ячейке 2 с поворотом поляризации. Непродифрагировавшая во второй АО ячейке часть светового пучка после отражения от грани А2 выходит из АО ячейки под большим (около 12 градусов) углом по отношению к дважды продифрагировавшему пучку. Этот угол намного больше угловой апертуры дважды продифрагировавшего светового пучка. Поэтому эта часть света не мешает использовать дважды продифрагировавшей световой пучок. Т.к. оптическая схема симметрична, то такой АО монохроматор обладает минимальными хроматическим искажениями (в первом приближении нулевыми) и, следовательно, он способен качественно передавать спектральные изображения. В описанной схеме АО монохроматора по сравнению с прототипом отсутствуют входной и выходной поляризаторы, что приводит к существенному повышению коэффициента передачи и упрощению конструкции.

[22]

Возможно построение АО монохроматора (Фиг. 3), в котором вообще нет поляризаторов. Разделение продифрагировавшего и падающего пучков последовательно выполняется за счет отражения от граней А1 АО ячейки 1 и А2 АО ячейки 2, а на выходе за счет пространственного разделения из-за углового отклонения непродифрагировавшего пучка света.

[23]

Входной неполяризованный пучок света падает на грань А1 АО ячейки 1 и расщепляется на обыкновенный и необыкновенный пучки. Посредством АО дифракции из обыкновенного пучка выделяется монохроматический необыкновенный пучок. Так как вторая АО ячейка повернута на 90° относительно выходящего из первой АО ячейки продифрагированного пучка, то тот луч, который был необыкновенным, во второй АО ячейке становится обыкновенным и наоборот.

[24]

Таким образом на грани А2 АО ячейки 2 монохроматический пучок является обыкновенным и отражается от грани А2 АО ячейки 2 под углом падения. Вышедший из первой АО ячейки обыкновенный немонохроматический пучок становится необыкновенным и отражается от грани А2 АО ячейки 2 под углом, большим угла падения и выходит из апертуры монохроматора. На выходной грани второй АО ячейки дважды продифрагировавший необыкновенный пучок света расщепляется с обыкновенным пучком. Обыкновенный пучок выходит из апертуры монохроматора. Таким образом, в этом варианте АО монохроматора исключаются все три поляризатора. Однако такой АО монохроматор обладает значительными хроматическими искажениями и не может передавать спектральные изображения с приемлемым качеством.

Как компенсировать расходы
на инновационную разработку
Похожие патенты