патент
№ RU 2690993
МПК A61N2/02

Аппарат магнитотерапевтический

Авторы:
Даниченко Михаил Юрьевич
Номер заявки
2018138088
Дата подачи заявки
29.10.2018
Опубликовано
07.06.2019
Страна
RU
Как управлять
интеллектуальной собственностью
Чертежи 
11
Реферат

Изобретение относится к медицинской технике. Изобретение позволяет не вызывать нарушения адаптационных механизмов при лечении. Аппарат магнитотерапевтический включает следующие элементы: двухполупериодный выпрямитель, n катушек-индукторов, блок управления катушками-индукторами, микроконтроллер, компаратор, источник питания низковольтных цепей (ИПНЦ), блок переключения режимов, блок световой индикации, при этом все элементы аппарата объединены между собой общей земляной шиной, вход двухполупериодного выпрямителя предназначен для соединения со стандартной питающей сетью. 2 з.п. ф-лы, 7 ил.

Формула изобретения

1. Аппарат магнитотерапевтический, включающий следующие элементы: двухполупериодный выпрямитель, n катушек-индукторов, блок управления катушками-индукторами, микроконтроллер, отличающийся тем, что дополнительно содержит компаратор, источник питания низковольтных цепей (ИПНЦ), блок переключения режимов, блок световой индикации, при этом все элементы аппарата объединены между собой общей земляной шиной, вход двухполупериодного выпрямителя предназначен для соединения со стандартной питающей сетью, выход двухполупериодного выпрямителя соединен с первым входом компаратора, входом ИПНЦ, первым входом блока управления катушками-индукторами и началами обмоток n катушек-индукторов, выход компаратора соединен с первым входом микроконтроллера, первый выход блока переключения режимов соединен со вторым входом микроконтроллера, второй выход блока переключения режимов соединен с третьим входом микроконтроллера, выходы 11-1n микроконтроллера соединены соответственно с входами 21-2n блока управления катушками-индукторами, выходы 11-1n которого соединены с соответствующими концами обмоток n катушек-индукторов, второй, третий, четвертый, пятый выходы микроконтроллера соединены с первым, вторым, третьим, четвертым входами блока световой индикации соответственно, первый выход ИПНЦ соединен со вторым входом компаратора и третьим входом блока управления катушками-индукторами, второй выход ИПНЦ соединен с четвертым входом микроконтроллера, входом блока переключения режимов и пятым входом блока световой индикации.

2. Аппарат магнитотерапевтический по п. 1, отличающийся тем, что включает дополнительный элемент - блок звуковой индикации, первый вход которого соединен с шестым выходом микроконтроллера, а второй вход - с первым выходом ИПНЦ.

3. Аппарат магнитотерапевтический по п. 1 или 2, отличающийся тем, что включает дополнительный элемент - устройство защиты, первый вход которого соединен со вторым выходом ИПНЦ, второй вход - со вторым выходом блока управления катушками-индукторами, а выход - с пятым входом микроконтроллера.

Описание

[1]

Изобретение относится к медицине, в частности к физиотерапии, и может быть использовано для воздействия на пациента лечебным магнитным полем.

[2]

В медицинской практике получили широкое применение низкочастотные магнитные поля, обладающие высоким лечебным эффектом. Они активно влияют на обмен веществ, оказывают противовоспалительное, обезболивающее, спазмолитическое действие и вызывают многогранные ответные реакции организма.

[3]

Известны устройства для осуществления магнитотерапии бегущим импульсным магнитным полем. Например, в полимагнитном терапевтическом аппарате по патенту РФ на изобретение №2007198 (A61N 2/02, 1994) блоки индукторов, используемых совместно, в конкретном исполнении организуют лечебный скафандр, в который помещают пациента.

[4]

В устройстве по патенту РФ №2033206 (A61N 2/04, 1995) «Способ лечения артериальных сосудистых заболеваний, осложненных патологией венозной системы, и устройство магнитотерапии» воздействие на пациента производится с тактом его биоритма. С приходом импульса биоритма осуществляют перемещение с заданной скоростью магнитного поля в дистальном направлении в течение n/2 тактов, при этом обеспечивают направление вектора магнитной индукции, совпадающего с направлением артериального кровотока.

[5]

В устройстве по патенту РФ №2213590 (A61N 2/04, 2003) «Способ лечения поражений периферических нервов и устройство для магнитотерапии» элементы автоматического управления и обработки данных выполнены на базе микропроцессора, который соединен с блоком контроля магнитотропности пациента через аналого-цифровой преобразователь.

[6]

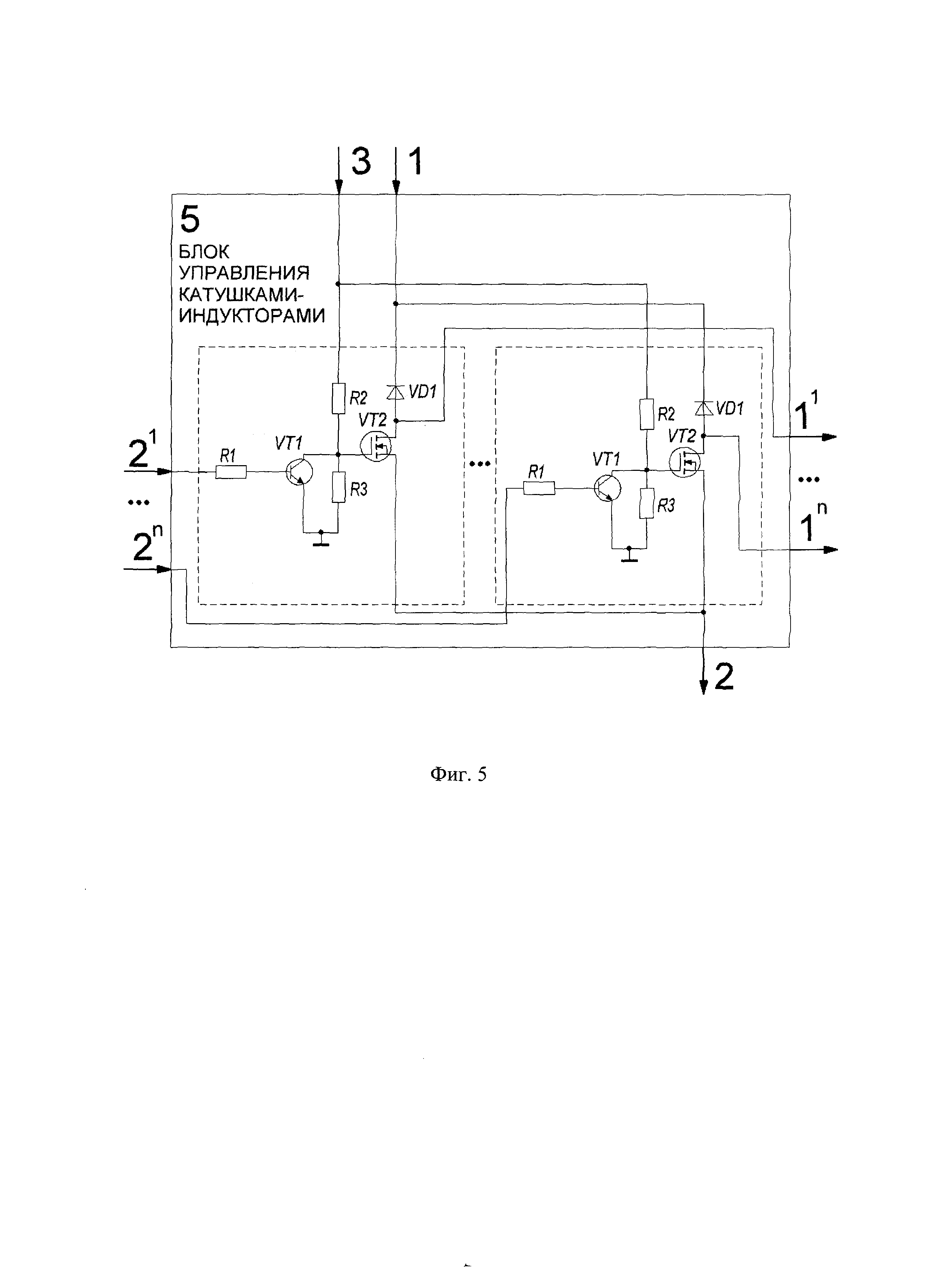
В магнитотерапевтическом аппарате по патенту РФ №2281128 (A61N 2/02, 2006) используются излучатели, состоящие из набора индукторов, а устройство управления выполнено в виде центрального блока и периферийных блоков по числу излучателей, при этом каждый периферийный блок состоит из процессора и ключевых элементов по числу индукторов в соответствующем излучателе.

[7]

В аппарате для магнитотерапии по патенту РФ на полезную модель №64072 (A61N 2/02, 2007) центральный блок размещен на подвижной стойке, а периферийные блоки с подсоединенными к ним излучателями размещены на держателях, жестко связанных с подвижной стойкой.

[8]

Известны варианты низкочастотных магнитоимпульсных терапевтических аппаратов по патенту РФ на полезную модель №127637 (A61N 2/00, 2013) «Магнитотерапевтический прибор с оптимальной настройкой, узлы воздействия бегущим импульсным магнитным полем в его составе и улучшенная конструкция носителя узлов воздействия (варианты)», содержащие узел питания, формирователь импульсов, регулятор частоты импульсов, усилитель импульсов и рабочий индуктор локального воздействия, выполненный в виде однокристального микроконтроллера, наделенного функцией формирователя длительности и формы импульсов, оснащенного источником калиброванной частоты и регулятором частоты импульсов и имеющего выход через цифроаналоговый преобразователь на усилитель импульсов, подключенный к рабочему индуктору.

[9]

В качестве прототипа заявляемого технического решения выбран магнитотерапевтический аппарат по патенту РФ №2151620 (A61N 2/00, 2000) «Устройство для воздействия импульсным бегущим магнитным полем на организм человека», который содержит источник тактовых импульсов, распределитель импульсов, подсоединенный через ключи к узлу воздействия, выполненному в виде набора токовых катушек, при этом источник тактовых импульсов выполнен в виде низковольтного выпрямителя и соединенного с ним формирователя тактовых импульсов, введены высоковольтный выпрямитель, таймер и счетчик импульсов. Устройство снабжено индикатором рабочего режима, вход которого подсоединен ко второму выходу таймера.

[10]

Однако данный аппарат может быть использован только для взрослых и детей старше пяти лет, так как магнитное воздействие дозируется только сокращением времени. Использовать прибор для лечения детей в возрасте от одного месяца и до пяти лет нельзя, так как это может привести к сильным побочным эффектам. Также в аппарате отсутствует возможность лечения заболевания на начальной стадии развития, сопровождающейся воспалительной реакцией и болевым синдромом.

[11]

В настоящее время остается актуальной проблема создания портативных приборов магнитотерапии, использующих различные биотропные параметры магнитного поля для решения специфических терапевтических задач.

[12]

Технический результат, на достижение которого направлено заявляемое решение, заключается в обеспечении режима лечения взрослых и во введении режима для лечения детей возрастом от одного месяца и старше со сниженной напряженностью магнитного поля, не вызывающей нарушения адаптационных механизмов, а также в дополнительном введении противовоспалительного (обезболивающего) режима для начальной стадии заболеваний, который в сочетании с режимом, использованном в прототипе, позволяет начать терапию с более ранней стадии болезни в фазе острого воспаления. Введение новых режимов обеспечивает расширение функциональных возможностей магнитотерапевтического аппарата.

[13]

Указанный технический результат достигается тем, что аппарат магнитотерапевтический включает следующие элементы: двухполупериодный выпрямитель, n катушек - индукторов, блок управления катушками - индукторами, микроконтроллер, компаратор, источник питания низковольтных цепей (ИПНЦ), блок переключения режимов, блок световой индикации, при этом все элементы аппарата объединены между собой общей земляной шиной, вход двухполупериодного выпрямителя предназначен для соединения со стандартной питающей сетью, выход двухполупериодного выпрямителя соединен с первым входом компаратора, входом ИПНЦ, первым входом блока управления катушками - индукторами и началами обмоток n катушек - индукторов, выход компаратора соединен с первым входом микроконтроллера, первый выход блока переключения режимов соединен со вторым входом микроконтроллера, второй выход блока переключения режимов соединен с третьим входом микроконтроллера, выходы 11-1n микроконтроллера соединены соответственно с входами 21-2n блока управления катушками - индукторами, выходы 11-1n которого соединены с соответствующими концами обмоток n катушек - индукторов, второй, третий, четвертый, пятый выходы микроконтроллера соединены с первым, вторым, третьим, четвертым входами блока световой индикации соответственно, первый выход ИПНЦ соединен со вторым входом компаратора и третьим входом блока управления катушками - индукторами, второй выход ИПНЦ соединен с четвертым входом микроконтроллера, входом блока переключения режимов и пятым входом блока световой индикации.

[14]

Изобретение поясняется чертежами:

[15]

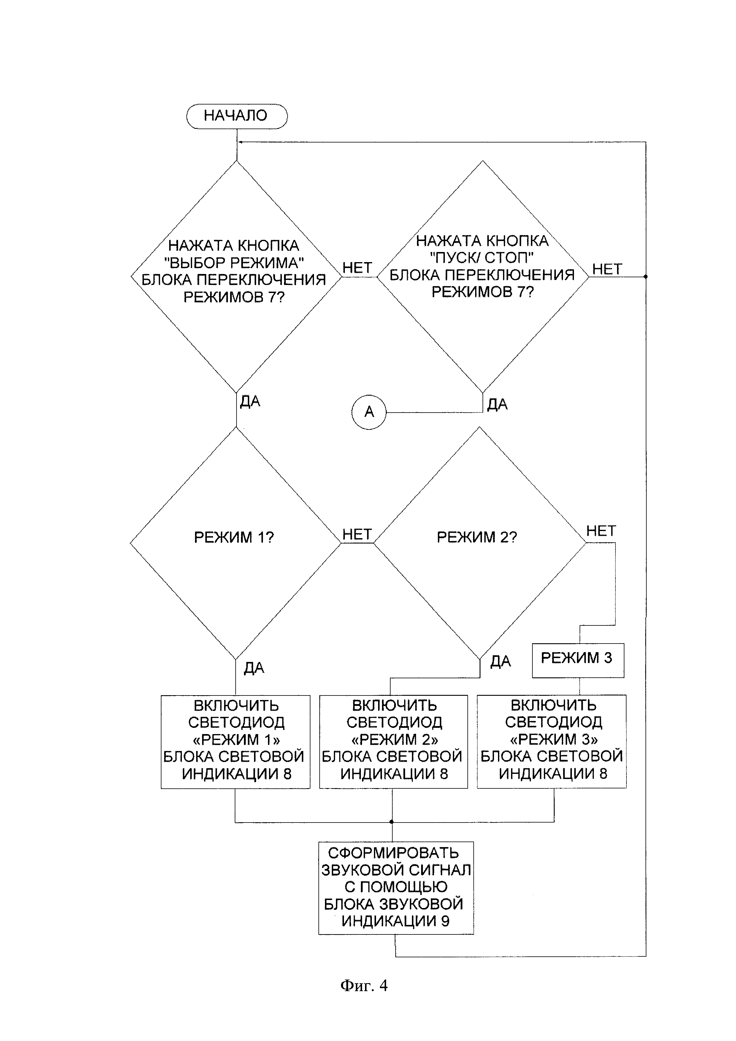
- фиг. 1 - структурная схема магнитотерапевтического аппарата;

[16]

- фиг. 2 - временные диаграммы, поясняющие работу аппарата;

[17]

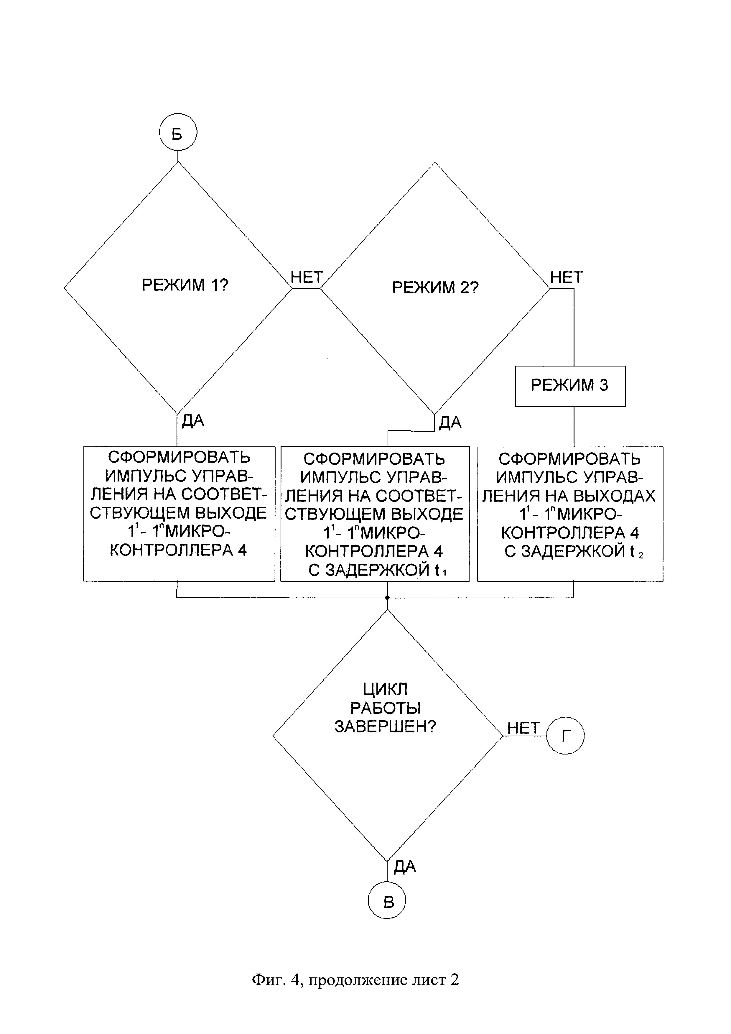
- фиг. 3 - схема источника питания низковольтных цепей;

[18]

- фиг. 4 с продолжением на листах 1-5 - алгоритм работы микроконтроллера;

[19]

- фиг. 5 - схема блока управления катушками - индукторами;

[20]

- фиг. 6 - схема блока переключения режимов;

[21]

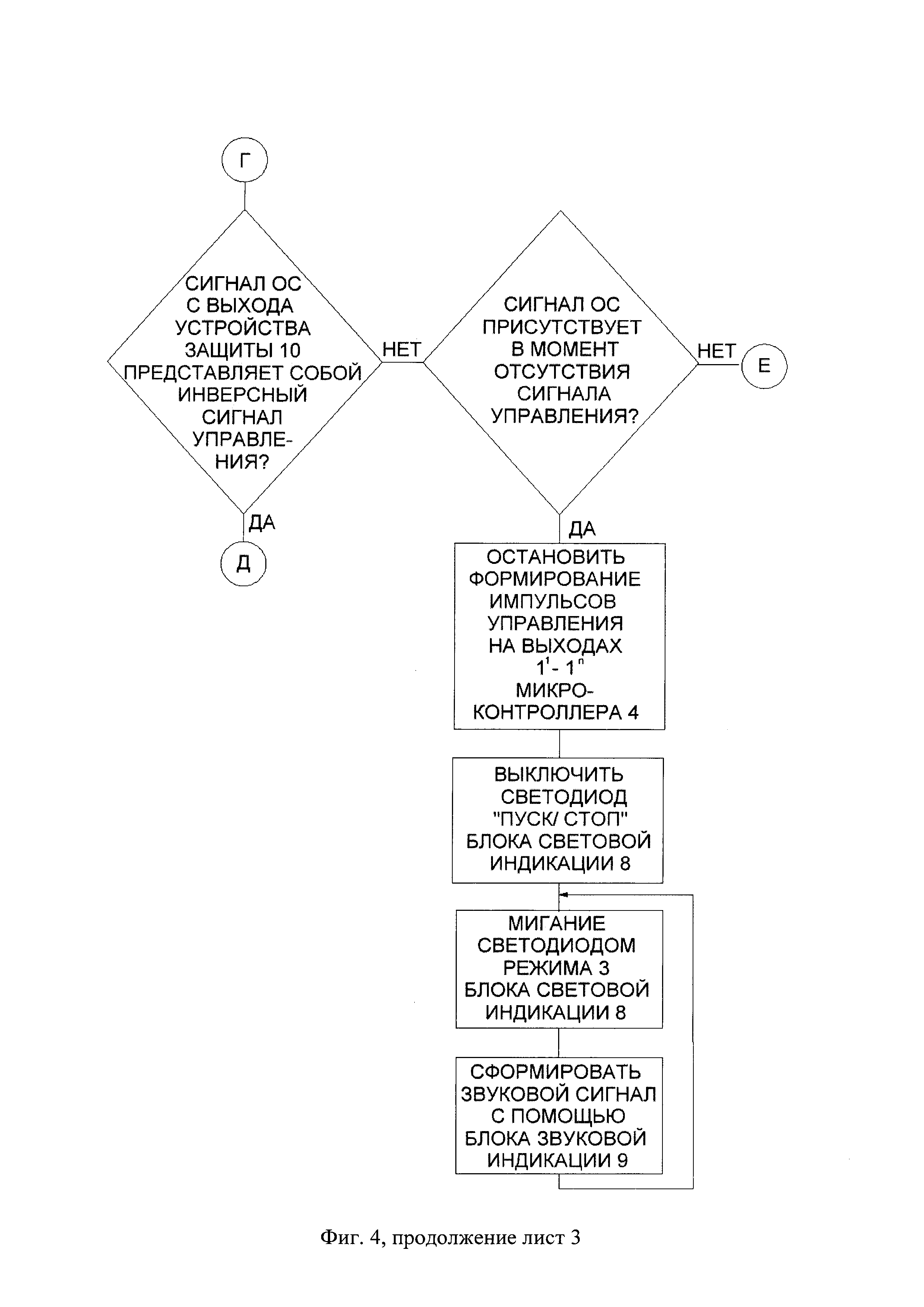
- фиг. 7 - схема устройства защиты.

[22]

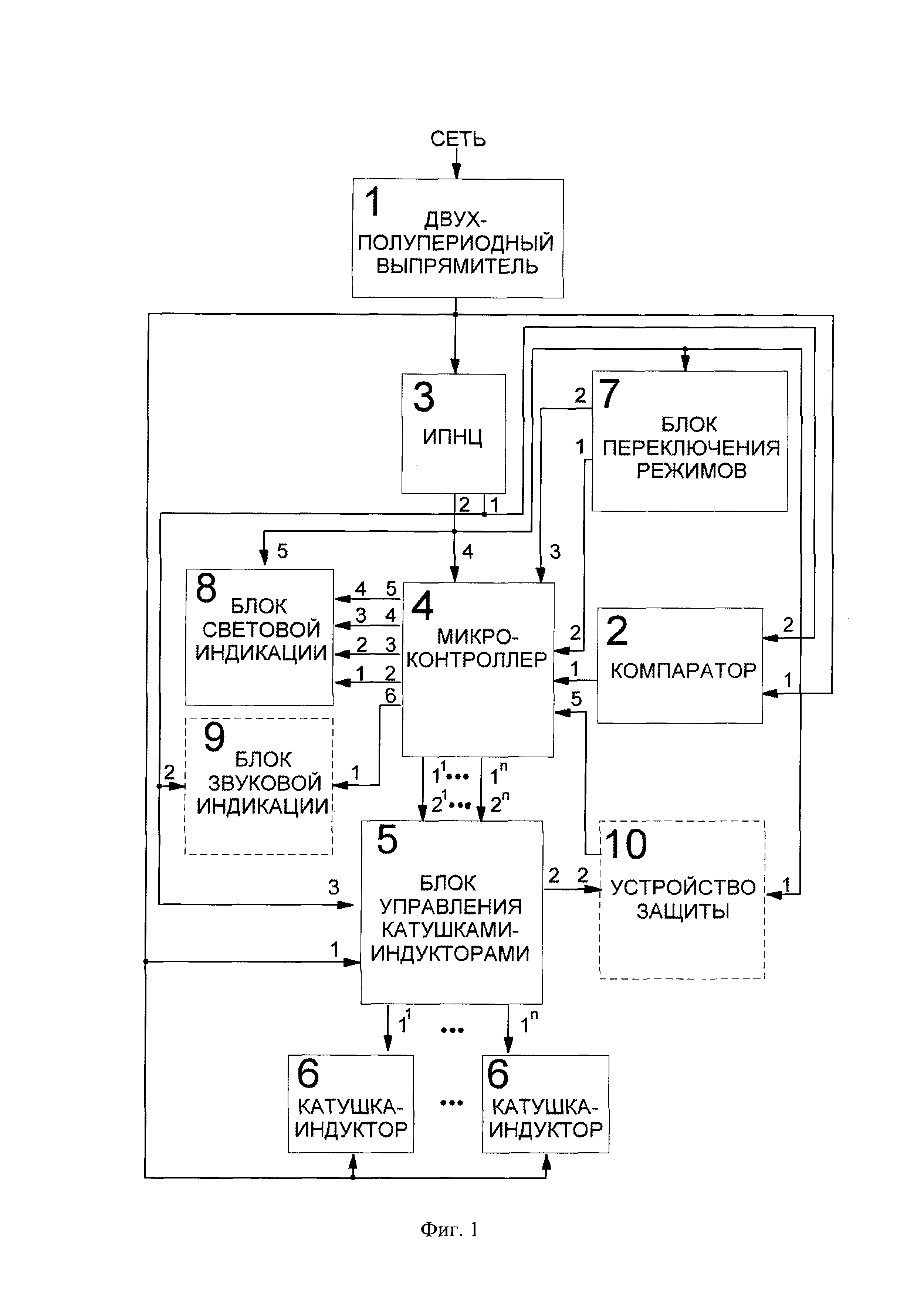
Заявляемый аппарат содержит (фиг. 1) следующие элементы: двухполупериодный выпрямитель 1, компаратор 2, источник питания низковольтных цепей 3 (ИПНЦ 3), микроконтроллер 4, блок управления 5 катушками - индукторами, n катушек - индукторов 6, блок переключения режимов 7, блок световой индикации 8.

[23]

Заявляемый аппарат может содержать дополнительные элементы: блок звуковой индикации 9 и устройство защиты 10 (на фиг. 1, 7 показаны пунктиром).

[24]

Все элементы аппарата объединены между собой общей земляной шиной.

[25]

Вход двухполупериодного выпрямителя 1 предназначен для соединения со стандартной питающей сетью. Выход двухполупериодного выпрямителя 1 соединен с первым входом компаратора 2, входом ИПНЦ 3, первым входом блока управления 5 катушками - индукторами и началами обмоток n катушек - индукторов 6. Выход компаратора 2 соединен с первым входом микроконтроллера 4. Первый выход блока переключения режимов 7 соединен со вторым входом микроконтроллера 4. Второй выход блока переключения режимов 7 соединен с третьим входом микроконтроллера 4.

[26]

Выходы 11-1n микроконтроллера 4 соединены соответственно с входами 21-2n блока управления 5 катушками - индукторами, выходы 11-1n которого соединены с соответствующими концами обмоток n катушек - индукторов 6. Второй, третий, четвертый, пятый выходы микроконтроллера 4 соединены соответственно с первым, вторым, третьим, четвертым входами блока световой индикации 8 соответственно, а шестой выход - с первым входом блока звуковой индикации 9 (при его наличии).

[27]

Первый выход ИПНЦ 3 соединен со вторым входом компаратора 2, третьим входом блока управления 5 катушками - индукторами и вторым входом блока звуковой индикации 9 (при его наличии).

[28]

Второй выход ИПНЦ 3 соединен с четвертым входом микроконтроллера 4, входом блока переключения режимов 7, пятым входом блока световой индикации 8, первым входом устройства защиты 10 (при его наличии).

[29]

Второй выход блока управления 5 катушками - индукторами соединен со вторым входом устройства защиты 10 (при его наличии), выход которого соединен с пятым входом микроконтроллера 4.

[30]

Двухполупериодный выпрямитель 1 выполнен по классической мостовой схеме, например, с использованием готовой диодной сборки в виде микросхемы DB154S, и преобразует синусоидальное напряжение сети в пульсирующее двухполупериодное (фиг. 2А).

[31]

Напряжение с выхода двухполупериодного выпрямителя 1 поступает на первый вход компаратора 2, настроенного на срабатывание при достижении порогового напряжения Uк (фиг. 2А). Компаратор выполнен на основе P-N-P транзистора, например, марки ВС858. Сигнал с выхода компаратора (фиг. 2Б) поступает на первый вход микроконтроллера 4.

[32]

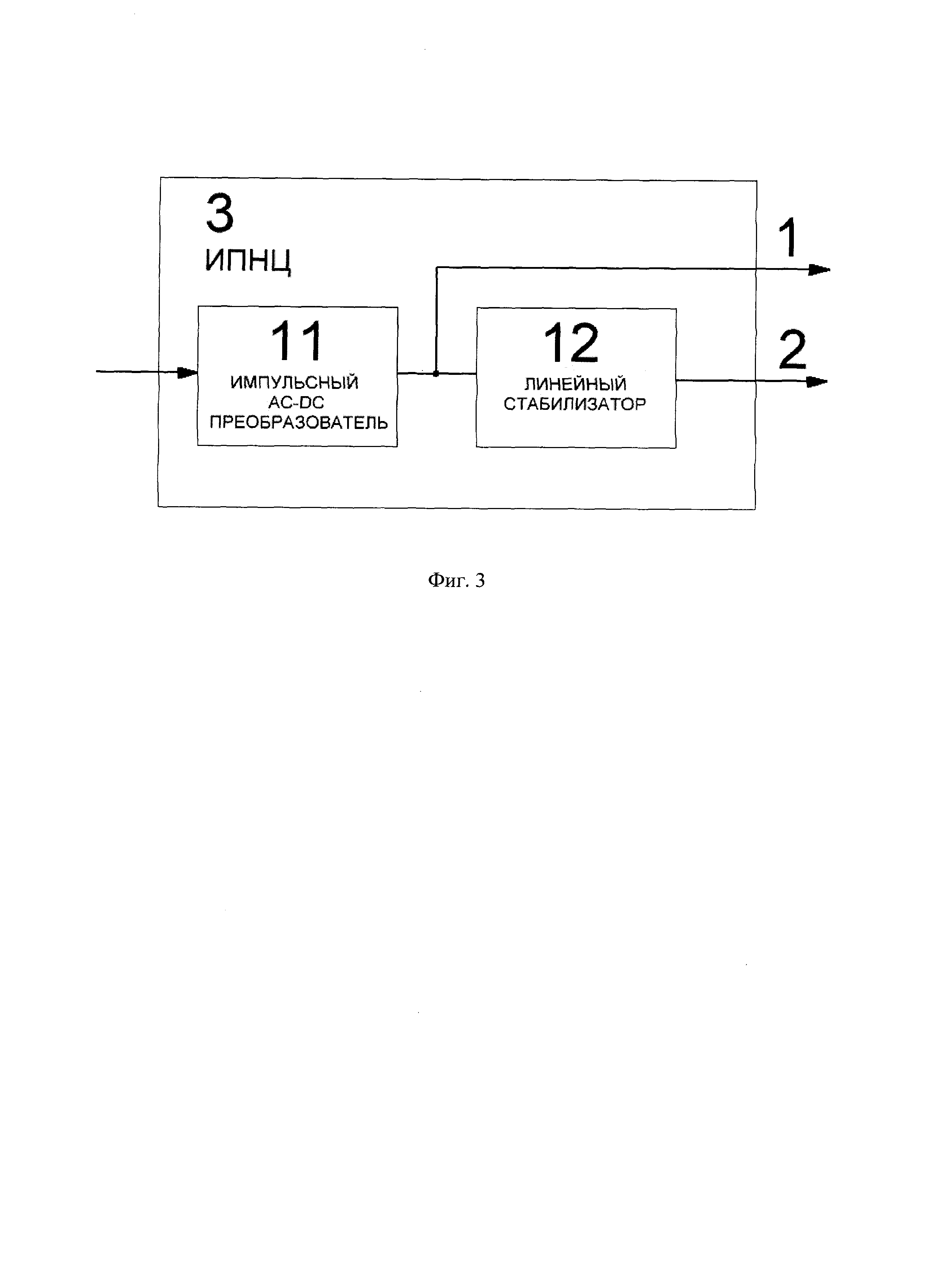
ИПНЦ 3 (фиг. 3) включает импульсный ac-dc преобразователь 11, формирующий на первом выходе ИПНЦ 3 питающее напряжение +12В для компаратора 2, блока управления 5 катушками - индукторами, блока звуковой индикации 9 (при его наличии), и линейный стабилизатор 12, формирующий на втором выходе ИПНЦ 3 питающее напряжение +5В для микроконтроллера 4, блока переключения режимов 7, блока световой индикации 8, устройства защиты 10 (при его наличии).

[33]

Импульсный ac-dc преобразователь 11 может быть выполнен на базе интегрального ac-dc преобразователя, например, микросхеме LNK304G с использованием стандартной схемы включения.

[34]

Линейный стабилизатор 12 может быть выполнен на базе интегрального стабилизатора напряжения, например, марки L78L05.

[35]

Микроконтроллер 4 может быть выполнен на базе программируемой микросхемы микроконтроллера, например PIC16F628A, и осуществляет управление работой аппарата по алгоритму (фиг. 4), записанному в него в виде программы.

[36]

Блок управления 5 катушками - индукторами (фиг. 5) содержит n двухкаскадных транзисторных ключей (по числу катушек - индукторов), каждый из которых состоит из биполярного транзистора в первом каскаде (фиг. 5, VT1) и полевого транзистора во втором (фиг. 5, VT2). Первый каскад на биполярном N-P-N транзисторе реализован по схеме с общим эмиттером. Для первого каскада могут быть использованы низкочастотные N-P-N транзисторы, например, марки ВС846. Второй каскад реализован на полевом N-канальном транзисторе по схеме с общим истоком. Для второго каскада можно использовать N-канальный МОП - транзистор, например, марки IPD50R1K4CE.

[37]

Сигналы управления с выходов 11-1n микроконтроллера 4 поступают на входы 21-2n блока управления 5 катушками - индукторами и через резисторы R1 на базы биполярных транзисторов первых каскадов. Сигнал с коллектора биполярного транзистора в каждом каскаде передается на затвор полевого транзистора, к стоку которого (выходы 11-1n блока управления 5 катушками - индукторами) подключена соответствующая катушка - индуктор 6. При этом питающее напряжение +12 В с первого выхода ИПНЦ 3 подается на резистивные делители напряжения R2-R3, к центральной точке которых подключены коллекторы биполярных транзисторов и затворы полевых транзисторов (вход 3 блока управления 5 катушками - индукторами).

[38]

Сигнал с выхода двухполупериодного выпрямителя 1 поступает на катоды диодов VD1, аноды которых подключены к стокам полевых транзисторов (вход 1 блока управления 5 катушками - индукторами).

[39]

Истоки полевых транзисторов (выход 2 блока управления 5 катушками-индукторами) подключены ко входу 2 устройства защиты 10 (при его наличии).

[40]

Катушки - индукторы 6 представляют собой плоские катушки индуктивности, намотанные медным проводом.

[41]

Блок переключения режимов 7 (фиг. 6) содержит две кнопки «Пуск/Стоп» и «Выбор режима», которые одним выводом подключены к общей земляной шине. Второй вывод кнопки «Пуск/Стоп» соединен со вторым входом микроконтроллера 4, а второй вывод кнопки «Выбор режима» соединен с третьим входом микроконтроллера 4.

[42]

Питающее напряжение +5В от ИПНЦ 3 поступает на вход блока переключения режимов 7 через резисторы R1, R2 и обеспечивает привязку входов 2 и 3 микроконтроллера 4 к уровню логической «1», когда кнопки не замкнуты. При замыкании кнопок происходит привязка входов микроконтроллера 4 к потенциалу земли, что соответствует уровню логического «0». Переключение состояния входов 2 и 3 микроконтроллера 4 из состояния логической «1» (когда кнопки не нажаты) в состояние логического «0» (при замыкании соответствующей кнопки) позволяет микроконтроллеру 4 распознавать состояние нажатия кнопок и выполнять соответствующие действия, предусмотренные алгоритмом программы.

[43]

В качестве кнопок могут быть использованы тактовые кнопки, например, STDM-620N.

[44]

Блок световой индикации 8 содержит четыре светодиода:

[45]

- «пуск/стоп»;

[46]

- «режим 1»;

[47]

- «режим 2»;

[48]

- «режим 3».

[49]

Аноды светодиодов подключены к питающему напряжению +5В от ИПНЦ 3, катоды подключены соответственно ко второму, третьему, четвертому и пятому выходам микроконтроллера 4. Микроконтроллер осуществляет включение или выключение светодиодов в соответствии с алгоритмом программы. В качестве элементов индикации режимов работы могут быть использованы, например, светодиоды FYL-3014UWC1A белого свечения, а для индикатора "пуск/стоп" - светодиод Betlux BL-L324UYC.

[50]

Блок звуковой индикации 9 (при его наличии) содержит классическую ключевую схему с общим эмиттером на биполярном N-P-N транзисторе и подключенный к нему в цепь коллектора звуковой извещатель без встроенного генератора. Ключевая схема подключена к шестому выходу микроконтроллера 4, который генерирует на этом выходе нужные для формирования соответствующей звуковой индикации сигналы в виде последовательностей импульсов, например, с частотой 2,5-3 кГц. Питающее напряжение +12 В от ИПНЦ 3 подается на коллектор биполярного N-P-N транзистора.

[51]

Устройство защиты 10 (при его наличии) содержит (фиг. 7) датчик тока 13 в виде двух диодов, последовательно включенных в цепь земли полевых транзисторов блока управления 5 катушками - индукторами, делитель 14 для снятия сигнала с диодов и ключевую схему 15, выполненную на биполярном N-P-N транзисторе по классической схеме с общим эмиттером. С коллектора N-P-N транзистора обеспечивается передача сигнала обратной связи (ОС) на пятый вход микроконтроллера 4. Питающее напряжение +12В подается на коллектор биполярного N-P-N транзистора.

[52]

Аппарат функционирует следующим образом.

[53]

Аппарат включают в сеть, при этом посредством двухполупериодного выпрямителя 1 и ИПНЦ 3 на его элементы подаются соответствующие питающие напряжения.

[54]

Микроконтроллер 4 опрашивает кнопки "Выбор режима" и "Пуск/Стоп" блока переключения режимов 7 (фиг. 4).

[55]

Посредством кнопки "Выбор режима" блока переключения режимов 7 осуществляют выбор одного из трех режимов воздействия, микроконтроллер 4 фиксирует выбор режима и вырабатывает команду на включение светодиода соответствующего режима блока световой индикации 8 и формирование звукового сигнала блоком звуковой индикации 9 (при его наличии).

[56]

Запуск воздействия осуществляется кнопкой "Пуск/Стоп" блока переключения режимов 7, при этом посредством микроконтроллера 4 аналогичным образом включается светодиод "пуск/стоп" блока световой индикации 8 и формируется звуковой сигнал блоком звуковой индикации 9 (при его наличии) (фиг. 4, продолжение лист 1).

[57]

Напряжение с выхода двухполупериодного выпрямителя 1 (фиг. 2А) поступает на первый вход компаратора 2. При достижении порогового напряжения Uк сигнал с выхода компаратора (фиг. 2Б) поступает на первый вход микроконтроллера 4, который фиксирует переключение компаратора из состояния логического «0» в состояние логической «1» и формирует сигналы управления с выходов 11-1n микроконтроллера 4 через блок управления 5 катушками - индукторами на концы обмоток катушек - индукторов 6 в соответствии с одним из трех режимов (фиг. 4, продолжение лист 2). При этом блок управления 5 катушками - индукторами обеспечивает преобразование сигналов управления с микроконтроллера 4 на катушки - индукторы 6.

[58]

В соответствии с режимом 1 сигнал управления для каждой из n катушек - индукторов формируется поочередно, непосредственно в момент перехода сигнала компаратора 2 из состояния логического «0» в состояние логической «1» (фиг. 2В - для первой катушки - индуктора и фиг. 2Г - для второй катушки - индуктора) с частотой 1/8 питающей сети (6,25 Гц). Формирование частоты обеспечивается микроконтроллером 4 путем деления частоты, поступающей с выхода компаратора 2. При этом амплитуда магнитной индукции на поверхности катушек индукторов составляет 20±6 мТл. Необходимое значение амплитуды магнитной индукции формируется микроконтроллером 4 путем подачи сигналов управления с выходов 11-1n на катушки - индукторы 6 через блок управления 5 катушками - индукторами в момент срабатывания компаратора 2 при достижении порогового напряжения Uк.

[59]

Данный режим работы предназначен для лечения взрослых.

[60]

В соответствии с режимом 2 сигнал управления для каждой из n катушек - индукторов 6 формируется поочередно с задержкой t1 от момента перехода сигнала компаратора 2 из состояния логического «0» в состояние логической «1» (фиг. 2Д для первой катушки - индуктора и фиг. 2Е для второй катушки - индуктора) с частотой 1/8 питающей сети (6,25 Гц). Формирование частоты обеспечивается микроконтроллером 4 путем деления частоты, поступающей с выхода компаратора 2.

[61]

При этом амплитуда магнитной индукции на поверхности катушек индукторов составляет 8±2 мТл. Необходимое значение амплитуды магнитной индукции формируется микроконтроллером 4 путем подачи сигналов управления с выходов 11÷1n на катушки - индукторы 6 через блок управления 5 катушками - индукторами с задержкой t1 от момента перехода сигнала компаратора 2 из состояния логического «0» в состояние логической «1» в момент, когда напряжение на выходе двухполупериодного выпрямителя 1 достигает значения Um (фиг. 2А).

[62]

Данный режим отличается от режима 1 меньшей амплитудой магнитной индукции и предназначен для детей возрастом от одного месяца и старше.

[63]

В соответствии с режимом 3 сигнал управления для каждой из n катушек-индукторов формируется одновременно с задержкой t2>t1 от момента перехода сигнала компаратора 2 из состояния логического «0» в состояние логической «1» (фиг. 2Ж) с частотой 100 Гц, при этом амплитуда магнитной индукции составляет 6±2 мТл. Формирование частоты обеспечивается микроконтроллером 4 путем формирования сигналов управления с частотой переключения компаратора 2. Необходимое значение амплитуды магнитной индукции формируется микроконтроллером 4 путем подачи сигналов управления с выходов 11-1n на катушки - индукторы 6 через блок управления 5 катушками -индукторами в момент, когда напряжение на выходе двухполупериодного выпрямителя 1 достигает значения Un (фиг. 2А).

[64]

Данный режим предназначен для лечения заболеваний на начальной стадии развития, сопровождающейся воспалительной реакцией и болевым синдромом.

[65]

Параметры режимов подобраны эмпирическим путем.

[66]

При наличии устройства защиты 10 с его выхода на пятый вход микроконтроллера 4 поступает сигнал обратной связи (ОС). Сигнал ОС формируется следующим образом: в момент подачи сигнала управления с выходов блока управления 5 катушками - индукторами через катушки -индукторы 6 начинает протекать ток. Сигнал с датчика тока 13 (фиг. 7) посредством делителя 14 передается на ключевую схему 15, выход которой при этом переключается из состояния логической «1» в состояние логического «0». После снятия сигнала управления ток через катушки - индукторы 6 протекать перестает, в результате выход ключевой схемы 15 переключается из состояния логического «0» в состояние логической «1».

[67]

Фактически сигнал ОС представляет собой инверсный сигнал управления в том случае, если все в порядке, и изменяет свой характер, если произошла неисправность. На основе изменения характера сигнала ОС микроконтроллер 4 различает два вида неисправностей:

[68]

1) выход из строя одного из n двухкаскадных транзисторных ключей, что оценивается по наличию тока в момент отсутствия сигнала управления. При этом микроконтроллер 4 останавливает формирование импульсов управления на выводах 11-1n, выключает светодиод "пуск/стоп" блока управления световой индикации 8, а для оповещения пользователя об этой неисправности осуществляется переключение светодиода режима 3 блока световой индикации 8 в мигающий режим и подача сигнала на звуковой извещатель блока звуковой индикации 9 (при его наличии) (фиг. 4, продолжение лист 3);

[69]

2) обрыв управляющей связи катушки-индуктора 6, что оценивается по отсутствию тока в момент формирования сигнала управления. При этом микроконтроллер 4 останавливает формирование импульсов управления на выводах 11-1n, выключает светодиод "пуск/стоп" блока управления световой индикации 8, а для оповещения пользователя об этой неисправности осуществляется переключение светодиода режима 2 блока световой индикации 8 в мигающий режим и подача сигнала на звуковой извещатель блока звуковой индикации 9 (при его наличии) (фиг. 4, продолжение лист 4).

[70]

После завершения цикла работы, например, через 20 минут, микроконтроллер 4 осуществляет завершение работы, при этом он останавливает формирование импульсов управления на выводах 11-1n, выключает светодиод "пуск/стоп" блока световой индикации 8 и формирует звуковой сигнал с помощью блока звуковой индикации 9 (при его наличии) (фиг. 4, продолжение лист 5).

Как компенсировать расходы
на инновационную разработку
Похожие патенты