патент
№ RU 2619362
МПК H01L31/18

Способ сборки кристаллов МФПУ

Авторы:
Акимов Виталий Владимирович Климанов Евгений Алексеевич Васильева Лариса Александровна
Все (4)
Номер заявки
2016129575
Дата подачи заявки
19.07.2016
Опубликовано
15.05.2017
Страна
RU
Как управлять
интеллектуальной собственностью
Чертежи 
1
Реферат

Изобретение относится к технологии сборки гибридных матричных фотоприемных устройств (МФПУ). Одной из основных операций при изготовлении МФПУ является сборка кристаллов в корпус с последующим соединением контактных площадок кристалла БИС с внешними выводами корпуса МФПУ. Такая электрическая связь осуществляется обычно с помощью золотых проволочек, развариваемых на соответствующие контакты. Техническим результатом изобретения является повышение надежности сборки кристаллов МФПУ путем исключения возможности закороток кристалла с металлизированными шинами. Способ сборки кристаллов МФПУ включает нанесение слоя металла на диэлектрический растр, формирование рисунка проводящих шин и контактных площадок, нанесение изолирующего покрытия и приклейку кристалла на растр, для изготовления растра используют кремниевую шайбу, на поверхности которой вытравливают канавки глубиной больше толщины слоя металлизации и шириной больше ширины шин металлизации, проводят глубокое окисление поверхности кремния, наносят слой металлизации и формируют рисунок проводящей разводки так, чтобы металлизированные шины и контактные площадки располагались на дне вытравленных канавок. 2 ил.

Формула изобретения

Способ сборки кристаллов МФПУ, включающий нанесение слоя металла на диэлектрический растр, формирование рисунка проводящих шин и контактных площадок, нанесение изолирующего покрытия и приклейку кристалла на растр, отличающийся тем, что с целью повышения надежности сборки для изготовления растра используют кремниевую шайбу, на поверхности которой вытравливают канавки глубиной больше толщины слоя металлизации и шириной больше ширины шин металлизации, проводят глубокое окисление поверхности кремния, наносят слой металлизации и формируют рисунок проводящей разводки так, чтобы металлизированные шины и контактные площадки располагались на дне вытравленных канавок.

Описание

[1]

Изобретение относится к технологии сборки гибридных матричных фотоприемных устройств (МФПУ).

[2]

Одной из основных операций при изготовлении МФПУ является сборка кристаллов в корпус с последующим соединением контактных площадок кристалла БИС с внешними выводами корпуса МФПУ. Такая электрическая связь осуществляется обычно с помощью золотых проволочек, развариваемых на соответствующие контакты.

[3]

Известен способ сборки кристаллов МФПУ в корпус [Фоторезистор с кодом Грея из гетероэпитаксиальных структур КРТ для регистрации импульсного излучения CO2 лазера. Гиндин П.Д., Карпов В.В. и др. XXIII Международная научно-техническая конференция по фотоэлектронике и приборам ночного видения. Труды конференции, стр. 538, Москва, 28-30 мая 2014 г.], в соответствии с которым контактные площадки кристалла развариваются золотыми проволочками непосредственно на контактные площадки корпуса.

[4]

Однако данный способ имеет существенный недостаток, связанный с тем, что данная конструкция корпуса из-за высоких теплопритоков не может быть использована для корпусирования МФПУ, требующих глубокого охлаждения (КРТ, антимонид индия и др.).

[5]

Наиболее близким к предлагаемому техническому решению является способ сборки кристалла с использованием промежуточной диэлектрической платы (растра) с нанесенными на ее поверхность металлизированными шинами с контактными площадками [Многорядное ФПУ для дистанционного зондирования Земли в шести спектральных полосах ИК диапазона 3-12,5 мкм. Балиев Д.Л., Болтарь К.О., Бурлаков И.Д. и др. XXIV Международная научно-техническая конференция и школа по фотоэлектронике и приборам ночного видения. Труды конференции, стр. 39, Москва, 24-27 мая 2016 г.]. Обычно такие платы изготавливаются из плоских шайб синтетического лейкосапфира, на поверхности которой формируют требуемый рисунок металлизации. Сам же кристалл приклеивается к растру тыльной стороной специальным клеем. При этом внутренние контактные площадки шин соединяются короткими проволочками с контактными площадками кристалла, а внешние - с площадками корпуса.

[6]

Недостаток такого технического решения проявляется в растрах, где металлизированные шины проходят под кристаллом, например, для объединения контактных площадок от однотипных узлов, расположенных на противоположных сторонах кристалла. В этом случае появляется возможность закоротки металлизированных шин растра, проходящих под кристаллом, на его тыльную сторону, приклеенную на растр. Как показала практика, ни изоляция металлизированных шин, ни окисление тыльной стороны кристалла, ни слой клея под кристаллом не гарантируют полной защиты от закороток металлизированных шин на тыльную сторону кристалла.

[7]

Задачей изобретения является повышение надежности сборки, кристаллов МФПУ путем исключения возможности закороток кристалла с металлизированными шинами.

[8]

Решение задачи обеспечивается тем, что способ сборки кристаллов МФПУ включает нанесение слоя металла на диэлектрический растр, формирование рисунка проводящих шин и контактных площадок, нанесение изолирующего покрытия и приклейку кристалла на растр, для изготовления растра используют кремниевую шайбу, на поверхности которой вытравливают канавки глубиной больше толщины слоя металлизации и шириной больше ширины шин металлизации, проводят глубокое окисление поверхности кремния, наносят слой металлизации и формируют рисунок проводящей разводки так, чтобы металлизированные шины и контактные площадки располагались на дне вытравленных канавок.

[9]

Технический результат - повышение надежности сборки, достигается тем, что для изготовления растра используется материал, допускающий обработку поверхности методами полупроводниковой технологии, например кремний или специальные виды керамики. В данном случае использование кремния для изготовления растра для охлаждаемых МФПУ более предпочтительно из-за его высокой теплопроводности, одинакового КТР с материалом БИС, относительно низкой стоимости, малым разбросом толщин растров, полученных с разных кремниевых пластин, возможности группового изготовления растров на стандартной пластине с последующим их разделением и т. д. При этом на кремниевой шайбе необходимой формы фотолитографическими методами вытравливают канавки глубиной больше суммарной толщины слоя металлизации и диэлектрика, а шириной больше ширины шин и контактных площадок металлизации. С целью изоляции шин металлизации от кремния проводят глубокое окисление поверхности кремния, наносят слой металлизации и формируют рисунок проводящей разводки так, чтобы металлизированные шины и контактные площадки располагались на дне вытравленных канавок.

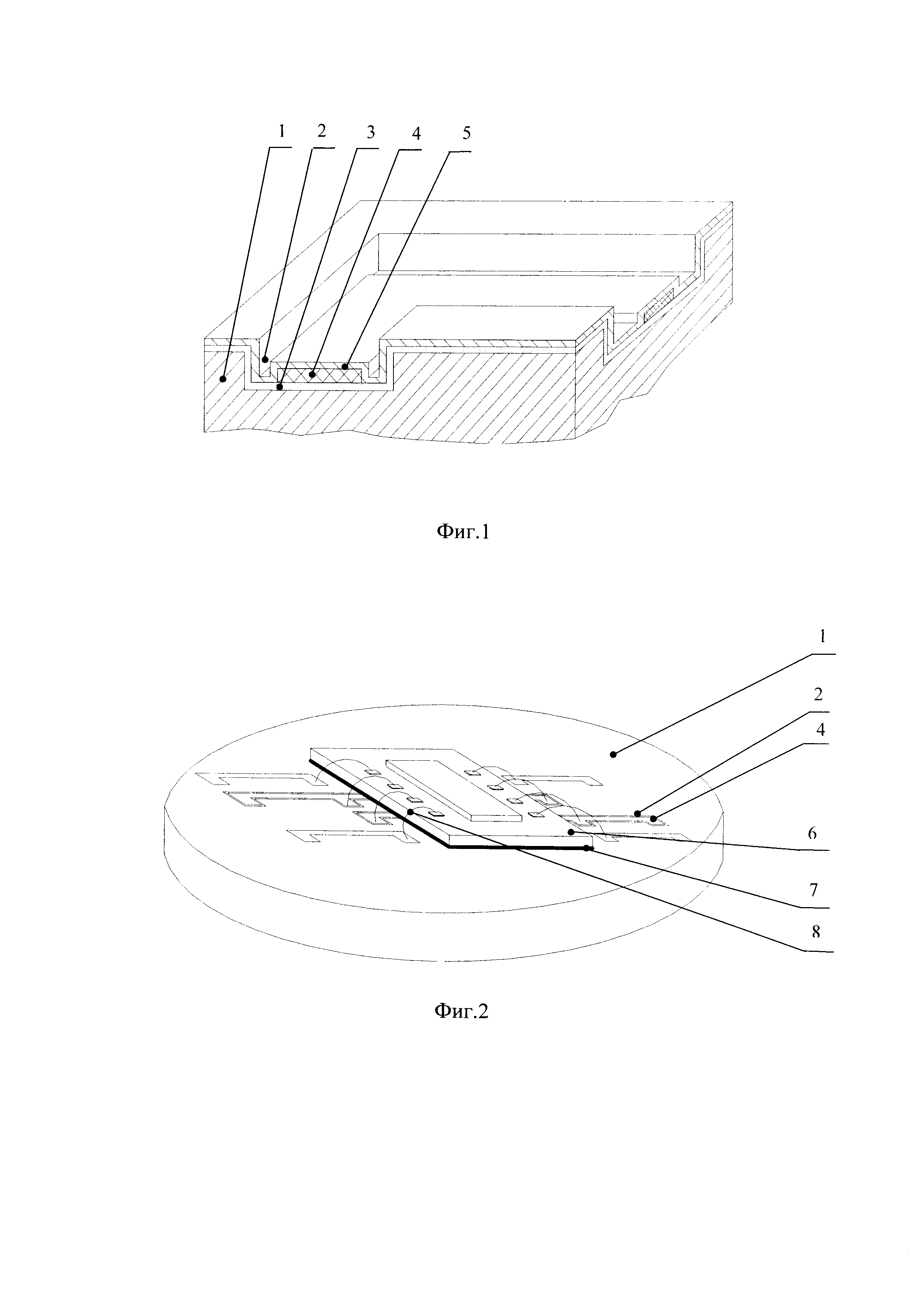
[10]

Последовательность технологической цепочки предлагаемого способа показана на фиг. 1, а внешний вид готовой структуры - на фиг. 2, где:

[11]

1 - кремниевый растр;

[12]

2 - вытравленные канавки;

[13]

3 - слой термического окисла;

[14]

4 - металлизированная разводка;

[15]

5 - слой диэлектрика;

[16]

6 - кристалл МФПУ;

[17]

7 - слой клея;

[18]

8 - золотые проволочки.

[19]

Способ сборки кристаллов МФПУ осуществляется в следующей последовательности:

[20]

1 - формирование кремниевой шайбы необходимых размеров.

[21]

2 - травление канавок на поверхности кремния в местах расположения шин металлизации,

[22]

3 - глубокое термическое окисление поверхности кремния и канавок,

[23]

4 - напыления слоя металлизации,

[24]

5 - формирование рисунка металлизации на дне канавок,

[25]

6 - нанесение слоя диэлектрика на проводящие шины,

[26]

7 - приклейка кристалла на растр,

[27]

8 - разварка контактных площадок МФПУ на растр.

[28]

Этот способ может быть использован также для соединения однотипных контактов у нескольких кристаллов, расположенных на одном растре.

[29]

Формирование канавок возможно по всему растру или только под кристаллом МФПУ. Металлизированные шины, не проходящие под кристаллом МФПУ, могут располагаться как в канавках, так и на поверхности растра.

Как компенсировать расходы
на инновационную разработку
Похожие патенты