патент
№ RU 2295475
МПК B64C3/50

МЕХАНИЗМ УПРАВЛЕНИЯ АЭРОДИНАМИЧЕСКИМИ ПОВЕРХНОСТЯМИ САМОЛЕТА

Авторы:
Шаповал Владимир Григорьевич
Номер заявки
2005110357/11
Дата подачи заявки
11.04.2005
Опубликовано
20.03.2007
Страна
RU
Как управлять
интеллектуальной собственностью
Чертежи 
2
Реферат

[19]

Изобретение относится к авиационной технике и касается создания механизмов управления аэродинамическими поверхностями самолета, например закрылками. Кинематические звенья механизма управления связаны посредством шарнирных узлов, в том числе узлом шарового шарнира, соединяющего подкос с кронштейном крыла самолета, включающего силовую ось и внутреннее кольцо. На силовой оси установлена жестко связанная с ней втулка с радиальными фланцевыми выступами, сопрягаемыми с ответными пазами внутреннего кольца, выполненными на его торцовой поверхности. Силовая ось выполнена ступенчатой с эксцентричной посадочной поверхностью под втулку и застопорена шлицевой шайбой на проушине кронштейна крыла. Количество равномерно расположенных пазов может быть не менее шести, пазы и выступы могут быть прямоугольного сечения. Втулка на силовой оси может фиксироваться шпонкой. Силовую ось целесообразно выполнять со шлицевой головкой под шлицевую шайбу. Технический результат заключается в возможности регулировки положения кинематических звеньев механизма со связанной с ним аэродинамической поверхностью и в гарантированном жестком стопорении от проворота внутреннего кольца шарового шарнира, что решает задачу повышения уровня надежности в целом всего механизма при одновременном повышении его нагрузочных характеристик. 4 з.п. ф-лы, 3 ил.

Формула изобретения

1. Механизм управления аэродинамическими поверхностями самолета, например закрылками, кинематические звенья которого связаны посредством шарнирных узлов, в том числе узла шарового шарнира, соединяющего подкос с кронштейном крыла самолета, включающего силовую ось и внутреннее кольцо, отличающийся тем, что на силовой оси установлена жестко связанная с ней втулка с радиальными фланцевыми выступами, сопрягаемыми с ответными пазами внутреннего кольца, выполненными на его торцовой поверхности, при этом силовая ось выполнена ступенчатой с эксцентричной посадочной поверхностью под втулку и застопорена шлицевой шайбой на проушине кронштейна крыла.

2. Механизм управления по п.1, отличающийся тем, что на торцовой поверхности внутреннего кольца выполнено по меньшей мере шесть равномерно расположенных пазов.

3. Механизм управления по одному из пп.1 и 2, отличающийся тем, что пазы на торцовой поверхности внутреннего кольца и фланцевые выступы втулки выполнены прямоугольного сечения.

4. Механизм управления по п.1, отличающийся тем, что втулка на силовой оси зафиксирована с помощью шпонки.

5. Механизм управления по п.1, отличающийся тем, что силовая ось выполнена со шлицевой головкой под шлицевую шайбу.

Описание

[1]

Изобретение относится к авиастроению, в частности к конструкции механизма управления аэродинамическими поверхностями самолета, например закрылками.

[2]

Основы конструирования в авиастроении, являясь общими с основами конструирования в целом, включают особый подход к конструированию с учетом повышенных требований к уровню надежности для обеспечения безопасности полетов. Уровень надежности самолетов интегрирован из многих составляющих, в том числе из надежности механизма управления аэродинамическими плоскостями самолета. В изобретениях, касающихся механизмов управления аэродинамическими поверхностями самолетов, обязательным элементом конструкции является шарнирная связка кинематических звеньев механизма. (SU 1497916, А 11830844 А1, МКИ 4 В 64 С 13/34, ЕР 1426290, RU 96108425, кн. Кестельман В.Н., Федоров А.В. Механизмы управления самолетом. - М.: Машиностроение, 1987, стр.18, рис.1.11, г; стр.33, рис.2.4 - прототип).

[3]

Однако в известных устройствах указанного назначения, в том числе по прототипу, надежность механизма управления аэродинамическими поверхностями самолета не отвечает высокому уровню вследствие конструктивного решения узла шарового шарнира: фрикционное крепление внутреннего кольца (яблока) ввиду недостаточной надежности его стопорения и, как следствие, возможность проворота яблока при действии аэродинамических нагрузок, что отрицательно влияет на нагрузочные характеристики узла.

[4]

Задача изобретения - повышение уровня надежности и нагрузочных характеристик механизма управления аэродинамическими поверхностями самолета.

[5]

Для решения задачи в механизме управления аэродинамическими поверхностями самолета, например закрылками, кинематические звенья которого связаны посредством шарнирных узлов, в том числе узла шарового шарнира, соединяющего подкос с кронштейном крыла самолета, включающего силовую ось и внутреннее кольцо, в отличие от прототипа на силовой оси установлена жестко связанная с ней втулка с радиальными фланцевыми выступами, сопрягаемыми с ответными пазами внутреннего кольца, выполненными на его торцовой поверхности. Силовая ось выполнена ступенчатой, с эксцентричной посадочной поверхностью под втулку и застопорена шлицевой шайбой на проушине кронштейна крыла.

[6]

Указанная задача решается также тем, что:

[7]

- на торцовой поверхности внутреннего кольца шарнирного узла выполнено по меньшей мере шесть равномерно расположенных пазов;

[8]

- пазы на торцевой поверхности внутреннего кольца и фланцевые выступы втулки выполнены прямоугольного сечения;

[9]

- втулка, связана с силовой осью с помощью шпонки;

[10]

- силовая ось выполнена со шлицевой головкой под шлицевую шайбу.

[11]

Заявляемая конструкция механизма представлена на чертежах.

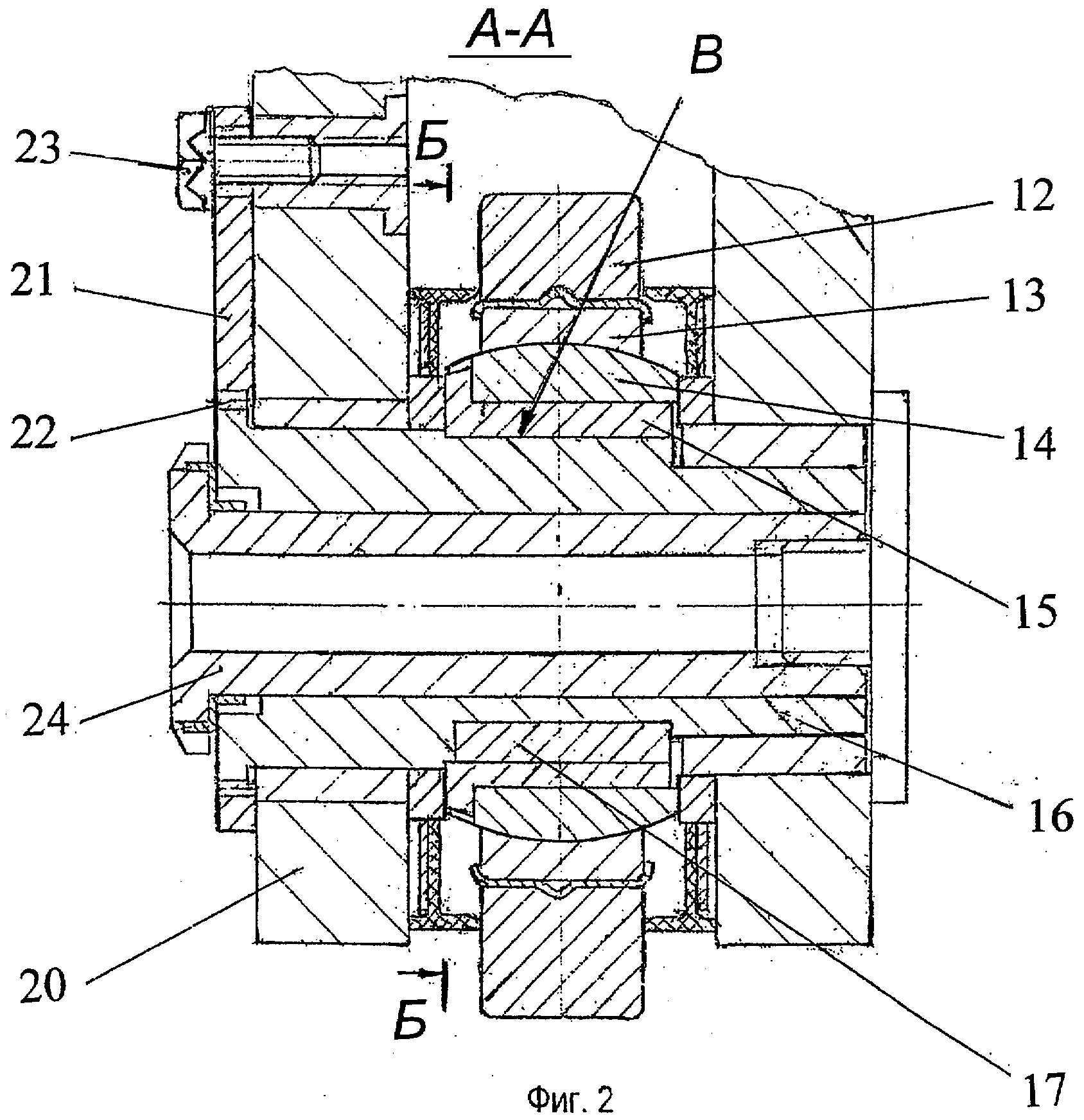
[12]

На фиг.1 представлен общий вид механизма, установленного на крыле самолета; на фиг.2 - сечение А-А на фиг.1; на фиг.3 - сечение Б-Б на фиг.2.

[13]

Механизм управления аэродинамическими поверхностями самолета, например закрылками 1 и хвостовыми звеньями 2, содержит установленную на рельсах 3 каретку 4, связанную с закрылком и хвостовым звеном, закрепленных в отклоняемой подкрыльевой балке 5. Перемещение каретки с закрылком по рельсам в механизме выполняет шариковинтовой подъемник 6, а отклонение балки с механизмом осуществляют кинематические звенья с шарнирными узлами: тяга 7, рычаг 8 и подкос 9. Узел шарового шарнира 10, соединяющий подкос 9 с кронштейном 11 крыла самолета, содержит проушину 12 подкоса 9 с закрепленным в ней наружным кольцом 13, внутреннее кольцо 14 и втулку 15, установленные на эксцентриковой поверхности "В" ступенчатой силовой оси 16, связанной с втулкой 15 шпонкой 17. На торцовой поверхности внутреннего кольца 14 выполнены радиальные пазы 18, сопрягаемые с фланцевыми выступами 19 втулки 15. Силовая ось 16 установлена в проушинах 20 кронштейна 11 и зафиксирована от поворота шлицевой шайбой 21 (шлицы 22), закрепленной на проушине винтом 23. Внутри силовой оси установлена дублирующая ось 24.

[14]

Взаимодействие элементов кинематической связки подкос-кронштейн крыла самолета в механизме управления аэродинамическими поверхностями самолета осуществляется следующим образом.

[15]

Ступенчатая силовая ось 16 с эксцентриковой поверхностью «В» при монтаже в проушины 20 кронштейна 11 поворачивается за шлицы 22 на ее головке так, чтобы установленные на ее эксцентриковой части втулка 15 и внутренне кольцо 14 заняли такое положение, которое обеспечивает требуемое кинематическое положение механизма и связанной с ним аэродинамической поверхности. Это положение силовой оси фиксируется с мощью шлицевой шайбы 21, закрепляемой на проушине 20 кронштейна 11 крыла самолета винтом 23. Втулка 15 и внутреннее кольцо 14 связаны между собой с помощью радиальных пазов 19 на торцовой поверхности кольца, сопрягаемых с фланцевыми выступами 18 втулки, которая в свою очередь зафиксирована от поворота относительно силовой оси с помощью шпонки 17.

[16]

Таким образом, за счет эксцентричного расположения поверхности "В" на силовой оси путем регулирования осуществлено необходимое положение центра шарнирного узла и обеспечена гарантированная жесткая фиксация в требуемом кинематическом положении звеньев механизма, в том числе внутреннего кольца узла шарового шарнира, исключающая ее поворот при действии на механизм аэродинамических нагрузок.

[17]

Прямоугольная форма пазов на торце внутреннего кольца и выступов на торце втулки имеет технологические преимущества. Заявленное соотношение количества пазов и выступов на соединяемых деталях является оптимальным, позволяющим обеспечить жесткое стопорение внутреннего кольца, подверженного воздействию крутящего момента, с сохранением требуемых нагрузочных характеристик узла при сохранении его минимальных габаритов.

[18]

При реализации устройства заявленная совокупность существенных признаков обеспечивает технический результат - возможность регулировки положения кинематических звеньев механизма со связанной с ним аэродинамической поверхностью и гарантированное жесткое стопорение от поворота внутреннего кольца узла шарового шарнира, что решает задачу повышения уровня надежности в целом всего механизма при одновременном повышении его нагрузочных характеристик.

Как компенсировать расходы
на инновационную разработку
Похожие патенты