патент
№ RU 2621833
МПК G09B9/00

Программно-аппаратный тренажёр аппаратуры для шифрования телефонной информации

Авторы:
Харламов Михаил Викторович Белов Владимир Юрьевич Буробина Елена Евгеньевна
Все (4)
Номер заявки
2016126263
Дата подачи заявки
30.06.2016
Опубликовано
07.06.2017
Страна
RU
Как управлять
интеллектуальной собственностью
Чертежи 
2
Реферат

Программно-аппаратный тренажер аппаратуры для шифрования телефонной информации предназначен для обучения принципам работы с аппаратурой для шифрования телефонной информации (аппаратура Е11С) и обеспечения совместной работы с комплексом учебно-тренировочных средств в части речевого обмена. Тренажер выполнен в виде стойки, которая содержит блок шифрования телефонной информации по цифровым каналам связи, два устройства коммутации на канал, образованный блоком шифрования, соединенные с персональным компьютером по интерфейсу USB через USB-Hub, и микротелефонные трубки. Технический результат заключается во внешнем и функциональном соответствии заявленного тренажера аппаратуре для шифрования телефонной информации. 4 з.п. ф-лы, 2 ил.

Формула изобретения

1. Программно-аппаратный тренажер аппаратуры для шифрования телефонной информации, имеющий блочную конструкцию, содержащий персональный компьютер (ПК) и концентратор USB-Hub, выполненный в виде стойки, на которой расположены блоки, отличающийся тем, что в него дополнительно введено программное обеспечение, имитирующее алгоритм работы реальной аппаратуры шифрования, в которой два канала работают параллельно, блок шифрования телефонной информации по цифровым каналам связи и два устройства коммутации на канал, образованный блоком шифрования, соединенные с ПК по интерфейсу USB через USB-Hub, а также три микротелефонные трубки, соединенные каждая с одним из блоков.

2. Программно-аппаратный тренажер аппаратуры для шифрования телефонной информации по п. 1, отличающийся тем, что блок шифрования телефонной информации по цифровым каналам связи состоит из ячейки индикации и управления, выполненной на 8-битовом сдвиговом регистре, и ячейки управления клавиатурой с единичным индикатором, реализованной на микроконтроллере, микросхеме преобразования UART в USB, звуковой карте, микросхеме USB-Hub и периферии подключения данных микросхем и устройств, соединенных между собой.

3. Программно-аппаратный тренажер аппаратуры для шифрования телефонной информации по п. 1, отличающийся тем, что устройство коммутации на канал, образованный блоком шифрования, состоит из ячейки индикации и управления, выполненной на 8-битовом сдвиговом регистре, и ячейки управления клавиатурой с единичным индикатором, реализованной на микроконтроллере, микросхеме преобразования UART в USB, звуковой карте, микросхеме USB-Hub и периферии подключения данных микросхем и устройств, соединенных между собой.

4. Программно-аппаратный тренажер аппаратуры для шифрования телефонной информации по п. 2, отличающийся тем, что ячейка индикации и управления блока шифрования телефонной информации по цифровым каналам связи состоит из 4-символьного индикатора, трех кнопок, одного светодиода.

5. Программно-аппаратный тренажер аппаратуры для шифрования телефонной информации по п. 3, отличающийся тем, что ячейка индикации и управления устройства коммутации на канал, образованный блоком шифрования, состоит из 8-символьного индикатора, девяти кнопок, трех светодиодов.

Описание

[1]

Программно-аппаратный тренажер аппаратуры для шифрования телефонной информации (далее тренажер) предназначен для обучения принципам работы с аппаратурой для шифрования телефонной информации (аппаратура Е11С) и обеспечения совместной работы с комплексом учебно-тренировочных средств в части речевого обмена и может быть использован для организации учебного процесса в сухопутных войсках МО РФ и внутренних войсках МВД РФ.

[2]

Известна полезная модель Программно-аппаратный тренажер радиостанции Р-168-25У-2, патент RU №152896, заявка №2014134272 от 21.08.2014.

[3]

Известна полезная модель Программно-аппаратный тренажер радиостанции Р-168-5УН-2, патент RU №152894, заявка №2014134274 от 21.08.2014.

[4]

Известна полезная модель Программно-аппаратный тренажер радиостанции Р-168Т-100У-2, патент №161047, заявка №2015127400 от 08.07.2015.

[5]

Известна полезная модель Программно-аппаратный тренажер радиостанции Р-168-100КА, патент №161176, заявка №2015127405 от 08.07.2015.

[6]

Известна полезная модель Программно-аппаратный тренажер управления взаимодействия и связи БТР-82А, патент №157195, заявка №2015127398 от 08.07.2015.

[7]

Наиболее близким по технической сущности является изобретение Программно-аппаратный тренажер аппаратуры внутренней связи коммутации и управления (ПАТ АВСКУ), заявка №2014127133 от 03.07.2014.

[8]

Недостатком известных устройств является невозможность обучения принципам работы с аппаратурой шифрования телефонной информации. Они обеспечивают обучение принципам работы с другими объектами.

[9]

Заявленный программно-аппаратный тренажер обеспечивает:

[10]

- внешнее и функциональное соответствие аппаратуре для шифрования телефонной информации;

[11]

- снятие ограничения по размещению программно-аппаратного тренажера относительно реальной радиостанции;

[12]

- дешевый и быстрый ремонт;

[13]

- возможность работы с проводными цифровыми сетями;

[14]

- возможность работы от сети 220 В.

[15]

Технический результат заключается во внешнем и функциональном соответствии заявленного тренажера аппаратуре для шифрования телефонной информации.

[16]

Технический результат достигается тем, что в программно-аппаратный тренажер аппаратуры для шифрования телефонной информации дополнительно введено программное обеспечение, имитирующее алгоритм работы реальной аппаратуры шифрования, в которой два канала работают параллельно. Программно-аппаратный тренажер аппаратуры для шифрования телефонной информации, имеющий блочную конструкцию, содержащий персональный компьютер (ПК) и концентратор USB-Hub, выполнен в виде стойки, на которой расположены блок шифрования телефонной информации по цифровым каналам связи и два устройства коммутации на канал, образованный блоком шифрования, соединенные с ПК по интерфейсу USB через USB-Hub, а также микротелефонные трубки. Устройство коммутации и блок шифрования состоят: из ячейки индикации и управления, выполненной на 8-битовом сдвиговом регистре, и ячейки управления клавиатурой с единичным индикатором, реализованной на микроконтроллере, микросхеме преобразования UART в USB, звуковой карте, микросхеме USB-Hub и периферии подключения данных микросхем и устройств. Ячейка индикации и управления блока шифрования телефонной информации по цифровым каналам связи отличается от ячейки индикации и управления устройства коммутации на канал, образованный блоком шифрования, тем, что ячейка индикации и управления блока шифрования телефонной информации по цифровым каналам связи состоит из 4-символьного индикатора, трех кнопок и одного светодиода, а ячейка индикации и управления устройства коммутации на канал, образованный блоком шифрования, состоит из 8-символьного индикатора, девяти кнопок и трех светодиодов.

[17]

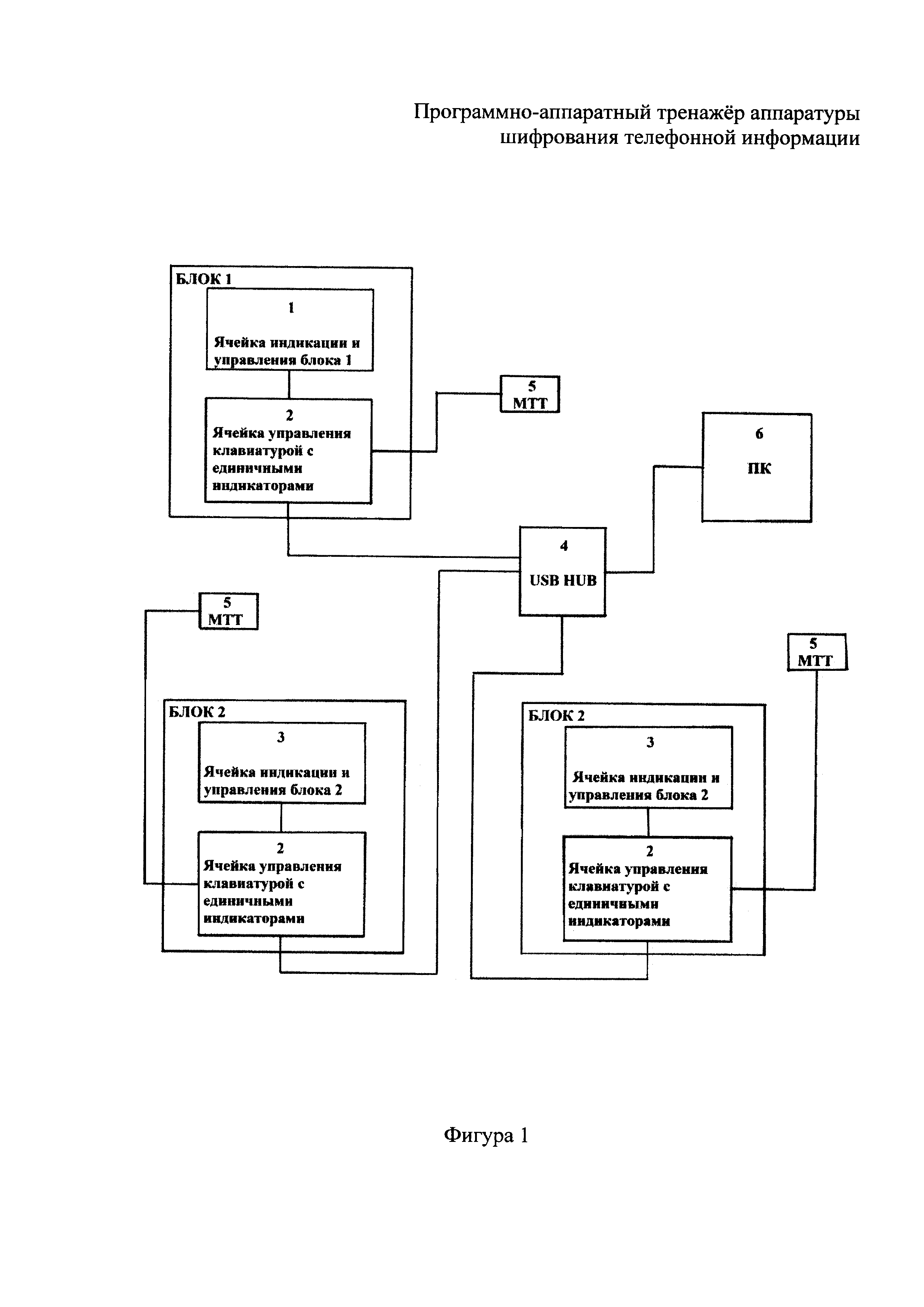
На фигуре 1 представлена структурная схема программно-аппаратного тренажера шифрования телефонной информации, где Блок 1 - устройство коммутации на канал, образованный блоком шифрования телефонной информации по цифровым каналам связи;

[18]

Блок 2 - блок шифрования телефонной информации по цифровым каналам связи;

[19]

1 - ячейки индикации и управления блока 1;

[20]

2 - ячейки управления клавиатурой с единичным индикатором;

[21]

3 - ячейки индикации и управления блока 2;

[22]

4 - концентратор USB HUB;

[23]

5 - микротелефонная трубка (МТТ);

[24]

6 - персональный компьютер (ПК).

[25]

На фигуре 2 представлен алгоритм работы программного обеспечения программно-аппаратного тренажера шифрования телефонной информации. Программное обеспечение считывает состояние кнопок и тумблеров на блоках 1 и 2 (фигура 1) аппаратуры шифрования телефонной информации, передает данные программе тренажера аппаратуры шифрования телефонной информации в ПК. Блоки 1 и 2 принимают данные о состоянии восьми- и четырехсимвольных индикаторах, также происходит прием данных о состоянии светодиодов блоков 1 и 2. Затем отправляется команда на вывод данных на восьми- и четырехсимвольные индикаторы блоков 1 и 2 и команда на зажигание светодиодов блоков 1 и 2.

[26]

В состав тренажера входят: устройство коммутации на канал, образованный блоком шифрования телефонной информации по цифровым каналам связи, - (блок 1 фигура 1), и два блока шифрования телефонной информации по цифровым каналам связи (блок 2 фигура 1), ПК, три микротелефонные трубки (МТТ) и USB HUB. В состав блоков 1 и 2 входят ячейка индикации и управления и ячейка управления клавиатурой с единичными индикаторами.

[27]

К каждому блоку подключается микротелефонная трубка (МТТ).

[28]

На ПК, под управлением ОС Windows 7, установлено программное обеспечение. Блоки 1 и 2, входящие в состав аппаратуры, подключены к ПК по интерфейсу USB через USB HUB. ПО тренажера аппаратуры шифрования обеспечивает алгоритм работы реальной аппаратуры, связь с КУТС или другими программно-аппаратными тренажерами (ПАТ) по проводным цифровым сетям. Ячейка индикации и управления блоков 1 и 2 обеспечивает ввод/вывод информации пользователю. Микротелефонные трубки (МТТ) подключаются к блокам 1 и 2, и через ячейки управления клавиатурой с единичными индикаторами обеспечивается обмен звуковой информацией между КУТС или другими ПАТ и пользователем.

[29]

Ячейка индикации и управления основана на 8-битовом сдвиговом регистре, который управляется микроконтроллером ячейки управления клавиатурой с единичными индикаторами.

[30]

Ячейка управления клавиатурой с единичными индикаторами реализована на микроконтроллере, запрограммированном микропрограммой, микросхеме преобразования UART в USB, звуковой карте, микросхеме USB HUB и периферии подключения данных микросхем и устройств.

[31]

Микроконтроллер опрашивает ячейку индикации и управления и при нажатии кнопки отправляет специальную посылку через микросхему преобразования UART в USB и микросхему USB HUB на ПК программному обеспечению тренажера аппаратуры шифрования. Программное обеспечение тренажера обрабатывает принятую посылку и передает команду на микроконтроллер ячейки управления клавиатурой с единичными индикаторами об изменении визуальной информации, который в свою очередь изменяет ее, управляя 8-битным сдвиговым регистром ячейки индикации и управления.

[32]

Устройство коммутации на канал, образованный блоком шифрования телефонной информации, по цифровым каналам связи соединяется с ПК через USB HUB. Блоки шифрования телефонной информации по цифровым каналам связи также соединяются с ПК через USB HUB.

[33]

Предлагаемый тренажер создается из стойки, корпусные детали которой выполнены из листа металла толщиной 1,5 мм, вырезанного на лазере и согнутого, в которую устанавливаются блоки, также выполненные из листа металла толщиной 1,5 мм, вырезанного на лазере и согнутого, ПК и USB HUB.

Как компенсировать расходы
на инновационную разработку
Похожие патенты