патент
№ RU 2502054
МПК G01F1/66
Номер заявки
2012115330/28
Дата подачи заявки
17.04.2012
Опубликовано
20.12.2013
Страна
RU
Как управлять
интеллектуальной собственностью
Чертежи 
7
Реферат

Изобретение относится к системам выравнивания потока текучей среды в проточной части расходомеров или в трубопроводах на входе расходомеров, предназначенных для измерений объемного расхода текучих сред. Ультразвуковой расходомер, содержащий прямолинейную проточную часть - трубопровод, первый и второй электроакустические датчики, размещенные в соответствующих корпусах, установленных внутри проточной части на расстоянии друг от друга, каждый датчик связан с измерительным блоком. При этом между датчиками в проточной части установлена трубка-вкладыш, внутреннее сечение которой выполнено в виде равностороннего многоугольника с закругленными углами. При этом сечение трубки-вкладыша по направлению от первого датчика ко второму выполнено сужающимся, с каждой торцевой стороны трубки-вкладыша в ее нижней части выполнены полки, обращенные наружу к близлежащему датчику, внутренняя полость трубки-вкладыша образует зону измерения. Корпус каждого датчика имеет обтекаемую форму, плавно расширяющуюся по направлению к зоне измерения. Датчики установлены симметрично по отношению к трубке-вкладышу. Технический результат - расширение арсенала средств для выпрямления потока в ультразвуковых расходомерах, а также упрощение конструкции устройства и повышение степени выравнивания потока. 7 з.п. ф-лы, 8 ил.

Формула изобретения

1. Ультразвуковой расходомер, содержащий прямолинейную проточную часть - трубопровод, первый и второй электроакустические датчики, размещенные в соответствующих корпусах, установленных внутри проточной части на расстоянии друг от друга, каждый датчик связан с измерительным блоком, отличающийся тем, что между датчиками в проточной части установлена трубка-вкладыш, внутреннее сечение которой выполнено в виде равностороннего многоугольника с закругленными углами, сечение трубки-вкладыша по направлению от первого датчика ко второму выполнено сужающимся, с каждой торцевой стороны трубки-вкладыша в ее нижней части выполнены полки, обращенные наружу к близлежащему датчику, внутренняя полость трубки-вкладыша образует зону измерения, корпус каждого датчика имеет обтекаемую форму, плавно расширяющуюся по направлению к зоне измерения, датчики установлены симметрично по отношению к трубке-вкладышу.

2. Ультразвуковой расходомер по п.1, отличающийся тем, что корпус каждого датчика выполнен в форме купола.

3. Ультразвуковой расходомер по п.1, отличающийся тем, что поверхность каждой полки, обращенная к зоне измерения, выполнена с наклоном, обращенным в сторону близлежащего датчика.

4. Ультразвуковой расходомер по п.1, отличающийся тем, что корпус каждого датчика выполнен из материала, пропускающего звуковое излучение.

5. Ультразвуковой расходомер по п.4, отличающийся тем, что корпус каждого датчика выполнен из стеклонаполненного пластика.

6. Ультразвуковой расходомер по п.1, отличающийся тем, что излучающим элементом каждого датчика является пьезоэлемент.

7. Ультразвуковой расходомер по п.1, отличающийся тем, что корпус каждого датчика своей верхней частью связан с корпусом проточной части.

8. Ультразвуковой расходомер по п.1, отличающийся тем, что соотношение сечений на входе и выходе из трубки-вкладыша составляет -Sl/S2=1.1, где S1 - площадь трубки-вкладыша на входе, a S2 - площадь на выходе.

Описание

[1]

Изобретение относится к системам выравнивания потока текучей среды в проточной части расходомеров или в трубопроводах на входе расходомеров, предназначенных для измерений объемного расхода текучих сред.

[2]

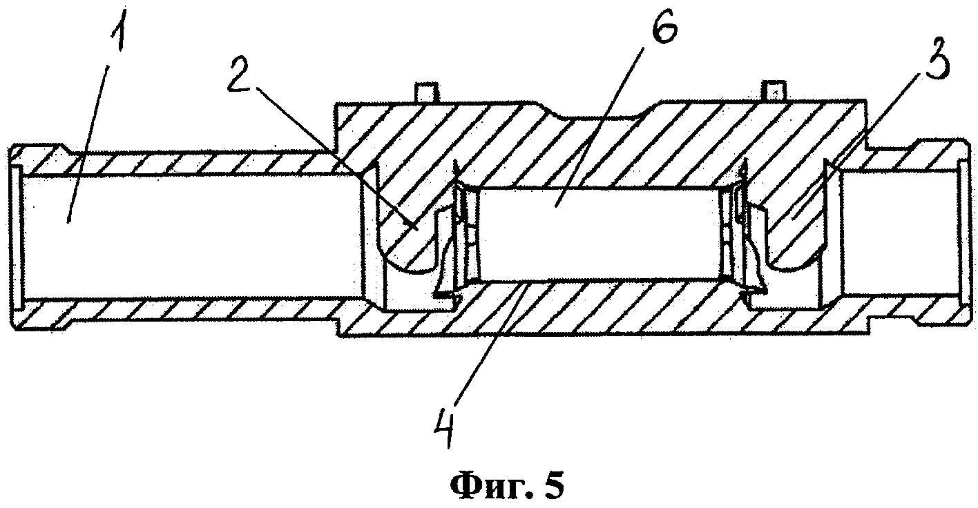
При измерении объемного расхода неустановившихся потоков текучих сред, характеризующихся неравномерностью скорости потока в разных точках, возникает проблема, связанная с точностью измерения расхода таких потоков. Для повышения точности измерения необходимо обеспечить одинаковую скорость потока в разных точках, т.е. необходимо выровнять эпюру скоростей потока. Для этого в проточной части расходомеров или в трубопроводах на входе в расходомеры используют средства, позволяющие выровнять скорость потока или снизить пульсации потока.

[3]

Известен ультразвуковой расходомер (патент РФ №2331851 на изобретение), состоящий из прямолинейного пролетного трубопровода диаметром D и длиной L, входной и выходной камер, соединенных с трубопроводом посредством соответственно конфузора и диффузора, первого и второго электроакустических преобразователей, размещенных в камерах и связанных с измерительным блоком. В пролетном трубопроводе коаксиально размещен измерительный канал диаметром d=(0,4-0,6)D, при этом упомянутый канал со стороны, обращенной к входной камере, имеет участок с уклоном 15° и протяженностью 10,05L, а расстояние h между измерительным каналом и вторым по ходу потока электроакустическим преобразователем выбирается из условия h=(0,4-0,6)D.. Угол наклона образующей диффузора к оси измерительного канала выбирается в диапазоне 40-50°.

[4]

Недостатком известной системы является ее сложность, обусловленная наличием в проточной части измерительного канала. Данный канал необходимо определенным образом закрепить внутри проточной части расходомера. Такое крепление осуществляется посредством специальных крепежных элементов, крепящих канал к стенкам проточной части. Недостатком известного расходомера является его недостаточная точность, т.к. крепежные элементы, крепящие канал к стенкам проточной части расходомера будут создавать сопротивление потоку и вызывать местные возмущения потока.

[5]

Техническим результатом, достигаемым предлагаемым изобретением, является расширение арсенала средств для выпрямления потока в ультразвуковых расходомерах, а также упрощение конструкции устройства и повышение степени выравнивания потока.

[6]

Заявляемый технический результат достигается за счет того, что в ультразвуковом расходомере, содержащем прямолинейную проточную часть - трубопровод, первый и второй электроакустические датчики, размещенные в соответствующих корпусах, установленных внутри проточной части на расстоянии друг от друга, каждый датчик связан с измерительным блоком, согласно изобретению между датчиками в проточной части установлена трубка-вкладыш, внутреннее сечение которой выполнено в виде равностороннего многоугольника с закругленными углами, сечение трубки-вкладыша по направлению от первого датчика ко второму выполнено сужающимся, с каждой торцевой стороны трубки - вкладыша в ее нижней части выполнены полки, обращенные наружу к близлежащему датчику, внутренняя полость трубки-вкладыша образует зону измерения, корпус каждого датчика имеет обтекаемую форму, плавно расширяющуюся по направлению к зоне измерения, датчики установлены симметрично по отношению к трубке-вкладышу.

[7]

Целесообразно, чтобы корпус каждого датчика был выполнен в форме купола. Целесообразно, чтобы поверхность каждой полки, обращенная к зоне измерения, была выполнена с наклоном, обращенным в сторону близлежащего датчика.

[8]

Целесообразно, чтобы корпус каждого датчика был выполнен из материала, пропускающего звуковое излучение.

[9]

Корпус каждого датчика целесообразно выполнять из стеклонаполненного пластика. Излучающим элементом каждого датчика может являться пьезоэлемент. Корпус каждого датчика своей верхней частью связан с корпусом проточной части. Заявляемое устройство осуществляет формирование потока текучей среды с требуемыми характеристиками, позволяющими обеспечить в дальнейшем требуемую метрологическую точность ультразвукового расходомера

[10]

В проточной части расходомера устанавливаются на расстоянии друг от друга обращенные навстречу друг другу датчики акустического излучения. Между датчиками в проточной части расходомера устанавливается трубка - вкладыш, во внутрь которой направляется поток, расход которого необходимо измерить. Внутренняя полость трубки -вкладыша образует зону измерения. Зона измерения - зона между двумя датчиками.

[11]

Трубка - вкладыш, обеспечивает формирование потока с требуемыми параметрами. Для этого сечение трубки-вкладыша имеет форму равностороннего многоугольника с закругленным углами (например, ромба или квадрата) - это позволяет распределить неоднородности потока по углам, а также выровнять эпюру скоростей и сделать ее более симметричной и однородной (фиг.1). Турбулентные зоны рассеиваются по углам равностороннего многоугольника, оставляя в зоне зондирования (в центре) поток с выровненной эпюрой скоростей.

[12]

Кроме того, сечение трубки вкладыша по направлению от датчика, установленного на входе в зону измерения, к датчику, установленному на выходе зоны измерения, уменьшается, т.е. имеет место сужение, необходимое для поддержания скорости потока по сечению трубки - вкладыша. За счет такой формы трубки-вкладыша поток поступает в зону измерения по каналу с равномерно сужающимся сечением - тем самым выравнивается эпюра скоростей, а также увеличивается скорость потока в проточной части, что в свою очередь повышает точность измерений.

[13]

Параметры сужения определяются расчетным путем и будут зависеть от геометрии проточной части расходомера и геометрии внутренней полости трубки-вкладыша. Соотношение сечений на входе и выходе из трубки-вкладыша составляет - S1/S2=1.1, где S1 - площадь трубки-вкладыша на входе, а S2 - площадь на выходе.

[14]

Корпус каждого датчика, предназначенный для размещения излучающего элемента, например, пьезоэлемента, имеет обтекаемую форму, плавно расширяющуюся по направлению к зоне измерения (форма купола), тем самым обеспечивается равномерное обтекание датчика слева, справа и снизу, при этом предотвращаются разрывы потока. При обтекании датчика происходит перераспределение скоростей и в зону измерения поступает уже более однородный поток. Датчики установлены симметрично (достигается цель унификации применяемых элементов, а также обеспечивается возможность работы в режиме реверса - в обратном направлении). Корпус датчика, установленного на входе в зону измерения, выполняет также функцию элемента, предназначенного для сужения потока на входе в зону измерения (т.к. корпус датчика установлен в проточной части расходомера непосредственно на входе в зону измерения и занимает в проточной части определенный объем).

[15]

Сужение потока на входе в зону измерения позволяет повысить скорость потока на входе в зону измерения и, тем самым, повысить точность измерения. Симметричное расположение второго датчика позволяет обеспечить работу расходомера на реверсе (в обратном направлении).

[16]

Вышеописанная форма корпуса каждого датчика позволяет обеспечить требуемую точность измерения и в том случае, если расходомер установлен непосредственно после колена (изгиба трубы на 90°). В этом случае поток «прижимается» к боковой стенке трубы (фиг.2). После того, как такой поток обтекает корпус датчика на входе в зону измерения, происходит распределение скоростей потока вокруг корпуса датчика и в зону измерения уже поступает более однородный поток (фиг.2).

[17]

На противоположных торцах трубки-вкладыша в ее нижней части выполнены полки, обращенные к датчикам и выходящие за пределы зоны измерения. Полки, являющиеся частью трубки-вкладыша, способствуют равноускоренному обтеканию датчика и равномерному распределению скорости на входе в зону измерения, уменьшается тень - зона маленьких скоростей после обтекания корпуса датчика за счет того что после полок поток направляется вверх и ускоряется (фиг.3). Для этого внутренняя поверхность каждой полки выполнена с наклоном, обращенным в сторону датчика. Это позволит обеспечить более плавный переход потока из более широкой проточной части в более узкую зону измерения, избежав образования участков, в которых могут образовываться возмущения потока.

[18]

Корпус датчика выполнен из материала, пропускающего излучение (звук), например, из стеклонаполненного пластика.

[19]

Внутри корпуса датчика установлен излучающий элемент, например, пьезоэлемент, который наиболее распространен в ультразвуковых расходомерах.

[20]

Заявляемое устройство обеспечивает допустимое падение давления от входа в зону измерения к выходу из зоны измерения. По стандарту EN1434 -АР должен быть не более 0,25 атм на номинальном расходе.

[21]

Заявляемое устройство обеспечивает точность в пределах ±1%, что выше, чем в существующих конструкциях ультразвуковых расходомеров, измеряющих расход потока в трубопроводах.

[22]

Заявляемый ультразвуковой расходомер измеряет расход на основе измерения времени распространения импульсов ультразвукового колебания через двигающуюся жидкость. Разность между временами распространения ультразвуковых импульсов в прямом и обратном направлениях относительно движения жидкости пропорциональна скорости ее потока.

[23]

Возбуждение ультразвуковых колебаний осуществляется пьезоэлектрическими преобразователями, располагаемых внутри корпуса датчика.

[24]

Движение жидкости вызывает изменение разницы во времени полного распространения ультразвуковых сигналов по потоку и против него. Скорость распространения ультразвукового импульса в жидкости, заполняющей трубопровод, представляет собой сумму скоростей ультразвука неподвижной жидкости и скорости потока жидкости V в проекции на рассматриваемое направление распространения ультразвука.

[25]

В заявляемом ультразвуковом расходомере обеспечивается высокая точность измерений за счет того, что эпюра скоростей потока в каждом сечении трубки-вкладыша максимально выровнена. Максимально сглажены все возмущения, которые могут возникнуть в потоке, в том числе после изгибов трубопровода.

[26]

На фиг.1 изображено распределение неоднородностей потока в трубке вкладыше по углам ее сечения.

[27]

На фиг.2 изображено распределение скоростей потока внутри расходомера в случае, когда расходомер установлен после изгиба трубопровода.

[28]

На фиг.3 изображено распределение скоростей потока внутри расходомера в случае прямолинейного трубопровода.

[29]

На фиг.4 изображено продольное сечение заявляемого расходомера - вид сверху.

[30]

На фиг.5 изображено продольное сечение заявляемого расходомера - вид сбоку.

[31]

На фиг.6 изображено продольное сечение трубки-вкладыша.

[32]

На фиг.7 изображено поперечное сечение трубки-вкладыша.

[33]

На фиг.8 изображен общий вид трубки-вкладыша.

[34]

Заявляемый ультразвуковой расходомер содержит прямолинейную проточную часть 1- трубопровод, первый и второй электроакустические датчики (на чертежах не показаны), размещенные в соответствующих корпусах 2 и 3, установленных внутри проточной части 1на расстоянии друг от друга. Датчики выполнены электроакустическими, рабочим элементом датчиков является пьезоэлемент. Между датчиками в проточной части установлена трубка-вкладыш 4, внутреннее сечение которой выполнено в виде квадрата с закругленными углами. Сечение трубки-вкладыша по направлению от первого датчика ко второму выполнено сужающимся. С каждой торцевой стороны трубки - вкладыша в ее нижней части выполнены полки 5, обращенные наружу к близлежащему датчику.

[35]

Внутренняя полость трубки-вкладыша 4 образует зону измерения 6. Корпус 2, 3 каждого датчика имеет обтекаемую форму, плавно расширяющуюся по направлению к зоне измерения, а именно: каждый корпус 2,3 выполнен в виде купола. Датчики установлены симметрично по отношению к трубке-вкладышу 4. Поверхность каждой полки 5, обращенная к зоне измерения 6, выполнена с наклоном, обращенным в сторону близлежащего датчика для того, чтобы поток плавно поступал из более широкой зоны в более узкую - зону измерения для снижения возмущений потока. Корпус 2, 3 каждого датчика выполнен из материала, пропускающего звуковое излучение, а именно: из стеклонаполненного пластика - полиэфирсульфон (PES) Ultrason® E G6. Корпус 2,3 каждого датчика своей верхней частью связан с корпусом проточной части.

[36]

Заявляемый ультразвуковой расходомер, измеряет расход на основе измерения времени распространения импульсов ультразвукового колебания через двигающуюся жидкость от первого датчика ко второму. Разность между временами распространения ультразвуковых импульсов в прямом и обратном направлениях относительно движения жидкости пропорциональна скорости ее потока. Возбуждение ультразвуковых колебаний осуществляется пьезоэлектрическими преобразователями, располагаемых внутри корпуса датчика.

Как компенсировать расходы
на инновационную разработку
Похожие патенты