Двухспектральная оптическая система содержит главное вогнутое асферическое зеркало с центральным отверстием, вторичное выпуклое асферическое зеркало, спектроделитель, тепловизионный канал с первым, вторым и третьим объективами, а также фотоприемным устройством и устройством переключения потоков излучения, два телевизионных канала с объективом и фотоприемным устройством в каждом из каналов и устройство управления и обработки информации. Выходы фотоприемных устройств тепловизионного и двух телевизионных каналов подключены к входам устройства управления и обработки информации, а устройство переключения потоков излучения, сопряженное с первым, вторым и третьим объективами тепловизионного канала, подключено к управляющему выходу устройства управления и обработки информации. Третий объектив тепловизионного канала и объектив второго телевизионного канала выполнены с возможностью плавного изменения фокусного расстояния. Технический результат заключается в повышении информативности двухспектральной оптической системы за счет дополнительного получения информации о наблюдаемой сцене в непрерывно изменяемом угловом поле зрения. 7 з.п. ф-лы, 2 ил.
1. Двухспектральная оптическая система, содержащая расположенные по ходу лучей главное вогнутое асферическое зеркало с центральным отверстием, вторичное выпуклое асферическое зеркало, спектроделитель, тепловизионный канал с первым объективом и фотоприемным устройством и первый телевизионный канал с объективом и фотоприемным устройством, при этом выходы фотоприемных устройств тепловизионного и первого телевизионного каналов подключены к входам устройства управления и обработки информации, отличающаяся тем, что введен второй телевизионный канал с объективом, выполненным с возможностью плавного изменения фокусного расстояния и расположенным в параллельном пучке лучей от бесконечно удаленного объекта, и фотоприемным устройством, выход которого подключен к соответствующему входу устройства управления и обработки информации, в тепловизионном канале дополнительно введены сопряженные с фотоприемным устройством второй объектив и третий объектив, выполненный с возможностью плавного изменения фокусного расстояния и расположенный в параллельном пучке лучей от бесконечно удаленного объекта, при этом передняя фокальная плоскость второго объектива совпадает с задними фокальными плоскостями первого и третьего объективов, а также устройство переключения потоков излучения, сопряженное с первым, вторым и третьим объективами и подключенное к управляющему выходу устройства управления и обработки информации. 2. Система по п. 1, отличающаяся тем, что главное вогнутое и вторичное выпуклое асферические зеркала образуют афокальную насадку. 3. Система по п. 1, отличающаяся тем, что спектроделитель выполнен в виде установленной под углом к оптической оси плоскопараллельной пластины и расположен в параллельном пучке лучей после вторичного зеркала афокальной насадки. 4. Система по п. 1, отличающаяся тем, что первый объектив тепловизионного канала выполнен в виде последовательно установленных положительной выпукло-вогнутой, двояковогнутой и плоско-выпуклой линз. 5. Система по п. 1, отличающаяся тем, что второй объектив тепловизионного канала выполнен в виде положительной выпукло-вогнутой линзы. 6. Система по п. 1, отличающаяся тем, что третий объектив тепловизионного канала выполнен в виде последовательно установленных неподвижной положительной выпукло-вогнутой линзы, подвижных отрицательной выпукло-вогнутой и двояковогнутой линз, установленных с возможностью перемещения вдоль оптической оси, двух неподвижных выпукло-вогнутых линз, из которых первая выполнена положительной, а вторая - отрицательной. 7. Система по п. 1, отличающаяся тем, что объектив первого телевизионного канала выполнен в виде последовательно установленных двух двояковыпуклых, двояковогнутой, отрицательной вогнуто-выпуклой, плоско-выпуклой и двояковогнутой линз. 8. Система по п. 1, отличающаяся тем, что объектив второго телевизионного канала выполнен в виде последовательно установленных первой неподвижной группы, содержащей отрицательные выпукло-вогнутую и вогнуто-выпуклую линзы, склейку из отрицательной выпукло-вогнутой и двояковыпуклой линз и двояковыпуклую линзу, второй подвижной группы, содержащей отрицательную выпукло-вогнутую линзу, склейку из положительной вогнуто-выпуклой и двояковогнутой линз и положительную выпукло-вогнутую линзу, и третьей подвижной группы, содержащей склейку из двояковогнутой и двояковыпуклой линз, установленных с возможностью перемещения вдоль оптической оси, четвертой неподвижной группы, содержащей двояковыпуклую линзу, склейку из двояковыпуклой и отрицательной вогнуто-выпуклой линз, склейку из двояковыпуклой и двояковогнутой линз, двояковыпуклую линзу, и две отрицательные линзы, из которых первая выполнена выпукло-вогнутой, а вторая - вогнуто-выпуклой.
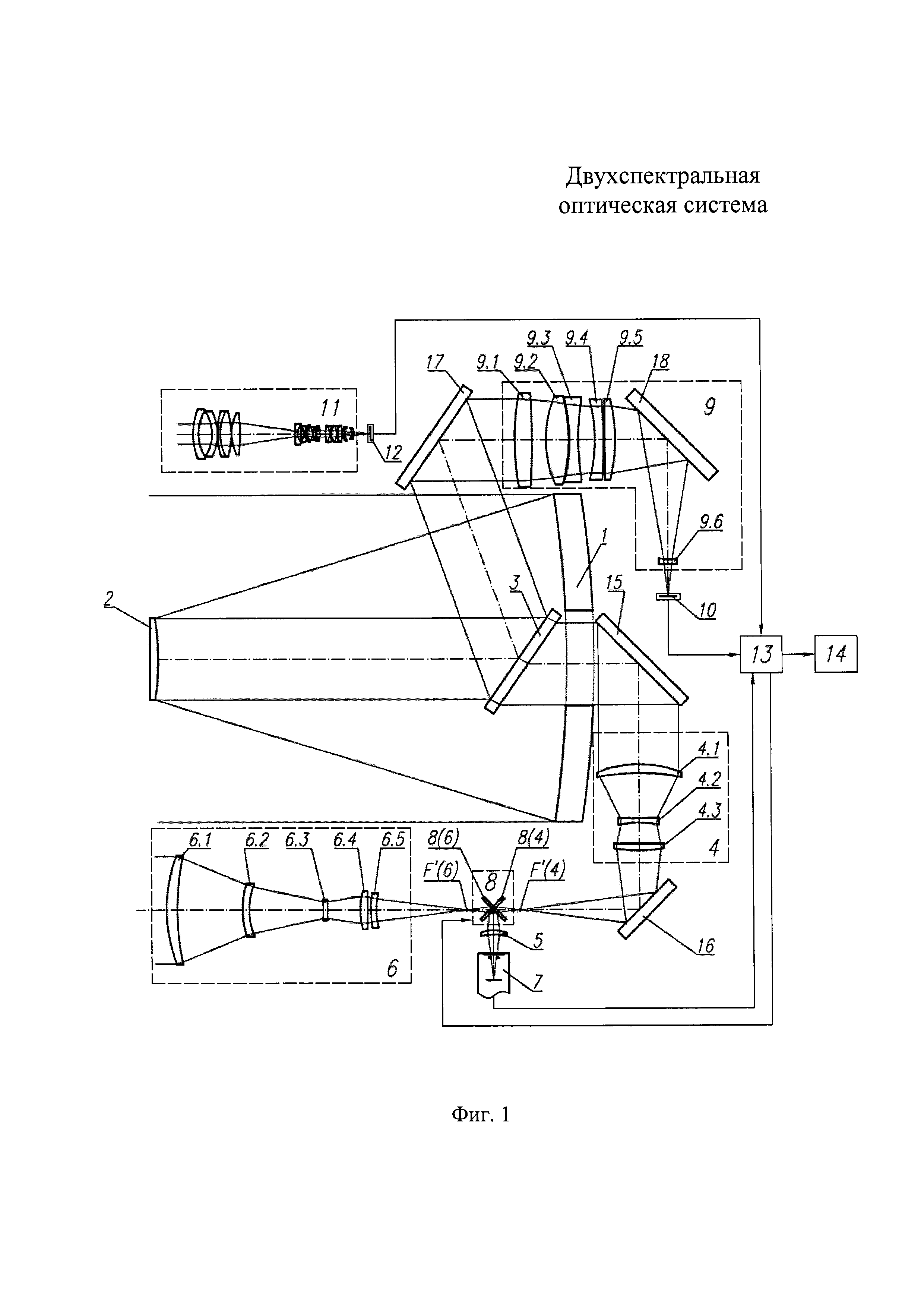
Изобретение относится к области оптико-электронного приборостроения и может быть использовано в многоканальных оптико-электронных системах, обеспечивающих поиск, обнаружение и распознавание объектов. Известно компактное оптико-электронное устройство с одной апертурой и несколькими приемниками излучения (см. патент US 6174061 В1, опубл. 16.01.2001), содержащее общий канал, состоящий из главного вогнутого асферического зеркала с центральным отверстием, вторичного выпуклого асферического зеркала, первого спектроделителя с дихроичным покрытием, пропускающего излучение спектрального диапазона 3…5 мкм и отражающего излучение спектральных диапазонов 0,7…0,9 мкм и 1,06…1,54 мкм, выполненного в виде наклонной пластины и установленного в сходящемся пучке лучей, а также три канала для каждого из спектральных диапазонов. Канал спектрального диапазона 3…5 мкм содержит три линзы и приемник излучения среднего инфракрасного диапазона; канал спектрального диапазона 0,7…0,9 мкм содержит девять линз, второй спектроделитель с дихроичным покрытием, отражающим излучение спектрального диапазона 0,7…0,9 мкм и пропускающим излучение спектрального диапазона 1,06…1,54 мкм, и приемник излучения ближнего инфракрасного диапазона; канал спектрального диапазона 1,06…1,54 мкм содержит дополнительную линзу и приемник лазерного излучения. Канал спектрального диапазона 3…5 мкм, содержащий два фокусирующих асферических зеркала и объектив из трех линз, работает с узким полем зрения. Для обеспечения работы с изменяемым полем зрения этот канал содержит объектив с дискретно изменяемым фокусным расстоянием, в котором за счет ввода-вывода группы из четырех линз осуществляется смена полей зрения (среднего и широкого). В среднем поле зрения объектив содержит девять линз, две из которых асферические, в широком поле зрения объектив содержит тринадцать линз, пять из которых асферические. Для переключения режима работы с узкого поля зрения на среднее и широкое вблизи первого спектроделителя вводится-выводится плоское зеркало. К недостаткам этого устройства можно отнести следующее: первый спектроделитель в виде наклонной пластины расположен в сходящемся пучке лучей и вносит аберрации, которые сложно исправить; инфракрасный канал (3…5 мкм) содержит большое число линз - общее число линз шестнадцать, из них пять с асферическими поверхностями. Также известна оптическая система для формирования изображения в видимой и инфракрасной областях спектра (см. патент CN 102175318 А, опубл. 09.07. 2011), содержащая общий входной канал, состоящий из вогнутого зеркала с центральным отверстием и вогнуто-выпуклой линзы с дихроичным покрытием, отражающим излучение спектрального диапазона 0,45…1 мкм и пропускающим излучение спектрального диапазона 3…5 мкм (8…12 мкм), а также первый канал, состоящий из трех линз и работающий в спектральном диапазоне 0,4…1 мкм, и второй канал, состоящий из пяти линз и работающий в спектральном диапазоне 3…5 мкм (8…12 мкм). Для обеспечения компактности системы используются плоские зеркала, изменяющие направление оптической оси. Недостатком указанной системы является возможность работы в каждом канале только с одним полем зрения. Наиболее близкой по технической сущности к заявляемой оптической системе, выбранной в качестве прототипа, является двухспектральная оптическая система (см. патент CN 103293681 А, опубл. 09.11. 2013), предназначенная для работы в инфракрасном (3…5 мкм) и видимом (0,4…0,7 мкм) спектральных диапазонах. Система состоит из общего канала, содержащего расположенные по ходу лучей главное вогнутое асферическое зеркало с центральным отверстием и вторичное выпуклое асферическое зеркало, спектроделитель в виде призмы-куба с дихроичным покрытием, отражающим излучение видимого диапазона спектра и пропускающим излучение инфракрасного диапазона спектра, а также тепловизионного и телевизионного каналов. Тепловизионный канал (спектральный диапазон 3…5 мкм) содержит объектив из шести линз, расположенный таким образом, что его передняя фокальная плоскость совпадает с задней фокальной плоскостью входного объектива, и приемник излучения с охлаждаемой диафрагмой; четыре линзы объектива выполнены асферическими. Телевизионный канал (спектральный диапазон 0,4…0,7 мкм) содержит объектив из семи линз, расположенный аналогично объективу тепловизионного канала, и приемник излучения. Спектроделитель расположен в расходящемся пучке лучей между передней фокальной плоскостью и первой линзой объектива каждого из каналов. Характеристики тепловизионного канала: фокусное расстояние f'=1500 мм; диафрагменное число 3; угловое поле зрения 0,46°; линейное поле зрения 12 мм. Характеристики телевизионного канала: фокусное расстояние f'=1500 мм; диафрагменное число 3; угловое поле зрения 0,23°; линейное поле зрения 6 мм. Недостатком описанной двухспектральной системы является возможность работы в каждом канале только с одним (узким) полем зрения. Задачей, на решение которой направлено изобретение, является повышение информативности двухспектральной оптической системы за счет дополнительного получения информации о наблюдаемой сцене в непрерывно изменяемом угловом поле зрения. Поставленная задача решается за счет того, что в двухспектральной оптической системе, содержащей расположенные по ходу лучей главное вогнутое асферическое зеркало с центральным отверстием, вторичное выпуклое асферическое зеркало, спектроделитель, тепловизионный канал с первым объективом и фотоприемным устройством и первый телевизионный канал с объективом и фотоприемным устройством, при этом выходы фотоприемных устройств тепловизионного и первого телевизионного каналов подключены к входам устройства управления и обработки информации, введен второй телевизионный канал с объективом, выполненным с возможностью плавного изменения фокусного расстояния и расположенным в параллельном пучке лучей от бесконечно удаленного объекта, и фотоприемным устройством, выход которого подключен к соответствующему входу устройства управления и обработки информации, в тепловизионном канале дополнительно введены сопряженные с фотоприемным устройством второй объектив и третий объектив, выполненный с возможностью плавного изменения фокусного расстояния и расположенный в параллельном пучке лучей от бесконечно удаленного объекта, при этом передняя фокальная плоскость второго объектива совпадает с задними фокальными плоскостями первого и третьего объективов, а также устройство переключения потоков излучения, сопряженное с первым, вторым и третьим объективами и подключенное к управляющему выходу устройства управления и обработки информации. А также тем, что главное вогнутое и вторичное выпуклое асферические зеркала образуют афокальную насадку. А также тем, что спектроделитель выполнен в виде установленной под углом к оптической оси плоскопараллельной пластины и расположен в параллельном пучке лучей после вторичного зеркала афокальной насадки. А также тем, что первый объектив тепловизионного канала выполнен в виде последовательно установленных положительной выпукло-вогнутой, двояковогнутой и плоско-выпуклой линз. А также тем, что второй объектив тепловизионного канала выполнен в виде положительной выпукло-вогнутой линзы. А также тем, что третий объектив тепловизионного канала выполнен в виде последовательно установленных неподвижной положительной выпукло-вогнутой линзы, подвижных отрицательной выпукло-вогнутой и двояковогнутой линз, установленных с возможностью перемещения вдоль оптической оси, двух неподвижных выпукло-вогнутых линз, из которых первая выполнена положительной, а вторая - отрицательной. А также тем, что объектив первого телевизионного канала выполнен в виде последовательно установленных двух двояковыпуклых, двояковогнутой, отрицательной вогнуто-выпуклой, плоско-выпуклой и двояковогнутой линз. А также тем, что объектив второго телевизионного канала выполнен в виде последовательно установленных первой неподвижной группы, содержащей отрицательные выпукло-вогнутую и вогнуто-выпуклую линзы, склейку из отрицательной выпукло-вогнутой и двояковыпуклой линз и двояковыпуклую линзу, второй подвижной группы, содержащей отрицательную выпукло-вогнутую линзу, склейку из положительной вогнуто-выпуклой и двояковогнутой линз и положительную выпукло-вогнутую линзу, и третьей подвижной группы, содержащей склейку из двояковогнутой и двояковыпуклой линз, установленных с возможностью перемещения вдоль оптической оси, четвертой неподвижной группы, содержащей двояковыпуклую линзу, склейку из двояковыпуклой и отрицательной вогнуто-выпуклой линз, склейку из двояковыпуклой и двояковогнутой линз, двояковыпуклую линзу и две отрицательные линзы, из которых первая выполнена выпукло-вогнутой, а вторая - вогнуто-выпуклой. На фиг. 1 представлена оптическая схема двухспектральной оптической системы. На фиг. 2 представлена оптическая схема второго телевизионного канала. Двухспектральная оптическая система состоит из расположенных по ходу лучей главного вогнутого асферического зеркала 1 с центральным отверстием, вторичного выпуклого асферического зеркала 2, спектроделителя 3, тепловизионного канала, содержащего первый объектив 4, формирующий промежуточное изображение, второй объектив 5, третий объектив 6, выполненный с возможностью плавного изменения фокусного расстояния и расположенный в параллельном пучке лучей от бесконечно удаленного объекта, при этом передняя фокальная плоскость второго объектива 5 совпадает с задними фокальными плоскостями первого 4 и третьего 6 объективов, фотоприемное устройство 7, устройство переключения потоков излучения, сопряженное с первым 4, вторым 5 и третьим 6 объективами и выполненное в виде подвижного плоского зеркала 8, первого телевизионного канала, содержащего фокусирующий объектив 9 и фотоприемное устройство 10, второго телевизионного канала, содержащего объектив 11, выполненный с возможностью плавного изменения фокусного расстояния и расположенный в параллельном пучке лучей от бесконечно удаленного объекта, и фотоприемное устройство 12, устройство управления и обработки информации 13, информационные входы которого соединены с фотоприемными устройствами 7, 10 и 12 соответственно тепловизионного, первого и второго телевизионных каналов, а управляющий выход подключен к устройству переключения потоков излучения 8. Главное вогнутое 1 и вторичное выпуклое 2 асферические зеркала образуют афокальную насадку; спектроделитель 3 выполнен в виде установленной под углом к оптической оси плоскопараллельной пластины и расположен в параллельном пучке лучей после вторичного зеркала 2. Первый объектив тепловизионного канала 4 содержит последовательно установленные положительную выпукло-вогнутую линзу 4.1, двояковогнутую линзу 4.2 и плоско-выпуклую линзу 4.3. Второй объектив тепловизионного канала 5 выполнен в виде одиночной положительной выпукло-вогнутой линзы. Третий объектив тепловизионного канала 6 содержит последовательно установленные неподвижную положительную выпукло-вогнутую линзу 6.1, подвижные отрицательную выпукло-вогнутую 6.2 и двояковогнутую 6.3 линзы, установленные с возможностью перемещения вдоль оптической оси, неподвижные положительную выпукло-вогнутую линзу 6.4 и отрицательную выпукло-вогнутую линзу 6.5. Объектив 9 первого телевизионного канала содержит последовательно установленные двояковыпуклые линзы 9.1 и 9.2, двояковогнутую линзу 9.3, отрицательную вогнуто-выпуклую линзу 9.4, плоско-выпуклую линзу 9.5 и двояковогнутую линзу 9.6. Объектив 11 второго телевизионного канала состоит из последовательно установленных первой неподвижной группы А, содержащей отрицательные выпукло-вогнутую 11.1 и вогнуто-выпуклую 11.2 линзы, склейку из отрицательной выпукло-вогнутой 11.3 и двояковыпуклой 11.4 линз и двояковыпуклую линзу 11.5, второй подвижной группы Б, содержащей отрицательную выпукло-вогнутую линзу 11.6, склейку из положительной вогнуто-выпуклой 11.7 и двояковогнутой 11.8 линз, положительную выпукло-вогнутую линзу 11.9, и третьей подвижной группы В, содержащей склейку из двояковогнутой 11.10 и двояковыпуклой 11.11 линз, установленных с возможностью перемещения вдоль оптической оси, четвертой неподвижной группы Г, содержащей двояковыпуклую линзу 11.12, склейку из двояковыпуклой 11.13 и отрицательной вогнуто-выпуклой 11.14 линз, склейку из двояковыпуклой 11.15 и двояковогнутой 11.16 линз, двояковыпуклую линзу 11.17, отрицательные выпукло-вогнутую 11.18 и вогнуто-выпуклую 11.19 линзы. Кроме того, дополнительно показаны устройство отображения информации 14, вход которого соединен с выходом устройства управления и обработки информации 13, и плоские зеркала 15, 16, 17, 18, обеспечивающие компактность конструкции. Технические характеристики двухспектральной оптической системы представлены в таблице 1. В таблице 2 приведены конструктивные параметры конкретного примера исполнения тепловизионного канала двухспектральной оптической системы. В таблице 3 приведены конструктивные параметры конкретного примера исполнения первого и второго телевизионных каналов двухспектральной оптической системы. В таблицах 4 и 5 приведены некоторые значения переменных воздушных промежутков Dl, D2, D3 объектива 6 тепловизионного канала и D4, D5, D6 объектива 11 второго телевизионного канала. Двухспектральная оптическая система работает следующим образом. Для обнаружения объекта наблюдения в тепловизионном канале и во втором телевизионном канале выбирается режим непрерывно изменяемого поля зрения с расположением оптических элементов, обеспечивающим широкое угловое поле зрения, чему соответствует минимальное значение фокусного расстояния. В тепловизионном канале излучение от бесконечно удаленного объекта попадает на первую линзу 6.1 объектива 6. После прохождения линз 6.1-6.5 объектива 6 лучи формируют промежуточное изображение в фокальной плоскости F'(6), затем отражаются плоским зеркалом 8 устройства переключения потоков излучения, установленным в положении 8(6), проходят второй объектив 5 и формируют изображение в плоскости чувствительных элементов фотоприемного устройства 7. Во втором телевизионном канале излучение от бесконечно удаленного объекта попадает на первую линзу 11.1 объектива 11. После прохождения линз 11.1-11.19 объектива 11 лучи формируют изображение в плоскости чувствительных элементов фотоприемного устройства 12. Сигналы с фотоприемных устройств 7 и 12 поступают в устройство управления и обработки информации 13 с последующим выводом на экран устройства отображения информации 14. Для повышения информативности наблюдения, в зависимости от расстояния до объекта, его размера и местоположения, скорости движения, одновременным перемещением линз 6.2 и 6.3 третьего объектива 6 тепловизионного канала и линзовых групп Б и В объектива 11 второго телевизионного канала, в соответствии с приведенными в таблицах 4 и 5 значениями переменных воздушных промежутков, осуществляется плавное изменение фокусного расстояния объективов 6 и 11, при этом объект наблюдения постоянно находится в поле зрения системы. После того, как третьим объективом 6 тепловизионного канала и объективом 11 второго телевизионного канала достигается максимально возможное значение фокусного расстояния, осуществляется переключение системы в режим узкого поля зрения, при котором обеспечивается более детальное рассмотрение объекта наблюдения. В режиме узкого поля зрения излучение от бесконечно удаленного объекта отражается последовательно от главного вогнутого асферического зеркала 1 и вторичного выпуклого асферического зеркала 2 и попадает на спектроделитель 3. Излучение инфракрасного диапазона (тепловизионный канал) проходит через спектроделитель 3, излучение видимого диапазона (первый телевизионный канал) отражается от него. В тепловизионном канале преломленные спектроделителем 3 лучи отражаются зеркалом 15, проходят линзы 4.1-4.3 объектива 4, отражаются зеркалом 16 и формируют промежуточное изображение в фокальной плоскости F'(4), затем отражаются плоским зеркалом 8 устройства переключения потоков излучения, установленным в положении 8(4), проходят второй объектив 5 и попадают в фотоприемное устройство 7, в плоскости чувствительных элементов которого формируется изображение. В первом телевизионном канале отраженные спектроделителем 3 и зеркалом 17 лучи проходят линзы 9.1-9.5 объектива 9, отражаются зеркалом 18, проходят линзу 9.6 объектива 9 и формируют изображение в плоскости чувствительных элементов фотоприемного устройства 10. Сигналы с фотоприемных устройств 7 и 10 поступают в устройство управления и обработки информации 13 с последующим выводом на экран устройства отображения информации 14. В тепловизионном канале переключение режимов работы с непрерывно изменяемого поля зрения на узкое поле зрения осуществляется с помощью устройства переключения 8 по сигналам устройства управления и обработки информации 13. В телевизионном канале сигналы с фотоприемных устройств 10 и 12 поступают в устройство управления и обработки информации 13. Прием излучения в первом и втором телевизионных каналах в режимах узкого и непрерывно изменяемого полей зрения осуществляется параллельно (одновременно), а переключение с одного режима работы на другой осуществляется в устройстве управления и обработки информации 13 за счет вывода на экран устройства отображения информации 14 сигналов только с одного из фотоприемных устройств. Таким образом, выполнение двухспектральной оптической системы в соответствии с формулой заявляемых материалов повышает ее информативность за счет ввода в каждом спектральном диапазоне режима работы, позволяющего получать дополнительную информацию об объекте наблюдения в непрерывно изменяемом угловом поле зрения, чем обеспечивается более высокая эффективность поиска, обнаружения и распознавания объектов.





