патент
№ RU 2689873
МПК F24D3/08
Номер заявки
2018140542
Дата подачи заявки
16.11.2018
Опубликовано
29.05.2019
Страна
RU
Как управлять
интеллектуальной собственностью
Чертежи 
1
Реферат

Изобретение относится к системам теплоснабжения зданий, предусматривающим использование теплоты отработанной воды после подогревателей горячего водоснабжения, система теплоснабжения может быть применена в жилых, общественных и промышленных зданиях. Конструкция индивидуального теплового пункта включает обратный трубопровод тепловой сети, подающий трубопровод тепловой сети, подогреватель ГВС, водоразборный трубопровод ГВС, трубопровод исходной воды из холодного водопровода, ответвление от подающего трубопровода тепловой сети на подогреватель ГВС, соединительную перемычку, обратный трубопровод подогревателя ГВС по сетевой воде, обратный клапан, вентили (задвижки), регуляторы температуры, при этом дополнительно содержит насос с частотно-регулируемым приводом, расположенный на соединительной перемычке, а также обратный клапан, установленный на обратный трубопровод подогревателя ГВС по сетевой воде, и регулятор расхода, установленный на подающем трубопроводе тепловой сети. Техническим результатом заявленного изобретения является предотвращение избыточной подачи теплоты в здания, приводящей к повышению температуры внутреннего воздуха сверх допустимой по условиям безопасности жизнедеятельности и соответствующему дискомфорту, устранение превышения температуры обратной воды после системы отопления и/или ГВС над значением, требуемым по графику, и обеспечение отопления зданий после окончания официального отопительного сезона в случае такой необходимости. 2 ил.

Формула изобретения

Конструкция индивидуального теплового пункта, включающая обратный трубопровод тепловой сети, подающий трубопровод тепловой сети, подогреватель ГВС, водоразборный трубопровод ГВС, трубопровод исходной воды из холодного водопровода, ответвление от подающего трубопровода тепловой сети на подогреватель ГВС, соединительную перемычку, обратный трубопровод подогревателя ГВС по сетевой воде, обратный клапан, вентили (задвижки), регуляторы температуры, отличается тем, что дополнительно содержит насос с частотно-регулируемым приводом, расположенный на соединительной перемычке, а также обратный клапан, установленный на обратный трубопровод подогревателя ГВС по сетевой воде, и регулятор расхода, установленный на подающем трубопроводе тепловой сети.

Описание

[1]

Изобретение относится к системам теплоснабжения зданий, предусматривающим использование теплоты отработанной воды после подогревателей горячего водоснабжения (ГВС). Данная система теплоснабжения может быть применена в жилых, общественных и промышленных зданиях. Изобретение относится к энерго- и ресурсосберегающим и обеспечивающим безопасность жизнедеятельности и способно существенно сократить эксплуатационные расходы на систему отопления здания, а также увеличить выработку электроэнергии в ТЭЦ на тепловом потреблении без значительных капитальных затрат.

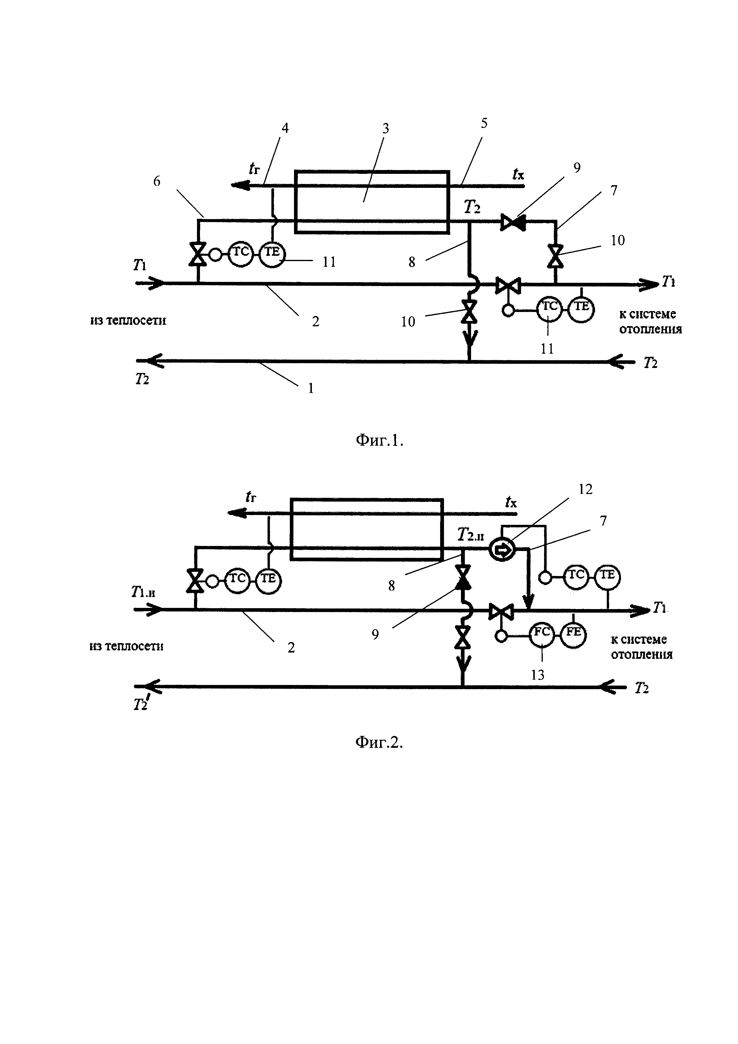
[2]

Известна конструкция индивидуального теплового пункта с параллельным подключением подогревателя ГВС по отношению к системе отопления, используемая при значительной тепловой нагрузке ГВС (СП 41-101-95 «Проектирование тепловых пунктов»). Данная схема представлена на Фиг. 1.

[3]

Конструкцияиндивидуального теплового пункта, включает обратный трубопровод тепловой сети (1), подающий трубопровод тепловой сети (2), подогреватель ГВС (3), водоразборный трубопровод ГВС (4), трубопровод исходной воды из холодного водопровода (5), ответвление от подающего трубопровода тепловой сети на подогреватель ГВС (6), соединительную перемычку (7), обратный трубопровод подогревателя ГВС по сетевой воде (8), обратный клапан (9), вентили (задвижки) (10), регуляторы температуры (11).

[4]

Здесь tг и tx, °С - температуры нагретой воды в водоразборном трубопроводе системы ГВС и исходной воды из холодного водопровода, Т1 и Т2, °С - температуры воды в подающем и обратном теплопроводах теплосети по графику в зависимости от температуры наружного воздуха tн, °С,

[5]

Расходы воды в данной схеме регулируются в зависимости от температуры, и поддержание суммарного расхода на входе в тепловой пункт не предусматривается. Предполагается, что система отопления далее присоединяется к тепловой сети по зависимой схеме с помощью элеваторного узла либо смесительного насоса.

[6]

Однако данная схема не обеспечивает возможности продолжения отопления зданий после официального окончания отопительного сезона в случае такой необходимости при резком похолодании, поскольку в этот период закрывается задвижка на перемычке, соединяющей подогреватель ГВС и подающий трубопровод тепловой сети, а также в ней оказывается затруднительно непосредственно избегать избыточной подачи теплоты в систему отопления («перетопов») при температуре tн>tи - температуры точки излома температурного графика, поскольку, несмотря на наличие регулятора температуры, оказывается сложно поддерживать необходимое соотношение воды после подогревателя ГВС и из тепловой сети для поддержания требуемой по графику величины Т1.

[7]

Сущность предлагаемого метода, реализуемого с помощью заявленной конструкции индивидуального теплового пункта, заключается в принудительном подмешивании части отработанной воды после подогревателей горячего водоснабжения (ГВС) в необходимой пропорции к воде в подающем теплопроводе теплосети перед ее подачей в систему отопления при наружной температуре, превышающей точку излома температурного графика.

[8]

В отличие от существующих схем предотвращения «перетопов», предлагаемая схема позволяет также легко использовать остаточную теплоту отработанной сетевой воды после подогревателей ГВС для поддержания необходимой комфортности в зданиях после официального окончания отопительного сезона без дополнительных энергозатрат. Указанная проблема решается путем полной подачи данной воды в систему отопления в случае похолоданий.

[9]

Техническим результатом заявленногоизобретения является предотвращение избыточной подачи теплоты в здания, приводящей к повышению температуры внутреннего воздуха сверх допустимой по условиям безопасности жизнедеятельности и соответствующему дискомфорту, сопровождающемуся бесполезными потерями энергии - так называемому «перетопу». Одновременно устраняется превышение температуры обратной воды после системы отопления и (или) ГВС над значением, требуемым по графику, и тем самым получается общесистемный эффект по увеличению выработки электроэнергии в ТЭЦ на тепловом потреблении. Кроме того, техническим результатом является обеспечение отопления зданий после окончания официального отопительного сезона в случае такой необходимости.

[10]

Технический результат достигается тем, что конструкция индивидуального теплового пункта, которая включает обратный трубопровод тепловой сети, подающий трубопровод тепловой сети, подогреватель ГВС, водоразборный трубопровод ГВС, трубопровод исходной воды из холодного водопровода, ответвление от подающего трубопровода тепловой сети на подогреватель ГВС, соединительную перемычку, обратный трубопровод подогревателя ГВС по сетевой воде, обратный клапан, вентили (задвижки), регуляторы температуры, дополнительно содержит насос с частотно-регулируемым приводом (12), расположенный, вместо одного обратного клапана, на соединительной перемычке (7), а также обратный клапан (9), установленный на обратный трубопровод подогревателя ГВС по сетевой воде (8), арегулятор температуры, установленный на подающем трубопроводе тепловой сети (2), заменен на регулятор расхода (13).

[11]

Регулятор расхода поддерживает постоянство суммарного расхода воды на входе в систему отопления после подмешивания отработанной воды из подогревателя ГВС.

[12]

Схема подключения теплообменника и переключения потоков воды для случая параллельного (независимого) регулирования подачи теплоты на отопление и ГВС показана на фиг. 2. Здесь Т1.и и Т2.и, °С - температуры воды в подающем и обратном теплопроводах теплосетив точке излома температурного графика, Т2', °С - температура в обратном трубопроводе теплосетипосле смешения потоков с температурами Т2 и Т2 м. Остальные обозначения приведены в пояснениях к фиг. 1.

[13]

Данное оборудование может быть установлено непосредственно в тепловом пункте и подключаться независимо от централизованного включения и отключения подачи теплоты на отопление, с учетом того, что ГВС функционирует круглогодично. Следовательно, реализация схемы требует минимальных капитальных затрат.

Как компенсировать расходы
на инновационную разработку
Похожие патенты