патент
№ RU 2678297
МПК B61D19/02

Устройство пневматического привода прислонно-сдвижной двери пассажирского вагона

Авторы:
Кравчук Андрей Николаевич
Номер заявки
2017118212
Дата подачи заявки
25.05.2017
Опубликовано
24.01.2019
Страна
RU
Как управлять
интеллектуальной собственностью
Чертежи 
5
Реферат

Изобретение относится к транспортным средствам, в частности к устройству привода прислонно-сдвижной двери пассажирского вагона. Устройство пневматического привода прислонно-сдвижной двери пассажирского вагона с дверным проемом в боковой стенке имеет силовой блок (5) с неподвижным основанием (6) блока, закрепленным на верхней балке дверного проема, и подвижным блоком (8) с направляющими (9) для движения прислонно-сдвижной двери с двумя створками. Механизм привода открытия-закрытия створок двери состоит из установленной на подвижном блоке бесконечной цепной передачи с механизмом натяжения цепи и пневматического цилиндра (16) привода цепи, неподвижная часть которого закреплена на подвижном блоке, а подвижная часть жестко соединена с одной из ветвей цепи, и верхней и нижней кареток, одна из которых закреплена на верхней, а другая - на нижней ветвях цепи, соединенных со створками двери. Устройство пневматического привода содержит средство блокировки движения створок двери в их закрытом положении, механизм выдвижения подвижного блока относительно основания блока с клиновым исполнительным устройством; механизм синхронизации положения верха и низа створок двери при выдвижении подвижного блока. На основании блока закреплены направляющие выдвижения подвижного блока с ползунами. Механизм выдвижения подвижного блока состоит из пневмоцилиндра (32), корпус которого установлен параллельно плоскости дверей, подвижная часть соединена с установленной в направляющей, параллельной оси пневмоцилиндра, подвижной линейкой (35), имеющей на концах элементы соединения с клиновым исполнительным устройством механизма выдвижения подвижного блока. Корпус пневмоцилиндра привода цепи закреплен на подвижном блоке, а внешняя каретка соединена с одной из ветвей цепной передачи. Изобретение повышает надежность привода. 4 з.п. ф-лы, 9 ил.

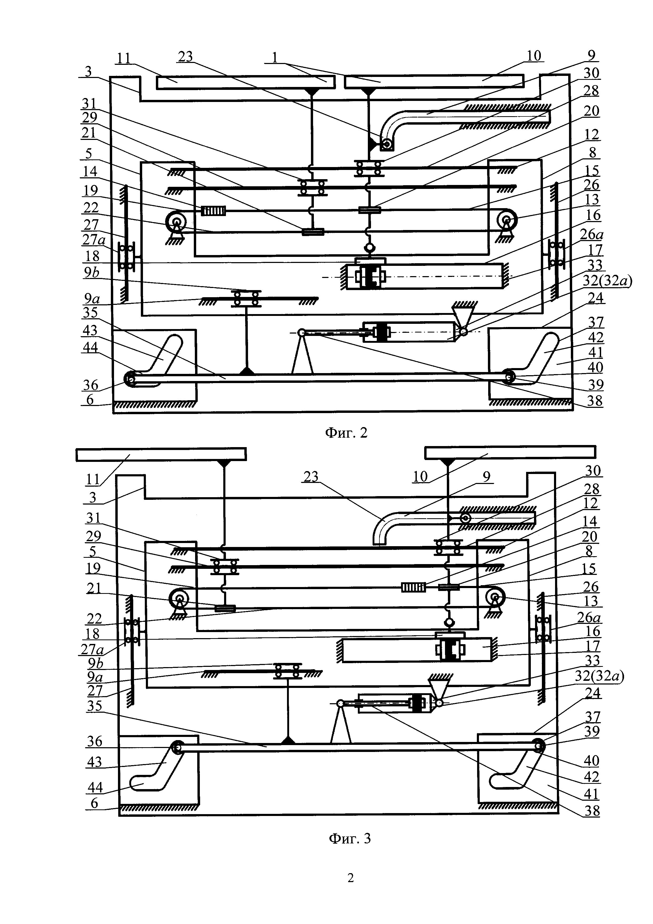
Формула изобретения

1. Устройство пневматического привода прислонно-сдвижной двери пассажирского вагона с дверным проемом в боковой стенке, имеющее силовой блок с неподвижным основанием блока, закрепленным на верхней балке дверного проема, и подвижным блоком, имеющим Г-образные направляющие для движения прислонно-сдвижной двери, состоящей из двух створок, механизм привода открытия-закрытия створок двери, состоящий из установленной на подвижном блоке бесконечной цепной передачи с механизмом натяжения цепи и пневматического цилиндра привода цепи, неподвижная часть которого закреплена на подвижном блоке, а подвижная часть жестко соединена с одной из ветвей цепи, и верхней и нижней кареток, одна из которых закреплена на верхней, а другая - на нижней ветвях цепи, жестко соединенных с левой и правой створками двери, средство блокировки движения створок двери в их закрытом положении, механизм выдвижения подвижного блока относительно основания блока, имеющий клиновое исполнительное устройство; механизм синхронизации положения верха и низа створок двери при выдвижении подвижного блока; закрепленные на основании блока направляющие выдвижения подвижного блока с ползунами относительно основания блока в направлении, перпендикулярном прямолинейным направляющим створок двери, в которых установлены ползуны, закрепленные на подвижном блоке, отличающееся тем, что механизм выдвижения подвижного блока состоит из пневмоцилиндра, корпус которого установлен параллельно плоскости створок двери; подвижная часть пневмоцилиндра соединена с параллельной оси пневмоцилиндра и подвижной относительно ее направляющей линейкой, имеющей на концах элементы соединения с клиновым исполнительным устройством механизма выдвижения подвижного блока, при этом пневмоцилиндр привода цепи является бесштоковым, неподвижная часть бесштокового пневмоцилиндра закреплена на подвижном блоке, а подвижная часть бесштокового пневмоцилиндра соединена с одной из ветвей цепной передачи.

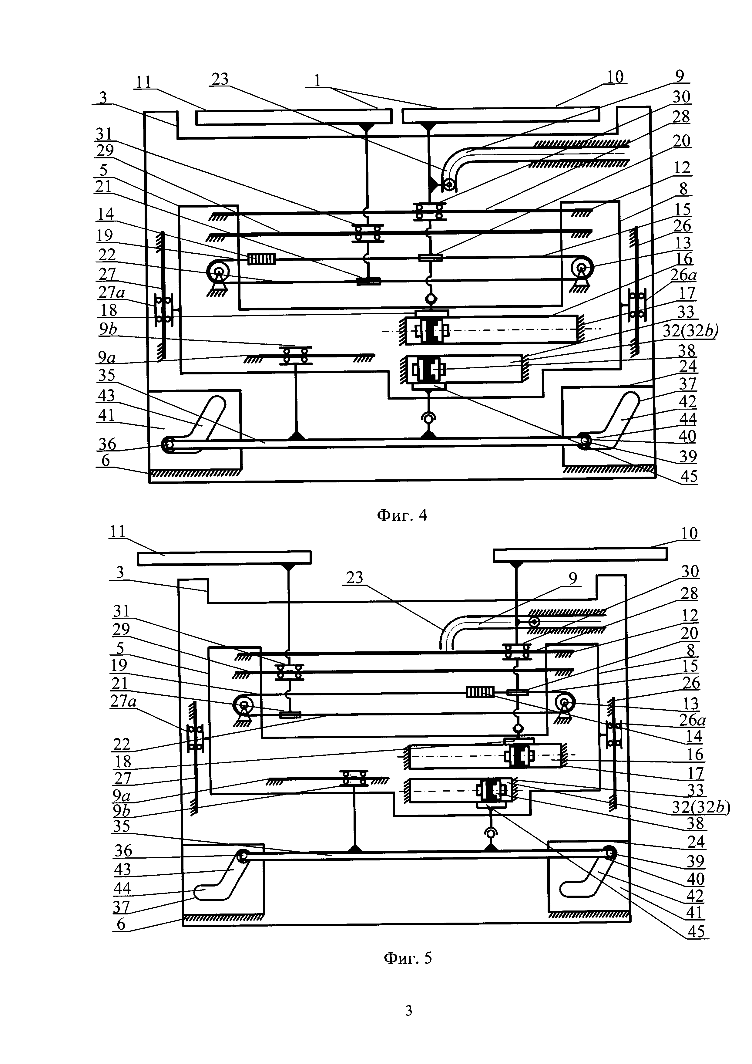
2. Устройство по п. 1, отличающееся тем, что пневмоцилиндр механизма выдвижения подвижного блока является штоковым, корпус пневмоцилиндра закреплен на подвижном блоке, а шток соединен с подвижной относительно ее направляющей линейкой, при этом клиновое исполнительное устройство механизма выдвижения подвижного блока состоит из закрепленных на линейке штырей с подшипниками и закрепленных на краях подвижного блока пластин с пазами, состоящими из наклонной части, находящейся под углом к продольной кромке основания, не превышающим 45°, и горизонтально расположенной части; ширина пазов равна внешнему диаметру подшипников, расположенных в пазах пластин с возможностью движения.

3. Устройство по п. 1, отличающееся тем, что пневмоцилиндр механизма выдвижения подвижного блока является бесштоковым с корпусом, закрепленным на линейке, подвижной относительно ее направляющей, закрепленной на подвижном блоке, и с внешней кареткой, соединенной с подвижным блоком; при этом клиновое исполнительное устройство механизма выдвижения подвижного блока состоит из закрепленных на линейке штырей с подшипниками и закрепленных на краях основания блока пластин с пазами, состоящими из наклонной части, находящейся под углом к продольной кромке основания, не превышающим 45°, и горизонтально расположенной части; ширина пазов равна внешнему диаметру подшипников, расположенных в пазах пластин с возможностью движения.

4. Устройство по п. 1, отличающееся тем, что пневмоцилиндр механизма выдвижения подвижного блока является штоковым, корпус пневмоцилиндра закреплен на основании блока, а шток соединен с линейкой, подвижной относительно основания блока, при этом клиновое исполнительное устройство механизма выдвижения подвижного блока состоит из закрепленных на подвижном блоке пластин с пазами, состоящими из наклонной части, находящейся под углом к продольной кромке основания, не превышающим 45°, и горизонтально расположенной части; ширина пазов равна внешнему диаметру подшипников, установленных на краях подвижного блока, а подшипники расположены в пазах пластин с возможностью движения.

5. Устройство по п. 1, отличающееся тем, что пневмоцилиндр механизма выдвижения подвижного блока является бесштоковым, корпус пневмоцилиндра закреплен на основании блока, а каретка соединена с линейкой, подвижной относительно основания блока, при этом клиновое исполнительное устройство механизма выдвижения подвижного блока состоит из закрепленных на подвижном блоке пластин с пазами, состоящими из наклонной части, находящейся под углом к продольной кромке основания, не превышающим 45°, и горизонтально расположенной части; ширина пазов равна внешнему диаметру подшипников, установленных на краях подвижного блока, а подшипники расположены в пазах пластин с возможностью движения.

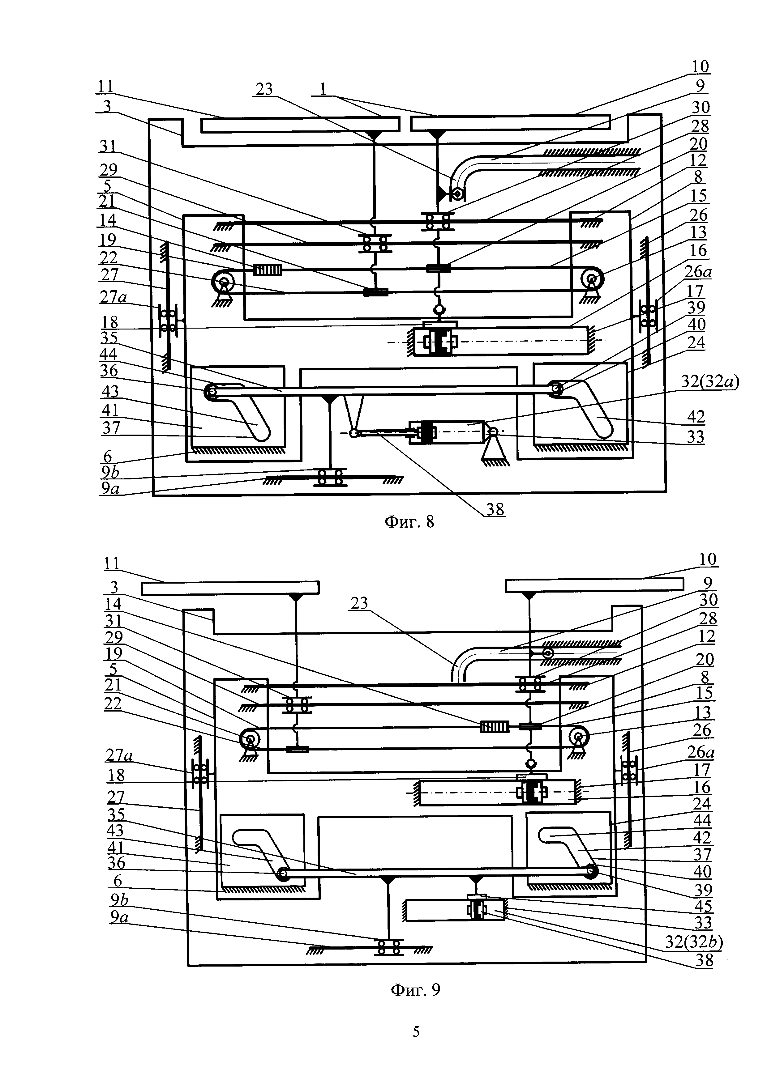
Описание

[1]

Изобретение относится к приводу дверей транспортных средств, в частности, к устройству привода прислонно-сдвижной двери пассажирского вагона.

[2]

Известен механизм пневматического привода дверей транспортного средства (патент RU №2242377 от 21.11.2001 г.), содержащий: силовой блок с неподвижным основанием блока, закрепленным на верхней балке дверного проема, и подвижным блоком, имеющим Г-образные направляющие для движения прислонно-сдвижной двери, состоящей из двух створок, механизм привода открытия-закрытия створок двери, состоящий из установленной на подвижном блоке бесконечной цепной передачи с механизмом натяжения цепи, пневматического цилиндра привода цепи, неподвижная часть которого закреплена на подвижном блоке, а подвижная часть жестко соединена с одной из ветвей цепи, две каретки, закрепленные на створках двери, жестко соединенные с верхней и нижней ветвями цепи, средство блокировки движения створок двери в их закрытом положении, механизм выдвижения подвижного блока относительно основания блока, закрепленные на основании направляющие для выдвижения подвижного блока относительно основания блока в направлении, перпендикулярном направляющим дверей и ползуны, установленные в направляющих, закрепленных на подвижном блоке.

[3]

Недостаток конструкции данного устройства пневматического привода - в низкой надежности вследствие совмещения привода выдвижения подвижного блока из проема и открытия створок двери с помощью одного и того же цилиндра, а также в необходимости иметь двойную ременную или цепную передачу.

[4]

Техническая задача, решаемая изобретением, - повышение надежности устройства пневматического привода прислонно-сдвижной двери пассажирского вагона.

[5]

Техническая задача решена в устройстве пневматического привода прислонно-сдвижной двери пассажирского вагона с дверным проемом в боковой стенке, имеющем: силовой блок с неподвижным основанием блока, закрепленным на верхней балке дверного проема, и подвижным блоком, имеющим Г-образные направляющие для движения прислонно-сдвижной двери, состоящей из двух створок, механизм привода открытия-закрытия створок двери, состоящий из установленной на подвижном блоке бесконечной цепной передачи с механизмом натяжения цепи, и пневматического цилиндра привода цепи, неподвижная часть которого закреплена на подвижном блоке, а подвижная часть жестко соединена с одной из ветвей цепи, и верхней и нижней кареток, одна из которых закреплена на верхней, а другая - на нижней ветвях цепи, жестко соединенных с левой и правой створками двери, средство блокировки движения створок двери в их закрытом положении, механизм выдвижения подвижного блока относительно основания блока, имеющий клиновое исполнительное устройство; механизм синхронизации положения верха и низа створок двери при выдвижении подвижного блока; закрепленные на основании блока направляющие выдвижения подвижного блока с ползунами относительно основания блока в направлении, перпендикулярном прямолинейным направляющим створок двери; установленные на направляющих выдвижения подвижного блока ползуны, закрепленные на подвижном блоке, при этом механизм выдвижения подвижного блока состоит из пневмоцилиндра, корпус которого установлен параллельно плоскости створок двери; подвижная часть пневмоцилиндра соединена с параллельной оси пневмоцилиндра и подвижной относительно ее направляющей линейкой, имеющей на концах элементы соединения с клиновым исполнительным устройством механизма выдвижения подвижного блока, при этом пневмоцилиндр привода цепи является бесштоковым, неподвижная часть бесштокового пневмоцилиндра закреплена на подвижном блоке, а подвижная часть бесштокового пневмоцилиндра соединена с одной из ветвей цепной передачи.

[6]

Пневмоцилиндр механизма выдвижения подвижного блока может являться штоковым, корпус пневмоцилиндра - быть закреплен на подвижном блоке, а шток соединен с подвижной относительно ее направляющей линейкой, при этом клиновое исполнительное устройство механизма выдвижения подвижного блока состоит из закрепленных на линейке штырей с подшипниками и закрепленных на краях подвижного блока пластин с пазами, состоящими из наклонной части, находящейся под углом к продольной кромке основания, не превышающим 45°, и горизонтально расположенной части; ширина пазов равна внешнему диаметру подшипников, расположенных в пазах пластин с возможностью движения.

[7]

Пневмоцилиндр механизма выдвижения подвижного блока может являться бесштоковым с корпусом, закрепленным на подвижном блоке, и с внешней кареткой, соединенной с линейкой, подвижной относительно ее направляющей, установленной на подвижном блоке; при этом клиновое исполнительное устройство механизма выдвижения подвижного блока состоит из закрепленных на основании блока пластин с пазами, состоящими из наклонной части, находящейся под углом к продольной кромке основания, не превышающим 45°, и горизонтально расположенной части; ширина пазов равна внешнему диаметру подшипников, расположенных в пазах пластин с возможностью движения.

[8]

Пневмоцилиндр механизма выдвижения подвижного блока может являться бесштоковым с корпусом, закрепленным на линейке, подвижной относительно ее направляющей, закрепленной на подвижном блоке, и с внешней кареткой, соединенной с подвижным блоком; при этом клиновое исполнительное устройство механизма выдвижения подвижного блока состоит из закрепленных на линейке штырей с подшипниками, и закрепленных на краях основания блока пластин с пазами, состоящими из наклонной части, находящейся под углом к продольной кромке основания, не превышающим 45°, и горизонтально расположенной части; ширина пазов равна внешнему диаметру подшипников, расположенных в пазах пластин с возможностью движения.

[9]

Пневмоцилиндр механизма выдвижения подвижного блока может являться штоковым, корпус пневмоцилиндра - быть закреплен на основании блока, а шток соединен с линейкой, подвижной относительно основания блока, при этом клиновое исполнительное устройство механизма выдвижения подвижного блока состоит из закрепленных на подвижном блоке пластин с пазами, состоящими из наклонной части, находящейся под углом к продольной кромке основания, не превышающим 45°, и горизонтально расположенной части; ширина пазов равна внешнему диаметру подшипников, установленных на краях подвижного блока, а подшипники расположены в пазах пластин с возможностью движения.

[10]

Пневмоцилиндр механизма выдвижения подвижного блока может являться бесштоковым, корпус пневмоцилиндра - быть закреплен на основании блока, а каретка соединена с линейкой, подвижной относительно основания блока, при этом клиновое исполнительное устройство механизма выдвижения подвижного блока состоит из закрепленных на подвижном блоке пластин с пазами, состоящими из наклонной части, находящейся под углом к продольной кромке основания, не превышающим 45°, и горизонтально расположенной части; ширина пазов равна внешнему диаметру подшипников, установленных на краях подвижного блока, а подшипники расположены в пазах пластин с возможностью движения.

[11]

Решение технической задачи, - повышение надежности устройства пневматического привода прислонно-сдвижной двери пассажирского вагона, - достигается следующей совокупностью отличительных признаков:

[12]

механизм выдвижения подвижного блока состоит из пневмоцилиндра, корпус которого установлен параллельно плоскости створок двери; подвижная часть пневмоцилиндра соединена с параллельной оси пневмоцилиндра и подвижной относительно ее направляющей линейкой, имеющей на концах элементы соединения с клиновым исполнительным устройством механизма выдвижения подвижного блока, при этом пневмоцилиндр привода цепи является бесштоковым, корпус бесштокового пневмоцилиндра закреплен на подвижном блоке, а внешняя каретка бесштокового пневмоцилиндра соединена с одной из ветвей цепной передачи.

[13]

Пневмоцилиндр механизма выдвижения подвижного блока может являться штоковым, корпус пневмоцилиндра - быть закреплен на подвижном блоке, а шток соединен с подвижной относительно ее направляющей линейкой, при этом клиновое исполнительное устройство механизма выдвижения подвижного блока состоит из закрепленных на линейке штырей с подшипниками и закрепленных на краях подвижного блока пластин с пазами, состоящими из наклонной части, находящейся под углом к продольной кромке основания, не превышающим 45°, и горизонтально расположенной части; ширина пазов равна внешнему диаметру подшипников, расположенных в пазах пластин с возможностью движения.

[14]

Пневмоцилиндр механизма выдвижения подвижного блока может являться бесштоковым с корпусом, закрепленным на подвижном блоке, и с внешней кареткой, соединенной с линейкой, подвижной относительно ее направляющей, установленной на подвижном блоке; при этом клиновое исполнительное устройство механизма выдвижения подвижного блока состоит из закрепленных на основании блока пластин с пазами, состоящими из наклонной части, находящейся под углом к продольной кромке основания, не превышающим 45°, и горизонтально расположенной части; ширина пазов равна внешнему диаметру подшипников, расположенных в пазах пластин с возможностью движения.

[15]

Пневмоцилиндр механизма выдвижения подвижного блока может являться бесштоковым с корпусом, закрепленным на линейке, подвижной относительно ее направляющей, закрепленной на подвижном блоке, и с внешней кареткой, соединенной с подвижным блоком; при этом клиновое исполнительное устройство механизма выдвижения подвижного блока состоит из закрепленных на линейке штырей с подшипниками, и закрепленных на краях основания блока пластин с пазами, состоящими из наклонной части, находящейся под углом к продольной кромке основания, не превышающим 45°, и горизонтально расположенной части; ширина пазов равна внешнему диаметру подшипников, расположенных в пазах пластин с возможностью движения.

[16]

Пневмоцилиндр механизма выдвижения подвижного блока может являться штоковым, корпус пневмоцилиндра - быть закреплен на основании блока, а шток соединен с линейкой, подвижной относительно основания блока, при этом клиновое исполнительное устройство механизма выдвижения подвижного блока состоит из закрепленных на подвижном блоке пластин с пазами, состоящими из наклонной части, находящейся под углом к продольной кромке основания, не превышающим 45°, и горизонтально расположенной части; ширина пазов равна внешнему диаметру подшипников, установленных на краях подвижного блока, а подшипники расположены в пазах пластин с возможностью движения.

[17]

Пневмоцилиндр механизма выдвижения подвижного блока может являться бесштоковым, корпус пневмоцилиндра - быть закреплен на основании блока, а каретка соединена с линейкой, подвижной относительно основания блока, при этом клиновое исполнительное устройство механизма выдвижения подвижного блока состоит из закрепленных на подвижном блоке пластин с пазами, состоящими из наклонной части, находящейся под углом к продольной кромке основания, не превышающим 45°, и горизонтально расположенной части; ширина пазов равна внешнему диаметру подшипников, установленных на краях подвижного блока, а подшипники расположены в пазах пластин с возможностью движения.

[18]

Данная совокупность признаков не обнаружена при проведении патентно-информационных исследований, следовательно, изобретение соответствует критерию "новизна". Она не следует явно из уровня техники, следовательно, техническое решение соответствует критерию "изобретательский уровень".

[19]

На фиг. 1 показан дверной проем пассажирского вагона с встроенным в него силовым блоком пневматического привода створок двери.

[20]

На фиг. 2 показано устройство привода прислонно-сдвижной двери с бесштоковым пневмоцилиндром привода створок двери и закрепленным на подвижном блоке штоковым пневмоцилиндром выдвижения блока при закрытой двери.

[21]

На фиг. 3 показано устройство привода прислонно-сдвижной двери с бесштоковым пневмоцилиндром привода створок двери и с закрепленным на подвижном блоке штоковым пневмоцилиндром выдвижения блока при открытой двери.

[22]

На фиг. 4 показано устройство привода прислонно-сдвижной двери с бесштоковым пневмоцилиндром привода створок двери и с закрепленным на подвижном блоке бесштоковым пневмоцилиндром выдвижения блока при закрытой двери.

[23]

На фиг. 5 показано устройство привода прислонно-сдвижной двери с бесштоковым пневмоцилиндром привода створок двери и с закрепленным на подвижном блоке бесштоковым пневмоцилиндром выдвижения блока при открытой двери.

[24]

На фиг. 6 показано устройство привода прислонно-сдвижной двери с бесштоковым пневмоцилиндром привода створок двери и с закрепленным на линейке бесштоковым пневмоцилиндром выдвижения блока при закрытой двери.

[25]

На фиг. 7 показано устройство привода прислонно-сдвижной двери с бесштоковым пневмоцилиндром привода створок двери и с закрепленным на линейке бесштоковым пневмоцилиндром выдвижения блока при открытой двери.

[26]

На фиг. 8 показано устройство привода прислонно-сдвижной двери с бесштоковым пневмоцилиндром привода створок двери и с закрепленным на основании блока штоковым пневмоцилиндром выдвижения блока при закрытой двери.

[27]

На фиг. 9 показано устройство привода прислонно-сдвижной двери с бесштоковым пневмоцилиндром привода створок двери и с закрепленным на основании блока бесштоковым пневмоцилиндром выдвижения блока при открытой двери.

[28]

Устройство пневматического привода (фиг. 1-9) прислонно-сдвижной двери 1 пассажирского вагона 2 (фиг. 1) с дверным проемом 3 в боковой стенке 4 имеет: силовой блок 5 с неподвижным основанием 6 (фиг. 2-9) блока 5, закрепленным на верхней балке 7 (фиг. 1) дверного проема 3, и подвижным блоком 8, имеющим Г-образные направляющие 9 (фиг. 2-9) для движения створок 10 и 11 (фиг. 2) прислонно-сдвижной двери 1, механизм 12 привода открытия-закрытия створок 10 и 11 двери 1, состоящий из установленной на подвижном блоке 8 бесконечной цепной передачи 13 с механизмом 14 натяжения цепи 15, и пневматического цилиндра 16 привода цепи 15, неподвижная часть 17 которого закреплена на подвижном блоке 8, а подвижная часть 18 жестко соединена с верхней ветвью 19 цепи 15; верхней каретки 20, закрепленной на верхней ветви 19 цепи 15, и нижней каретки 21, закрепленной на нижней ветви 22 цепи 15, жестко соединенных соответственно с левой створкой 10 и правой створкой 11 двери 1, средство 23 блокировки движения створок 10 и 11 двери 1 в их закрытом положении, механизм 24 выдвижения подвижного блока 8 относительно основания 6 блока 5, имеющий клиновое исполнительное устройство 25; механизм синхронизации (не показан) положения верха и низа створок 10 и 11 двери 1 при выдвижении подвижного блока 8; закрепленные на основании 6 блока 5 направляющие 26 и 27 выдвижения подвижного блока 8 с ползунами 26а и 27а относительно основания 6 блока 5 в направлении, перпендикулярном прямолинейным направляющим 28 и 29 створок 10 и 11 двери 1, в которых установлены ползуны 30 и 31, закрепленные на подвижном блоке 8, при этом механизм 24 выдвижения подвижного блока 8 относительно основания 6 блока 5 состоит из пневмоцилиндра 32, корпус 33 которого установлен параллельно плоскости створок 10 и 11 двери 1 (фиг. 2, 3, 4, 6, 8); подвижная часть пневмоцилиндра 32 соединена с параллельной оси пневмоцилиндра 32 и подвижной относительно ее направляющей 9а, охватываемой ползуном 9b, линейкой 35, имеющей на концах элементы 36 соединения с клиновым исполнительным устройством 37 механизма 24 выдвижения подвижного блока 8, при этом пневмоцилиндр 16 привода цепи 15 является бесштоковым, неподвижная часть 17 бесштокового пневмоцилиндра 16 закреплена на подвижном блоке 8 (фиг. 4, 5), а подвижная часть 18 бесштокового пневмоцилиндра 16 соединена с верхней ветвью 19 цепной передачи 13.

[29]

В различных вариантах исполнения пневмоцилиндр 32 механизма 24 выдвижения подвижного блока 8 является штоковым 32а (фиг. 2, 3, 8), корпус 33 пневмоцилиндра 32а закреплен на подвижном блоке 8 (фиг. 2, 3), а шток 38 соединен с линейкой 35, подвижной относительно ее направляющей 9а, при этом клиновое исполнительное устройство 37 механизма 24 выдвижения подвижного блока 8 состоит из закрепленных на линейке 35 штырей 39 с подшипниками 40 и закрепленных на краях подвижного блока 8 (фиг. 8, 9) пластин 41 с пазами 42, состоящими из наклонной части 43, находящейся под углом к продольной кромке основания 6, не превышающим 45°, и горизонтально расположенной части 44; ширина пазов 42 равна внешнему диаметру подшипников 40, расположенных в пазах 42 пластин 41 с возможностью движения.

[30]

В одном из вариантов исполнения пневмоцилиндр 32 механизма 24 выдвижения подвижного блока 8 является бесштоковым 32b (фиг. 4, 5) с корпусом 33, закрепленным на подвижном блоке 8, и с внешней кареткой 45, соединенной с линейкой 35, подвижной относительно ее направляющей 9а, установленной на подвижном блоке 8; при этом клиновое исполнительное устройство 37 механизма 24 выдвижения подвижного блока 8 состоит из закрепленных на основании 6 блока 5 пластин 41 с пазами 42, состоящими из наклонной части 43, находящейся под углом к продольной кромке основания 6, не превышающим 45°, и горизонтально расположенной части 44; ширина пазов 42 равна внешнему диаметру подшипников 40, расположенных в пазах 42 пластин 41 с возможностью движения.

[31]

В другом варианте исполнения пневмоцилиндр 32 механизма 24 выдвижения подвижного блока 8 является бесштоковым 32b (фиг. 6, 7) с корпусом 33, закрепленным на линейке 35, подвижной относительно ее направляющей 9а, закрепленной на подвижном блоке 8, и с внешней кареткой 45, соединенной с подвижным блоком 8; при этом клиновое исполнительное устройство 37 механизма 24 выдвижения подвижного блока 8 состоит из закрепленных на линейке 35 штырей 39 с подшипниками 40, и закрепленных на краях основания 6 блока 5 пластин 41 с пазами 42, состоящими из наклонной части 43, находящейся под углом к продольной кромке основания 6, не превышающим 45°, и горизонтально расположенной части 44; ширина пазов 42 равна внешнему диаметру подшипников 40, расположенных в пазах 42 пластин 41 с возможностью движения.

[32]

В другом варианте исполнения пневмоцилиндр 32 механизма 24 выдвижения подвижного блока 8 является штоковым 32а (фиг. 8), корпус 33 пневмоцилиндра 32а закреплен на основании 6 блока 5, а шток 38 соединен с линейкой 35, подвижной относительно основания 6 блока 5, при этом клиновое исполнительное устройство 37 механизма 24 выдвижения подвижного блока 8 состоит из закрепленных на подвижном блоке 8 пластин 41 с пазами 42, состоящими из наклонной части 43, находящейся под углом к продольной кромке основания 6, не превышающим 45°, и горизонтально расположенной части 44; ширина пазов 42 равна внешнему диаметру подшипников 40, установленных на краях подвижного блока 8, а подшипники 40 расположены в пазах 42 пластин 41 с возможностью движения.

[33]

В другом варианте исполнения пневмоцилиндр 32 механизма 24 выдвижения подвижного блока 8 является бесштоковым 32b (фиг. 9), корпус 33 пневмоцилиндра 32b закреплен на основании 6 блока 5, а каретка 45 соединена с линейкой 35, подвижной относительно основания 6 блока 5, при этом клиновое исполнительное устройство 37 механизма 24 выдвижения подвижного блока 8 состоит из закрепленных на подвижном блоке 8 пластин 41 с пазами 42, состоящими из наклонной части 43, находящейся под углом к продольной кромке основания 6, не превышающим 45°, и горизонтально расположенной части 44; ширина пазов 42 равна внешнему диаметру подшипников 40, установленных на краях подвижного блока 8, а подшипники 40 расположены в пазах 42 пластин 41 с возможностью движения.

[34]

Открытие прислонно-сдвижной двери 1 происходит после остановки поезда. Перед открытием створок 10 и 11 двери 1 механизмом 24 из силового блока 5 выдвигается подвижный блок 8 после подачи воздуха в штоковую полость пневмоцилиндра 32 (фиг. 2, 8) или в соответствующую направлению движения створки 10 или 11 двери 1 полость бесштокового пневмоцилиндра 32b (фиг.4, 6, 9). Линейка 35, соединенная с подвижной частью 34 пневмоцилиндра 32b перемещается, подшипники 40, перемещаясь в пазах 42 пластин 41, выходят из горизонтальных частей 44 пазов 42 и, продвигаясь по наклонной части 43, выдвигают подвижный блок 8 из силового блока 5 и, соответственно, из дверного проема 3.

[35]

Дверь 1 устанавливается с зазором относительно боковой стенки 4 вагона 2. При подаче воздуха в соответствующую направлению движения створки 10 или 11 двери 1 полость бесштокового пневмоцилиндра 16 каретки 20 и 21 перемещают цепь 15, створки 10 и 11 двери 1 открываются.

[36]

Для закрытия створок 10 и 11 двери 1 воздух выпускается из одной полости бесштокового пневмоцилиндра 16 и подается в противоположную полость. Каретки 20 и 21 перемещают цепь 15 в обратном направлении, створки 10 и 11 двери 1 закрываются.

[37]

Для задвижения подвижного блока 8 в дверной проем 3 воздух выпускается из одной полости пневмоцилиндра 32а или 32b механизма 24 выдвижения подвижного блока 8 и подается в противоположную полость, линейка 35 перемещается вместе с перемещением подвижной части 34 пневмоцилиндров 32а (32b), и подшипники 40, двигаясь по наклонной части 43 пазов 42, задвигают подвижный блок 8, а затем, перемещаясь по горизонтальной части 44 пазов 42, исключают возможность самопроизвольного выдвижения подвижного блока 8. Створки 10 и 11 двери 1 блокируются от самопроизвольного открытия за счет средства 23 блокировки створки 10.

Как компенсировать расходы
на инновационную разработку
Похожие патенты