патент
№ RU 2673063
МПК H04B3/28

УСТРОЙСТВО ЗАЩИТЫ СОЕДИНИТЕЛЬНОЙ МУФТЫ ОПТИЧЕСКОГО КАБЕЛЯ СВЯЗИ ОТ ГРОЗОВЫХ РАЗРЯДОВ

Авторы:
Портнов Эдуард Львович
Номер заявки
2017117775
Дата подачи заявки
22.05.2017
Опубликовано
22.11.2018
Страна
RU
Как управлять
интеллектуальной собственностью
Чертежи 
1
Реферат

Изобретение относится к области электротехники и может использоваться при защите оптических кабелей связи в зоне активной грозовой деятельности. На грозозащитный трос в местах соединения строительных длин оптического кабеля с помощью соединительных муфт перпендикулярно трассе в горизонтальной плоскости на вводе и выводе оптического кабеля из соединительной муфты прокладывается линейный заземлитель, длина которого в каждую сторону от грозозащитного троса равна глубине прокладки кабеля, в месте пересечения грозозащитного троса с каждым линейным заземлителем осуществлен физический контакт, а соединение между линейными заземлителями и грозозащитным тросом обеспечивается соединением концов линейных заземлителей, находящихся с противоположных концов линейных заземлителей от троса, соединительным линейным заземлителем, причем контакт с тросом соединительного линейного заземлителя осуществляется в середине между линейными заземлителями. Изобретение обеспечивает повышение эффективности защиты оптических кабелей в районах с высоким удельным сопротивлением земли. 1 ил.

Формула изобретения

Устройство защиты оптического кабеля от грозовых разрядов, содержащее оптический кабель с металлическими элементами, строительные длины которого соединены с помощью соединительных муфт, грозозащитный трос, проложенный над ним на половине глубины прокладки оптического кабеля, ось которого совпадает в вертикальной плоскости с осью оптического кабеля, который в своей конструкции содержит металлические элементы, отличающийся тем, что с целью повышения эффективности защиты от грозовых разрядов оптического кабеля на грозозащитный трос в местах соединения строительных длин оптического кабеля с помощью соединительных муфт перпендикулярно трассе в горизонтальной плоскости на вводе и выводе оптического кабеля из соединительной муфты прокладывается линейный заземлитель, длина которого в каждую сторону от грозозащитного троса равна глубине прокладки кабеля, в месте пересечения грозозащитного троса с каждым линейным заземлителем осуществлен физический контакт, а соединение между линейными заземлителями и грозозащитным тросом обеспечивается соединением концов линейных заземлителей, находящихся с противоположных концов линейных заземлителей от троса, соединительным линейным заземлителем, причем контакт с тросом соединительного линейного заземлителя осуществляется в середине между линейными заземлителями.

Описание

[1]

Область техники

[2]

Изобретение относится к области электротехники и может использоваться при защите оптических кабелей связи в зоне активной грозовой деятельности.

[3]

Уровень техники

[4]

Согласно изданию «Руководству по защите подземных кабелей связи от ударов молнии» М. Связь. 1972. с 24-32 для защиты подземных кабелей связи используется способ прокладки грозозащитных тросов над кабелем связи на половине глубины прокладки кабеля. Это относится как к медным кабелям, так и к оптическим, содержащим металлические элементы. Прокладка двух грозозащитных тросов над оптическим кабелем не рекомендуется.

[5]

Известны мероприятия по защите подземных линий связи от перенапряжений с помощью 6 грозозащитных тросов. Устройство по изобретению №1522434, (H05F 3/02, автор Э.Л. Портнов Бюл. №42, 15.11.1989) содержит 6 проводников, расположенных вокруг подземной кабельной линии и их скрещивают так, что образуются узлы из проводников, лежащих по одну сторону от вертикальной или горизонтальной плоскости, проходящей через центральный провод линии связи. При этом на участке скрещивания проводника изолированы один от другого до их параллельного пробега с помощью изолированных трубок, с двумя нижними от кабеля проводниками металлическая оболочка соединяется через высоковольтные диоды.

[6]

Высокая эффективность защиты обеспечивается большим числом защитных проводников и сложностью конструкции защиты, что экономически и практически не оправдывает защиту от грозовых разрядов.

[7]

Наиболее близкой по технической сущности является устройство, описанное в изобретении № RU 2087076 "Устройство защиты подземных кабельной линии связи", (Н04В 3/28, автор Э.Л. Портнов. Бюл. №25, 07.07.1990), отличающееся тем, что грозозащитный трос, расположенный в горизонтальной плоскости над кабелем, прокладывается по синусоиде, ось которой совпадает с осью кабеля связи, амплитуда синусоиды относительно оси составляет a√ρ, где а<1, ρ - удельное сопротивление земли.

[8]

Недостатком данного устройства является низкая эффективность при защите оптических кабелей с металлическими элементами в районах с высоким удельным сопротивлением земли.

[9]

Сущность изобретения

[10]

Задачей, на реализацию которой направлено данное техническое решение, является создание такого устройства защиты, которые при минимальных затратах позволят повысить эффективность защиты оптической линии связи от грозовых разрядов.

[11]

Для решения поставленной задачи грозозащитный трос, расположенный в горизонтальной плоскости над кабелем, прокладывается на половине глубины прокладки оптического кабеля над кабелем, ось которого совпадает в вертикальной плоскости с осью кабеля связи, который в своей конструкции содержит металлические элементы. При этом на трос в местах соединения строительных длин оптического кабеля с помощью соединительных муфт перпендикулярно трассе в горизонтальной плоскости на вводе и выводе оптического кабеля из соединительной муфты прокладывается линейный заземлитель, длина которого в каждую сторону от грозозащитного троса равна глубине прокладки кабеля, в месте пересечения грозозащитного троса с каждым линейным заземлителем осуществлен физический контакт. Соединение между линейными заземлителями и грозозащитным тросом обеспечивается соединением концов линейных заземлителей, находящихся с противоположных концов линейных заземлителей от троса соединительным линейным заземлителем, причем контакт с тросом соединительного линейного заземлителя осуществляется в середине между линейными заземлителями.

[12]

Перечень фигур

[13]

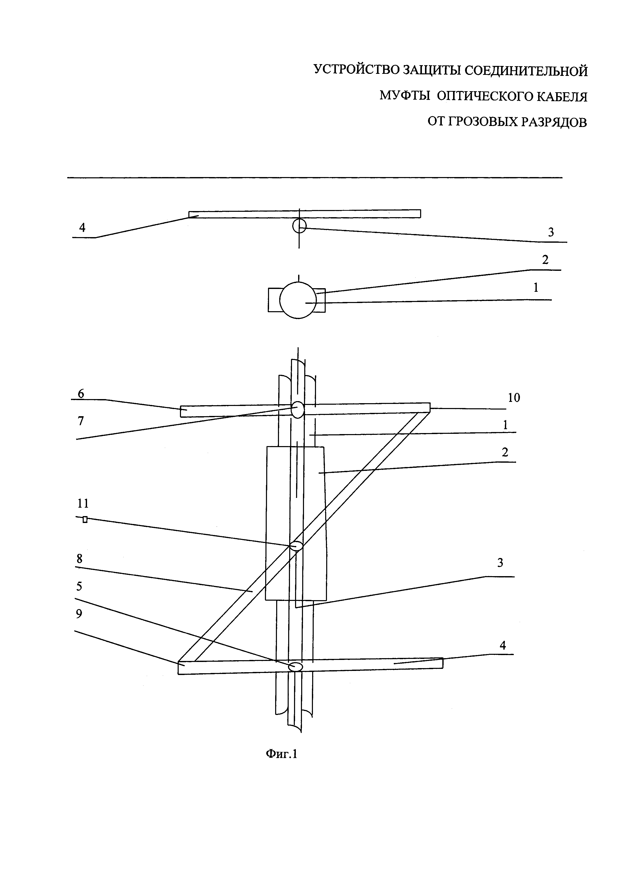
На фиг. 1 представлена конструкция устройства защиты оптического кабеля с металлическими элементами от грозовых разрядов на соединительной муфте.

[14]

Конструкция содержит оптический кабель 1, соединительную муфту 2, грозозащитный трос 3, проложенный над оптическим кабелем, линейный заземлитель 4, физический контакт 5 между грозозащитным тросом 3 и линейным заземлителем 4, линейный заземлитель 6, физический контакт 7 между грозозащитным тросом 3 и линейным заземлителем 6, соединительный линейный заземлитель 8, соединяющий линейный заземлитель 4 в точке 9 и линейный заземлитель 6 в точке 10 и имеющий физический контакт в точке 11 с грозозащитным тросом 3

[15]

Осуществление изобретения

[16]

При ударе молнии в трос 3 или рядом с ним функции защиты принимает на себя и линейный заземлитель 4, защищая от электрического воздействия ввод оптического кабеля в оптическую муфту вместе с тросом, а линейный заземлитель 6 вместе с тросом 3 защищает выход оптического кабеля из соединительной муфты. Соединительный линейный заземлитель 8 вместе с линейными заземлителями 4 и 6 обеспечивают защиту вместе с грозозащитным тросом соединительной муфты 2 оптического кабеля 1. И ток молнии растекается через линейные заземлители 4 и 6 и соединительный линейный заземлитель 8 в землю и по грозозащитному трос через точки физического контакта 5, 7, 11, не проникая к металлическим элементам кабеля и не воздействуя на оптический кабель на участке соединения строительной длины оптического кабеля.

Как компенсировать расходы
на инновационную разработку
Похожие патенты