патент
№ RU 2689780
МПК H04J14/00

ДЕМУЛЬТИПЛЕКСОР СО СПЕКТРАЛЬНЫМ РАЗДЕЛЕНИЕМ КАНАЛОВ

Авторы:
Коренной Кирилл Сергеевич Шигапова Наиля Махмутовна Скочилов Александр Фридрихович
Все (5)
Номер заявки
2018115028
Дата подачи заявки
23.04.2018
Опубликовано
29.05.2019
Страна
RU
Как управлять
интеллектуальной собственностью
Чертежи 
5
Реферат

Изобретение относится к оптике, а именно к демультиплексорам, разделяющим входящий сигнал по длинам волн, и может быть использовано, преимущественно, в качестве оптического элемента в системах телекоммуникаций для спектрального разделения каналов. Техническим результатом изобретения является повышение уровня пропускания сигнала за счет выполнения диспергирующего элемента в виде фокусирующе-диспергирующего элемента и исключения фокусирующего объектива. Для этого в демультиплексоре со спектральным разделением каналов, содержащем последовательно расположенные коллимирующий объектив, фронтальная поверхность которого принимает входящий сигнал от оптоволокна, диспергирующий элемент, выполненный из двух усеченных цилиндров, соединенных между собой соосно торцевыми поверхностями, причем демультиплексор выполнен с возможностью фокусировки выходного сигнала на группе оптоволокон, при этом на одной из соединяемых торцевых поверхностей усеченных цилиндров выполнена пропускающая объемно-фазовая голограммная дифракционная решетка, фронтальная торцевая поверхность первого усеченного цилиндра, расположенная со стороны секущей плоскости, а также соединяемая торцевая поверхность одного из усеченных цилиндров выполнены выпуклыми, а соединяемая торцевая поверхность другого цилиндра и тыльная торцевая поверхность второго усеченного цилиндра, расположенная со стороны секущей плоскости, выполнены вогнутыми. 1 з.п. ф-лы, 5 ил.

Формула изобретения

1. Демультиплексор со спектральным разделением каналов, содержащий последовательно расположенные коллимирующий объектив, фронтальная поверхность которого принимает входящий сигнал от оптоволокна, диспергирующий элемент, выполненный из двух усеченных цилиндров, соединенных между собой соосно торцевыми поверхностями, причем демультиплексор выполнен с возможностью фокусировки выходного сигнала на группе оптоволокон, при этом на одной из соединяемых торцевых поверхностей усеченных цилиндров выполнена пропускающая объемно-фазовая голограммная дифракционная решетка, отличающийся тем, что фронтальная торцевая поверхность первого усеченного цилиндра, расположенная со стороны секущей плоскости, а также соединяемая торцевая поверхность одного из усеченных цилиндров выполнены выпуклыми, а соединяемая торцевая поверхность другого цилиндра и тыльная торцевая поверхность второго усеченного цилиндра, расположенная со стороны секущей плоскости, выполнены вогнутыми, при этом угол между секущей плоскостью и боковой поверхностью первого усеченного цилиндра со стороны фронтальной торцевой поверхности, принимающей входящий сигнал, лежит в диапазоне 83-89°, а угол между секущей плоскостью и боковой поверхностью второго усеченного цилиндра со стороны тыльной торцевой поверхности, фокусирующей выходной сигнал, лежит в диапазоне 65-70°.

2. Демультиплексор по п. 1, отличающийся тем, что пропускающая объемно-фазовая голограммная дифракционная решетка имеет штрихи, которые выполнены криволинейными и неравноотстоящими друг от друга.

Описание

[1]

Изобретение относится к оптике, а именно к демультиплексорам, разделяющим входящий сигнал по длинам волн, и может быть использовано, преимущественно, в качестве оптического элемента в системах телекоммуникаций для спектрального разделения каналов.

[2]

Известен демультиплексор со спектральным разделением каналов, содержащий диспергирующий элемент в виде призмы (статья в журнале Optical Engineering 44 (2), 025006 (February 2005), p. 1-8; «Design and fabrication of a dense wavelength division demultiplexer with grism structure)); Jyh-Rou Sze, Mao-Hong Lu).

[3]

Основным недостатком аналога является низкое качество изображения, обусловленное тем, что в качестве диспергирующего элемента используется призма, на одну из сторон которой нанесена решетка методом алмазного точения, из-за чего возникают, так называемые, «духи Лаймана» и «духи Роуланда», существенно снижающие качество изображения.

[4]

Также недостатком известного демультиплексора является повышенный уровень рассеянного света из-за дифракционной решетки, изготовленной методом алмазного точения, что приводит к снижению эффективности передачи сигнала.

[5]

Прототипом является демультиплексор со спектральным разделением каналов, содержащий последовательно расположенные оптоволокно для передачи входящего неразделенного сигнала, коллимирующий объектив, диспергирующий элемент, выполненный из двух усеченных цилиндров, соединенных между собой соосно торцевыми поверхностями, при этом на соединяемой торцевой поверхности второго усеченного цилиндра выполнена пропускающая объемно-фазовая голограммная дифракционная решетка, фокусирующий объектив и плоскость изображения, которая принимает выходящий разделенный сигнал («Особенности разработки дисперсионных оптических элементов (гризм) для систем телекоммуникаций», Белокопытов А.А., Коренной К.С, Шигапова Н.М. Сборник работ конференции «Оптические технологии в телекоммуникациях», 2014, УДК 681.7-1/-9, с. 146, рис. 2).

[6]

В прототипе, за счет использования пропускающей объемно-фазовой голограммной дифракционной решетки, отсутствуют так называемые «духи Лаймана» и «духи Роуланда», а уровень рассеянного света является минимальным.

[7]

Основным недостатком прототипа является существенное уменьшение уровня пропускания сигнала из-за наличия плоских торцевых поверхностей в усеченных цилиндрах диспергирующего элемента, что в конечном итоге приводит к необходимости применения фокусирующего объектива.

[8]

Также недостатками прототипа являются высокое значение астигматизма для выбранной центральной длины волны из-за штрихов дифракционной решетки, выполненных прямолинейными и равноотстоящими друг от друга, что приводит к увеличению пятна рассеяния, а также низкая эффективность ввода сигнала из-за неоптимизированных параметров угла между секущей плоскостью и боковой поверхностью первого усеченного цилиндра, принимающего входящий сигнал, и угла между секущей плоскостью и боковой поверхностью второго усеченного цилиндра.

[9]

Основным техническим результатом изобретения является повышение уровня пропускания сигнала за счет выполнения диспергирующего элемента в виде фокусирующе-диспергирующего элемента и исключения фокусирующего объектива.

[10]

Также техническим результатом является исправление астигматизма для выбранной центральной длины волны с повышением эффективности ввода сигнала.

[11]

Основной технический результат достигается тем, что в демультиплексоре со спектральным разделением каналов, содержащем последовательно расположенные коллимирующий объектив, фронтальная поверхность которого принимает входящий сигнал от оптоволокна, диспергирующий элемент, выполненный из двух усеченных цилиндров, соединенных между собой соосно торцевыми поверхностями, причем демультиплексор выполнен с возможностью фокусировки выходного сигнала на группе оптоволокон, при этом на одной из соединяемых торцевых поверхностей усеченных цилиндров выполнена пропускающая объемно-фазовая голограммная дифракционная решетка, согласно настоящему изобретению, фронтальная торцевая поверхность первого усеченного цилиндра, расположенная со стороны секущей плоскости, а также соединяемая торцевая поверхность одного из усеченных цилиндров выполнены выпуклыми, а соединяемая торцевая поверхность другого цилиндра и тыльная торцевая поверхность второго усеченного цилиндра, расположенная со стороны секущей плоскости, выполнены вогнутыми, при этом угол между секущей плоскостью и боковой поверхностью первого усеченного цилиндра со стороны фронтальной торцевой поверхности, принимающей входящий сигнал, лежит в диапазоне 83°-89°, а угол между секущей плоскостью и боковой поверхностью второго усеченного цилиндра со стороны тыльной торцевой поверхности, фокусирующей выходной сигнал, лежит в диапазоне 65°-70°.

[12]

Технический результат достигается также тем, что пропускающая объемно-фазовая голограммная дифракционная решетка имеет штрихи, которые выполнены криволинейными и неравноотстоящими друг от друга.

[13]

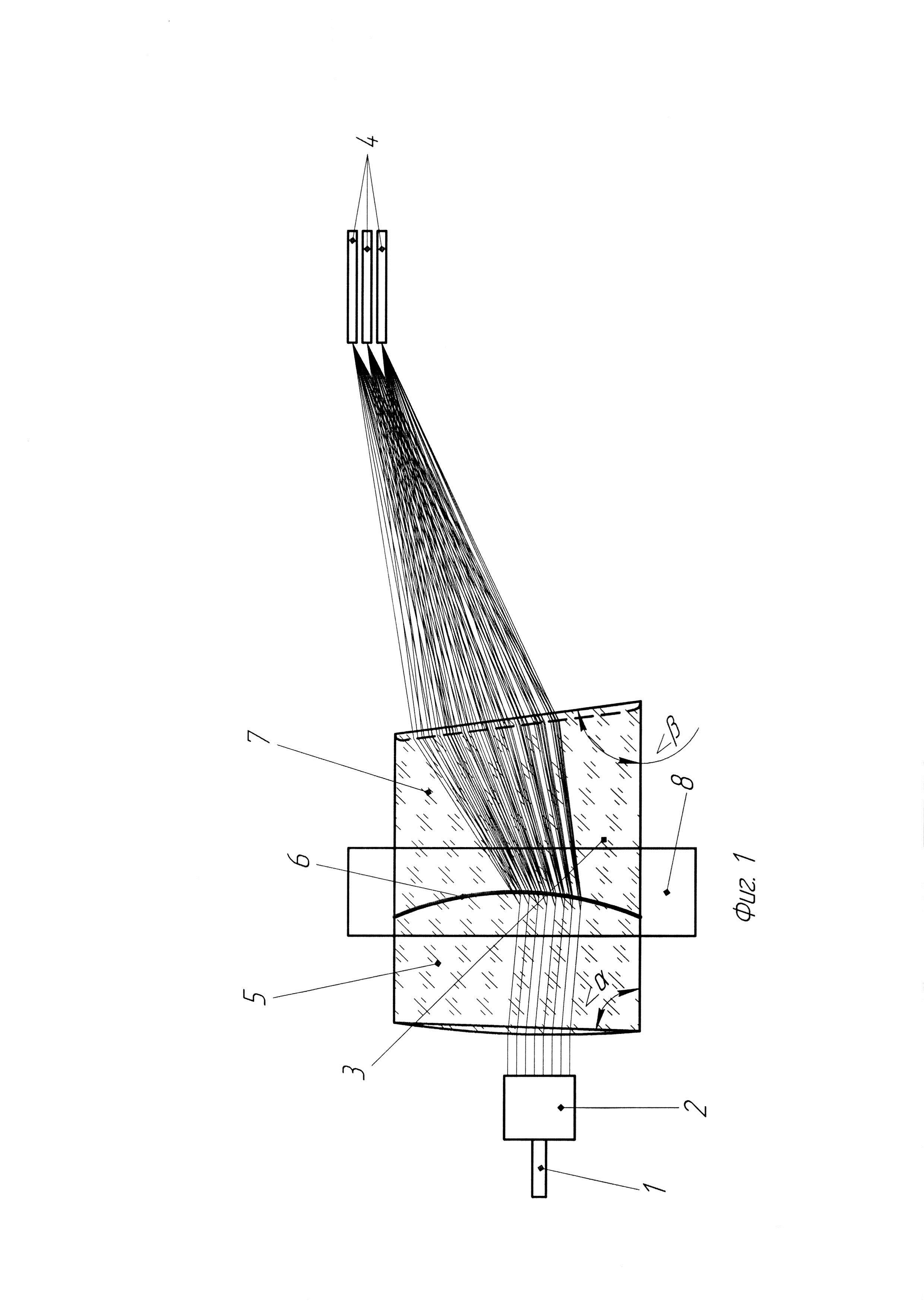
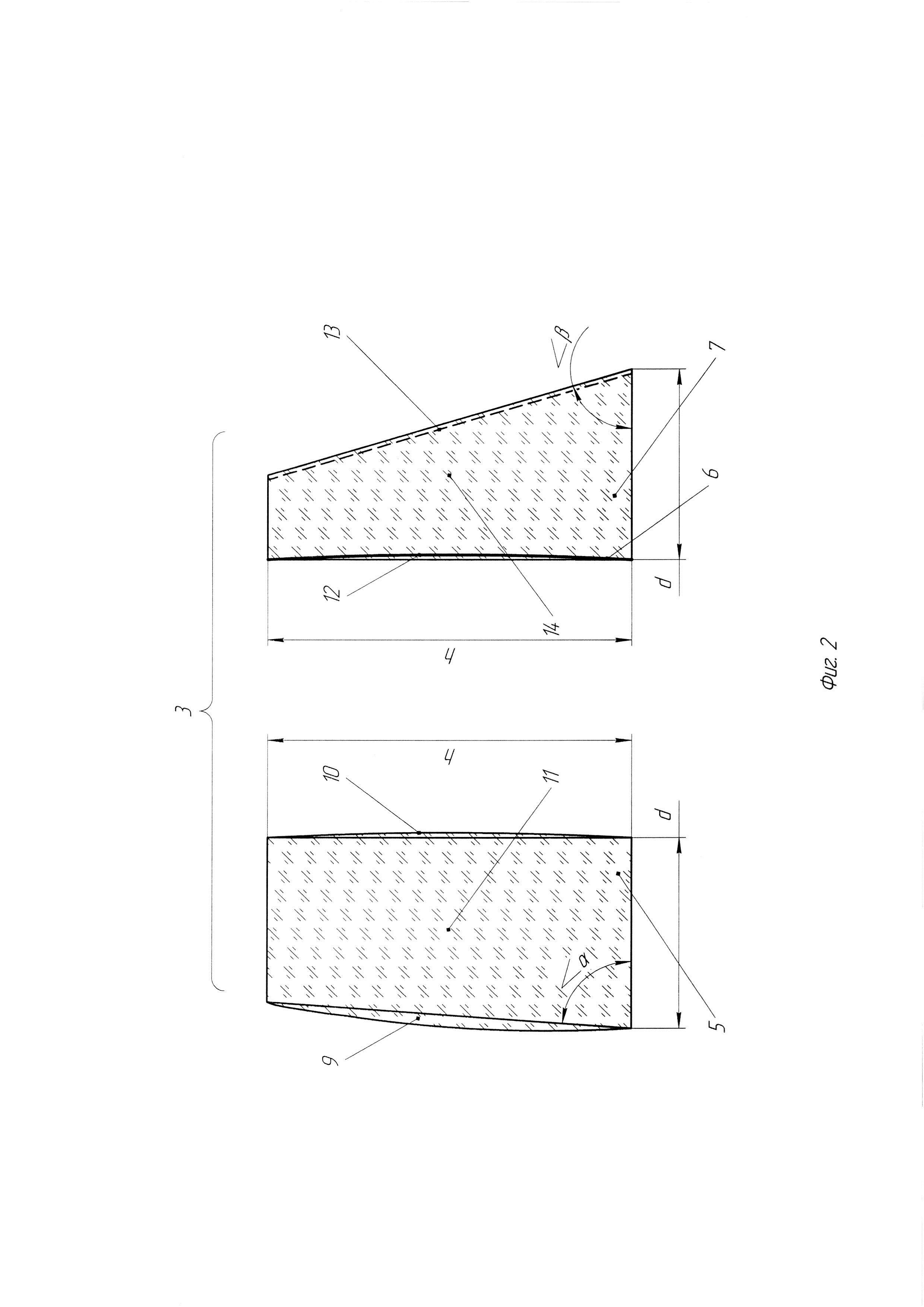
Сущность изобретения поясняется чертежами, где на фиг. 1 изображен предлагаемый демультиплексор со спектральным разделением каналов, на фиг. 2 - составные части диспергирующего элемента, на фиг. 3 - штрихи пропускающей объемно-фазовой голограммной дифракционной решетки, на фиг. 4 - диаграмма пятна рассеяния для центральной длины волны демультиплексора со спектральным разделением каналов, полученная в программе ZEMAX, на фиг. 5 - геометрический анализ изображения, характеризующий эффективность ввода сигнала в группу оптоволокон, передающих разделенный сигнал, полученный в программе ZEMAX.

[14]

На фиг. 1, 2, 3 элементы и узлы демультиплексора со спектральным разделением каналов обозначены следующими позициями:

[15]

1 - Оптоволокно, передающее входящий неразделенный сигнал,

[16]

2 - Коллимирующий объектив,

[17]

3 - Диспергирующий элемент,

[18]

4 - Группа оптоволокон, передающая разделенный сигнал,

[19]

5 - Первый усеченный цилиндр,

[20]

6 - Пропускающая объемно-фазовая голограммная дифракционная решетка,

[21]

7 - Второй усеченный цилиндр,

[22]

8 - Оправа,

[23]

9 - Фронтальная торцевая поверхность первого усеченного цилиндра (принимающая входящий сигнал),

[24]

10 - Соединяемая торцевая поверхность первого усеченного цилиндра,

[25]

11 - Боковая поверхность первого усеченного цилиндра,

[26]

12 - Соединяемая торцевая поверхность второго усеченного цилиндра (на которой выполнена пропускающая объемно-фазовая голограммная дифракционная решетка),

[27]

13 - Тыльная торцевая поверхность второго усеченного цилиндра (фокусирующая выходящий сигнал),

[28]

14 - Боковая поверхность второго усеченного цилиндра,

[29]

15 - Штрихи пропускающей объемно-фазовой голограммной дифракционной решетки.

[30]

Демультиплексор со спектральным разделением каналов содержит последовательно расположенные коллимирующий объектив 2, фронтальная поверхность которого принимает входящий неразделенный сигнал от оптоволокна 1, диспергирующий элемент 3, выполненный из двух усеченных цилиндров 5 и 7, соединенных между собой соосно торцевыми поверхностями 10 и 12, причем демультиплексор выполнен с возможностью фокусировки выходного сигнала на группе оптоволокон 4 для передачи выходящего разделенного сигнала, при этом на одной из соединяемых торцевых поверхностей усеченных цилиндров, например на соединяемой торцевой поверхности 12 второго усеченного цилиндра 7, выполнена пропускающая объемно-фазовая голограммная дифракционная решетка 6.

[31]

Отличием предлагаемого демультиплексора со спектральным разделением каналов является то, что фронтальная торцевая поверхность 9 первого усеченного цилиндра 5, расположенная со стороны секущей плоскости, а также соединяемая торцевая поверхность одного из усеченных цилиндров выполнены выпуклыми, а соединяемая торцевая поверхность другого цилиндра и тыльная торцевая поверхность 13 второго усеченного цилиндра 7, расположенная со стороны секущей плоскости выполнены вогнутыми.

[32]

Пропускающая объемно-фазовая голограммная дифракционная решетка 6 имеет штрихи 15, которые могут быть выполнены криволинейными и неравноотстоящими друг от друга. Угол α между секущей плоскостью и боковой поверхностью 11 первого усеченного цилиндра 5 со стороны фронтальной торцевой поверхности 9, принимающей входящий сигнал, лежит в диапазоне 83°-89°, а угол β между секущей плоскостью и боковой поверхностью 14 второго усеченного цилиндра 7 со стороны тыльной торцевой поверхности 13, фокусирующей выходной сигнал, лежит в диапазоне 65°-70°.

[33]

Указанные выше оптимальные диапазоны углов α и β определены в результате компьютерного моделирования исходя из геометрических параметров и выбора материалов усеченных цилиндров 5, 7 и пропускающей объемно-фазовой голограммной дифракционной решетки 6.

[34]

Пример конкретного выполнения.

[35]

Демультиплексор со спектральным разделением каналов содержит оптоволокно 1 для передачи входящего неразделенного сигнала, коллимирующий объектив 2, диспергирующий элемент 3 и группу оптоволокон 4 для передачи выходящего разделенного сигнала (фиг. 1).

[36]

К оптоволокну 1 (например, волокно ММ(105/125)0,15, ООО «Специальные Системы. Фотоника») присоединен через SMA разъем коллимирующий объектив 2 для создания коллимированного излучения.

[37]

Оптоволокно 1 имеет следующие характеристики:

[38]

1) Рабочий спектральный диапазон: 800-1750 нм;

[39]

2) Числовая апертура: 0,13-0,17;

[40]

3) Диаметр сердцевины: 105 мкм;

[41]

4) Затухание: ≤20 дБ/км.

[42]

Коллимирующий объектив 2 имеет следующие характеристики:

[43]

1) Рабочий спектральный диапазон: 1050-1620 нм;

[44]

2) Фокусное расстояние 75 мм;

[45]

3) Числовая апертура: 0,16.

[46]

Рабочий спектральный диапазон диспергирующего элемента 3 составляет от 1471 нм до 1611 нм. Диспергирующий элемент 3 выполнен в виде склейки двух элементов: первого усеченного цилиндра 5, секущая плоскость которого по отношению к боковой поверхности 11 цилиндра расположена под углом α, выбираемым в диапазоне 83°-89°, и второго усеченного цилиндра 7, секущая плоскость которого по отношению к боковой поверхности 14 цилиндра расположена под углом β, выбираемым в диапазоне 65°-70°, при этом на соединяемой торцевой поверхности 12 второго усеченного цилиндра 7 выполнена пропускающая объемно-фазовая голограммная дифракционная решетка 6.

[47]

Каждый из усеченных цилиндров 5 и 7 диспергирующего элемента 3 выполнен из сорта стекла TF-7 фирмы ЛЗОС. Фронтальная торцевая поверхность 9 первого усеченного цилиндра 5, принимающая входящий сигнал, и тыльная торцевая поверхность 13 второго усеченного цилиндра 7, фокусирующая выходящий сигнал, имеют просветляющее покрытие для выбранного диапазона длин волн, которое обеспечивает уменьшение коэффициента отражения торцевых поверхностей 9 и 13.

[48]

Торцевые поверхности 9, 10 выполнены выпуклыми, а соединяемая торцевая поверхность 12 второго усеченного цилиндра 7 и тыльная торцевая поверхность 13 второго усеченного цилиндра 7 выполнены вогнутыми.

[49]

Фронтальная торцевая поверхность 9 первого усеченного цилиндра 5 (принимающая входящий сигнал) и тыльная торцевая поверхность 13 второго усеченного цилиндра 7 (фокусирующая выходящий сигнал) имеют асферическую форму. Первый усеченный цилиндр 5 соединяется со вторым усеченным цилиндром 7 при помощи специального оптического клея ОК-50. Склеиваемые торцевые поверхности 10 и 12 имеют сферическую форму, при этом склеиваемая поверхность 10 первого усеченного цилиндра имеет выпуклую форму, а склеиваемая поверхность 12 второго усеченного цилиндра - вогнутую. Радиус кривизны склеиваемых торцевых поверхностей 10 и 12 усеченных цилиндров равен 79,791 мм.

[50]

Оба усеченных цилиндра 5 и 7 имеют в наибольшей части толщину d, равную 15 мм, высоту h, равную 28 мм, при этом угол α между секущей плоскостью и боковой поверхностью 11 первого усеченного цилиндра 5 со стороны фронтальной торцевой поверхности 9, принимающей входящий сигнал, равен 89°, а угол β между секущей плоскостью и боковой поверхностью 14 второго усеченного цилиндра 7 со стороны тыльной торцевой поверхности 13, фокусирующей выходной сигнал, равен 67°.

[51]

На соединяемой торцевой поверхности 12 второго усеченного цилиндра 7 нанесен слой бихромированной желатины (БХЖ), при этом на слое БХЖ с помощью лазера записывается интерференционная картина, в результате чего образуется пропускающая объемно-фазовая голограммная дифракционная решетка 6.

[52]

Пропускающая объемно-фазовая голограммная дифракционная решетка 6 записана с помощью двух когерентных источников, лучи которых имеют сферический волновой фронт, при этом один из них располагается в центре кривизны поверхности решетки, а второй - в произвольном месте записи интерференционной картины от двух когерентных источников со сферическим волновым фронтом (более подробна технология записи дифракционных решеток изложена в книге: Лебедева В.В. Техника оптической спектроскопии. - М.: Изд-во Моск. ун-та. 1977. - 384 с.).

[53]

Пропускающая объемно-фазовая голограммная дифракционная решетка 6 является объемной, а не рельефной, поскольку рельефную решетку нельзя склеивать.

[54]

Полученная пропускающая объемно-фазовая голограммная дифракционная решетка 6 имеет штрихи 15, которые являются криволинейными и неравноотстоящими друг от друга, причем шаг штрихов и радиус кривизны штрихов решетки определяют по следующим формулам:

[55]

е=е0×(m×у+n×у2+k×у3)×r=r0+р×у,

[56]

где:

[57]

е - шаг штрихов, мкм;

[58]

е0 - шаг штрихов в центре решетки, мкм;

[59]

m, n, k - коэффициенты неравномерности шага штрихов;

[60]

у - координата решетки;

[61]

r - радиус кривизны штрихов решетки, мм;

[62]

r0 - радиус кривизны штрихов в вершине решетки, мм;

[63]

р - коэффициент, характеризующий изменения радиуса кривизны штрихов решетки.

[64]

В примере конкретного исполнения:

[65]

1) е0=0,0227318 мкм

[66]

2) m=-0,334193

[67]

n=0,126372

[68]

k=-0,04776

[69]

3) r0=-1,867 мм

[70]

4) р=0,5225

[71]

Демультиплексор со спектральным разделением каналов позволяет значительно увеличить уровень пропускания сигнала за счет того, что диспергирующий элемент 3 является фокусирующе-диспергирующим элементом. Диспергирующий элемент 3 юстируется и закрепляется при помощи пластиковой оправы 8, при этом, по сравнению с прототипом, благодаря исключению фокусирующего объектива и соединению оптоволокна 1 с коллимирующим объективом 2 достигается упрощение юстировки. Демультиплексор со спектральным разделением каналов имеет характеристики, которые показаны на фиг. 4, 5.

[72]

На фиг. 4 показана диаграмма пятна рассеяния для центральной длины волны 1,551 мкм. В результате анализа диаграммы пятна рассеяния можно сделать вывод, что предлагаемый демультиплексор со спектральным разделением каналов имеет исправленный астигматизм для центральной длины волны по сравнению с прототипом.

[73]

На фиг. 5 показан геометрический анализ изображения, характеризующий эффективность ввода сигнала в группу оптоволокон 4, передающих выходящий разделенный сигнал. Демультиплексор со спектральным разделением каналов с параметрами, указанными выше, имеет эффективность ввода сигнала 81,7%.

[74]

Демультиплексор со спектральным разделением каналов работает следующим образом.

[75]

На фронтальную торцевую поверхность 9, падает входящий неразделенный сигнал, содержащий в себе несколько длин волн, который коллимируется при помощи коллимирующего объектива 2.

[76]

Коллимированный сигнал, попадая на фронтальную торцевую поверхность 9 первого усеченного цилиндра 5, преломляется в зависимости от длины волны за счет дисперсии оптического материала.

[77]

Оптический путь сигнала, проходящего через первый усеченный цилиндр 5, зависит от вида оптического материала усеченного цилиндра 5 диспергирующего элемента 3, радиуса кривизны фронтальной торцевой поверхности 9, принимающей входящий сигнал и т.д.

[78]

После прохождения сигнала через первый усеченный цилиндр 5 диспергирующего элемента 3, он попадает на границу раздела «первый усеченный цилиндр 5 - пропускающая объемно-фазовая голограммная дифракционная решетка 6». Сигнал преломляется и, попадая на пропускающую объемно-фазовую голограммную дифракционную решетку 6, разлагается на несколько сигналов по длинам волн. После прохождения этих сигналов через пропускающую объемно-фазовую голограммную дифракционную решетку 6, сигналы поступают во второй усеченный цилиндр 7 диспергирующего элемента 3 и снова преломляются. Далее сигналы, пройдя через второй усеченный цилиндр 7 диспергирующего элемента 3, фокусируются на группе оптоволокон 4, передающих выходящий разделенный сигнал, причем положения фокусов, аберрационные характеристики, размеры пятен рассеяния зависят от параметров усеченных цилиндров 5 и 7 диспергирующего элемента 3 и пропускающей объемно-фазовой голограммной дифракционной решетки 6, таких как: радиусы кривизны и формы торцевых поверхностей 9, 10, 12 и 13 усеченных цилиндров 5 и 7, материалы усеченных цилиндров 5, 7 и пропускающей объемно-фазовой голограммной дифракционной решетки 6, параметр криволинейности и коэффициент шага штрихов 15 пропускающей объемно-фазовой голограммной дифракционной решетки 6, углов α и β усеченных цилиндров, соответственно, 5 и 7.

[79]

Использование предлагаемого демультиплексора со спектральным разделением каналов позволит значительно увеличить уровень пропускания сигнала, а также исправить астигматизм для выбранной центральной длины волны, повысить эффективность ввода сигнала в группу оптоволокон, передающих выходящий разделенный сигнал за счет предлагаемой совокупности отличительных признаков изобретения.

Как компенсировать расходы
на инновационную разработку
Похожие патенты