патент
№ RU 2593416
МПК H01L21/60

СПОСОБ ИЗГОТОВЛЕНИЯ МЕЖСОЕДИНЕНИЙ ПОЛУПРОВОДНИКОВЫХ ПРИБОРОВ

Авторы:
Рыгалин Борис Николаевич Громов Дмитрий Геннадьевич Шулятьев Алексей Сергеевич
Все (5)
Номер заявки
2015128596/28
Дата подачи заявки
15.07.2015
Опубликовано
10.08.2016
Страна
RU
Как управлять
интеллектуальной собственностью
Чертежи 
2
Реферат

Использование: для изготовления многоуровневой системы межсоединений кремниевой интегральной схемы. Сущность изобретения заключается в том, что способ изготовления межсоединений полупроводниковых приборов, включающий формирование частиц нанометрового размера на поверхности, выращивание наноматериала на указанных частицах нанометрового размера, осаждение на подложку проводящего материала, формирование композитного материала из наноматериала и проводящего материала, формирование изолированных друг от друга межсоединений, перед формированием частиц нанометрового размера производится нанесение слоя сплава, который содержит компонент для формирования частиц нанометрового размера, представляющий собой элемент или комбинацию элементов из I и/или VIII группы, и компонент для формирования диффузионно-барьерного слоя, представляющий собой переходный металл или комбинацию переходных металлов из IV-VI групп Периодической таблицы элементов, и термическое воздействие на него. Технический результат: обеспечение возможности упрощения технологии формирования межсоединений прибора, повышения стойкости к электромиграции при высоких плотностях тока, повышения термической стабильности межсоединений. 6 з.п. ф-лы, 2 ил.

Формула изобретения

1. Способ изготовления межсоединений полупроводниковых приборов, включающий формирование частиц нанометрового размера на поверхности, выращивание наноматериала на указанных частицах нанометрового размера, осаждение на подложку проводящего материала, формирование композитного материала из наноматериала и проводящего материала, формирование изолированных друг от друга межсоединений, отличающийся тем, что перед формированием частиц нанометрового размера производится нанесение слоя сплава, который содержит компонент для формирования частиц нанометрового размера, представляющий собой элемент или комбинацию элементов из I и/или VIII группы, и компонент для формирования диффузионно-барьерного слоя, представляющий собой переходный металл или комбинацию переходных металлов из IV-VI групп Периодической таблицы элементов, и термическое воздействие на него.

2. Способ по п. 1, отличающийся тем, что компонент сплава для формирования частиц нанометрового размера одновременно является компонентом контактного слоя силицида, и далее из указанного сплава формируется силицидный контакт к активной области полупроводникового прибора и частицы нанометрового размера.

3. Способ по п. 1, отличающийся тем, что слой сплава содержит дополнительный элемент или элементы, которые взаимодействуют с переходным металлом из IV-VI групп Периодической таблицы элементов.

4. Способ по п. 3, отличающийся тем, что дополнительный элемент или элементы выбирают из группы азот, углерод, бор.

5. Способ по п. 1, отличающийся тем, что наноматериал, выращиваемый на указанных частицах нанометрового размера, может быть в виде нанотрубок или нанопроволок.

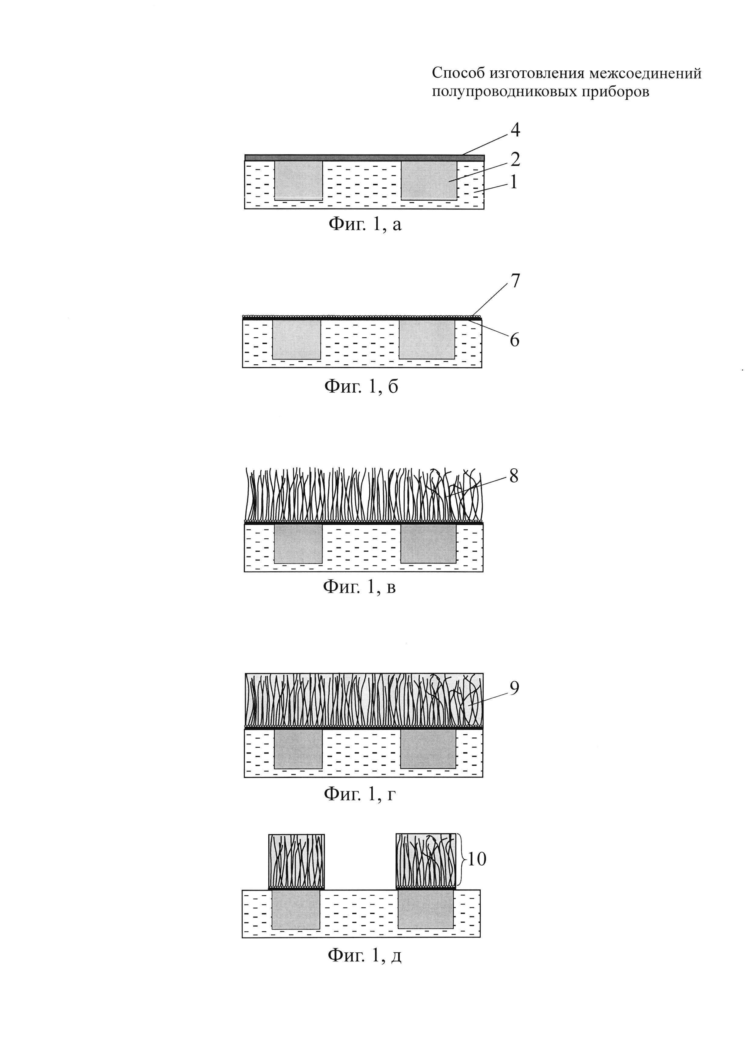
6. Способ по п. 5 отличающийся тем, что нанотрубки или нанопроволоки состоят из углерода.

7. Способ по п. 1, отличающийся тем, что основу проводящего материала составляет металл из группы Ag, Cu, Au, Al, Mo, W, Со, Ni, Fe.

Описание

[1]

Областью применения изобретения является микро- и наноэлектроника, где используются изолированные диэлектриком проводники. В частности, изобретение может быть использовано для изготовления многоуровневой системы межсоединений кремниевой интегральной схемы (ИС), особенно в случае, если они эксплуатируются при высоких температурах.

[2]

Для создания многоуровневой системы межсоединений используются два основных подхода. Первый - это формирование сплошного слоя материала межсоединений, а далее его травление через маску, в результате чего образуются межсоединения 1-го уровня, формирование межуровневого диэлектрического слоя, заполняющего, в том числе, пространство между межсоединениями, формирование контактных колодцев и их заполнение проводящим материалом, в результате чего формируются межуровневые межсоединения и далее повторение операций для формирования следующего уровня межсоединений. Второй - это так называемая технология «damascene», которая включает формирование в диэлектрическом слое углублений, являющихся переходными колодцами и траншеями, осаждение диффузионно-барьерного слоя на поверхности диэлектрика, дне и боковых стенках углублений, заполнение углублений проводящим материалом, химико-механическую полировку для удаления проводящего материала с поверхности диэлектрика и планаризации рельефа, не затрагивая проводящего материала в углублениях [1, 2].

[3]

Уменьшение размеров элементов, обусловленное стремлением повысить быстродействие интегральных схем, приводит к уменьшению поперечного сечения межсоединений, увеличению их общей длины, повышению степени интеграции элементов и увеличению плотностей токов, протекающих через них. В настоящее время промышленностью освоены или осваиваются технологические нормы размеров 45, 32, 22, 16, 11 нм, таким образом, размеры сечения межсоединения на нижнем уровне относится к нанометровому диапазону. При этом в таких межсоединениях возникают плотности тока порядка 106-107 А/см2. Одновременно с этим на верхнем последнем уровне разводки размеры сечения межсоединений составляют единицы микрон.

[4]

В свою очередь, повышение плотностей токов и возрастание степени интеграции элементов вызывает увеличение выделения количество тепла с единицы площади поверхности ИС. Это тепло должно эффективно отводиться от кристалла. В случае перегрева кристалла в локальной области может начаться процесс быстрой деградации свойств элементов разводки. Данная проблема усложняется тем, что при повышении температуры межсоединения повышается его удельное сопротивление и, как следствие, выделение тепла возрастает еще больше, что приводит к возникновению процесса электромиграции и деградации элементов разводки, вплоть до разрыва контакта.

[5]

Известны ИС, работающие при повышенных температурах [3], в которых все отмеченные проблемы усугубляются еще более с добавлением проблем увеличения удельного сопротивления из-за наличия у проводников положительного температурного коэффициента сопротивления и различия в температурных коэффициентах объемного (линейного) расширения.

[6]

Известно техническое решение проблемы, в котором способ изготовления межсоединений полупроводникового прибора включает в себя формирование углублений в виде контактных колодцев в изоляторе, процесс осаждения каталитического материала на дно контактных колодцев, процесс роста углеродных нанотрубок или нанонитей только внутри контактного колодца [4]. Это очень слабо решает поставленную проблему, поскольку основную протяженность разводки (~1-2 км) в интегральной схеме составляют горизонтальные межсоединения, формируемые в углублениях в виде траншей.

[7]

Наиболее близким техническим решением проблемы является способ изготовления межсоединений полупроводникового прибора, включающий в себя формирование в изолирующем слое кремниевой структуры, в которой выполнены полупроводниковые приборы, формирование частиц нанометрового размера, выращивание наноматериала на указанных частицах нанометрового размера, заполнение пустоты в наноматериале проводящим материалом, формирование композитного материала из наноматериала и проводящего материала, планаризацию поверхности кремниевой структуры, оставляя нанесенные материалы только в углублениях [5].

[8]

Особенностью данного способа является то, что каталитический материал, на котором имеет место рост наноструктуры, формируется в виде частиц нанометрового размера. Поэтому последующий рост наноструктуры происходит в виде, в частности, углеродных нанотрубок или нанопроволок. Преимущества данного способа состоят в том, что углеродные нанотрубки (УНТ) способны выдерживать плотность тока до 1012 А/см2, в то время как для медного межсоединения опасной является уже плотность тока 106 А/см2[6, 7, 8]. Кроме того, УНТ имеют на порядок большую теплопроводность и вследствие этого обеспечивают более эффективный отвод тепла, также УНТ обладают так называемой баллистической проводимостью (их сопротивление не зависит от длины) и не нагреваются при пропускании через них электрического тока [6, 9].

[9]

Недостатком способа-прототипа является то, что для капсулирования межсоединения сперва наносится диффузионно-барьерный слой, а потом поверх него формируется массив наночастиц катализатора. При этом другой недостаток способа-прототипа состоит в том, что формирование массива наночастиц катализатора однородных по размеру на поверхности со сложным рельефом - это технологически трудно реализуемая задача. Как известно, размер наночастиц определяется количеством конденсируемого на поверхность вещества: чем меньше количество конденсируемого вещества, тем меньше средний размер наночастиц в массиве. По этой причине из-за разброса скорости осаждения по площади поверхности подложки, который усиливается с увеличением ее диаметра, размеры наночастиц и их плотность будут различаться на различных участках площади поверхности подложки. Следовательно УНТ, выращенные на различных участках площади поверхности подложки, также будут различаться, что делает формируемый в конечном итоге композитный материал межсоединения неоднородным, что сказывается на термической стабильности межсоединений и на количестве годных изделий, снимаемых с одной подложки.

[10]

Задачей настоящего изобретения является упрощение технологии формирования межсоединений полупроводникового прибора, повышение стойкости к электромиграции при высоких плотностях тока и повышение термической стабильности межсоединений.

[11]

Для достижения названного технического результата в способе изготовления межсоединений полупроводникового прибора, включающем формирование частиц нанометрового размера на поверхности, выращивание наноматериала на указанных частицах нанометрового размера, осаждение на подложку проводящего материала, формирование композитного материала из наноматериала и проводящего материала, формирование изолированных друг от друга межсоединений, перед формированием частиц нанометрового размера производится нанесение слоя сплава, который содержит компонент для формирования частиц нанометрового размера, представляющий собой элемент или комбинацию элементов из I и/или VIII группы, и компонент для формирования диффузионно-барьерного слоя, представляющий собой переходный металл или комбинацию переходных металлов из IV-VI групп Периодической таблицы элементов, и термическое воздействие на него.

[12]

Таким образом, отличительными признаками изобретения является то, что перед формированием частиц нанометрового размера производится нанесение слоя сплава, который содержит компонент для формирования частиц нанометрового размера, представляющий собой элемент или комбинацию элементов из I и/или VIII группы, и компонент для формирования диффузионно-барьерного слоя, представляющий собой переходный металл или комбинацию переходных металлов из IV-VI групп Периодической таблицы элементов, и термическое воздействие на него.

[13]

Нанесение слоя сплава позволяет при термическом воздействии выдавить компонент для формирования частиц нанометрового размера на поверхность и сформировать эти частицы, в результате чего сплав обедняется этим компонентом и используется как диффузионно-барьерный слой. Кроме того, известно, что металлы I и VIII групп или их комбинация периодической системы являются катализаторами гетерогенного процесса роста наноструктур типа нанотрубки, нанопроволоки, наноремни и т.д. из газовой фазы, а переходные металлы из IV-VI групп Периодической таблицы и их сплавы обладают хорошими диффузионно-барьерными свойствами.

[14]

Такая совокупность отличительных признаков позволяет решить поставленные задачи и устранить недостатки способа-прототипа, добиться упрощения технологии формирования межсоединений полупроводникового прибора, повышения стойкости к электромиграции при высоких плотностях тока и повышения термической стабильности межсоединений.

[15]

Если межсоединения формируются на первом уровне, то указанный сплав может быть использован как для формирования частиц нанометрового размера и диффузионно-барьерный слоя, так и одновременно для формирования контактного слоя силицида, когда компонент сплава для формирования частиц нанометрового размера выдавливается на поверхность, формируя частицы нанометрового размера, а также на межфазную границу с кремнием, где он вступает с ним в реакцию, образуя еще и силицидный контактный слой, в результате чего сплав обедняется этим компонентом и используется как диффузионно-барьерный слой.

[16]

Таким образом, отличительным признаком изобретения является то, что компонент сплава для формирования частиц нанометрового размера одновременно является компонентом для контактного слоя силицида, и далее из указанного слоя сплава формируется силицидный контакт к активной области полупроводникового прибора и частицы нанометрового размера.

[17]

Согласно термодинамическим оценкам соединения переходных металлов из IV-VI групп Периодической таблицы с другими элементами усиливают диффузионно-барьерные свойства благодаря снижению энергии системы.

[18]

Таким образом, отличительным признаком изобретения является то, что слой сплава содержит дополнительный элемент или элементы, которые взаимодействуют с переходным металлом из IV-VI групп Периодической таблицы элементов.

[19]

Среди различных соединений переходных металлов из IV-VI групп Периодической таблицы с дополнительным элементом или элементами эффективными диффузионно-барьерными свойствами обладают нитриды, карбиды, бориды.

[20]

Таким образом, отличительным признаком изобретения является то, что дополнительный элемент или элементы, которые взаимодействуют с переходным металлом из IV-VI групп Периодической таблицы, выбирают из группы азот, углерод, бор.

[21]

Предпочтительно, чтобы наноматериал, выращиваемый на указанных частицах нанометрового размера, был в виде нанотрубок или нанопроволок, поскольку известно, что такого рода материалы обладают более высокими прочностными характеристиками.

[22]

Таким образом, отличительным признаком изобретения является то, что наноматериал, выращиваемый на указанных частицах нанометрового размера, может быть в виде нанотрубок или нанопроволок.

[23]

Желательно, чтобы наноматериал, выращиваемый на указанных частицах нанометрового размера, был в виде углеродных нанотрубок, поскольку данный материал обладает высокой теплопроводностью, высокой прочностью, низким температурным коэффициентом сопротивления.

[24]

Таким образом, отличительным признаком изобретения является то, что нанотрубки или нанопроволоки состоят из углерода.

[25]

Целесообразно, чтобы основу проводящего материала, который заполняет пространство внутри наноматериала, составлял металл с низким удельным сопротивлением. Среди металлов наиболее низким удельным сопротивлением обладают Ag, Cu, Au, Al, Mo, W, Со, Ni, Fe.

[26]

Таким образом, отличительным признаком изобретения является то, что основу проводящего материала составляет металл из группы Ag, Cu, Au, Al, Mo, W, Со, Ni, Fe.

[27]

На фиг. 1 приведены этапы предлагаемого способа изготовления межсоединений полупроводникового прибора.

[28]

На фиг. 1,а представлен разрез структуры после нанесения слоя сплава 4, содержащего компоненты для формирования частиц нанометрового размера и одновременно являющегося диффузионно-барьерным слоем, поверх нижележащих межсоединений 2, расположенных в изолирующем слое 1.

[29]

На фиг. 1,б представлен разрез структуры после термического воздействия на нее, в результате которого один из компонентов сплава выдавливается на поверхность, формируя частицы нанометрового размера 7, а оставшийся слой сплава становится диффузионно-барьерным слоем 6.

[30]

На фиг. 1,в представлен разрез структуры после выращивания наноматериала 8 в виде углеродных нанотрубок на указанных частицах нанометрового размера.

[31]

На фиг. 1,г представлен разрез структуры после заполнения оставшегося пространства внутри наноматериала 8 проводящим материалом 9.

[32]

На фиг. 1,д представлен разрез структуры после формирования композитного материала из наноматериала и проводящего материала и формирование изолированных друг от друга межсоединений 10.

[33]

На фиг. 2 приведены этапы предлагаемого способа изготовления межсоединений полупроводникового прибора с одновременным формированием контактного слоя к полупроводнику.

[34]

На фиг. 2,а представлен разрез структуры после нанесения слоя сплава 4, содержащего компоненты для формирования частиц нанометрового размера и одновременно являющегося диффузионно-барьерным слоем, поверх полупроводника 11 с активными областями 12, маскированного диэлектрическим слоем 13.

[35]

На фиг. 2,б представлен разрез структуры после термического воздействия на нее, в результате которого один из компонентов сплава выдавливается на поверхность, формируя частицы нанометрового размера 7 и на межфазную границу с полупроводником, где он взаимодействует с ним и образует контактный слой 14, а оставшийся слой сплава становится диффузионно-барьерным слоем 6.

[36]

На фиг. 2,в представлен разрез структуры после выращивания наноматериала 8 в виде углеродных нанотрубок на указанных частицах нанометрового размера.

[37]

На фиг. 2,г представлен разрез структуры после заполнения оставшегося пространства внутри наноматериала 8 проводящим материалом 9.

[38]

На фиг. 2,д представлен разрез структуры после формирования композитного материала из наноматериала и проводящего материала и формирование изолированных друг от друга межсоединений 10.

[39]

Проведенные патентные исследования показали, что совокупность признаков предлагаемого изобретения является новой, что доказывает новизну способа изготовления межсоединений полупроводникового прибора. Кроме того, патентные исследования показали, что в литературе отсутствуют данные, оказывающие влияние отличительных признаков заявляемого изобретения на достижение технического результата, что подтверждает изобретательский уровень предлагаемого способа.

[40]

Пример 1. На поверхность структуры с уже сформированными ниже функциональными слоями методом магнетронного распыления наносили слой сплава Ni20Ti35N45 толщиной 10 нм. После этого в установке для роста углеродных нанотрубок последовательно производились термическое воздействие на структуру при температуре 500°С в течение 10 мин, в результате чего на поверхности образовались кластеры катализатора Ni, и процесс выращивания наноматериала в виде массива углеродных высотой до 1 мкм и диаметром трубок ~25 нм путем стимулированного плазмой химического осаждения из газовой фазы, содержащей ацетилен, при температуре подложки 450°С. Далее пустоты в наноматериале между трубками заполнялись алюминием методом электрохимического осаждения из безводного электролита, и данная структура подвергалась термообработке при 570°С в течение 30 мин с целью формирования нанокомпозиционного материала углеродные нанотрубки - алюминий. Затем методом химико-механической полировки выполнялась операция планаризации слоя композитного материала углеродные нанотрубки - алюминий. В завершении с помощью фотолитографии формировалась фоторезистивная маска, и производилась операция реактивного ионного травления композитного материала углеродные нанотрубки - алюминий в хлор-содержащей плазме.

[41]

Пример 2. На поверхность структуры с уже сформированными ниже функциональными слоями методом магнетронного распыления наносили слой сплава Ni20Ti35N45 толщиной 10 нм. После этого в установке для роста углеродных нанотрубок последовательно производились термическое воздействие на структуру при температуре 500°С в течение 10 мин, в результате чего на поверхности образовались кластеры катализатора Ni, а на границе сплав-кремний образовался контактный слой силицида NiSi толщиной 30 нм, и процесс выращивания наноматериала в виде массива углеродных высотой до 1 мкм и диаметром трубок ~25 нм путем стимулированного плазмой химического осаждения из газовой фазы, содержащей ацетилен, при температуре подложки 450°С. Далее пустоты в наноматериале между трубками заполнялись алюминием методом электрохимического осаждения из безводного электролита, и данная структура подвергалась термообработке при 570°С в течение 30 мин с целью формирования нанокомпозиционного материала углеродные нанотрубки - алюминий. Затем методом химико-механической полировки выполнялась операция планаризации слоя композитного материала углеродные нанотрубки - алюминий. В завершении с помощью фотолитографии формировалась фоторезистивная маска, и производилась

[42]

операция реактивного ионного травления композитного материала углеродные нанотрубки - алюминий в хлор-содержащей плазме.

[43]

Таким образом, настоящее изобретение позволяет устранить недостатки способа-прототипа, обеспечивая упрощение технологии формирования межсоединений полупроводникового прибора, повышение стойкости к электромиграции при высоких плотностях тока и повышение термической стабильности межсоединений.

[44]

Источники информации

[45]

1. Helneder Н., Korner Н., Mitchell A., Schwerd М, Seidel U. Comparison of copper damascene and aluminum RIE metallization in BICMOS technology // Microelectronic Engineering, v. 55, 2001, p. 257-268.

[46]

2. Steinlesberger G., Engelhardt M., Schindler G., Kretz J., Steinhogl W., Bertagnolly E. Processing technology for the investigation of sub-50 nm copper damascene interconnects // Solid-State Electronics, v. 47, 2003, p. 1237-1241.

[47]

3. Grella K., Dreiner S., Vogt H., Paschen U. Reliability of CMOS on silicon-on-insulator for use at 250°C // IEEE Transactions on Device and Materials Reliability, v. 14, No. 1, 2014, p. 21-29.

[48]

4. Патент США №20090272565 A1.

[49]

5. Патент США №20090181535 - прототип.

[50]

6. П.Н. Дьячков, углеродные нанотрубки: строение, свойства, применения. - М.: Бином, 2006. - 293 с.

[51]

7. Э.Г. Раков. Нанотрубки и фуллерены. - М.: Университетская книга, Логос, 2006. - 376 с.

[52]

8. Gromov D.G., Gavrilov S.A., Redichev A.N., Mochalov A.I., Ammosov R.M. Degradation of thin copper conductors due to low temperature melting // in Micro-and Nanoelectronics 2005, edited by K.A. Valiev, A.A. Orlicovsky, Proceedings of SPIE, Vol. 6260 (SPIE, Bellingham, WA, 2006) p. 62600H1-62600H8.

[53]

9. Frank S., Poncharal P., Wang Z. L., de Heer W.A. Carbon nanotube quantum resistors. Science, 1998, v. 280, p. 1744-1746.

Как компенсировать расходы
на инновационную разработку
Похожие патенты