патент
№ RU 2597465
МПК G06K9/20

КОМПАКТНАЯ СИСТЕМА РЕГИСТРАЦИИ ПАПИЛЛЯРНЫХ УЗОРОВ

Авторы:
Лейрих Анатолий Андреевич
Правообладатель:
Все (2)
Номер заявки
2015102014/08
Дата подачи заявки
23.01.2015
Опубликовано
10.09.2016
Страна
RU
Как управлять
интеллектуальной собственностью
Чертежи 
2
Реферат

Изобретение относится к области биометрической идентификации. Технический результат - уменьшение габаритных размеров, повышение надежности, обеспечение высокого качества изображения, высокого быстродействия и понижение энергопотребления системы регистрации папиллярных узоров. Система содержит источник света, элемент, задающий положение поверхности считывания папиллярного узора, оптическую систему и многоэлементный приемник изображения, отличается тем, что источник света и поверхность считывания связаны оптически с приемником изображения посредством лучей, исходящих от источника света в направлении поверхности считывания папиллярного узора, отраженных от этой поверхности считывания и проходящих к приемнику излучения через направляющий оптический элемент, содержащий входную преломляющую и отражающую поверхности, путем последовательных преломления на входной преломляющей поверхности, отражения на отражающей поверхности и полного внутреннего отражения на входной преломляющей поверхности. 3 з.п. ф-лы, 2 ил.

Формула изобретения

1. Система регистрации папиллярных узоров, содержащая источник света, элемент, задающий положение поверхности считывания папиллярного узора, оптическую систему и многоэлементный приемник изображения, отличающаяся тем, что источник света и поверхность считывания связаны оптически с приемником изображения посредством лучей, исходящих от источника света в направлении поверхности считывания папиллярного узора, отраженных от этой поверхности считывания и проходящих к приемнику излучения через направляющий оптический элемент, содержащий входную преломляющую и отражающую поверхности, путем последовательных преломления на входной преломляющей поверхности, отражения на отражающей поверхности и полного внутреннего отражения на входной преломляющей поверхности.

2. Система по п. 1, отличающаяся тем, что оптическая система дополнительно содержит оптический клин.

3. Система по п. 2, отличающаяся тем, что оптический клин расположен в оптическом пути между поверхностью считывания и объективом, формирующим изображение на приемнике изображения.

4. Система по п. 1, отличающаяся тем, что между светочувствительной поверхностью приемника изображения и объективом, формирующим изображение на этой поверхности, расположена прозрачная пластина, поверхности которой отклонены от нормали к оси объектива.

Описание

[1]

Область техники

[2]

Изобретение относится к области биометрической идентификации, в частности к системам автоматизированной регистрации папиллярных узоров.

[3]

Уровень техники

[4]

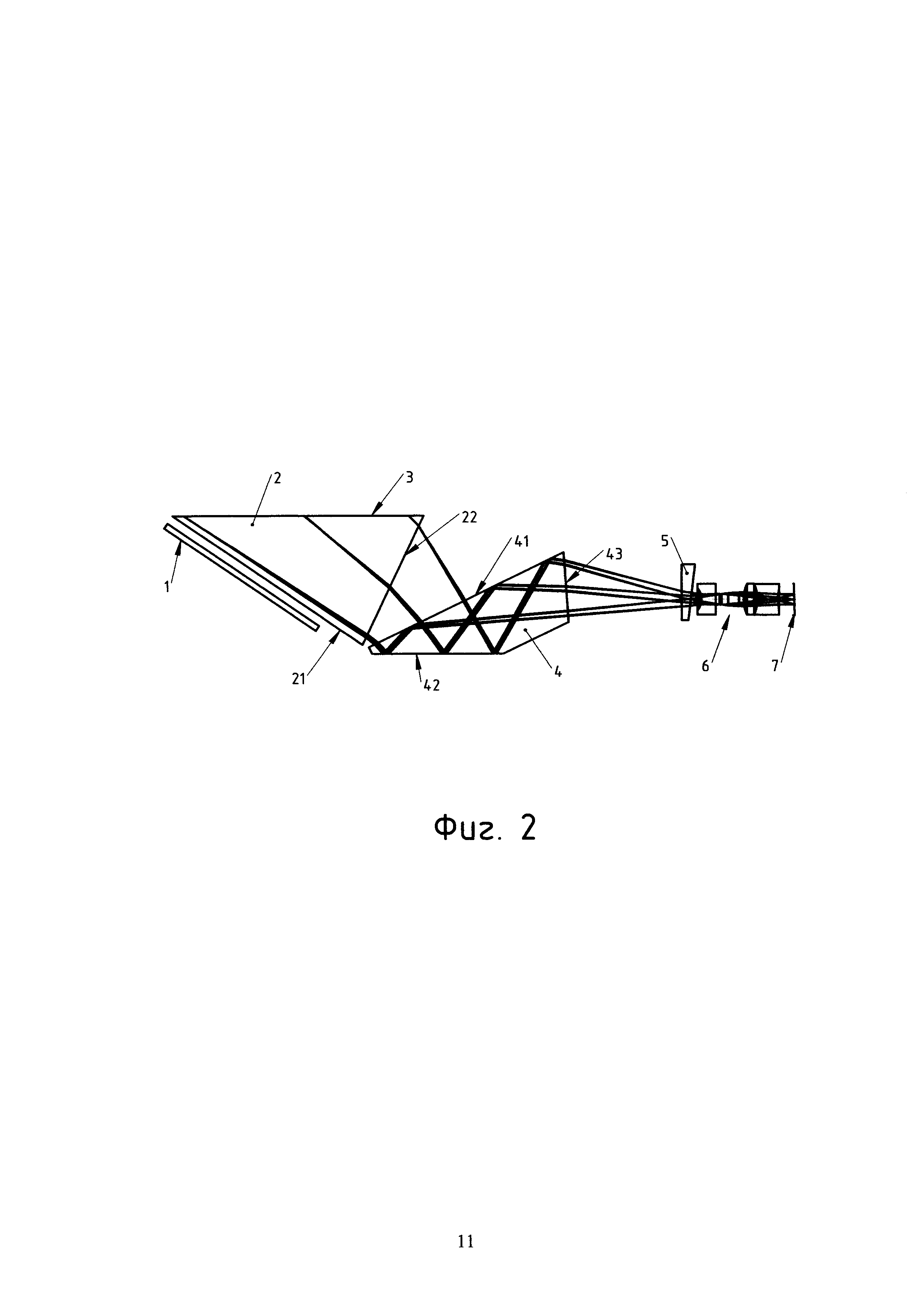
Принципиальная схема типичной системы регистрации папиллярных узоров представлена на фиг. 1. Источник света 1 излучает в направлении элемента 2, задающего положение поверхности 3 считывания регистрируемого объекта, такого, например, как папиллярные линии пальца или ладони руки. На поверхности считывания за счет различия в отражении от участков, соответствующих впадинам и выступам папиллярного узора, световой поток от источника света становится носителем изображения этого папиллярного узора. Оптическая система, как правило, включающая коллектив 4, систему зеркал 5, объектив 6, защитное стекло 7 и микролинзы 8 над приемником изображения, принимает этот поток и формирует изображение папиллярного узора на светочувствительной поверхности 9 многоэлементного приемника изображения. Приемник изображения преобразует изображение из оптического в электронное цифровое в виде массива значений интенсивности, пропорциональных потоку излучения, попавшему на соответствующий светочувствительный элемент, и передает его в электронную память 10. Устройство обработки 11 приводит масштаб этого электронного изображения к стандартному, формируя тем самым выходное изображение системы.

[5]

Элемент, задающий положение регистрируемого объекта, как правило, выполняется в виде оптически прозрачной равнобедренной прямоугольной призмы. Однако существуют варианты построения схемы регистрации папиллярных узоров, в которых роль элемента, задающего положение поверхности считывания, выполняют призмы сложной формы, цилиндрические элементы, плоскопараллельные пластины. В более редких вариантах роль элемента, обозначающего положение поверхности считывания, выполняет корпусной элемент системы.

[6]

Количество зеркал в оптической системе может быть различным и определяет форму и габаритные размеры системы.

[7]

Приемник излучения, как правило, выполнен в виде линейки или матрицы на основе транзисторов металл-оксид-полупроводник или приборов с зарядовой связью.

[8]

Общим недостатком указанных систем являются их значительные габариты. Это вызвано тем, что оптическая ось предпочтительно должна выходить с поверхности считывания под углом, близким к 45°, а объектив для формирования изображения требуемого качества должен быть отнесен на значительное расстояние от поверхности считывания. С целью излома оптической оси для уменьшения общих габаритов системы применяют зеркала.

[9]

При этом широкое распространение биометрической идентификации и возросшие требования к уменьшению времени, затрачиваемого на сканирование, в последнее время привело к потребности в мобильных сканерах отпечатков пальцев и ладоней с большой площадью считывания и при этом обладающих малой толщиной, обеспечивающей удобное ношение.

[10]

Однако решение этой задачи с применением оптических сканеров не была решена, т.к. любая конфигурация зеркал не позволяла эффективно осуществлять отклонение оптической оси сразу после выхода с приемного элемента в направлении, параллельном поверхности считывания, без ущерба для габаритов в направлении, перпендикулярном поверхности считывания. Так, несмотря на довольно успешно реализованное уменьшение габаритов в системе, приведенной в патенте США 8320645 от 27.11.2012 по МПК G06K 9/00, в ней используется три зеркала и при этом высота прибора (в направлении, перпендикулярном поверхности считывания) составляет значительную величину.

[11]

Существуют немногочисленные варианты построения систем регистрации папиллярных узоров, реализующих требуемое разрешение и размер области считывания при относительно небольшой высоте.

[12]

Так, в патенте США 5859420 от 12.01.1999 по МПК G01B 11/124 показана система, в которой габариты системы регистрации папиллярных узоров уменьшены путем замены приемной призмы на относительно тонкую призму лестничного типа с несколькими выходными гранями, которые относятся к отдельным каналам формирования частей изображения регистрируемого объекта, которые затем объединяются в выходное изображение.

[13]

Данная система является наиболее близким аналогом предлагаемого изобретения. Несмотря на снижение габаритов, указанная схема увеличивает количество компонентов в системе, что увеличивает стоимость, снижает надежность и производительность, а также увеличивает энергопотребление устройства. Кроме того, в такой схеме неизбежны области искажения изображения, соответствующие прохождению лучей через границы ступеней призмы, что недопустимо в большинстве случаев применения систем идентификации.

[14]

Задача изобретения

[15]

Задачей настоящего изобретения является реализация системы регистрации папиллярных узоров, обладающей малыми габаритными размерами, высокой надежностью, низкой стоимостью и при этом обеспечивающей высокое качество изображения, высокое быстродействие и пониженное энергопотребление.

[16]

Сущность изобретения

[17]

Указанная задача решается за счет того, что система регистрации папиллярных узоров содержит источник света, элемент, задающий положение поверхности считывания папиллярного узора, оптическую систему и многоэлементный приемник изображения, причем поверхность считывания связана оптически с приемником изображения посредством лучей, проходящих через направляющий оптический элемент, содержащий преломляющую и отражающую поверхности, путем последовательных преломления на преломляющей поверхности, отражения на отражающей поверхности и полного внутреннего отражения на преломляющей поверхности.

[18]

Для компенсации хроматизма, возникающего в направляющем элементе, в оптической системе может применяться оптический клин, предпочтительно расположенный в оптическом пути между поверхностью считывания и объективом, формирующим изображение на приемнике изображения. Другим вариантом компенсации возникающего в оптической системе хроматизма является расположение между светочувствительной поверхностью приемника изображения и объективом, формирующим изображение на этой поверхности, прозрачной пластины, поверхности которой отклонены от нормали к оси объектива.

[19]

Результат изобретения

[20]

Технический результат, обеспечиваемый приведенной совокупностью признаков, заключается в уменьшении габаритных размеров, повышении надежности, обеспечении высокого качества изображения, высокого быстродействия и пониженного энергопотребления системы регистрации папиллярных узоров.

[21]

Осуществление изобретения

[22]

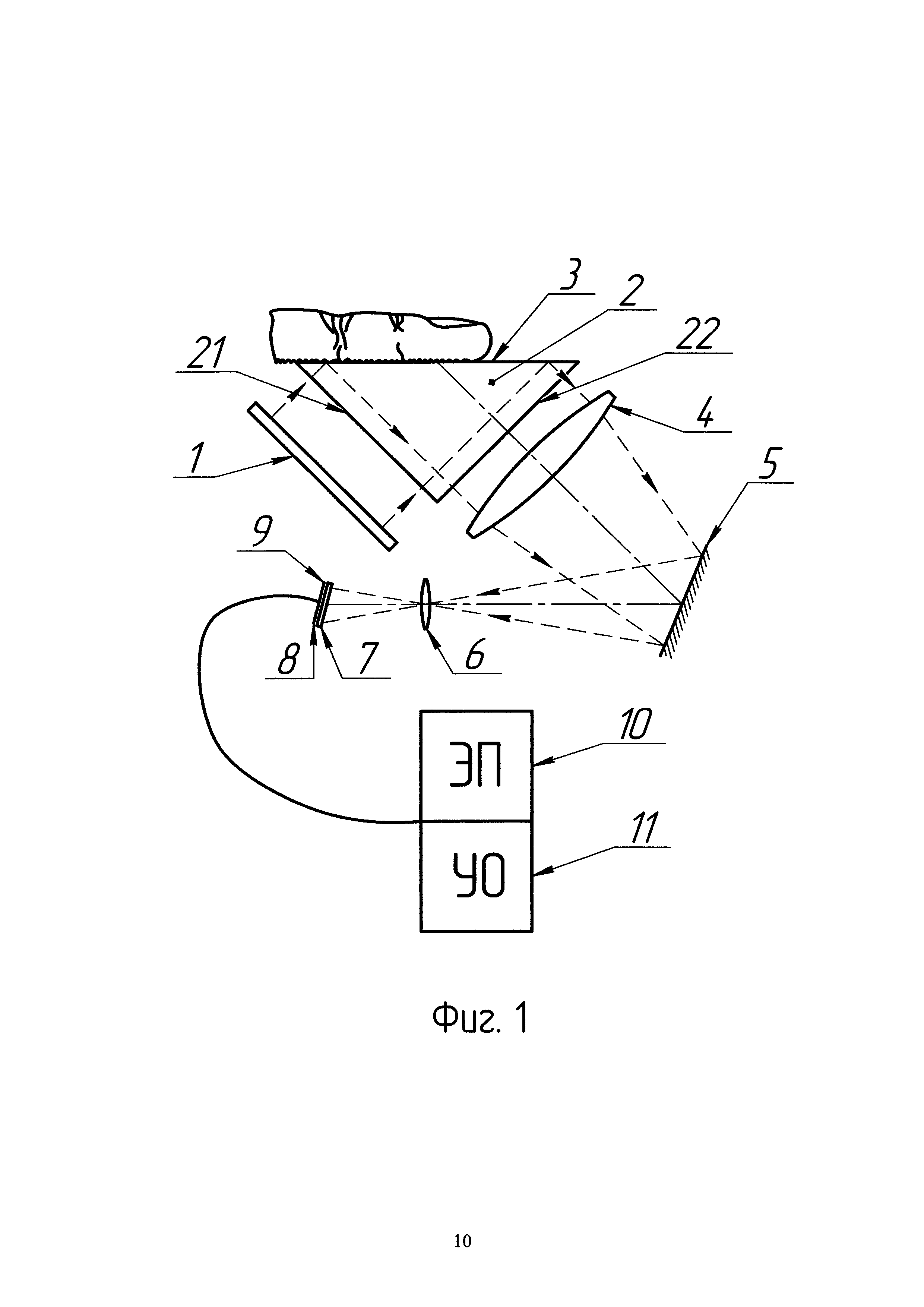
Пример осуществления изобретения может быть показан на основе схемы, приведенной на фиг. 2. Источник света, представляющий собой световую панель 1, построенную на светодиодах, излучает в направлении призмы 2 из оптически прозрачного материала. Пройдя входную катетную грань призмы 21, свет попадает под углом полного внутреннего отражения на гипотенузную грань 3, задающую собой поверхность считывания папиллярного узора. На этой поверхности располагают регистрируемый объект, такой, например, как папиллярные линии пальца или ладони руки. В местах, соответствующих выступам папиллярного узора, световой поток от источника света частично поглощается регистрируемым объектом, в остальных зонах он полностью отражается гипотенузной гранью призмы. Таким образом световой поток становится носителем изображения регистрируемого папиллярного узора. Далее свет проходит через выходную катетную грань 22 призмы в сторону направляющего элемента 4 в виде призмы. Преломляясь на поверхности 41, свет отражается на поверхности 42, выполненной с зеркальным покрытием, и вновь попадает на поверхность 41. Так как свет после отражения на поверхности 42 падает на поверхность 41 под углом полного внутреннего отражения, он без потерь отражается и выходит из направляющего элемента через поверхность 43. Причем рабочие световые области на поверхности 41 при прохождении и отражении пересекаются, что невозможно при использовании системы зеркал. Далее свет проходит через оптический клин 5, компенсирующий хроматизм, возникающий после прохождения направляющего элемента. Объектив 6 формирует изображение регистрируемого объекта на светочувствительной поверхности 7 монохроматической камеры, построенной на матрице транзисторов металл-оксид-полупроводник.

[23]

В другом варианте построения системы для всех рабочих пучков лучей, идущих от поверхности считывания на приемник изображения, выполняется условие полного внутреннего отражения на поверхности 42. В таком случае нанесения зеркального покрытия на поверхность не требуется.

[24]

В еще одном варианте осуществления изобретения рабочие пучки лучей, идущие от поверхности считывания на приемник изображения, проходят через поверхности 22, 41 и 43 под углом, близком к нормали. В таком случае на выходе направляющего элемента значительных хроматических аберраций не возникает и остаточный хроматизм может быть скомпенсирован объективом, формирующим изображение на приемнике изображения. Для этого в объективе применяется линза в виде мениска значительной толщины или ахроматический компонент, состоящий из двух линз, с противоположными знаками оптической силы и изготовленных из разных материалов. Другим вариантом компенсации возникающего в оптической системе хроматизма является расположение между светочувствительной поверхностью приемника изображения и объективом, формирующим изображение на этой поверхности, прозрачной пластины, поверхности которой отклонены от нормали к оси объектива.

[25]

Заявителями были изготовлены несколько образцов сканеров папиллярного узора с размером поверхности считывания 82×82 мм и разрешением на этой поверхности, равным 500 точкам на дюйм, при этом габаритная высота устройства составила менее 50 мм. Устройство с этими параметрами стало первым известным портативным сканером папиллярных узоров четырех пальцев, которым было реализовано качество изображения, соответствующее стандарту FBI EBTS Appendix F. Экспериментальные данные подтвердили, что при применении описанного выше направляющего элемента возможно построение систем регистрации папиллярных узоров, существенно превосходящих аналоги по габаритным характеристикам.

[26]

За счет того, что направляющий элемент представляет собой единый конструктивный компонент, в котором все рабочие поверхности жестко связаны между собой, в системе повышается качество изображения и надежность эксплуатации по сравнению с системами, в которых взаимное перемещение компонентов может приводить к ухудшению характеристик изображения.

[27]

Уменьшение количества компонентов системы, снижение расхода материалов за счет уменьшения габаритов и упрощения сборки и настройки приводит к уменьшению стоимости устройств.

[28]

За счет того, что в системе отсутствует необходимость в произведении действий по программной обработке в виде объединения нескольких изображений из разных каналов в одно выходное, повышается быстродействие и снижается энергопотребление устройств.

[29]

Краткое описание чертежей

[30]

Уровень техники и сущность изобретения поясняются чертежами.

[31]

На фиг. 1 изображена типичная схема построения системы регистрации папиллярных узоров.

[32]

На фиг. 2 изображена схема системы регистрации папиллярных узоров, имеющей малые габариты за счет применения направляющего элемента между поверхностью считывания и объективом, формирующим изображение на приемнике изображения.

Как компенсировать расходы
на инновационную разработку
Похожие патенты