патент
№ RU 2603442
МПК B64D11/02

ВОДО-ВАКУУМНАЯ ТУАЛЕТНАЯ СИСТЕМА

Авторы:
Бушуев Игорь Алексеевич
Номер заявки
2015134202/11
Дата подачи заявки
14.08.2015
Опубликовано
27.11.2016
Страна
RU
Как управлять
интеллектуальной собственностью
Чертежи 
2
Реферат

Изобретение относится к санитарно-техническому оборудованию транспортных средств, а именно к туалетам железнодорожных вагонов, автобусов, самолетов и т.д. Водо-вакуумная туалетная система содержит унитаз, установленный на опорной раме (2), соединенный магистралью подачи воды с клапаном сброса, заслонку, расположенную в корпусе клапана сброса на выходе из унитаза, и привод ее перемещения. Унитаз взаимосвязан с опорной рамой посредством клеевого соединения, а корпус клапана сброса размещен за задней стенкой унитаза с углом наклона 20-40° относительно вертикальной оси унитаза. Заслонка, перекрывающая отверстия клапана сброса, выполнена из металлокерамических пластин. Изобретение обеспечивает компактное размещение корпуса клапана сброса относительно вертикальной оси унитаза и повышает надежность функционирования туалетной системы. 2 ил.

Формула изобретения

Водо-вакуумная туалетная система, содержащая унитаз, установленный на опорной раме, соединенный магистралью подачи воды с клапаном сброса, заслонку, расположенную в корпусе клапана сброса на выходе из унитаза, привод ее перемещения, отличающаяся тем, что унитаз взаимосвязан с опорной рамой посредством клеевого соединения, а корпус клапана сброса размещен за задней стенкой унитаза с углом наклона 20-40° относительно вертикальной оси унитаза, при этом заслонка, перекрывающая отверстия клапана сброса, выполнена из металлокерамических пластин.

Описание

[1]

Изобретение относится к санитарно-техническому оборудованию, в частности к водо-вакуумным туалетным системам, и найдет широкое применение в быту, а также на транспортных средствах: на самолетах, железнодорожных вагонах, автобусах и т.д.

[2]

Надежная работоспособность туалетных систем важна особенно для транспортных средств. Предлагаемое техническое решение направлено на повышение надежности функционирования туалетной системы, повышение технологичности и обеспечение компактности туалетной системы.

[3]

Одной из проблем туалетной системы является засор, создающий избыточное давление в туалетной системе. Для разрешения данной ситуации на выходе из унитаза устанавливают клапан сброса, представляющий собой металлическую заслонку кругового движения с резиновым уплотнением. Однако работоспособность таких клапанов не отличается надежностью. Так как при попадании инородного тела в клапан, происходит заклинивание клапана, постепенно резиновая прокладка заминается и приходит в негодность.

[4]

В отличие от применяемых металлических заслонок предлагается использовать для клапана сброса заслонку, выполненную в виде металлокерамической пластины с перекрывающимися отверстиями. Преимущество данной заслонки заключается в недопущении заклинивания за счет перекрывающихся отверстий. Принцип работы конструкции клапана сброса прост и надежен в эксплуатации.

[5]

Задачей предлагаемой полезной модели является обеспечение высоких эксплуатационных свойств системы при сохранении надежной работоспособности, рациональной компоновки туалетной системы и повышение технологичности установки унитаза.

[6]

Для обеспечения компактного размещения корпус клапана сброса, включающий клапан сброса и привод, установлен с углом наклона 20-40° к вертикальной оси симметрии унитаза.

[7]

Устойчивость унитаза обеспечивает опорная рама. Крепление чаши унитаза к опорной раме обеспечивает сварное соединение, при этом чаша унитаза и опорная рама имеют разную толщину относительно друг друга. Сварка разнотолщинных деталей является сложной в исполнении, не гарантирует прочности соединения и требует дополнительной обработки сварного шва. Поэтому замена сварного шва на клеевое соединение позволит повысить прочность соединения и исключить его восстановительно-доводочную обработку.

[8]

При этом в отдельных случаях, для туалетной системы, не испытывающей большой нагрузки, возможно применение конструкции унитаза без использования опорной рамы.

[9]

Преимущества предлагаемого изобретения позволяют обеспечить надежную работоспособность системы при сохранении высоких эксплуатационных характеристик.

[10]

Из уровня техники известна полезная модель (RU, патент на полезную модель №40282, МПК 7 B61D 35/00, E03D 5/10, E03D 11/10, заявка №2003118505 от 23.06.2003), туалетная система транспортного средства, содержащая водяной бак с системой смыва, унитаз с выходным соплом и заслонкой, связанной со сливным механизмом.

[11]

Недостатками этого туалета является то, что используемый в нем клапанный узел сложен, имеет громоздкие размеры и ненадежен в эксплуатации.

[12]

Известен аналог заявляемой полезной модели - это разработка фирмы «Monogram systems» (www/monogramsystems.com), состоящая из чаши смыва, опорной рамы и клапана сброса.

[13]

Недостатками конструкции является низкая технологичность изготовления за счет необходимости дополнительной доводочно-восстановительной обработки из-за искажения контура чаши при электросварке тонкостенной оболочки чаши с толстостенной опорной рамой, а также громоздкость конструкции, обусловленная большими габаритными размерами клапана смыва.

[14]

Наиболее близким по технической сущности и достигаемому результату является патент на полезную модель (RU, патент на полезную модель №27933 МПК 7 E03D 11/10, заявка №2002118922/20, 17.07.2002), туалет, который содержит унитаз, соединенный с магистралью смыва, клапан сброса, заслонку, расположенную на выходе из унитаза и связанную с приводом ее перемещения.

[15]

К недостаткам данного туалета можно отнести громоздкость конструкции, обусловленную большими габаритными размерами клапана сброса.

[16]

Задачей предлагаемого изобретения является обеспечение высоких эксплуатационных свойств системы при сохранении надежной работоспособности, рациональной компоновки туалетной системы и повышение технологичности установки унитаза.

[17]

Технический результат заключается в повышении надежности функционирования туалетной системы, путем использования заслонки, исключающей заклинивание, обеспечении удобства компактного размещения, за счет установки клапана сброса под углом наклона к оси унитаза, повышении технологичности установки унитаза на опоре путем использования клеевого соединения.

[18]

Для достижения технического результата туалетная система, водо-вакуумная туалетная система, содержащая унитаз, установленный на опорной раме, соединенный магистралью подачи воды с клапаном сброса, заслонку, расположенную в корпусе клапана сброса на выходе из унитаза, привод ее перемещения, причем унитаз взаимосвязан с опорной рамой посредством клеевого соединения, а корпус клапана сброса размещен за задней стенкой унитаза с углом наклона 20-40° относительно вертикальной оси унитаза, при этом заслонка, перекрывающая отверстия клапана сброса, выполнена из металлокерамических пластин.

[19]

Сущность заявляемого изобретения поясняется чертежами.

[20]

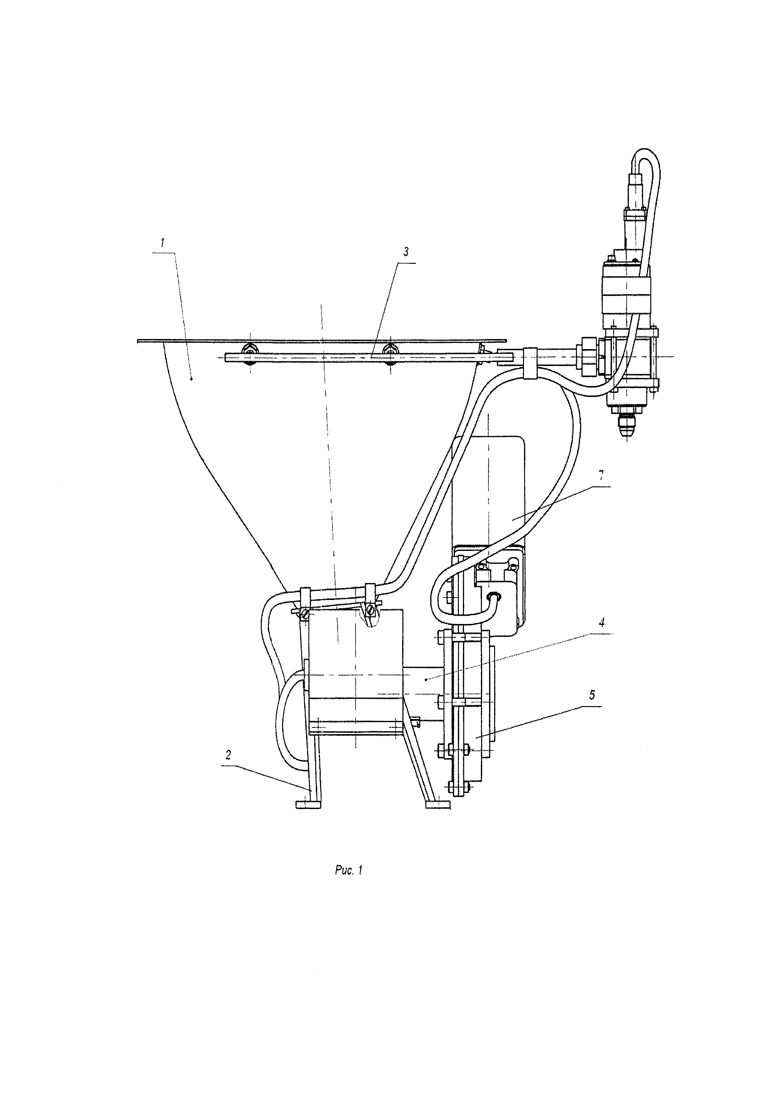
На рис. 1 показана туалетная система, вид сбоку.

[21]

На рис. 2 показана туалетная система, вид сзади.

[22]

Предлагаемая туалетная система содержит унитаз с чашей 1, установленной на опорной раме 2, магистраль смыва, включающую водяной клапан 3, сливной канал 4, корпус 5 клапана сброса, включающий задвижку 6 с отверстиями и приводом 7.

[23]

В корпусе 5 клапана сброса использована шиберная задвижка 6 возвратно-поступательного действия, состоящая из подвижной и неподвижной пластин с нецентральными проходными отверстиями. Применение задвижки в качестве клапана сброса обеспечивает долговечность конструкции и надежность эксплуатации, так как применен малоизнашивающийся материал, например металлокерамика.

[24]

Корпус 5 клапана сброса установлен с наклоном в диапазоне 20-40° относительно оси симметрии унитаза. Предлагаемое размещение корпуса клапана сброса 6 позволяет получить более компактную компоновку с максимальной возможностью использования пространства за счет наклона корпуса 5, включающего клапан сброса 6 и привод 7, расположенные в нише под чашей 1 унитаза.

[25]

Чаша унитаза установлена на опорной раме. Для крепления чаши унитаза к опорной раме в основном используют сварку.

[26]

В предлагаемом техническом решении монтаж чаши унитаза с опорной рамой выполнен посредством клеевого соединения, позволившего упростить данный технологический процесс и обеспечить надежность соединения.

[27]

Частным случаем предлагаемой туалетной системы возможно использование унитаза без опорной рамы.

[28]

Работа туалетной системы осуществляется следующим образом. Водный клапан открывается, и вода через форсунки омывает поверхность чаши. После закрытия водяного клапана запускается процесс вакуумирования накопительной емкости. Открывается клапан сброса и по магистральному каналу отходы, под действием вакуума, попадают в накопительную емкость.

[29]

Предлагаемая конструкция позволяет повысить надежность работоспособности туалетной системы, обеспечить компактное размещение, повысить технологичность установки унитаза на опорной раме.

[30]

Туалетная система прошла испытания в реальных условиях эксплуатации и на практике подтвердила достижимость заявляемого технического результата.

Как компенсировать расходы
на инновационную разработку
Похожие патенты