патент
№ RU 2685109
МПК B61L27/04

Система интервального регулирования движения поездов на базе радиоканала

Авторы:
Миронов Владимир Сергеевич Воронин Владимир Альбертович Гордон Борис Моисеевич
Все (7)
Номер заявки
2018125469
Дата подачи заявки
11.07.2018
Опубликовано
16.04.2019
Страна
RU
Как управлять
интеллектуальной собственностью
Чертежи 
2
Реферат

Изобретение относится к железнодорожной автоматике для мониторинга условий движения и интервального регулирования поездов. Система содержит стационарные центры радиоблокировки, подключенные к ЭВМ центра диспетчерского контроля и управления, перегонные базовые станции радиоканала, сеть передачи данных, радиоканал и оптоволоконный кабель, станционый блок формирования и анализа импульсных световых сигналов, процессор, модуль моделирования поездной ситуации на перегонах, модуль мониторинга условий движения на перегонах, модуль комплексной обработки данных, на вовлеченных в систему поездах бортовое оборудование, включающее соединенные между собой через системный интерфейс обмена цифровыми данными, комплексное локомотивное устройство безопасности, блок определения местоположения локомотива, блок измерения скорости и пройденного расстояния, блок расчета допустимой скорости, кривых торможения и обмена данными со стационарными центрами радиоблокировки по радиоканалу, вихретоковое устройство текущего контроля фактического состояния рельсов и уточненного измерения скорости, дисплей машиниста и локомотивное радиопередающее устройство. Путевые участки снабжены бесстыковыми рельсовыми цепями тональной частоты, где к передающему концу рельсовой цепи подключен выход передатчика соответствующего блока напольной аппаратуры питающего конца, а к приемному концу рельсовой цепи подключен вход приемника соответствующего блока напольной аппаратуры приемного конца, шины питания этих блоков напольной аппаратуры подключены к двух проводной линии силового электропитания, размещенной в комбинированном оптоволоконном кабеле, информационные выходы передатчика и приемника блоков напольной аппаратуры через соответствующие блоки оптоэлектрического преобразования соединены со связевыми оптическими волокнами оптоволоконного кабеля, которые через сеть передачи данных соединены с процессором ЭВМ центра диспетчерского контроля и управления. Достигается повышение надежности системы. 2 ил.

Формула изобретения

Система интервального регулирования движения поездов на базе радиоканала, содержащая стационарные центры радиоблокировки, подключенные к ЭВМ центра диспетчерского контроля и управления и соединенные между собой и с перегонными базовыми станциями радиоканала через сеть передачи данных, а на перегоне между соседними станциями через радиоканал и оптоволоконный кабель, выполненный в виде комбинированного сенсорного и связевого кабеля, уложенного на перегоне вдоль железнодорожного пути, с обеспечением передачи на его внешнюю оболочку воздействий внешних сил от конструктивных элементов железнодорожного пути, и содержащего внутренние элементы механической связи между внешней оболочкой оптоволоконного кабеля и размещенными в нем сенсорными оптическими волокнами с изменяющимися оптическими параметрами при их деформации, при этом одним концом сенсорные оптические волокна соединены с первым портом сопряжения станционного блока формирования и анализа импульсных световых сигналов, второй порт сопряжения которого через сеть передачи данных соединен с ЭВМ центра диспетчерского контроля и управления, к процессору которого подключены программный модуль моделирования поездной ситуации на перегонах, программный модуль мониторинга условий движения на перегонах, программный модуль комплексной обработки данных, принимаемых им от упомянутых программных модулей моделирования и мониторинга, и сеть передачи данных, связанная с радиоканалом, при этом на вовлеченных в систему поездах - бортовое оборудование, включающее соединенные между собой через бортовой системный интерфейс локомотива обмена цифровыми данными комплексное локомотивное устройство безопасности, блок определения местоположения локомотива, выполненный на основе спутникового навигатора, блок измерения скорости и пройденного расстояния, блок расчета допустимой скорости, кривых торможения и обмена данными со стационарными центрами радиоблокировки по радиоканалу, вихретоковое устройство текущего контроля фактического состояния рельсов и уточненного измерения скорости, дисплей машиниста и локомотивное радиопередающее устройство, отличающаяся тем, что на каждом перегоне путевые участки снабжены бесстыковыми рельсовыми цепями тональной частоты, в каждой из которых к передающему концу рельсовой цепи подключен выход передатчика соответствующего блока напольной аппаратуры питающего конца, а к приемному концу рельсовой цепи подключен вход приемника соответствующего блока напольной аппаратуры приемного конца, при этом шины питания этих блоков напольной аппаратуры подключены к двух проводной линии силового электропитания, размещенной в комбинированном оптоволоконном кабеле, информационные выходы передатчика и приемника блоков напольной аппаратуры через соответствующие блоки оптоэлектрического преобразования соединены со связевыми оптическими волокнами оптоволоконного кабеля, которые через сеть передачи данных соединены с процессором ЭВМ центра диспетчерского контроля и управления.

Описание

[1]

Изобретение относится к железнодорожному транспорту и может быть использовано для диагностики и мониторинга условий движения и интервального регулирования движения поездов по перегону.

[2]

Известна система интервального регулирования движения поездов на базе радиоканала, содержащая стационарные центры радиоблокировки, подключенные к ЭВМ центра диспетчерского контроля и управления и соединенные между собой и с перегонными базовыми станциями радиоканала через сеть передачи данных, а на перегоне между соседними станциями через оптоволоконный кабель и радиоканал, на вовлеченных в систему поездах - бортовое оборудование, включающее соединенные между собой через бортовой системный интерфейс локомотива обмена цифровыми данными комплексное локомотивное устройство безопасности, блок определения местоположения локомотива, выполненный на основе спутникового навигатора, блок измерения скорости и пройденного расстояния, блок расчета допустимой скорости, кривых торможения и обмена данными со стационарными центрами радиоблокировки по радиоканалу, вихретоковое устройство текущего контроля фактического состояния рельсов и уточненного измерения скорости, дисплей машиниста, блок головного полукомплекта непрерывного контроля целостности тормозной магистрали поезда, соединенный с блоком полукомплекта хвостового вагона состава поезда через тормозную магистраль поезда, а также через локомотивное радиоприемопередающее устройство и бортовой локальный радиоканал с радиоприемопередающим устройством блока полукомплекта хвостового вагона состава поезда, которое по цепи питания связано с первым выходом автономного источника электропитания, выполненного на базе пневмоэлектрогенератора, вход для подачи воздуха которого подключен к тормозной магистрали поезда, при этом второй выход автономного источника электропитания соединен с входом электропитания блока светового сигнала конца состава поезда, оптоволоконный кабель выполнен в виде комбинированного сенсорного и связевого кабеля, уложенного на перегоне вдоль железнодорожного пути, с обеспечением передачи на его внешнюю оболочку воздействий внешних сил от конструктивных элементов железнодорожного пути и содержащего внутренние элементы механической связи между внешней оболочкой оптоволоконного кабеля и размещенными в нем сенсорными оптическими волокнами с изменяющимися оптическими параметрами при их деформации, при этом одним концом сенсорные оптические волокна соединены с первыми портами связи перегонных блоков формирования и анализа импульсных световых сигналов, вторые порты связи которых подключены к портам связи напольных блоков видеонаблюдения, в составе которых имеется блок автоматической регистрации светового сигнала конца состава поезда, а другими концами соединены с соответствующими первыми портами станционного блока формирования и анализа импульсных световых сигналов, второй порт связи которого через сеть передачи данных соединен с ЭВМ центра диспетчерского контроля и управления (RU2556133, B61L 27/04, 10.07.2015).

[3]

Известная система обеспечивает повышение безопасности движения поездов за счет улучшенного контроля фактического состояния рельсов в моменты проследования над ними вихретокового устройства контроля целостности и оценки фактического состояния железнодорожного пути, за счет непрерывного мониторинга повреждения железнодорожного пути (провалы и выбросы земляного полотна, дефектные рельсы и их крепления) и различных других препятствий движению (злоумышленники, автомобили, пешеходы, крупные животные, упавшие деревья и грузы и т.д.), а во время движения поездов, регистрации подозрительных шумов, обусловленных вибрациями и ударами неисправных элементов ходовой части поезда и рельсового пути, волочащимися предметами и т.д. Система также более надежно и быстро определяет отрыв хвостовой части состава, но требует для этого установки дополнительного оборудования в хвостовых вагонах, что удорожает систему и сильно усложняет ее эксплуатацию. Система не обеспечивает в достаточной мере защиту от снижения пропускной способности перегонов при сбоях в работе локомотивных бортовых устройств навигации, поскольку количество мест на пути, где точно фиксируется координата локомотива, ограничено из-за конструктивной сложности многожильного сенсорного оптоволоконного кабеля.

[4]

В качестве прототипа выбрана система интервального регулирования движения поездов на базе радиоканала, содержащая стационарные центры радиоблокировки, подключенные к ЭВМ центра диспетчерского контроля и управления и соединенные между собой и с перегонными базовыми станциями радиоканала через сеть передачи данных, а на перегоне между соседними станциями через радиоканал и оптоволоконный кабель, выполненный в виде комбинированного сенсорного и связевого кабеля, уложенного на перегоне вдоль железнодорожного пути, с обеспечением передачи на его внешнюю оболочку воздействий внешних сил от конструктивных элементов железнодорожного пути и содержащего внутренние элементы механической связи между внешней оболочкой оптоволоконного кабеля и размещенными в нем сенсорными оптическими волокнами с изменяющимися оптическими параметрами при их деформации, при этом одним концом сенсорные оптические волокна соединены с первым портом сопряжения станционного блока формирования и анализа импульсных световых сигналов, второй порт сопряжения которого через сеть передачи данных соединен с ЭВМ центра диспетчерского контроля и управления, на вовлеченных в систему поездах - бортовое оборудование, включающее соединенные между собой через бортовой системный интерфейс локомотива обмена цифровыми данными комплексное локомотивное устройство безопасности, блок определения местоположения локомотива, выполненный на основе спутникового навигатора, блок измерения скорости и пройденного расстояния, блок расчета допустимой скорости, кривых торможения и обмена данными со стационарными центрами радиоблокировки по радиоканалу, вихретоковое устройство текущего контроля фактического состояния рельсов и уточненного измерения скорости, дисплей машиниста и локомотивное радиопередающее устройство, на каждом перегоне, условно разделенном на несколько путевых участков, установлены на границах этих участков напольные датчики прохода колес подвижного состава с обеспечением взаимодействия их чувствительных элементов с колесами проходящего над ними подвижного состава, выходы датчиков через локальную линию связи соединены с напольными блоками регистрации и передачи информации в память ЭВМ центра диспетчерского контроля и управления о записанных цифровых значениях мгновенных амплитуд выходных сигналов соответствующих датчиков, при этом выходы блоков регистрации и передачи информации через соответствующие блоки интерфейса связи подключены к сенсорным оптическим волокнам оптоволоконного кабеля, а в ЭВМ центра диспетчерского контроля и управления введены и подключены к его процессору программный модуль моделирования поездной ситуации на перегонах посредством обработки данных от напольных датчиков прохода колес подвижного состава, программный модуль мониторинга условий движения на перегонах и программный модуль комплексной обработки данных, принимаемых им от упомянутых программных модулей моделирования и мониторинга, при этом процессор ЭВМ центра диспетчерского контроля и управления соединен с сетью передачи данных, связанной с радиоканалом (RU2618660, B61L 27/00, 05.05.2017). Данная система имеет пониженное энергопотребление перегонными устройствами по сравнению с системами, использующими непрерывно работающие рельсовые цепи.

[5]

Недостатком известной системы является то, что обнаружение излома рельсов станционным блоком формирования и анализа импульсных световых сигналов возможно только во время прохождения состава поезда над местом излома рельсов.

[6]

В отсутствие поездов, с высокой степенью вероятности, излом рельса не обнаруживается. В процессе профилактических мер обслуживания участков рельсового пути с развивающимися дефектами рельсов совместная обработка данных от вихретоковых датчиков всех проходящих по данному рельсовому пути поездов позволяет снизить вероятность возникновения изломов рельсов. Однако в результате этих мер, система не обеспечивает требования полноты безопасности SIL4 в части своевременной остановки поездов перед местом возникшего излома рельсов.

[7]

Технический результат изобретения заключается в повышении надежности системы за счет более точного определения места излома рельсов и возможности осуществления своевременной остановки поездов, при сохранении простоты и низкого энергопотребления напольной аппаратуры.

[8]

Технический результат достигается тем, что в системе интервального регулирования движения поездов на базе радиоканала, содержащей стационарные центры радиоблокировки, подключенные к ЭВМ центра диспетчерского контроля и управления и соединенные между собой и с перегонными базовыми станциями радиоканала через сеть передачи данных, а на перегоне между соседними станциями через радиоканал и оптоволоконный кабель, выполненный в виде комбинированного сенсорного и связевого кабеля, уложенного на перегоне вдоль железнодорожного пути, с обеспечением передачи на его внешнюю оболочку воздействий внешних сил от конструктивных элементов железнодорожного пути и содержащего внутренние элементы механической связи между внешней оболочкой оптоволоконного кабеля и размещенными в нем сенсорными оптическими волокнами с изменяющимися оптическими параметрами при их деформации, при этом одним концом сенсорные оптические волокна соединены с первым портом сопряжения станционного блока формирования и анализа импульсных световых сигналов, второй порт сопряжения которого через сеть передачи данных соединен с ЭВМ центра диспетчерского контроля и управления, к процессору которого подключены программный модуль моделирования поездной ситуации на перегонах, программный модуль мониторинга условий движения на перегонах, программный модуль комплексной обработки данных, принимаемых им от упомянутых программных модулей моделирования и мониторинга, и сеть передачи данных, связанная с радиоканалом, при этом на вовлеченных в систему поездах - бортовое оборудование, включающее соединенные между собой через бортовой системный интерфейс локомотива обмена цифровыми данными комплексное локомотивное устройство безопасности, блок определения местоположения локомотива, выполненный на основе спутникового навигатора, блок измерения скорости и пройденного расстояния, блок расчета допустимой скорости, кривых торможения и обмена данными со стационарными центрами радиоблокировки по радиоканалу, вихретоковое устройство текущего контроля фактического состояния рельсов и уточненного измерения скорости, дисплей машиниста и локомотивное радиопередающее устройство, согласно изобретению на каждом перегоне путевые участки снабжены бесстыковыми рельсовыми цепями тональной частоты, в каждой из которых к передающему концу рельсовой цепи подключен выход передатчика соответствующего блока напольной аппаратуры питающего конца, а к приемному концу рельсовой цепи подключен вход приемника соответствующего блока напольной аппаратуры приемного конца, при этом шины питания этих блоков напольной аппаратуры подключены к двух проводной линии силового электропитания, размещенной в комбинированном оптоволоконном кабеле, информационные выходы передатчика и приемника блоков напольной аппаратуры через соответствующие блоки оптоэлектрического преобразования соединены со связевыми оптическими волокнами оптоволоконного кабеля, которые через сеть передачи данных соединены с процессором ЭВМ центра диспетчерского контроля и управления.

[9]

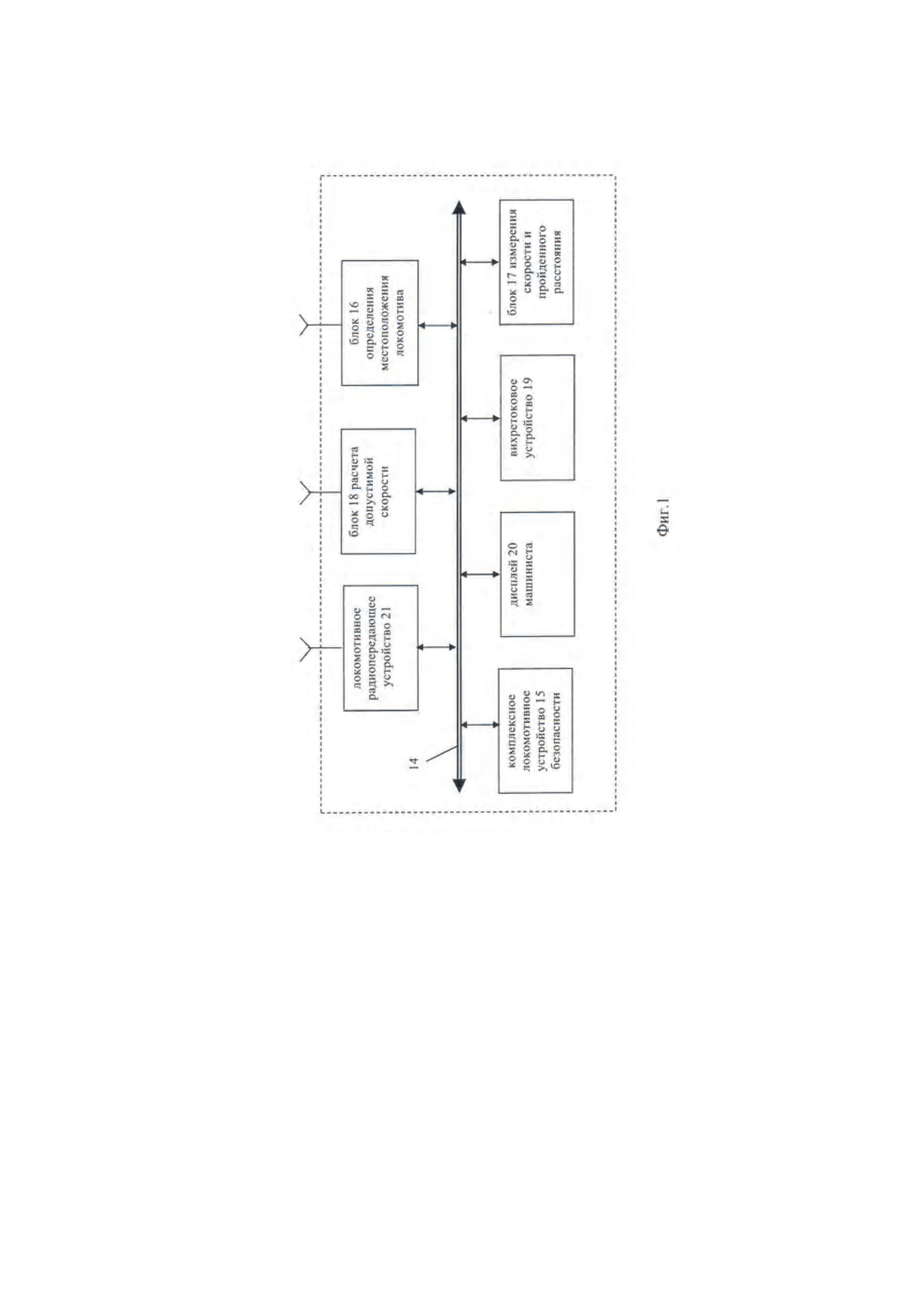
На чертежах приведены структурные схемы локомотивного (фиг. 1) и стационарного (фиг. 2) оборудования системы интервального регулирования движения поездов на базе радиоканала.

[10]

Система интервального регулирования движения поездов на базе радиоканала содержит стационарные центры 1 радиоблокировки, подключенные к ЭВМ 2 центра диспетчерского контроля и управления и соединенные между собой и с перегонными базовыми станциями 3 радиоканала через сеть 4 передачи данных, а на перегоне между соседними станциями через радиоканал 5 и оптоволоконный кабель 6, выполненный в виде комбинированного сенсорного и связевого кабеля, уложенного на перегоне вдоль железнодорожного пути, с обеспечением передачи на его внешнюю оболочку воздействий внешних сил от конструктивных элементов железнодорожного пути и содержащего внутренние элементы 7 механической связи между внешней оболочкой оптоволоконного кабеля 6 и размещенными в нем сенсорными оптическими волокнами 8 с изменяющимися оптическими параметрами при их деформации, при этом одним концом сенсорные оптические волокна 8 соединены с первым портом сопряжения станционного блока 9 формирования и анализа импульсных световых сигналов, второй порт сопряжения которого через сеть 4 передачи данных соединен с ЭВМ 2 центра диспетчерского контроля и управления, к процессору 10 которого подключены программный модуль 11 моделирования поездной ситуации на перегонах, программный модуль 12 мониторинга условий движения на перегонах, программный модуль 13 комплексной обработки данных, принимаемых им от упомянутых программных модулей 11 и 12 моделирования и мониторинга, и сеть 4 передачи данных, связанная с радиоканалом 5, при этом на вовлеченных в систему поездах - бортовое оборудование, включающее соединенные между собой через бортовой системный интерфейс 14 локомотива обмена цифровыми данными комплексное локомотивное устройство 15 безопасности, блок 16 определения местоположения локомотива, выполненный на основе спутникового навигатора, блок 17 измерения скорости и пройденного расстояния, блок 18 расчета допустимой скорости, кривых торможения и обмена данными со стационарными центрами радиоблокировки по радиоканалу, вихретоковое устройство 19 текущего контроля фактического состояния рельсов и уточненного измерения скорости, дисплей 20 машиниста и локомотивное радиопередающее устройство 21, на каждом перегоне путевые участки снабжены бесстыковыми рельсовыми цепями 22 тональной частоты, в каждой из которых к передающему концу рельсовой цепи подключен выход передатчика 23 соответствующего блока 24 напольной аппаратуры питающего конца, а к приемному концу рельсовой цепи 22 подключен вход приемника 25 соответствующего блока 26 напольной аппаратуры приемного конца, при этом шины питания этих блоков напольной аппаратуры подключены к двух проводной линии 27 силового электропитания, размещенной в комбинированном оптоволоконном кабеле 6, информационные выходы передатчика 23 и приемника 25 блоков 24 и 26 напольной аппаратуры через соответствующие блоки 28 и 29 оптоэлектрического преобразования соединены со связевыми оптическими волокнами 30 оптоволоконного кабеля 6, которые через сеть 4 передачи данных соединены с процессором 10 ЭВМ 2 центра диспетчерского контроля и управления.

[11]

Система интервального регулирования движения поездов на базе радиоканала функционирует следующим образом.

[12]

В предлагаемой системе важным методом контроля состояния путевых участков на перегоне является непрерывное слежение в реальном времени за местонахождением и целостностью составов поездов и за целостностью рельсов на перегоне с помощью электрических рельсовых цепей 22.

[13]

Блок 23 напольной аппаратуры питающего конца рельсовой цепи 22 получает из кабеля 6 оптический сигнал управления от ЭВМ 2 центра диспетчерского контроля и управления для формирования сигнала контроля рельсовой линии. Этот сигнал преобразуется блоком 28 оптоэлектрического преобразования в электрический сигнал управления передатчиком 23, который формирует с заданными параметрами (амплитуда, частота и модуляция) электрический сигнал контроля рельсовой цепи 22. Блок 26 напольной аппаратуры приемного конца этой рельсовой цепи 22 выполняет периодическое аналого-цифровое преобразование мгновенной амплитуды принимаемого сигнала с записью результатов в буфер своей памяти. Буфер памяти освобождается во время периодической передачи из блока 26 напольной аппаратуры приемного конца в ЭВМ 2 центра диспетчерского контроля и управления пакета данных, о мгновенных значениях амплитуды принимаемого сигнала. Передача данных из блока 26 напольной аппаратуры приемного конца в ЭВМ 2 центра диспетчерского контроля и управления производится по оптоволоконному кабелю 6, для чего при передаче каждое цифровое мгновенное значение амплитуды принимаемого электрического сигнала, хранящееся в буфере памяти, блоком 29 оптоэлектрического преобразования преобразуется в соответствующий оптический информационный сигнал. Принятие решений о свободности рельсовых цепей 22 осуществляет ЭВМ 2 центра диспетчерского контроля и управления, анализирующая оцифрованные мгновенные амплитуды сигналов, которые поступили на вход приемника 25 блока 26 напольной аппаратуры приемного конца.

[14]

Для снижения энергопотребления, в рабочий режим с полным потреблением электроэнергии рельсовые цепи 22 обычно включаются только спереди и сзади состава каждого поезда, находящегося на перегоне, когда они находятся на расстояниях от границ ограждаемых ими составов, обеспечивающих безопасное интервальное регулирование движения поездов по перегону. ЭВМ 2 центра диспетчерского контроля и управления выбирает различные последовательности и продолжительности включения питания силовых каскадов аппаратуры рельсовых цепей 22, передавая для этого сигналы управления в блоки 24 напольной аппаратуры питающего конца каждой рельсовой цепи 22. Включение питания силовых каскадов аппаратуры рельсовых цепей 22 также производится при проведении различных типов периодического тестирования. Остальное время аппаратура рельсовых цепей 22 работает в режиме с малым потреблением тока, когда в блоках 24 напольной аппаратуры питающих концов и блоках 26 напольной аппаратуры приемных концов включены только маломощные каскады контроля и управления. Обмен управляющей и контрольной информацией между ЭВМ 2 центра диспетчерского контроля и управления и напольными устройствами рельсовых цепей 22 осуществляется по цифровой линии передачи данных, проходящей в частности, через связевые оптические волокна 30 оптоволоконного кабеля 6. Оптические каналы передачи информации позволяют без ретрансляции распространяться информационным и тестовым сигналам на расстояние до 40 км, а двухпроводная линия 27 обеспечивает нормальное питание блоков 24 напольной аппаратуры питающих концов только на расстоянии 10-20 км, поэтому эта двухпроводная линия 27 поделена в кабеле 6 на секции, электропитание которых осуществляется от своих первичных источников электропитания (на чертеже не показаны).

[15]

Другим источником первичной информации о положении на перегоне поездов является определение координат границ шумового следа от движения каждого поезда с помощью сенсорных оптических волокон 8 оптоволоконного кабеля 6. Определение координат границ шумового следа осуществляет станционный блок 9 формирования и анализа импульсных световых сигналов по отраженным оптическим тестовым сигналам от мест механического воздействия на оптоволоконный кабель 6.

[16]

Этот кабель 6 позволяет зафиксировать места присутствия рядом с ним движущегося транспорта и многие другие изменения механического напряжения конструкций железнодорожного пути, вызванные сдвигами в конструкции пути, падением предметов (грузов, деревьев и т.д.), вторжением людей и животных, а также шумы, создаваемые дефектными частями движущегося подвижного состава и дефектными элементами пути.

[17]

Станционный блок 9 формирования и анализа импульсных световых сигналов с помощью встроенного лазерного источника когерентных импульсных световых сигналов (на чертеже не показан) периодически формирует тестовые импульсные световые сигналы, поступающие в сенсорное оптическое волокно 8. При воздействии на кристаллическую решетку оптоволокна 8 внешних сил давления, которые передаются от оболочки кабеля 6 через внутренние элементы 7, происходит деформация этой кристаллической решетки и возникают световые импульсы обратного отражения. Для лучшего распознавания и измерения параметров отраженных сигналов последовательности формируемых импульсных световых сигналов могут отличаться частотой, длительностью и поляризацией импульсов света. События, влияющие на отражения сигналов в сенсорном волокне 8 оптоволоконного кабеля 6, регистрируются блоком 9, который анализирует время прихода отраженных импульсов и определяет расстояния до мест внешнего давления на кабель 6, а также формирует шумовые портреты участков распределенного внешнего механического воздействия движущихся по перегону поездов на оболочку кабеля 6. ЭВМ 2 центра диспетчерского контроля и управления осуществляет анализ информации, получаемой от блока 9, что позволяет практически в реальном времени осуществлять мониторинг состояния железнодорожного пути.

[18]

Обмен управляющей и контрольной информацией между ЭВМ 2 центра диспетчерского контроля и управления и блоком 9 формирования и анализа импульсных световых сигналов осуществляется посредством цифровой линии передачи данных, проходящей через сеть 4 передачи данных. Обмен управляющей и контрольной информацией между ЭВМ 2 центра диспетчерского контроля и управления, блоками 24 напольной аппаратуры питающих концов и блоками 26 напольной аппаратуры приемных концов рельсовых цепей 22 осуществляется по цифровой линии передачи данных, проходящей через сеть 4 передачи данных и через связевые оптические волокна 30 оптоволоконного кабеля 6.

[19]

Источником первичной информации о местонахождении и параметрах движения поездов по перегону, также являются локомотивные бортовые устройства управления поездов. Эти устройства обмениваются данными с ЭВМ 2 центра диспетчерского контроля и управления посредством цифровой радиосвязи по радиоканалу 5. Поступающие от поездов данные включают данные о текущих координатах местонахождения локомотивов от блоков 16 определения местоположения локомотива, выполненных на основе спутникового навигатора, и данные о скорости их движения от блоков 17 измерения скорости и пройденного расстояния. ЭВМ 2 центра диспетчерского контроля и управления комплексно обрабатывает все поступающие в нее данные и вырабатывает команды для безопасного управления движением поездов по перегону.

[20]

Путевая аппаратура в предлагаемой системе упрощена за счет того, что интеллектуальная двухканальная и безопасная обработка исходных сигналов от первичных источников информации осуществляется в ЭВМ 2 центра диспетчерского контроля и управления. Первичные источники информации осуществляют только оцифровку первичных электрических сигналов и преобразование их к виду, необходимому для передачи по каналам цифровой передачи данных в ЭВМ 2 центра диспетчерского контроля и управления, в том числе и по оптическим каналам цифровой передачи данных. Для взаимодействия ЭВМ 2 центра диспетчерского контроля и управления с напольными устройствами системы, цифровые команды от нее поступают в эти устройства так же через оптические каналы цифровой передачи данных. Быстродействующие оптические каналы цифровой передачи данных обеспечивают поступление от ЭВМ 2 команд управления локомотивами практически в реальном времени. Команды от ЭВМ 2 центра диспетчерского контроля и управления передаются в бортовые устройства локомотивов для управления локомотивами по радиоканалу 5 посредством стационарных центров 1 радиоблокировки или перегонных базовых станций 3.

[21]

Все цифровые данные снабжаются в системе метками глобального времени от систем спутниковой навигации ГЛОНАС/GPS для целей синхронизации работы аппаратуры в системе и, в частности, для возможности определения интервала времени, в котором данные сохраняют свою актуальность.

[22]

Сформированное в ЭВМ 2 центра диспетчерского контроля и управления задание на перемещение поездов преобразуется в стационарных центрах 1 радиоблокировки в конкретные команды управления движением, которые поступают в блоки 18 расчета допустимой скорости, кривых торможения и обмена данными со стационарными центрами радиоблокировки. В обратном направлении блоки 18 передают в ЭВМ 2 центра диспетчерского контроля и управления измеренные текущие параметры движения поездов и состояние рельсов, оцененное с помощью вихретоковых устройств 19 текущего контроля фактического состояния рельсов и уточненного измерения скорости. Результаты текущего контроля фактического состояния рельсов необходимы для правильного технического содержания рельсов, хотя и не позволяют предотвратить движение поездов по дефектному рельсовому пути, но позволяют снизить вероятность развития дефектов рельсового пути за счет профилактического обслуживания путевой инфраструктуры. Надежная связь между стационарным центром 1 радиоблокировки с перегонными базовыми станциями 3 обеспечивается по оптоволоконному кабелю 6. Каждая базовая станция 3 покрывает свою зону радиосвязи с поездами и соединена также по радиоканалу 5 с соседними базовыми станциями 3. Электропитание базовых станций 3, как и других напольных электронных устройств системы, может осуществляться от двух проводной линии 27 силового электропитания, проложенной в том же оптоволоконном кабеле 6.

[23]

С процессором 10 ЭВМ 2 взаимодействуют программные модули 11 моделирования поездной ситуации на перегонах, 12 мониторинга условий движения на перегонах и 13 комплексной обработки данных, принимаемых от программных модулей моделирования и мониторинга. Процессор 10 ЭВМ 2 центра диспетчерского контроля и управления за счет совместной обработки данных станционного блока 9 формирования и анализа импульсных световых сигналов, а также за счет работы программного модуля 13 комплексной обработки данных и данных поступающих в него по радиоканалу 5 связи, более надежно, чем в прототипе, классифицирует события, на которые реагирует жила сенсорного оптического волокна 8 оптоволоконного кабеля 6.

[24]

Совместная обработка данных процессором 10 позволяет использовать в полной мере большую информационную избыточность принимаемых первичных сигналов для проверки параметров изменения шумового следа поездов и соответствия его положения моментам времени прохождения составами поездов границ рельсовых цепей 22. Моменты времени прохождения составами поездов границ рельсовых цепей 22 вместе с известной длиной состава каждого поезда и известной длиной рельсовых цепей 22 позволяют процессору 10 уточнить расчетом координаты места нахождения и скорость движения состава каждого поезда на перегоне.

[25]

После обработки данных о местоположении поездов и местоположении препятствий, ЭВМ 2 центра диспетчерского контроля и управления передает на поезда управляющие приказы и уточненную координатную информацию, повышающие безопасность движения поездов и ускоряющие восстановление нормальной работы после сбоев в работе бортовых навигационных устройств.

[26]

Предлагаемое изобретение повышает полноту безопасности системы до требований SIL4, в части своевременной остановки поездов перед местом излома рельсов, при сохранении преимуществ системы в части относительной простоты напольной аппаратуры и низкого энергопотребления.

Как компенсировать расходы
на инновационную разработку
Похожие патенты