патент
№ RU 2669267
МПК H01P3/12

СПОСОБ ИЗГОТОВЛЕНИЯ ВОЛНОВОДА ПРЯМОУГОЛЬНОГО СЕЧЕНИЯ

Авторы:
Клепнев Александр Сергеевич Михейкин Евгений Васильевич Невокшенов Александр Владимирович
Все (11)
Номер заявки
2018102320
Дата подачи заявки
22.01.2018
Опубликовано
09.10.2018
Страна
RU
Как управлять
интеллектуальной собственностью
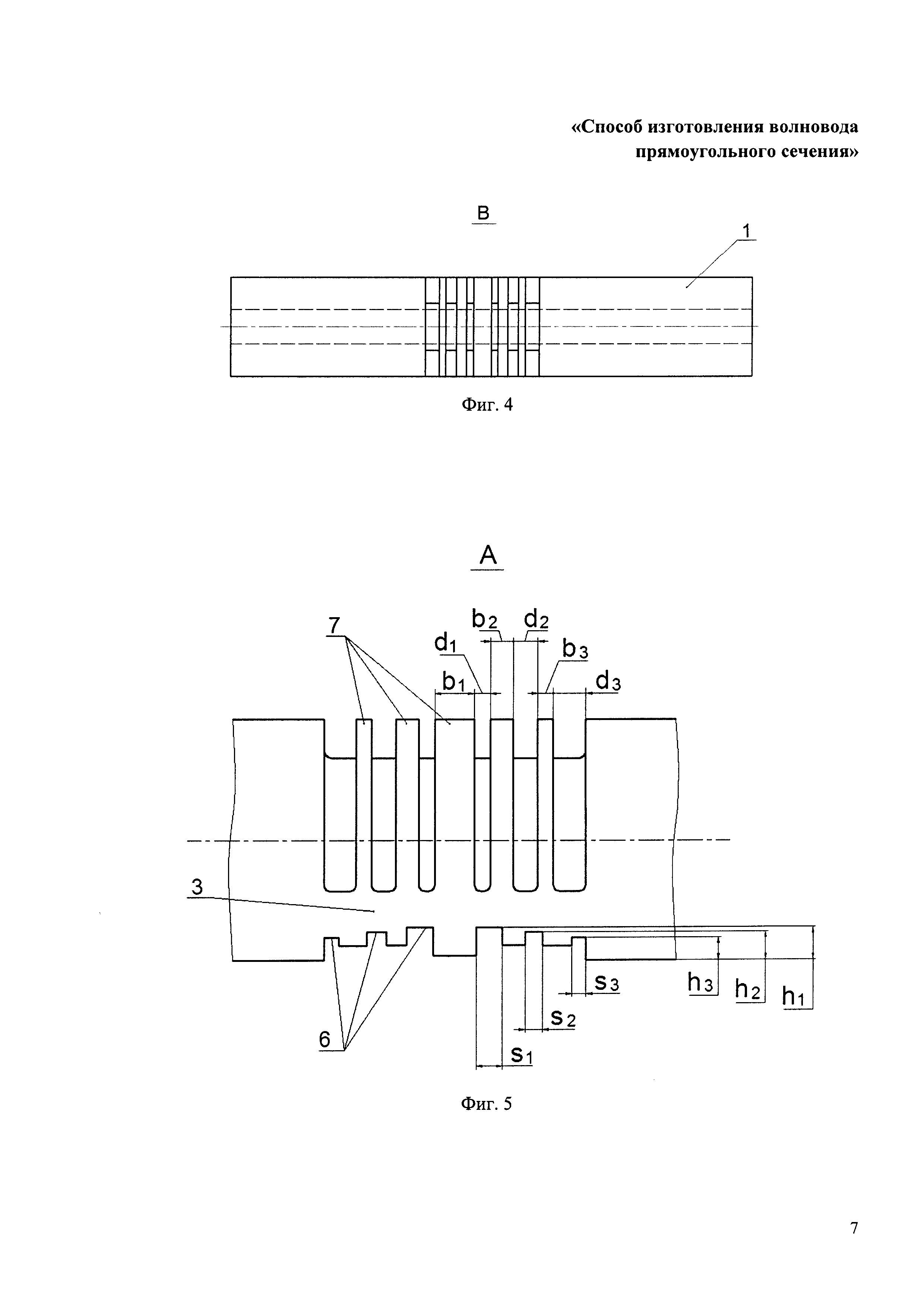
Чертежи 
5
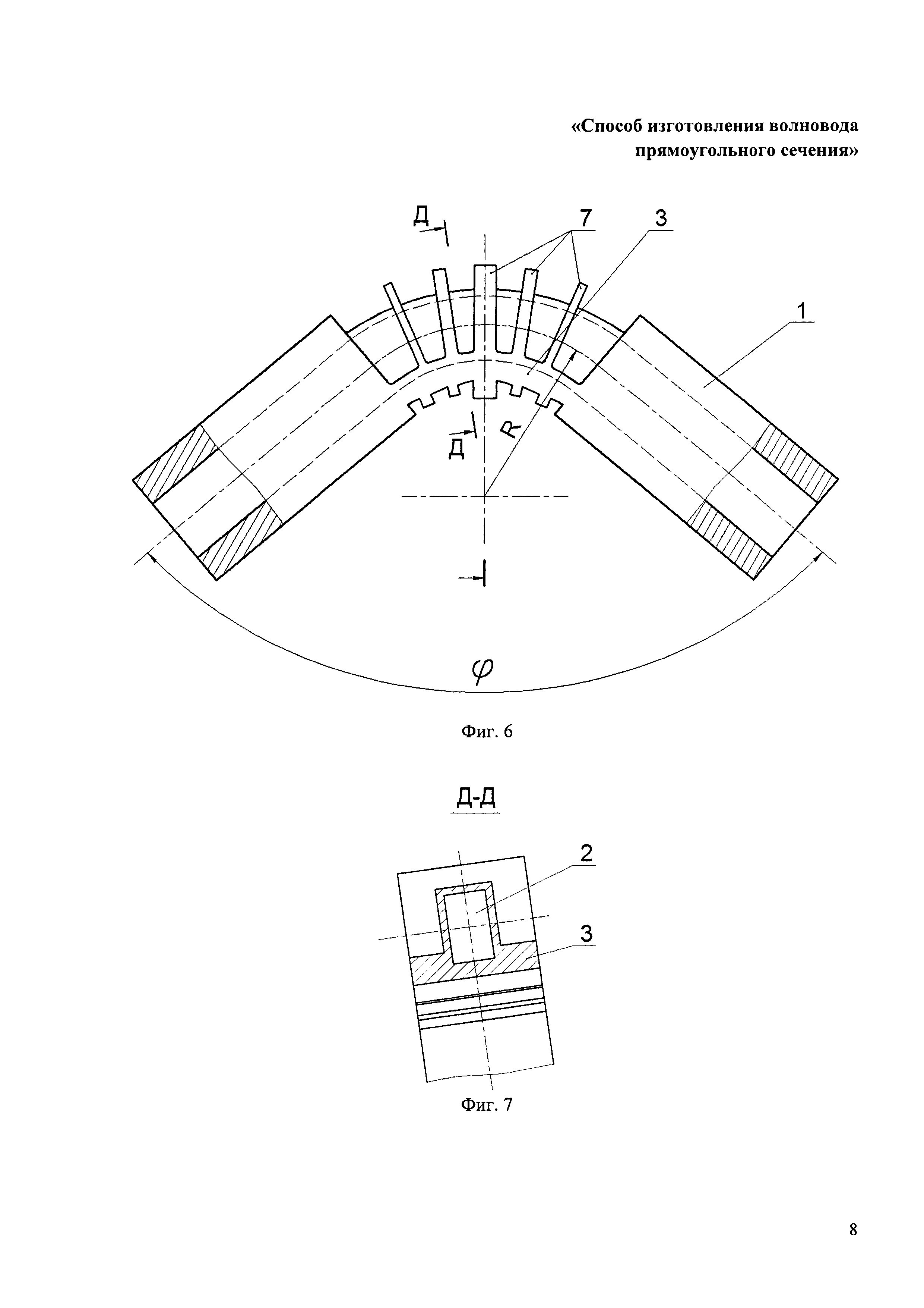
Реферат

Изобретение относится к области антенной техники и может быть использовано при изготовлении волноводов прямоугольного сечения. Способ изготовления волновода включает гибку заготовки, имеющей канал прямоугольного сечения. Канал выполняют в сплошной заготовке прямоугольного сечения. Зону гибки образуют, выполняя поперек заготовки углубления, образующие продольное ребро, в пределах которого находится внутренняя поверхность одной из стенок волновода, параллельные друг другу поперечные канавки, расположенные с внутренней по отношению к изгибу стороны продольного ребра и параллельные друг другу поперечные ребра, расположенные с внешней по отношению к изгибу стороны продольного ребра. Технический результат – обеспечение возможности изгибания волновода малого радиуса при сохранении заданной геометрии канала волновода и повышение технологичности производства волноводов различных размеров. 6 з.п. ф-лы, 10 ил.

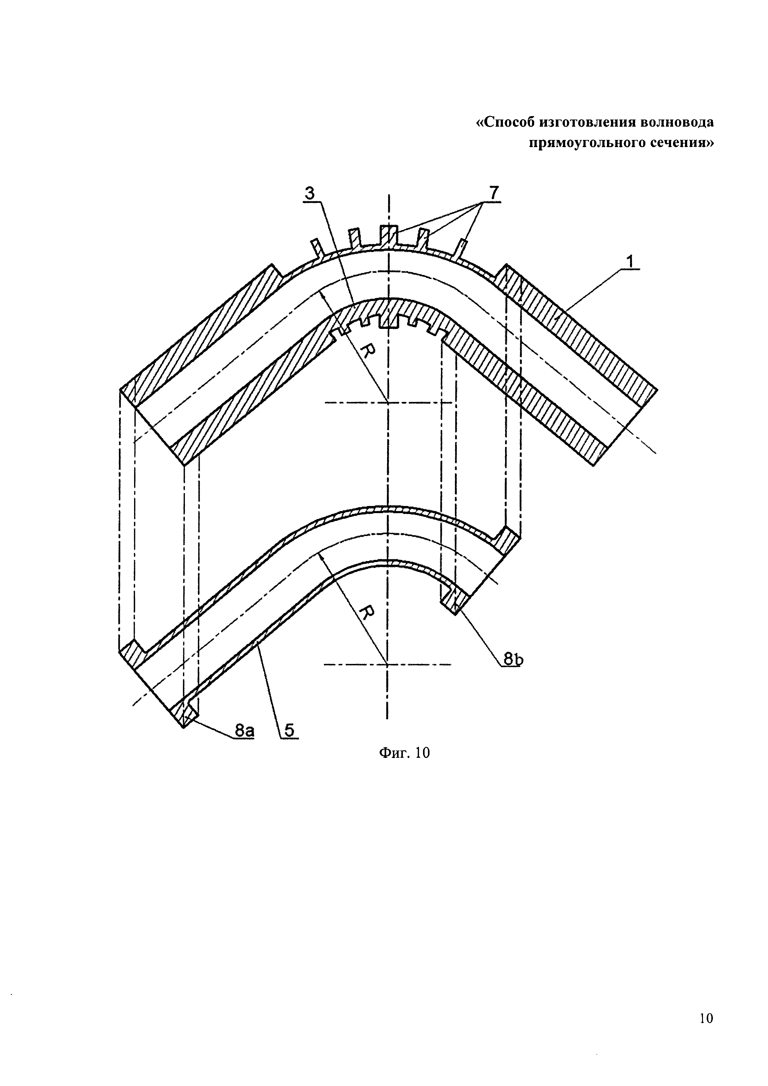
Формула изобретения

1. Способ изготовления волновода, включающий гибку заготовки, имеющей канал прямоугольного сечения, отличающийся тем, что канал выполняют в заготовке прямоугольного сечения, зону гибки образуют, выполняя поперек заготовки углубления, образующие продольное ребро, параллельные друг другу поперечные ребра, расположенные с внешней по отношению к изгибу стороны продольного ребра, и параллельные друг другу поперечные канавки, расположенные с внутренней по отношению к изгибу стороны продольного ребра.

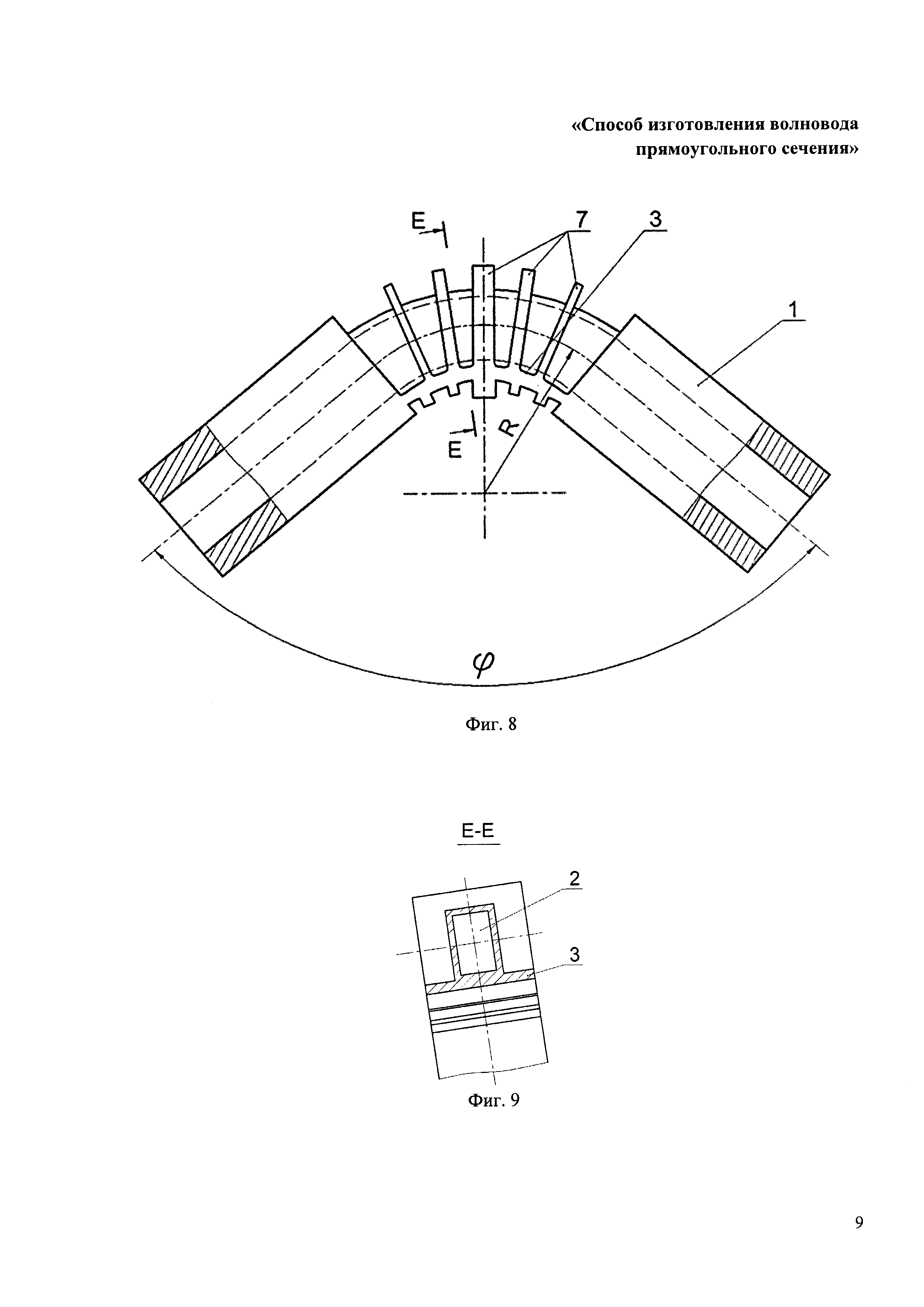
2. Способ по п. 1, отличающийся тем, что продольный размер зоны гибки выбирают в соответствии с заданными радиусом изгиба волновода и углом гибки.

3. Способ по п. 1 или 2, отличающийся тем, что поперечные ребра, расположенные с внешней по отношению к изгибу стороны продольного ребра, выполняют толщиной, уменьшающейся от середины зоны гибки к ее краям, и/или с расстоянием между ближайшими друг к другу гранями соседних ребер, увеличивающимся от середины зоны гибки к ее краям.

4. Способ по п. 1 или 2, отличающийся тем, что поперечные канавки, расположенные с внутренней по отношению к изгибу стороны продольного ребра, выполняют глубиной и/или шириной, уменьшающимися от середины зоны гибки к ее краям.

5. Способ по п. 1 или 2, отличающийся тем, что углубления выполняют таким образом, что внутренняя поверхность одной из стенок волновода находится в пределах продольного ребра или с внешней по отношению к изгибу стороны продольного ребра.

6. Способ по п. 1 или 2, отличающийся тем, что осуществляют горячую гибку заготовки.

7. Способ по п. 1 или 2, отличающийся тем, что после гибки производят механическую обработку заготовки для формирования наружной части волновода.

Описание

[1]

Изобретение относится к области антенной техники и может быть использовано при изготовлении волноводов прямоугольного сечения, входящих в состав СВЧ-устройств.

[2]

Известен способ изготовления волновода, включающий гибку на оправке заготовки (отрезка трубы), имеющей канал прямоугольного сечения (см. патент RU 2571306 С1, опубл. 20.12.2015).

[3]

Недостатком известного способа является невозможность изгибания заготовки с сопоставимым с поперечными размерами канала волновода радиусом и/или при близком (сопоставимом с поперечными размерами канала волновода) расположении фланца волновода к зоне гибки. Еще одним недостатком является то, что трубы выпускают только стандартных поперечных размеров с заданным шагом, что не позволяет изготавливать волноводы произвольных поперечных размеров и из любого подходящего материала.

[4]

Известный способ принят в качестве ближайшего аналога заявленного способа.

[5]

Технической проблемой, решаемой настоящим изобретением, является создание способа изготовления волновода, лишенного указанных недостатков.

[6]

В результате достигается технический результат, состоящий в обеспечении возможности изгибания заготовки с малым радиусом при обеспечении заданной геометрии изготавливаемого волновода (в том числе, его канала) с требуемой точностью и повышении технологичности изготовления волноводов любых (в том числе, нестандартных) типоразмеров из любого подходящего материала, вследствие отсутствия необходимости как использования оснастки в процессе гибки, так и использования трубы заданных размеров.

[7]

Конкретно, указанный технический результат достигается путем осуществления способа изготовления волновода, включающего выполнение в заготовке прямоугольного сечения канала прямоугольного сечения и гибку заготовки. Зону гибки образуют, выполняя поперек заготовки углубления, образующие продольное ребро, параллельные друг другу поперечные ребра, расположенные с внешней по отношению к изгибу стороны продольного ребра, и параллельные друг другу поперечные канавки, расположенные с внутренней по отношению к изгибу стороны продольного ребра.

[8]

Согласно частному варианту, продольный размер зоны гибки выбирают в соответствии с заданными радиусом изгиба волновода и углом гибки.

[9]

Согласно предпочтительному варианту, поперечные ребра, расположенные с внешней по отношению к изгибу стороны продольного ребра, выполняют толщиной, уменьшающейся от середины зоны гибки к ее краям, и/или с расстоянием между ближайшими друг к другу гранями соседних ребер увеличивающимся от середины зоны гибки к ее краям.

[10]

Согласно предпочтительному варианту, поперечные канавки, расположенные с внутренней по отношению к изгибу стороны продольного ребра, выполняют глубиной и/или шириной, уменьшающимися от середины зоны гибки к ее краям.

[11]

Согласно другому предпочтительному варианту, углубления выполняют таким образом, что внутренняя поверхность одной из стенок волновода находится в пределах продольного ребра или с внешней по отношению к изгибу стороны продольного ребра.

[12]

Согласно еще одному предпочтительному варианту, осуществляют горячую гибку заготовки.

[13]

Согласно еще одному предпочтительному варианту, после гибки производят механическую обработку заготовки для формирования наружной части волновода.

[14]

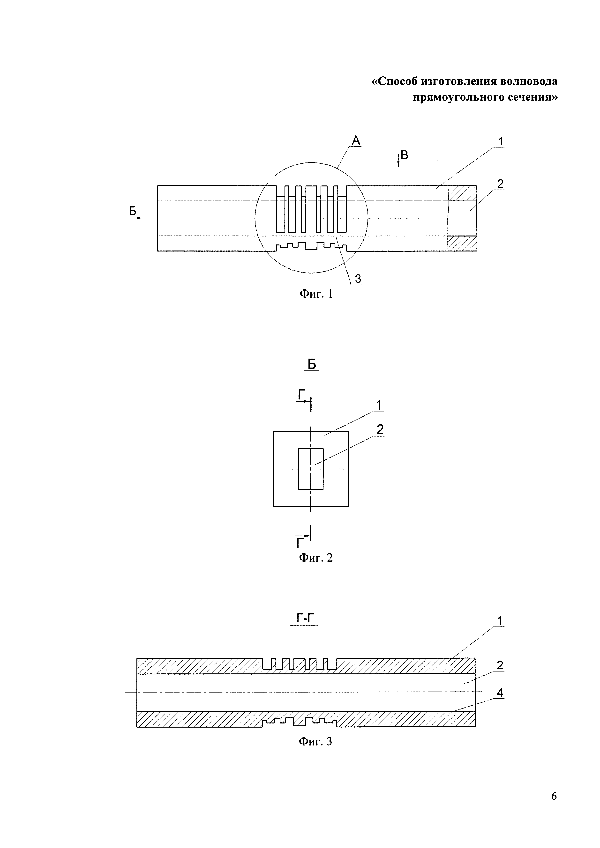
На фиг. 1 показана заготовка с образованной зоной гибки, согласно частному варианту выполнения (общий вид).

[15]

На фиг. 2 показана заготовка с образованной зоной гибки, согласно частному варианту выполнения (вид Б).

[16]

На фиг. 3 показана заготовка с образованной зоной гибки, согласно частному варианту выполнения (разрез Г-Г).

[17]

На фиг. 4 показана заготовка с образованной зоной гибки, согласно частному варианту выполнения (вид В).

[18]

На фиг. 5 показана зона гибки, согласно частному варианту выполнения.

[19]

На фиг. 6 показана заготовка после гибки, согласно частному варианту выполнения.

[20]

На фиг. 7 показана заготовка после гибки, согласно частному варианту выполнения (разрез Д-Д).

[21]

На фиг. 8 показана заготовка после гибки, согласно другому частному варианту выполнения.

[22]

На фиг. 9 показана заготовка после гибки, согласно другому частному варианту выполнения (разрез Е-Е).

[23]

На фиг. 10 показан продольный разрез заготовки после гибки, согласно частному варианту выполнения, и соответствующий продольный разрез готового волновода.

[24]

Способ реализуют следующим образом.

[25]

Предварительно изготавливают (например, из алюминиевого сплава) заготовку 1 прямоугольного сечения и выполняют в ней канал 2, например, методом электроэрозионной обработки.

[26]

Затем, как показано на фиг. 1-5, образуют зону гибки, выполняя поперек заготовки 1 углубления, образующие продольное ребро 3. В частном варианте реализации способа, например, в варианте, показанном на фиг. 6 и фиг. 7, внутренняя поверхность 4 одной из стенок волновода находится в пределах продольного ребра 3. В другом частном варианте реализации способа, например, в варианте, показанном на фиг. 8 и фиг. 9, внутренняя поверхность 4 одной из стенок волновода находится с внешней по отношению к изгибу стороны продольного ребра 3.

[27]

Также углубления образуют параллельные друг другу поперечные канавки 6, расположенные с внутренней по отношению к изгибу стороны продольного ребра 3, и параллельные друг другу поперечные ребра 7, расположенные с внешней по отношению к изгибу стороны продольного ребра 3.

[28]

Образование в зоне гибки продольного ребра 3, поперечных ребер 7 и поперечных канавок 6 позволяет обеспечить в процессе изгибания заготовки заданную геометрию канала 2 волновода 5 с требуемой точностью. В частном варианте реализации способа, показанном на фиг. 6, поперечные канавки 6, расположенные с внутренней по отношению к изгибу стороны продольного ребра, выполняют глубиной h, уменьшающейся от середины зоны гибки к ее краям (h1>h2>h3), и шириной s, уменьшающейся от середины зоны гибки к ее краям (s1>s2>s3).

[29]

Допустимы варианты, в соответствии с которыми поперечные канавки 6, расположенные с внутренней по отношению к изгибу стороны продольного ребра, выполняют глубиной, уменьшающейся от середины зоны гибки к ее краям (при неизменной ширине), или шириной, уменьшающейся от середины зоны гибки к ее краям (при неизменной глубине).

[30]

В частном варианте реализации способа, поперечные ребра 7, расположенные с внешней по отношению к изгибу стороны продольного ребра, выполняют толщиной b, уменьшающейся от середины зоны гибки к ее краям (b1>b2>b3), с расстоянием d между ближайшими друг к другу гранями соседних ребер увеличивающимся от середины зоны гибки к ее краям (d1>d2>d3).

[31]

Допустимы варианты, в соответствии с которыми поперечные ребра 7, расположенные с внешней по отношению к изгибу стороны продольного ребра, выполняют толщиной, уменьшающейся от середины зоны гибки к ее краям (при неизменном расстоянии d), или с расстоянием d, уменьшающимся от середины зоны гибки к ее краям (при неизменной толщине b).

[32]

Затем осуществляют гибку заготовки 1 в соответствии с заданными радиусом изгиба R волновода 5 и углом гибки ϕ (см. фиг. 6 и фиг. 8). Гибку осуществляют посредством приложения изгибающего момента к каждой из концевых частей заготовки 1.

[33]

В частном варианте реализации способа заготовку 1 подвергают нагреву в зоне гибки (например, при помощи газопламенной горелки) и осуществляют горячую гибку заготовки.

[34]

Далее, при необходимости осуществляют механическую обработку заготовки 1 (любым известным способом, в частности, фрезерованием) до достижения требуемых внешних размеров волновода 5 (с фланцами 8а и 8b), в частности, показанного на фиг. 10.

[35]

Заявленный способ может, в частности, найти свое применение в случае, когда сложно или невозможно использовать пайку для присоединения фланцев (например, в случае изготовления волноводов из алюминия и его сплавов), а также в случае близкого расположения фланцев к зоне гибки, когда такое расположение фланцев мешает размещению формообразующей оснастки в зоне гибки.

[36]

Формирование наружной части волновода, в том числе, фланцев, посредством механической обработки заготовки после ее гибки позволяет обеспечить точность размеров волновода и взаимного расположения фланцев.

Как компенсировать расходы
на инновационную разработку
Похожие патенты