патент
№ RU 2605160
МПК F01D25/24

УСТРОЙСТВО ДЛЯ ПРИСОЕДИНЕНИЯ РЕВЕРСИВНОГО УСТРОЙСТВА К ПЕРЕДНЕМУ КОРПУСУ ДВИГАТЕЛЯ

Авторы:
Тункин Анатолий Иванович Кобелев Николай Валерьевич Копысов Дмитрий Владиславович
Все (4)
Номер заявки
2015145850/06
Дата подачи заявки
26.10.2015
Опубликовано
20.12.2016
Страна
RU
Как управлять
интеллектуальной собственностью
Чертежи 
5
Реферат

[42]

Изобретение относится к двигателестроению, а именно к реверсивным устройствам газотурбинных двигателей. Устройство для присоединения реверсивного устройства к переднему корпусу двигателя включает «пушечный» замок с подвижным кольцом. Подвижное кольцо выполнено цельным по окружности, имеет П-образную форму в поперечном сечении и выступы. Выступы выполнены с возможностью образования контактных пар «пушечного» замка с выступами фланцев переднего корпуса и реверсивного устройства, соответственно. Контактные пары «пушечного» замка могут быть образованы симметрично или в шахматном порядке по окружности. Выступы подвижного кольца выполнены с возможностью контакта с выступами фланцев переднего корпуса и реверсивного устройства с упругим натягом Δl=0-0,4 мм. Выступы фланца реверсивного устройства «пушечного» замка могут быть выполнены каждый с торцевой выточкой, образующей зазор k=0,1-0,8 мм при контакте выступа фланца реверсивного устройства с выступом фланца переднего корпуса. Изобретение позволяет снизить массу устройства, упростить процесс присоединения реверсивного устройства к переднему корпусу двигателя, а также повысить надежность всего соединения. 3 з.п. ф-лы, 7 ил.

Формула изобретения

1. Устройство для присоединения реверсивного устройства к переднему корпусу двигателя, включающее «пушечный» замок с подвижным кольцом, отличающееся тем, что подвижное кольцо выполнено цельным по окружности, имеет П-образную форму в поперечном сечении и выступы, выполненные с возможностью образования контактных пар «пушечного» замка с выступами фланцев переднего корпуса и реверсивного устройства, соответственно, при этом выступы подвижного кольца выполнены с возможностью контакта с выступами фланцев переднего корпуса и реверсивного устройства с упругим натягом Δl=0-0,4 мм, определяемым по формуле: Δl=l1-(l2+l3), где
l1 - ширина проточки в подвижном кольце;
l2 - ширина выступа фланца корпуса переднего;
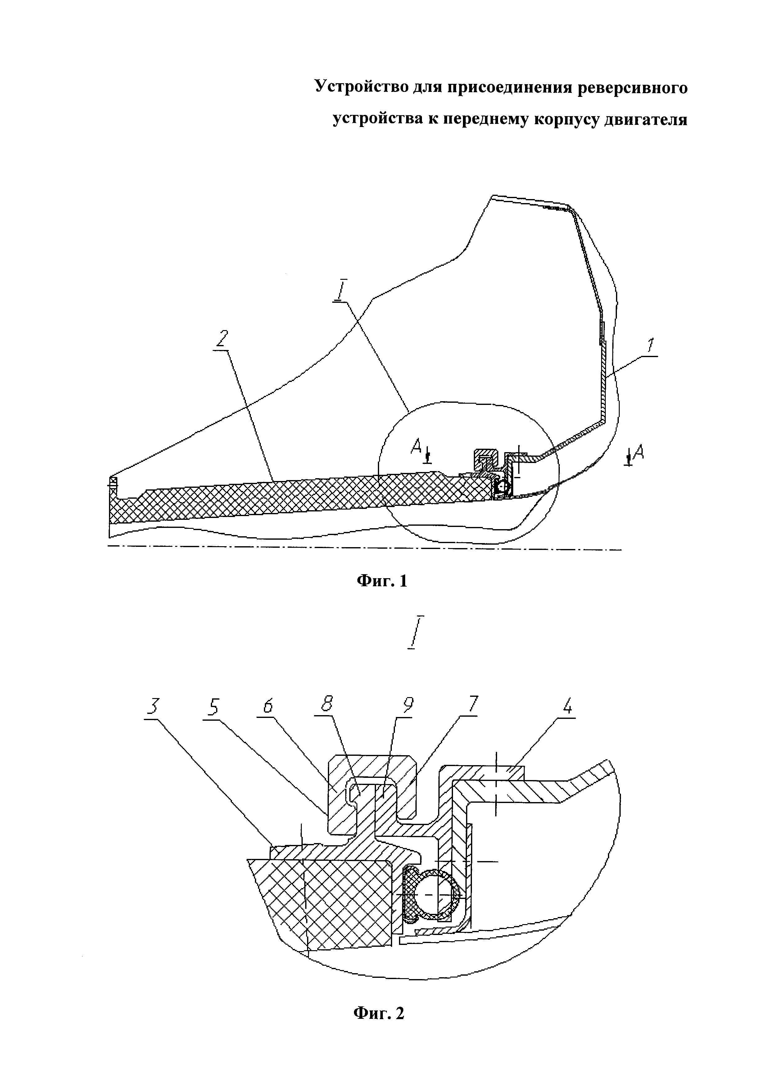
l3 - ширина выступа фланца реверсивного устройства.

2. Устройство по п. 1, отличающееся тем, что выступы подвижного кольца выполнены с возможностью образования контактных пар «пушечного» замка симметрично по окружности.

3. Устройство по п. 1, отличающееся тем, что выступы подвижного кольца выполнены с возможностью образования контактных пар «пушечного» замка в шахматном порядке по окружности.

4. Устройство по п. 1, отличающееся тем, что выступы фланца реверсивного устройства «пушечного» замка выполнены каждый с торцевой выточкой, образующей зазор k=0,1-0,8 мм при контакте выступа фланца реверсивного устройства с выступом фланца переднего корпуса.

Описание

[1]

Изобретение относится к двигателестроению, а именно к реверсивным устройствам газотурбинных двигателей.

[2]

Известны конструкции устройств, в которых соединение реверсивного устройства и переднего корпуса двигателя выполнено по типу «пушечного» замка, из которых наиболее близким к заявляемой является конструкция устройства для присоединения реверсивного устройства к переднему корпусу двигателя, включающее «пушечный» замок с подвижным кольцом (FR №2965861, F02K 1/80, опубл. 13.04.2012), которое смонтировано из секций посредством соединительных накладок.

[3]

Известной конструкции присущи следующие недостатки:

[4]

- наличие соединительных накладок, скрепляющих секции подвижного кольца, увеличивает массу двигателя и усложняет сборку устройства;

[5]

- выполнение подвижного кольца составным приводит к его недостаточной жесткости и разноразмерности по окружности торцевой стяжки.

[6]

Технический результат заявленного изобретения заключается в снижении массы устройства, упрощении процесса присоединения реверсивного устройства к переднему корпусу двигателя, а также повышении надежности всего соединения.

[7]

Указанный технический результат достигается тем, что в устройстве для присоединения реверсивного устройства к переднему корпусу двигателя, включающем «пушечный» замок с подвижным кольцом, согласно изобретению, подвижное кольцо выполнено цельным по окружности, имеет П-образную форму в поперечном сечении и выступы, выполненные с возможностью образования контактных пар «пушечного» замка с выступами фланцев переднего корпуса и реверсивного устройства, соответственно.

[8]

При этом выступы подвижного кольца могут быть выполнены с возможностью образования контактных пар «пушечного» замка симметрично по окружности.

[9]

Выступы подвижного кольца могут быть выполнены с возможностью образования контактных пар «пушечного» замка в шахматном порядке по окружности.

[10]

Выступы подвижного кольца выполнены с возможностью контакта с выступами фланцев переднего корпуса и реверсивного устройства с упругим натягом Δl=0-0,4 мм, определяемым по формуле: Δl=l1-(l2+l3), где:

[11]

l1 - ширина проточки в подвижном кольце;

[12]

l2 - ширина выступа фланца переднего корпуса;

[13]

l3 - ширина выступа фланца реверсивного устройства.

[14]

Выступы фланца реверсивного устройства «пушечного» замка выполнены каждый с торцевой выточкой, образующей зазор k=0,1-0,8 мм при контакте выступа фланца реверсивного устройства с выступом фланца переднего корпуса.

[15]

Выполнение подвижного кольца цельным (без разъемов) по окружности, имеющим П-образную форму в поперечном сечении и выступы, выполненные с возможностью образования контактных пар «пушечного» замка с выступами фланцев переднего корпуса и реверсивного устройства, соответственно, позволяет обеспечить равномерную стяжку по окружности конструктивных элементов «пушечного» замка, равномерную жесткость всего соединения по окружности, что повышает надежность устройства и всего соединения в целом, позволяет снизить трудоемкость процесса сборки (разборки) реверсивного устройства с передним корпусом двигателя, а также снизить массу устройства и массу всего двигателя.

[16]

Устройство для присоединения реверсивного устройства к переднему корпусу двигателя может быть выполнено с двумя возможными вариантами расположения по окружности образованных контактных пар «пушечного» замка. В соответствии с первым вариантом контактные пары «пушечного» замка могут быть расположены симметрично по окружности. Согласно второму варианту, контактные пары «пушечного» замка могут быть расположены в шахматном порядке по окружности.

[17]

При этом образование контактных пар «пушечного» замка по второму варианту (в шахматном порядке по окружности) дополнительно облегчает сборку, приводит к уменьшению требуемого усилия при окружном развороте подвижного кольца, а также позволяет увеличить податливость стяжки за счет окружного податливого участка, чем он больше по длине в окружном направлении, тем более податливое соединение при окружном развороте подвижного кольца.

[18]

Выполнение выступов подвижного кольца с возможностью контакта с выступами фланцев переднего корпуса и реверсивного устройства с упругим натягом Δl=0-0,4 мм позволяет исключить появление между контактными поверхностями конструктивных элементов устройства зазоров, размеры которых превышают допустимые значения (с учетом допусков на изготовление), приводящие к возникновению взаимных осевых и радиальных перемещений реверсора тяги и переднего кожуха вентилятора.

[19]

Величина Δl упругого натяга определяется по формуле: Δl=l1-(l2+l3), где:

[20]

l1 - ширина проточки (охватывающей выступы фланцев переднего корпуса и реверсивного устройства) в подвижном кольце;

[21]

l2 - ширина выступа фланца переднего корпуса;

[22]

l3 - ширина выступа фланца реверсивного устройства.

[23]

Резиновое уплотнительное кольцо дает необходимый минимальный упругий натяг, для компенсации допусков на изготовление. При натяге Δl>0,4 мм возникнет пластическая (остаточная) деформация выступов поворотного кольца и повышается трудоемкость сборки устройства.

[24]

Выполнение выступов фланца реверсивного устройства с торцевой выточкой (по высоте выступов), образующей зазор k=0,1-0,8 мм при контакте выступа фланца реверсивного устройства с выступом фланца переднего корпуса (в стыке соединяемых выступов фланцев), позволяет дополнительно увеличить податливость «пушечного» замка за счет появляющегося упругого изгиба соединяемых фланцев реверсивного устройства и переднего корпуса двигателя. Увеличение податливости «пушечного» замка позволяет расширить допуски на изготовление конструктивных элементов «пушечного» замка.

[25]

При этом получение зазора k<0,1 мм приводит к возникновению упора с ограничением осевой деформации выступов реверсивного устройства «пушечного» замка, а получение зазора k>0,8 мм снижает прочность выступов реверсивного устройства.

[26]

На фиг. 1 изображен продольный разрез соединения реверсивного устройства с передним корпусом двигателя (вариант расположения контактных пар «пушечного» замка симметрично);

[27]

на фиг. 2 изображен элемент I на фиг. 1 в увеличенном виде;

[28]

на фиг. 3 показан вид А (развертка) на соединение для варианта с симметричным расположением контактных пар «пушечного» замка, в открытом и закрытом положениях;

[29]

на фиг. 4 изображен продольный разрез соединения реверсивного устройства с передним корпусом двигателя, (вариант расположения контактных пар «пушечного» замка в шахматном порядке);

[30]

на фиг. 5 изображен элемент II на фиг. 4 в увеличенном виде;

[31]

на фиг. 6 показан вид Б (развертка) на соединение для варианта с шахматным расположением контактных пар «пушечного» замка, в открытом и закрытом положениях.

[32]

на фиг. 7 изображен элемент I на фиг. 1 (с зазором в стыке соединяемых выступов фланцев реверсивного устройства и переднего корпуса двигателя).

[33]

Устройство для присоединения реверсивного устройства 1 и переднего корпуса 2 двигателя включает «пушечный» замок (фиг. 1-2, 4-5), состоящий из фланца 3 (заднего) переднего корпуса 2, фланца 4 (переднего) реверсивного устройства 1, подвижного кольца 5, выполненного цельным и имеющим П-образную форму в поперечном сечении.

[34]

Подвижное кольцо 5 имеет выступающие вертикальные выступы (стенки) 6 и 7, образующие охватывающие выступы «пушечного» замка. При этом подвижное кольцо 5 выполнено с возможностью охвата выступов 8 и 9, расположенных на фланце 3 переднего корпуса 2 и фланце 4 реверсивного устройства 1, соответственно.

[35]

Выступы 6 и 7 подвижного кольца 5 выполнены с возможностью контакта, соответственно, с выступами 8 фланца 3 переднего корпуса 2 и выступами 9 фланца 4 реверсивного устройства 1, образуя контактные пары 10 и 11 «пушечного» замка.

[36]

При этом выступы подвижного кольца могут быть выполнены с возможностью образования (расположения) контактных пар 10 и 11 «пушечного» замка по окружности симметрично (фиг. 3) или в шахматном порядке (фиг. 6).

[37]

Для обеспечения натяга Δl при сборке выступы 6 и 7 выполняют с пологими фасками 12, а выступы 8 и 9 - с пологими фасками 13 (фиг. 3, 6).

[38]

Выступ 9 фланца 4 реверсивного устройства 1 может быть выполнен с торцевой выточкой 14 (фиг. 7), образующей зазор k=0,1-0,8 мм при контакте выступа 9 с выступом 8, позволяя увеличить упругую деформацию соединяемых фланцев.

[39]

Присоединение реверсивного устройства к переднему корпусу двигателя осуществляют с помощью заявленного устройства следующим образом.

[40]

Подвижное кольцо 5 с выступами 6 и 7 сначала устанавливается на передний корпус 2, осевой сборкой через его пазы. Затем приставляется реверсивное устройство 1, совмещая выступы 9 фланца 4 реверсивного устройства 1 с выступами 8 фланца 3 переднего корпуса 2 (см. фиг. 3 или 6, «пушечный» замок в открытом положении). После чего, при помощи поворотного устройства (не показано) кольца 5 выступы 6 и 7 совмещаются с выступами 8 переднего корпуса 2 и выступами 9 фланца 4 реверсивного устройства 1. Таким образом, «пушечный» замок становится в закрытое рабочее положение (см. фиг. 3 или 6, «пушечный» замок в закрытом положении). Натяг при сборке реализуется пологими заходными фасками 12 и 13 при окружном развороте подвижного кольца 5.

[41]

При разборке все операции выполняются в обратном порядке.

Как компенсировать расходы
на инновационную разработку
Похожие патенты