Изобретение относится к медицине и может быть использовано для пробоподготовки почвы для определения цист лямблий и ооцист криптоспоридий. Для этого проводят отбор проб и поэтапные исследования. При исследовании в отобранный объем пробы почвы добавляют дистиллированную воду. Взвесь перемешивают и отстаивают в течение экспериментально установленного времени 20 мин или центрифугируют 3 мин при 1500 об/мин. Надосадочную жидкость переливают в центрифужные пробирки и центрифугируют 3 мин при 1500 об/мин. Надосадочную жидкость из пробирок удаляют. Полученный осадок исследуют адаптированным методом иммуномагнитной сепарации с последующим иммунофлуоресцентным мечением. При этом количество исследований рассчитывают по количеству полученных осадков. Надосадочную жидкость 25 мл размещаются в 3 пробирки, после центрифугирования которых образуются 3 пробы осадка, по расчету 1 осадок на 1 исследование. Если суммарный объем осадков в пробирках составляет не более 1,0 мл, их объединяют в одно исследование, после чего проводят определение цист лямблий и ооцист криптоспоридий адаптированным методом иммуномагнитной сепарации с последующим иммунофлуоресцентным мечением. Результат учитывают исходя из того, что цисты лямблий представляют собой сверкающие и флюоресцирующие яблочно-зеленым светом объекты, от округлых до овальных, от 8 до 14 мкм в длину, от 7 до 10 мкм в ширину, с ярко подсвеченными краями. Ооцисты криптоспоридий представляют собой сверкающие и флюоресцирующие яблочно-зеленым светом объекты от овальных до сферических от 3 до 5 мкм в диаметре, с ярко подсвеченными краями. Изобретение обеспечивает повышение эффективности определения лямблий и ооцист криптоспоридий в почве в целях своевременной профилактики, выявлении паразитарного загрязнения. 2 табл., 1 ил., 2 пр.
Способ пробоподготовки почвы для определения цист лямблий и ооцист криптоспоридий с использованием адаптивного метода иммуномагнитной сепарации с последующим иммунофлуоресцентным мечением, включающий отбор проб и поэтапные исследования, отличающийся тем, что при исследовании в отобранный объем пробы почвы добавляют дистиллированную воду, после чего взвесь перемешивают и отстаивают в течение экспериментально установленного времени 20 мин или центрифугируют 3 мин при 1500 об/мин, надосадочную жидкость переливают в центрифужные пробирки и центрифугируют 3 мин при 1500 об/мин, надосадочную жидкость из пробирок удаляют, полученный осадок исследуют адаптированным методом иммуномагнитной сепарации с последующим иммунофлуоресцентным мечением, при этом количество исследований рассчитывают по количеству полученных осадков таким образом, что в 25 мл надосадочной жидкости размещаются в 3 пробирки, после центрифугирования которых образуются 3 пробы осадка, по расчету 1 осадок на 1 исследование, при этом, если суммарный объем осадков в пробирках составляет не более 1,0 мл, их объединяют в одно исследование, после чего проводят определение цист лямблий и ооцист криптоспоридий адаптированным методом иммуномагнитной сепарации с последующим иммунофлуоресцентным мечением, результат учитывают исходя из того, что цисты лямблий представляют собой сверкающие и флюоресцирующие яблочно-зеленым светом объекты, от округлых до овальных, от 8 до 14 мкм в длину, от 7 до 10 мкм в ширину, с ярко подсвеченными краями, ооцисты криптоспоридий представляют собой сверкающие и флюоресцирующие яблочно-зеленым светом объекты от овальных до сферических от 3 до 5 мкм в диаметре, с ярко подсвеченными краями.
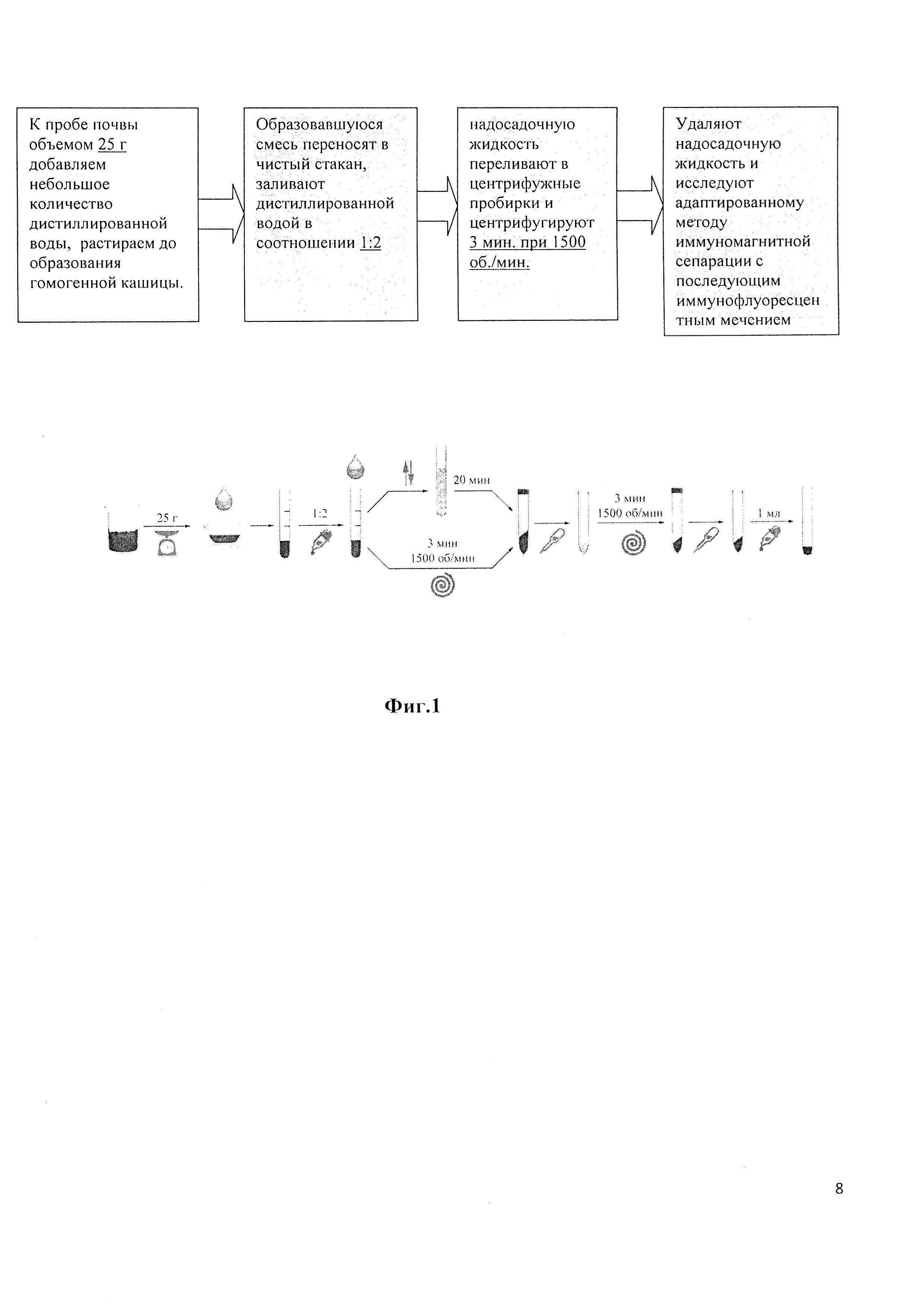
Предлагаемое изобретение относится к области медицины, более конкретно к работам по санитарной паразитологии по определению паразитологических агентов в почве с разработанной пробоподготовкой проб к проведению исследований адаптированным методом иммуномагнитной сепарации с последующим иммунофлуоресцентным мечением. До настоящего времени в санитарной паразитологии определение паразитологических агентов в почве проводят с 1992 года классическим методом Падченко, включающим отбор проб и многоэтапные исследования проб почвы (Методические указания МУК 4.2.2661-10). Этот метод является многоэтапным и трудновоспроизводимым методом исследования, в котором не определены количества исследований образовавшихся в ходе пробоподготовки больших остатков осадков. Пересчет результата исследования 1 мл осадка на весь объем надосадочной жидкости или объединенной пробы почвы, по методу не уточнен, что заведомо снижает значимость гигиенического заключения на образец. Не проведена стандартизация количества исследований промывных вод и надосадочной жидкости из одной пробы, а отстаивание конечной взвеси свыше 24 часов для проведения паразитологического исследования не позволяет интенсифицировать этап пробоподготовки. Достигаемым при использовании предлагаемого изобретения техническим результатом является повышение эффективности определения цист лямблий и ооцист криптоспоридий в почве, сокращении времени пробоподготовки от 40 до 45 минут и сокращении потери патогенов на этапах исследования за счет сокращения множественных ее промываний. Технический результат достигается тем, что в способе пробоподготовки почвы для проведения определения цист лямблий и ооцист криптоспоридий, включающий отбор проб и поэтапные исследования, при исследовании в отобранный объем пробы почвы добавляют дистиллированную воду, после чего взвесь перемешивают и отстаивают в течение экспериментально установленного времени 20 мин или центрифугируют 3 мин при 1500 об/мин, надосадочную жидкость переливают в центрифужные пробирки и центрифугируют 3 мин при 1500 об/мин, надосадочную жидкость из пробирок удаляют, полученный осадок исследуют адаптированным методом иммуномагнитной сепарации с последующим иммунофлуоресцентным мечением, при этом количество исследований рассчитывают по количеству полученных осадков таким образом, что в 25 мл надосадочной жидкости размещаются в 3 пробирки, после центрифугирования которых образуются 3 пробы осадка, по расчету 1 осадок на 1 исследование, после объединения которых проводят определение цист лямблий и ооцист криптоспоридий адаптированным методом иммуномагнитной сепарации с последующим иммунофлуоресцентным мечением, результат учитывают исходя из того, что цисты лямблий представляют собой сверкающие и флюоресцирующие яблочно-зеленым светом объекты, от округлых до овальных, от 8 до 14 мкм в длину, от 7 до 10 мкм в ширину, с ярко подсвеченными краями, ооцисты криптоспоридий представляют собой сверкающие и флюоресцирующие яблочно-зеленым светом объекты от овальных до сферических от 3 до 5 мкм в диаметре, с ярко подсвеченными краями. Разработанный способ пробоподготовки проб почвы для исследования адаптированным методом иммуномагнитной сепарации с последующим иммунофлуоресцентным мечением основан на принципе замачивания проб почвы в воде и последующим исследованием осадка надосадочной жидкости после 20 мин отстаивания взвеси без промывки. Предлагаемый способ реализуется следующим образом. Отобранную пробу почвы, отбираемую установленным нормируемым объемом 25 г, помещают в фаянсовую ступку и добавляют небольшое количество дистиллированной воды, затем растирают до образования гомогенной кашицы. Образовавшуюся смесь переносят в чистый стакан, заливают дистиллированной водой в соотношении 1 к 2. Взвесь перемешивают и отстаивают в течение стандартизованного времени 20 мин или центрифугируют при стандартных параметрах в течение 3 мин при 1500 об/мин. Надосадочную жидкость переливают в центрифужные пробирки и центрифугируют при стандартных параметрах 3 мин при 1500 об/мин. Надосадочную жидкость из пробирок удаляют. Полученный осадок 1.0 мл исследуют адаптированным методом иммуномагнитной сепарации с последующим иммунофлуоресцентным мечением. Количество исследований рассчитывают по количеству полученных осадков, таким образом, что в 25 мл надосадочной жидкости размещаются в 3 пробирки, после центрифугирования которых образуются 3 пробы осадка. По расчету 1 осадок -1 исследование. Если суммарный объем осадков в пробирках составляет не более 1.0 мл, их можно объединить в одно исследование. Результат учитывают исходя из того, что цисты лямблий представляют собой сверкающие и флюоресцирующие яблочно-зеленым светом объекты, от округлых до овальных, от 8 до 14 мкм в длину, от 7 до 10 мкм в ширину, с ярко подсвеченными краями, ооцисты криптоспоридий представляют собой сверкающие и флюоресцирующие яблочно-зеленым светом объекты от овальных до сферических от 3 до 5 мкм в диаметре, с ярко подсвеченными краями. Предлагаемый способ поясняется примерами. Пример 1. Классическим методом исследования проб почвы является метод Падченко, основанный на разности удельного веса воды и цист патогенных простейших при отстаивании взвеси в больших объемах воды с последующим исследованием надосадочной жидкости. По методу Падченко анализ проводят в течение первых 2-3 суток после получения пробы и экспозиции водной взвеси, полученной 3-кратной промывкой пробы, в течение 24 ч, при этом эффективность метода выявляемости цист лямблий составляет не более 15-19%, ооцист криптоспоридий не выявляется. Этот метод является единственным унифицированным методом определения загрязненности почвы патогенными кишечными возбудителями и был принят в настоящей работе для сравнительной оценки эффективности способ пробоподготовки почвы с адаптированным методом иммуномагнитной сепарации с последующим иммунофлуоресцентным мечением. Для проведения исследований почвы адаптированным метод иммуномагнитной сепарации с последующим иммунофлуоресцентным мечением разработана методика пробоподготовки (Таблица 1), которая позволяет проводить исследования в день доставки проб в лабораторию; не проводится экспозиция смеси проб почвы в течение 24 ч; не проводится дополнительная промывка смеси, что сокращает время пробоподготовки и сохраняет возможные потери патогенов, при этом эффективность адаптированного метода иммуномагнитной сепарации с последующим иммунофлуоресцентным мечением с пробоподготовкой почвы составляет 85-90% по определению цист лямблий и ооцист криптоспоридий (потери патогена за счет их адгезии с почвенными частицами). Пример 2. Для определения специфичности адаптированным методом иммуномагнитной сепарации с последующим иммунофлуоресцентным мечением со способом пробоподготовки почвы использовали экспериментальные модели с искусственным заражением натурного материала почвы. Эффективность исследований способа пробоподготовки почвы адаптированным методом иммуномагнитной сепарации с последующим иммунофлуоресцентным мечением в экспериментальной серии составила 100.0% по определению цист лямблий и 100.0% по определению ооцист криптоспоридий, в отличие от метода Падченко, эффективность которого составила 55.0% для цист лямблий, 0% - для ооцист криптоспоридий (Таблица 2).
