Изобретение относится к очистке сточных вод. Установка включает флотокамеру 1 с нерастворимыми электродами 2, плавающую фильтрующую загрузку 3, плавающую сорбционно-активную загрузку, растворимый электрод 4. Флотокамера 1 содержит перегородки, выполненные в виде четырех цилиндров 5 с верхней частью в виде конусного сборного устройства 6, установленных коаксиально относительно друг друга. Верхняя часть боковой стенки первого и третьего и нижняя часть второго и четвертого по ходу очищаемой воды цилиндров 5 перфорирована. Верхние части конусных устройств 6 снабжены вертикальными трубками 7, торцы которых расположены на одинаковом уровне. Плавающая фильтрующая загрузка 3 размещена между четвертым цилиндром 5 и стенкой корпуса 8 флотокамеры 1. Плавающая сорбционно-активная загрузка расположена ниже плавающей фильтрующей загрузки 3. В пространстве между вторым и третьим цилиндрами 5 выполнен кольцевой барботер 13. Растворимый электрод 4, представляющий собой смесь из железных и медных шариков, упакованных в диэлектрический перфорированный бокс, расположен в первом цилиндре 5 на расстоянии от дна. Под растворимым электродом 4 установлен ультразвуковой генератор 11. Изобретение позволяет увеличить эффективность очистки сточных вод. 3 з.п. ф-лы, 3 ил., 1 табл.
1. Установка для очистки сточных вод, содержащая флотокамеру с нерастворимыми электродами, плавающей фильтрующей загрузкой и растворимым электродом, причем флотокамера содержит перегородки, выполненные в виде четырех цилиндров с верхней частью в виде конусного сборного устройства, установленных коаксиально относительно друг друга, при этом верхняя часть боковой стенки первого и третьего и нижняя часть второго и четвертого по ходу очищаемой воды цилиндров перфорирована, а верхние части конусных устройств снабжены вертикальными трубками, торцы которых расположены на одинаковом уровне, плавающая загрузка размещена между четвертым цилиндром и стенкой корпуса флотокамеры, отличающаяся тем, что установка дополнительно снабжена плавающей сорбционно-активной загрузкой, расположенной ниже плавающей фильтрующей загрузки, в пространстве между вторым и третьим цилиндрами выполнен кольцевой барботер, а растворимый электрод, представляющий собой смесь из железных и медных шариков, упакованных в диэлектрический перфорированный бокс, расположен в первом цилиндре на некотором расстоянии от дна, под растворимым электродом установлен ультразвуковой генератор. 2. Установка по п. 1, отличающаяся тем, что отрицательный нерастворимый электрод размещен под плавающей сорбционно-активной загрузкой. 3. Установка по пп. 1 или 2, отличающаяся тем, что днище установки выполнено в виде конуса. 4. Установка по пп. 1 или 2, отличающаяся тем, что перфорированный диэлектрический бокс имеет две кольцевые перегородки, пространство между которыми не заполнено электродом.
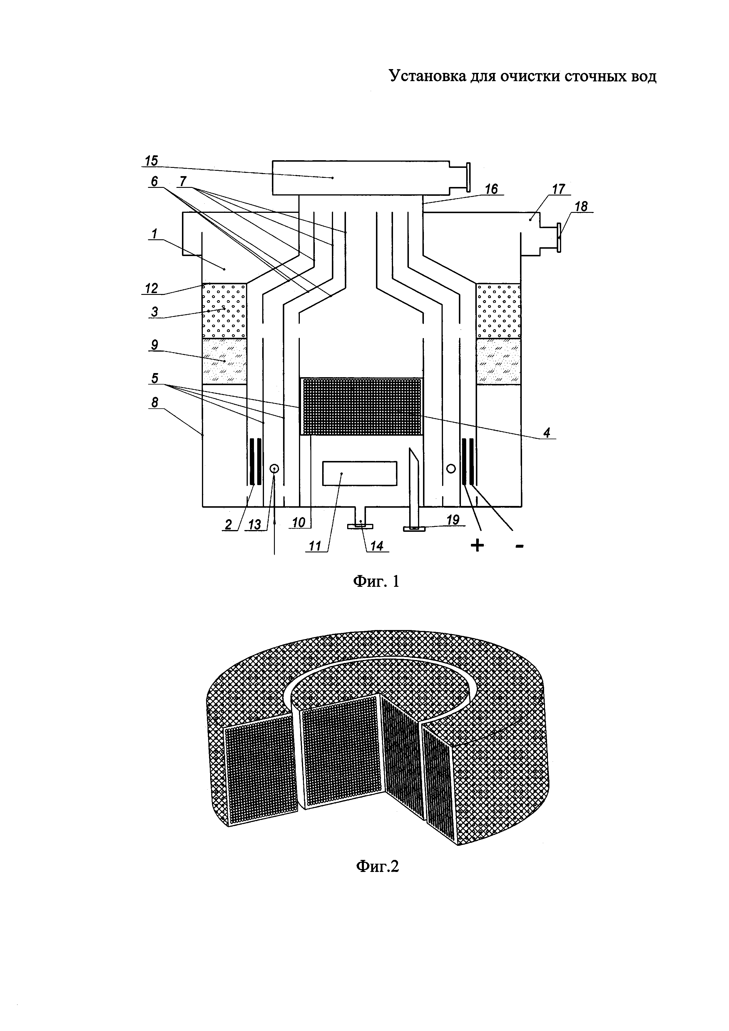
Предлагаемое изобретение относится к устройствам очистки сточных вод и может быть использовано в химической, металлургической и других отраслях промышленности для очистки загрязненных вод. Известен электрокоагулятор, содержащий корпус, днище, проточную камеру, засыпной стружечный анод, перфорированный катод и решетку, анодный токоподвод, трубопроводы, лоток, емкость, патрубок, эжектор, стержни (А.с. СССР №1787949, МПК5 C02F 1/46, 1993). Недостатком указанного электрокоагулятора является низкая степень очистки, обусловленная контактом очищаемой жидкости только со смываемыми продуктами реакции на электроде, а также отсутствие отстаивания обработанной жидкости. Прототипом является установка для очистки сточных вод от ионов тяжелых металлов, масел, взвешенных веществ и других примесей (А.с. СССР №1730044, МПК С02F 1/46, опубл. 1992). Установка для очистки сточных вод включает камеру с растворимыми электродами и флотокамеру с нерастворимыми электродами и плавающей фильтрующей загрузкой, флотокамера содержит перегородки, выполненные в виде четырех цилиндров с верхней частью в виде усеченного конуса, установленных коаксиально относительно друг друга, при этом верхняя часть боковой стенки первого и третьего и нижняя часть второго и четвертого по ходу очищаемой воды цилиндров перфорирована, а плавающая загрузка размещена между четвертым цилиндром и стенкой корпуса флотокамеры. Камера с растворимыми электродами соединена с флотокамерой горизонтальной реакционной трубой, в нижней части которой установлен распределитель стоков, выполненный в виде стержня с насадками, размещенными на одной стороне распределителя и направленными по касательной к окружности реакционной трубы, кроме того, верхние части конусных устройств флотокамеры снабжены вертикально расположенными трубками, торцы которых расположены на одинаковом уровне. Недостатком прототипа является недостаточная эффективность установки, обусловленная невысокой степенью очистки сточных вод в результате вторичного загрязнения воды продуктами растворения электродов, низкая производительность из-за малой площади электродов и большой расход электроэнергии. Задачей изобретения является увеличение эффективности очистки сточных вод. Задача решается установкой, включающей флотокамеру с нерастворимыми электродами, плавающей фильтрующей загрузкой, плавающей сорбционно-активной загрузкой, растворимым электродом; флотокамера содержит перегородки, выполненные в виде четырех цилиндров с верхней частью в виде конусного сборного устройства, установленных коаксиально относительно друг друга, при этом верхняя часть боковой стенки первого и третьего и нижняя часть второго и четвертого по ходу очищаемой воды цилиндров перфорирована, а верхние части конусных устройств снабжены вертикальными трубками, торцы которых расположены на одинаковом уровне, плавающая фильтрующая загрузка размещена между четвертым цилиндром и стенкой корпуса флотокамеры, а плавающая сорбционно-активная загрузка расположена ниже плавающей фильтрующей загрузки; в пространстве между вторым и третьим цилиндрами выполнен кольцевой барботер, а растворимый электрод, представляющий собой смесь из железных и медных шариков, упакованных в диэлектрический перфорированный бокс, расположен в первом цилиндре на некотором расстоянии от дна, под растворимым электродом установлен ультразвуковой генератор. Достигаемым техническим результатом является увеличение эффективности очистки сточных вод по сравнению с прототипом за счет увеличения производительности, степени очистки и существенного снижения энергозатрат. Сущность изобретения иллюстрируется следующими чертежами, где: на фиг. 1 показана схема установки для очистки сточных вод (продольный разрез); на фиг. 2 - сечение растворимого электрода; на фиг. 3 - график зависимости концентрации ионов хрома(VI) и железа(III) от времени обработки для предложенной установки и прототипа. Установка для очистки сточных вод (фиг. 1) включает флотокамеру 1 с нерастворимыми электродами 2, плавающей фильтрующей загрузкой 3, растворимым электродом 4. Флотокамера 1 содержит перегородки, выполненные в виде четырех цилиндров 5 с верхней частью в виде конусного сборного устройства 6, установленных коаксиально относительно друг друга. Верхние части боковых стенок первого и третьего и нижние части второго и четвертого цилиндров 5 по ходу очищаемой воды перфорированы. Верхние части конусных устройств 6 снабжены вертикальными трубками 7, торцы которых расположены на одинаковом уровне. Нерастворимые электроды 2 установлены между третьим и четвертым по ходу очищаемой воды цилиндрами 5. Плавающая фильтрующая загрузка 3 размещена между четвертым цилиндром 5 по ходу очищаемой воды и стенкой корпуса 8 флотокамеры 1. Плавающая сорбционно-активная загрузка 9 расположена ниже плавающей фильтрующей загрузки 3. Растворимый электрод 4, представляющий собой смесь из железных и медных шариков, упакованных в диэлектрический перфорированный бокс 10, расположен в первом цилиндре на некотором расстоянии от дна. Для улучшения отделения шлама от растворимого электрода 4 под ним установлен генератор 11, излучающий ультразвуковые волны в направлении электрода 4. Плавающая фильтрующая загрузка 3 удерживается перфорированным листом 12. В днище установки между вторым и третьим цилиндрами 5 закреплен кольцевой барботер 13. Под первым цилиндром 5 в днище закреплен патрубок сброса шлама 14. В верхней части установки размещен эжектор 15, всасывающий патрубок 16 которого соединен с внешним конусным устройством 6. По периметру корпуса 8 флотокамеры 1 установлен сборный кольцевой лоток 17. Очищенная вода вытекает через патрубок 18, подключенный к сборному кольцевому лотку 17, а очищаемая подается через днище установки во внутренний цилиндр 5 через патрубок 19. Установка работает следующим образом. Сточная вода поступает через патрубок 19 в первый цилиндр 5, в котором под действием электрохимической реакции электрод 4 растворяется, при этом на железных шариках выделяется коагулянт (реагент-восстановитель), а на медных - мелкодисперсные пузырьки газа (Назаров В.Д., Фурсов С.В. Гальванокоагулятор для очистки сточных вод от тяжелых металлов // Баш. хим. ж.. 2013. №3. URL: http://cyberleninka.ru/article/n/galvanokoagulyator-dlya-ochistki-stochnyh-vod-ot-tyazhelyh-metallov). Коагулянт вступает в реакцию с загрязнениями, которые находятся в сточной воде. Выделяющиеся компоненты реакции находятся в твердом состоянии и при ламинарном движении сточной воды по поверхности шариков, образующих электрод, плохо отделяются, поэтому установка снабжена генератором 11, излучающим ультразвуковые волны, способствующие отделению твердых корковых продуктов реакции от поверхности шариков растворимого электрода 4. В качестве генератора 11 может быть использован, например, ультразвуковой излучатель мощностью до 1,5 кВт, включаемый периодически. Пузырьки газа с медных шариков флотируют твердые гидрофобные частички. Несфлотированные примеси выпадают в осадок и через патрубок 14 удаляются. Сфлотированные примеси и крупные пузырьки газа поступают через конусное сборное устройство 6 и всасывающий патрубок 16 в эжектор 15, выполняющий роль струйного грязевого насоса. Частично осветленная вода через перфорацию верхней части первого цилиндра 5 поступает во второй, диаметр которого больше предыдущего. В результате этого скорость движения потока жидкости уменьшается, и флотируются более мелкие частицы и пузырьки газа, которые направляются через следующее конусное устройство 6 и всасывающий патрубок 16 в эжектор 15, а вода - через перфорацию нижней части второго цилиндра поступает в третий цилиндр 5. Конусные сборные устройства 6 и всасывающий патрубок 16 в сборе с цилиндрами 5 предотвращают попадание сфлотированных загрязнений в осветленную на предыдущей стадии очистки воду и создают более благоприятные условия сбора флотошлама. В пространстве между вторым и третьим цилиндрами 5 вода с мелкими частицами коагулянта и загрязнений подвергается пневмофлотации за счет выброса и распределения по кольцевому объему воздуха кольцевым барбатером 13. Мелкие частицы и пузырьки газа направляются через следующее конусное устройство 6 и всасывающий патрубок 16 в эжектор 15, а вода через перфорацию верхней части третьего цилиндра 5 поступает в четвертый цилиндр. В пространстве между третьим и четвертым цилиндрами 5 осветленные стоки подвергаются доочистке электрофлотацией под действием сгенерированных пузырьков газа нерастворимыми электродами 2, подключенными к источнику тока. Мелкие частицы и пузырьки газа направляются через следующее конусное устройство 6 и всасывающий патрубок 16 в эжектор 15, а вода через перфорацию нижней части четвертого цилиндра 5 поступает в пространство между четвертым цилиндром 5 и стенкой корпуса 8 флотокамеры 1. Там вода очищается от оставшихся в растворе ионов тяжелых металлов и взвешенных веществ на плавающей сорбционно-активной загрузке 9 и плавающей фильтрующей загрузке 3. Полностью очищенная вода собирается в кольцевой лоток 17, откуда выводится через патрубок 18. Механизм выделения тяжелых металлов из раствора на плавающей сорбционно-активной загрузке 9 основан на том, что сорбированные на ней микроорганизмы вырабатывают ферменты, которые восстанавливают растворимые сульфаты тяжелых металлов до нерастворимых сульфидов. А также происходит восстановление хрома(VI) до хрома(III) с последующим выделением последнего из раствора обменной реакцией с сульфид-ионом. Процессы, протекающие на плавающей сорбционно-активной загрузке, можно представить так: восстановление сульфата начинается с его активации, на которую затрачивается энергия АТФ (аденозинтрифосфат); с помощью АТФ-сульфурилазы (сульфатаденилтрансферазы). Дифосфатный остаток АТФ обменивается на сульфат. Далее процесс протекает по двум альтернативным путям (диссимиляционная и ассимиляционная сульфатредукция) с образованием нерастворимых сульфидов тяжелых металлов. Выбор пути протекания процесса зависит от вида метаболизма конкретного микроорганизма. Плавающая сорбционно-активная загрузка готовится по следующей технологии. Изначально производится высев микроорганизмов сточной воды различных классов сульфатвосстанавливающих бактерий, в том числе классов Clostridium, Alcaligenes, Desulfovibrio, Brevibacterum, на агаризованную среду в отсутствии кислорода, а затем чистые колонии микроорганизмов выращиваются в анаэробных условиях на той же среде в лабораторных условиях. Селекция микроорганизмов производится пересевом выросшей культуры на жидкую питательную среду, содержащую тяжелые металлы, сульфаты, и контролируется определением предела толерантности данных микроорганизмов к различным концентрациям тяжелых металлов и их способности восстанавливать сульфаты до сульфидов. Далее выделенные микроорганизмы иммобилизуются на угольном адсорбенте грануляции 1-10 мкм и плотности 0,15 г/см3, путем экспозиции его в культуральной жидкости с микроорганизмами в течение суток (Ленгелер Й., Древе Г., Шлегель Г., Современная микробология. Прокариоты. В 2-х тт. М., Мир, 2009. - 654 с.). Известно, что анаэробные культуры микроорганизмов угнетаются в кислородной среде (Иванов А.В., Низамов Р.Н., Плотникова Э.М., Абдрахманов И.К. Радиоэкотоксикологическая микробиология. М., изд-во «Колос», 2009. - 679 с.). С целью уменьшения этого эффекта отрицательный нерастворимый электрод 2 может быть установлен под загрузкой 9. На его поверхности выделяется водород, связывающий кислород и перемешивающий массу микробиоты. Для более полного удаления шлама днище корпуса флотокамеры 1 может быть выполнено конусным. Для уменьшения гидравлического сопротивления и улучшения оттока шлама диэлектрический бокс 10 может быть выполнен с двумя кольцевыми перегородками, разделяющими его на две части с незаполненным пространством между ними (фиг. 2). Сущность изобретения заключается в следующем. Площадь поверхности растворимого электрода в предлагаемой установке в несколько раз больше, чем в прототипе за счет того, что он выполнен в виде смеси железных и медных шариков, и может составлять порядка 100-10000 м2. При тех же размерах и массе обычные литые электроды занимают площадь около 50 м2. Увеличение площади поверхности позволяет достичь большей скорости и полноты протекания процесса гальванокоагуляционной очистки на предлагаемом электроде, что приводит к повышению пропускной способности установки и степени очистки сточной воды на этой стадии, и, в конечном итоге, к увеличению производительности. На этой стадии не требуются затраты электроэнергии, поскольку на электроде, выполненном из двух металлов с разными потенциалами, образуется гальваническая пара с самостоятельной и самопроизвольной электрохимической реакцией (Феофанов В.А. Галъванокоагуляция: теория и практика бессточного водопользования. Магнитогорск: МиниТип, 2006. - 368 с.). Поэтому, по сравнению с прототипом, энергозатраты существенно снижаются. Биофильтры с сорбционно-активной загрузкой при небольших размерах обеспечивают высокие степени очистки (более 90%), поскольку биологические процессы протекают наиболее интенсивно и полно, по сравнению с химическими процессами (Зайцев Е.Д. Интенсификация очистки сточных вод промышленных предприятий методом гальванокоагуляции (аналитический обзор) [Текст] / Е.Д. Зайцев, А.П. Абраменко. -Семипалатинск, 1994. - 26 с.). Обычные химические методы не позволяют достичь высокой степени очистки от ионов тяжелых металлов, таких как Cr(VI), Fe(II), Fe(III). Это связано с тем, что степень очистки, как и скорость реакции, согласно закону действующих масс зависит от концентрации реагентов, то есть чем ниже концентрация тяжелых металлов в воде, тем ниже степень очистки воды. Использование в предлагаемой установке на заключительной стадии плавающей сорбционно-активной загрузки, работающей по другому принципу, позволяет достичь наиболее полного удаления этих ионов из воды, т.е. увеличивает степень ее очистки. Для корректного сравнения результатов и подтверждения эффективности очистки сточной воды было произведено моделирование технологических процессов очистки, протекающих в предлагаемой установке и прототипе с использованием растворов, содержащих ионы железа и хрома. В качестве модельных были использованы растворы с заведомо низкими концентрациями ионов Cr(VI), Fe(III). В процессе очистки через равные промежутки времени отбирали пробы, которые анализировали по стандартной методике (ГОСТ 31956-2012). По результатам исследований построен график зависимости концентрации ионов тяжелых металлов от времени обработки (фиг. 3), из которого видно, что за одинаковые периоды времени содержание ионов хрома в воде для заявляемой установки ниже чем в прототипе в среднем на 20%. Максимальная степень очистки 99,3% в предложенной установке достигается за 7 минут, в то время как в прототипе не достигается и за 14 минут и более (см. табл.), т.е. степень очистки воды от тяжелых металлов в предложенной установке в среднем на 20% выше чем в прототипе и достигается за более короткое время. Следовательно, производительность установки дополнительно увеличивается за счет уменьшения времени очистки. Из графика и таблицы следует, что установка также эффективна и при очистке стоков от ионов железа. Таким образом, предложенная установка для очистки сточных вод позволяет достичь лучшей по сравнению с прототипом эффективности очистки за счет увеличения производительности, степени очистки и значительного снижения энергозатрат.