патент
№ RU 2647358
МПК B60P7/13

Устройство для крепления контейнера к раме платформы

Авторы:
Трепачева Татьяна Владиславовна Никонов Валерий Алексеевич Михайлов Геннадий Иванович
Все (6)
Номер заявки
2016147943
Дата подачи заявки
07.12.2016
Опубликовано
15.03.2018
Страна
RU
Как управлять
интеллектуальной собственностью
Чертежи 
1
Реферат

Изобретение относится к железнодорожному транспорту. Устройство для крепления контейнеров к раме (1) платформы содержит закрепленный на раме упор (2) и стопор (3), выполненный из цельного круглого прутка, согнутого в виде скобы. Концевые части (4, 5) стопора выполнены разной длины, параллельно друг другу, перпендикулярно средней части (6) стопора и соединены между собой планкой (7), установленной параллельно средней части (6) стопора. Короткая концевая часть (5) стопора входит в отверстие фитинга, длинная концевая часть (4) стопора расположена в патрубке (9), закрепленном в полости боковой балки (10) рамы (2) платформы. На длинную концевую часть (4) стопора насажена пружина (11), поджатая к выступу внутри патрубка шайбой (12) с гайкой (13), установленными на резьбовом участке длинной концевой части (4) стопора и закрытыми резьбовой крышкой патрубка. Изобретение повышает универсальность устройства для крепления контейнеров при перевозке контейнеров различной ширины и надежность упора. 2 ил.

Формула изобретения

Устройство для крепления контейнеров к раме платформы, включающее закрепленные на раме упор и стопор, отличающееся тем, что стопор выполнен из цельного круглого прутка, согнутого в виде скобы, концевые части стопора выполнены разной длины, одна концевая часть длиннее другой концевой части, параллельно друг другу, перпендикулярно средней части стопора и соединены между собой планкой, установленной параллельно средней части стопора, причем короткая концевая часть стопора входит в отверстие фитинга, длинная концевая часть стопора расположена в патрубке, закрепленном в полости боковой балки рамы платформы, на длинную концевую часть стопора насажена пружина, поджатая к выступу внутри патрубка шайбой с гайкой, которые установлены на резьбовом участке длинной концевой части стопора и закрыты резьбовой крышкой патрубка.

Описание

[1]

Изобретение относится к железнодорожному транспорту, к устройствам крепления контейнеров на платформах.

[2]

Известно изобретение способа крепления контейнеров на раме платформы, включающее в себя установку контейнеров фитингами на опорные поверхности поворотных упоров, шарнирно закрепленных на раме платформы, и фиксацию их от перемещения в вертикальной плоскости затвором. Затвор, содержащий упорную планку и противовес, вставляют в крепежное отверстие на вертикальной продольной стенке фитинга, а затем поворачивают до установки упорной планки в горизонтальное положение. Устройство для крепления контейнеров на раме платформы, состоящей из продольных и поперечных балок, включает в себя шарнирно закрепленный на поперечной балке рамы поворотный упор, выполненный в виде плиты с упором и затвор. На поворотном упоре выполнен сквозной швеллерообразный паз, расположенный под углом относительно поперечной оси рамы платформы, параллельно оси затвора, устанавливаемого в крепежное отверстие фитинга контейнера и в паз. Затвор выполнен из прокатного профиля и оснащен планкой и противовесом (RU, патент на изобретение №2223188, МПК B61D 3/18, В60Р 7/13, опубл. 10.10.2004 г.).

[3]

Недостатками устройства для крепления контейнеров является ослабление упора за счет сквозного швеллерообразного паза, отсутствие универсальности при использовании контейнеров увеличенной ширины (2556 мм).

[4]

Техническим результатом изобретения является универсальность устройства для крепления контейнеров при перевозке контейнеров различной ширины, повышение надежности конструкции упора фитинга.

[5]

Указанный технический результат достигается тем, что в устройстве для крепления контейнеров к раме платформы, включающем закрепленные на раме упор и стопор, стопор выполнен из цельного круглого прутка, согнутого в виде скобы, концевые части стопора выполнены разной длины, одна концевая часть длиннее другой концевой части, параллельно друг другу, перпендикулярно средней части стопора и соединены между собой планкой, установленной параллельно средней части стопора, причем, короткая концевая часть стопора входит в отверстие фитинга, длинная концевая часть стопора расположена в патрубке, закрепленном в полости боковой балки рамы платформы, на длинную концевую часть стопора насажена пружина, поджатая к выступу внутри патрубка шайбой с гайкой, которые установлены на резьбовом участке длинной концевой части стопора и закрыты резьбовой крышкой патрубка.

[6]

Сущность заявляемого изобретения поясняется чертежами:

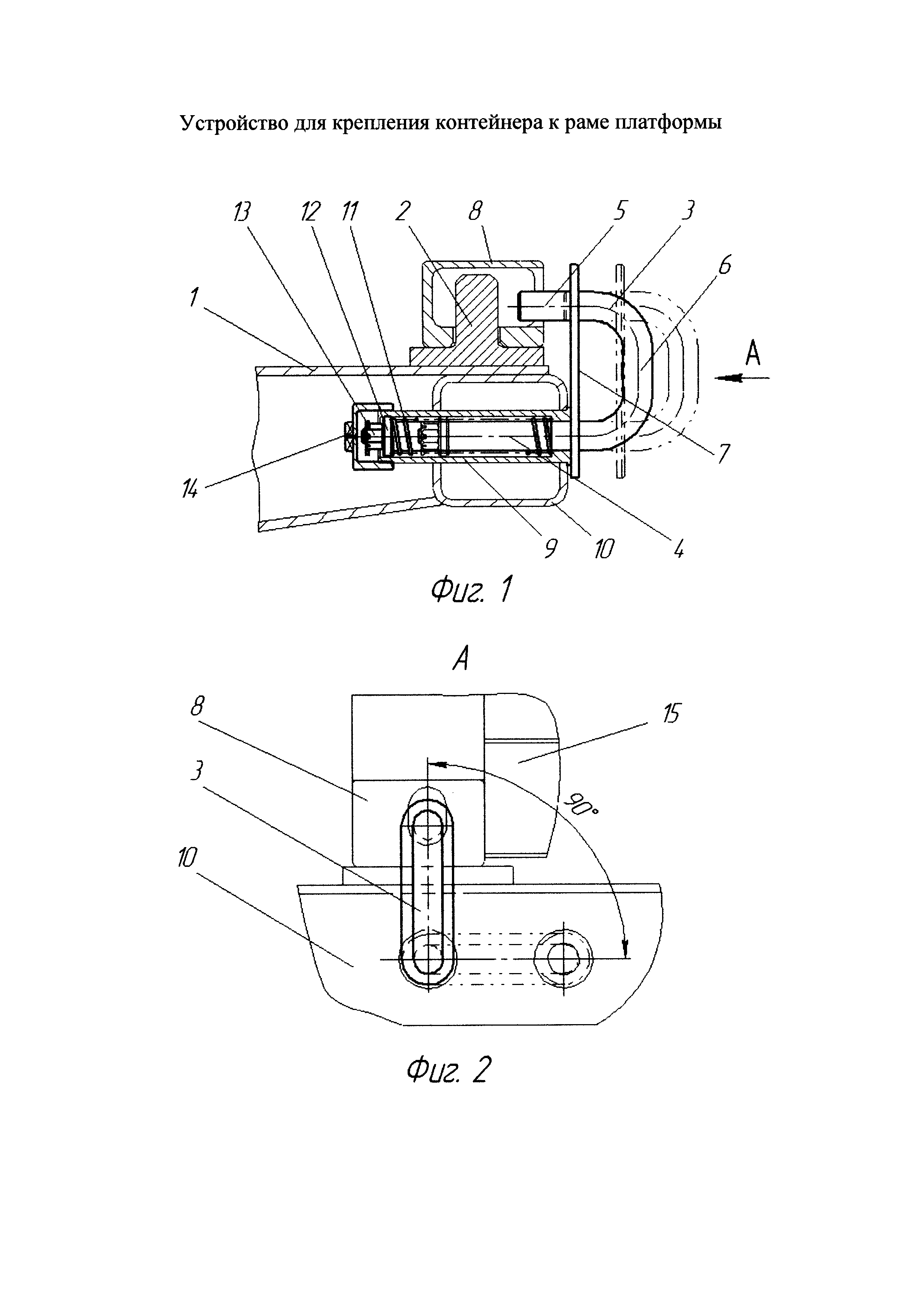
[7]

фиг. 1 - продольный разрез устройства для крепления контейнеров на раме платформы;

[8]

фиг. 2 - вид А фиг. 1.

[9]

Устройство для крепления контейнера к раме платформы включает закрепленные на раме 1 платформы упор 2 и стопор 3. Стопор выполнен из цельного круглого прутка, согнутого в виде скобы, концевые части стопора выполнены разной длины, одна концевая часть 4 длиннее другой концевой части 5. Концевые части 4 и 5 параллельны друг другу, перпендикулярны средней части 6 стопора 3 и соединены между собой планкой 7, установленной параллельно средней части 6 стопора 3, причем короткая концевая часть 5 входит в отверстие фитинга 8, длинная концевая часть 4 стопора 3 расположена в патрубке 9, закрепленном в полости боковой балки 10 рамы 1 платформы. На длинную концевую часть 4 насажена пружина 11, поджатая к выступу (не показан) внутри патрубка 9 шайбой 12 с гайкой 13, установленными на резьбовом участке длинной концевой части 4 стопора 3 и закрытыми резьбовой крышкой 14 патрубка 9.

[10]

Изобретение реализуется следующим образом. Контейнеры насаживаются фитингами 8 на упоры 2, количество которых определяется конструкцией платформы, закрепленные на поверхности рамы 1 платформы, при этом стопор 3 находится в горизонтальном нерабочем положении. Для крепления контейнера к раме платформы воздействуют на среднюю часть стопора 3, оттягивая ее в сторону от рамы платформы, тем самым сжимая пружину 11, насаженную на длинную концевую часть 4 стопора 3. Затем стопор 3 поворачивают на 90° (из горизонтального нерабочего в вертикальное рабочее положение), совмещают с отверстием в боковой стенке фитинга 8, вводят короткую концевую часть 5 стопора 3 во внутреннюю полость фитинга 8 и отпускают стопор 3. При этом происходит надежная фиксация фитинга 8, следовательно, и контейнера 15.

[11]

Для снятия контейнера 15 с платформы в каждом фитинге 8 короткую концевую часть 5 стопора 3 выводят из его полости, отжимая стопор 3 от рамы 1 платформы и преодолевая сопротивление пружины 11, насаженной на длинном конце 4 стопора 3, и поворачивают стопор 3 из рабочего вертикального положения в нерабочее горизонтальное положение, в котором стопор 3 будет прижат к раме 1 платформы под действием возвратного усилия со стороны пружины 11.

Как компенсировать расходы
на инновационную разработку
Похожие патенты