патент
№ RU 2657614
МПК B64C1/38

Устройство тепловой защиты летательного аппарата

Авторы:
Дергачев Александр Анатольевич Саврушкин Владимир Андреевич Шубный Владимир Иванович
Все (7)
Номер заявки
2017107689
Дата подачи заявки
09.03.2017
Опубликовано
14.06.2018
Страна
RU
Как управлять
интеллектуальной собственностью
Чертежи 
1
Реферат

Изобретение относится к авиационной и ракетной технике и может быть использовано для обеспечения теплового режима бортовой аппаратуры сверх- и гиперзвуковых летательных аппаратов (ЛА). Устройство тепловой защиты ЛА выполнено в виде внешней и внутренней оболочек и содержит пропитанный хладагентом охлаждающий материал. Охлаждающий материал размещен на внешней поверхности внутренней оболочки и выполнен в виде сегментов, размещенных по всей поверхности оболочки с зазорами не менее, чем величина теплового расширения материала сегмента под воздействием теплового потока от внешней оболочки. На заднем торце устройства по направлению полета ЛА выполнены отверстия для отвода паров хладагента по паропроводам в полость негерметичного отсека ЛА, неподверженную воздействию внешнего скоростного напора. Техническим результатом изобретения является уменьшение массогабаритных характеристик устройства и упрощение конструкции. 6 з.п. ф-лы, 1 ил.

Формула изобретения

1. Устройство тепловой защиты летательного аппарата, выполненное в виде внешней и внутренней оболочек и содержащее охлаждающий материал, отличающееся тем, что пропитанный хладагентом охлаждающий пористый материал закреплен на внешней поверхности внутренней оболочки и выполнен в виде сегментов, закрепленных по всей поверхности оболочки с зазорами не менее, чем величина теплового расширения материала сегмента под воздействием теплового потока от внешней оболочки, на заднем торце устройства по направлению полета ЛА выполнены отверстия для отвода паров хладагента по паропроводам в полость негерметичного отсека летательного аппарата, неподверженную воздействию внешнего скоростного напора.

2. Устройство тепловой защиты по п. 1, отличающееся тем, что оболочки выполнены соосно и эквидистантно друг относительно друга.

3. Устройство тепловой защиты по п. 1, отличающееся тем, что на внешней поверхности внешней оболочки установлен дополнительный слой теплоизоляции в виде теплозащитного экрана из жаропрочного материала.

4. Устройство тепловой защиты по п. 1, отличающееся тем, что охлаждающий материал выполнен в виде пористых гранул.

5. Устройство тепловой защиты по п. 1, отличающееся тем, что хладагент выполнен в жидкой фазе.

6. Устройство тепловой защиты по п. 1, отличающееся тем, что хладагент выполнен в твердой фазе.

7. Устройство тепловой защиты по п. 1, отличающееся тем, что на концах размещенных в негерметичном отсеке паропроводов установлены пусковые клапаны для отвода паров в атмосферу.

Описание

[1]

Предлагаемые технические решения относятся к средствам защиты приборного оборудования от воздействия внешних факторов, таких как высокие температуры, ударные нагрузки, давление скоростного напора и т.п., и могут быть использованы в авиационной и космической технике, а более конкретно при конструировании бортовой аппаратуры отсеков летательных аппаратов (ЛА).

[2]

Известен способ тепловой защиты внутреннего объема различного назначения, заключающийся в формировании вокруг объема защитного корпуса, предохраняющего его от воздействия внешних тепловых и механических разрушающих факторов (Патент РФ №2162189, 20.01.2001). Защитный корпус содержит, по меньшей мере, три слоя. Наружный слой выполнен ударожаропрочным из жаростойкого металла или композиционного материала. На внутренней поверхности наружного слоя при помощи огнеупорного клея размещены один за другим промежуточный слой, выполненный из сухого огнеупорного пористо-волокнистого материала, и внутренний слой из такого же огнеупорного материала, пропитанного водосодержащим компонентом, или из водосодержащего геля.

[3]

Наружный слой защитной оболочки обеспечивает защиту сохраняемого объекта от внешних разрушающих механических и огневых воздействий за счет ударожаропрочности материала. Промежуточный теплозащитный слой обеспечивает пассивную теплозащиту объекта за счет низкой теплопроводности сухого пористо-волокнистого материала. Внутренний теплозащитный слой обеспечивает активную теплозащиту за счет поглощения теплоты при кипении воды, находящейся в порах водосодержащего материала. Активная теплозащита позволяет поддерживать температуру защищаемого объема не выше температуры кипения воды в течение всего времени ее испарения.

[4]

Известный способ эффективно решает задачу защиты сохраняемого объекта от разрушающих механических факторов и высокотемпературных воздействий, но может обеспечить защиту оборудования при внешнем всестороннем огневом воздействии только в течение 30 минут при температуре до 1100°C, ударных перегрузках до 3400 g и статических давлениях до 600 атм. Однако указанный недостаток не позволяет использовать известный способ для тепловой защиты оборудования летательных аппаратов, вследствие неспособности конструкции противодействовать давлению аэродинамического потока при отводе паров воды в окружающую атмосферу.

[5]

Также известны способ и устройство тепловой защиты ЛА (патент РФ №2225330, 10.03.2004). Устройство тепловой защиты содержит наружную пористую оболочку теплозащитного экрана из твердого материала с тепловоспринимающей поверхностью, установленную на некотором расстоянии от корпуса ЛА с образованием полости, предназначенной для подачи через магистрали охлаждающей текучей среды в жидкой фазе с возможностью испарения и выхода пара в атмосферу через поры оболочки. Наружная пористая оболочка выполнена гофрированной. На концах магистралей, установленных в полости, расположены форсунки для подачи охлаждающей среды так, что струи бьют по внутренней поверхности наружной пористой оболочки. Контрольная аппаратура магистрали подачи охлаждающей среды в жидкой фазе включает датчики температуры внешней поверхности оболочки, датчики расхода охлаждающей среды, электроклапаны для управления подачи охлаждающей среды и блок обработки сигналов. Контрольная аппаратура позволяет регулировать подачу охлаждающей среды через форсунки в зависимости от показаний датчиков температуры, а также обеспечить и поддерживать температуру наружной поверхности теплозащитного экрана путем изменения расхода охлаждающей среды через форсунки.

[6]

Известное изобретение позволяет повысить эффективность тепловой защиты ЛА и расширить диапазон допустимых температур на поверхности ЛА в условиях отсутствия или незначительного уровня внешнего аэродинамического потока (в условиях космического пространства).

[7]

Однако охлаждающая жидкость подается в устройство с помощью магистралей, на концах которых установлены форсунки. Этот признак, а также установка теплозащитного экрана на расстоянии от корпуса ЛА существенно влияет на габариты устройства и усложняет его конструкцию, что делает такую тепловую защиту неэффективной для защиты оборудования ЛА.

[8]

Наиболее близким по сущности является устройство для тепловой защиты объекта (патент РФ № 2269170, 27.01.2006), состоящее из последовательно расположенных слоев: наружного, промежуточного и внутреннего. На внешней поверхности наружного ударожаропрочного слоя, изготовленного из жаростойкого металла и перфорированного дренажными отверстиями, образовано биморфное теплозащитное покрытие из теплоизоляционного композиционного материала. Промежуточный теплозащитный слой выполнен из огнеупорного сухого материала и предназначен для пассивной теплозащиты сохраняемого объекта. Внутренний теплозащитный слой, предназначенный для активной защиты сохраняемого объекта, образован из материала, в состав которого входят кристаллические соединения, содержащие кристаллизационную воду, и заключен между наружной и внутренней теплоотражающими прокладками.

[9]

Известное изобретение позволяет обеспечить защиту сохраняемого объекта при воздействии на него механических и тепловых нагрузок при воздействии температуры 1100°C в течение 1 часа, а также при действии температуры 260°C в течение 10 часов.

[10]

Однако данное техническое решение, а именно предназначенный для активной защиты сохраняемого объекта внутренний теплозащитный слой, содержащий кристаллогидраты, не работоспособен в условиях значительного внешнего аэродинамического давления, противодействующего дренажу водяных паров через отверстия во внешних теплозащитных слоях. Без отвода водяных паров будет существенно повышаться давление внутри активной защиты и, соответственно, значительно повышаться температура испарения хладоагента и защищаемого объекта, что снижает эффективность тепловой защиты.

[11]

В основу предлагаемого технического решения поставлена техническая задача повышения эффективности тепловой защиты бортовой аппаратуры ЛА, функционирующей в условиях воздействия высоких температур окружающей среды.

[12]

Технический результат предлагаемых технических решений заключается в создании тепловой защиты с уменьшенными массогабаритными характеристиками и упрощенной конструкцией, работоспособной в условиях высокого внешнего аэродинамического давления.

[13]

Данный технический результат достигается тем, что устройство тепловой защиты летательного аппарата выполнено в виде внешней и внутренней оболочек и содержит пропитанный хладагентом охлаждающий материал. Охлаждающий материал размещен на внешней поверхности внутренней оболочки и выполнен в виде сегментов, закрепленных по всей поверхности оболочки с зазорами не менее, чем величина теплового расширения материала сегмента под воздействием теплового потока от внешней оболочки. При этом на заднем торце устройства по направлению полета ЛА выполнены отверстия для отвода паров хладагента по паропроводам в полость негерметичного отсека летательного аппарата, неподверженную воздействию внешнего скоростного напора.

[14]

Для наиболее равномерного вывода паров из устройства тепловой защиты в атмосферу оболочки устройства выполнены соосно и эквидистантно друг относительно друга.

[15]

Кроме того, в техническом решении предлагаются дополнения, направленные на дальнейшее повышение теплозащитных функций устройства. Так, например, предлагается установить на внешней поверхности внешней оболочки дополнительный слой теплоизоляции в виде теплозащитного экрана из жаропрочного материала.

[16]

Для обеспечения эффективного режима охлаждения пропитанного хладагентом слоя предлагается использовать материал, выполненный в виде пористых гранул. Внутри пор или в межгранульном пространстве находится хладагент в жидком или твердом состоянии.

[17]

Для вывода в атмосферу паров, образующихся в результате нагрева и испарения хладагента, на концах размещенных в негерметичном отсеке паропроводов установлены пусковые клапаны.

[18]

Известно, что движение ЛА в атмосфере сопровождается значительным повышением температуры корпуса и образованием интенсивного теплового потока, направленного вглубь корпуса ЛА. Размещенное в корпусе ЛА или являющееся его несущей частью устройство тепловой защиты нагревается, температура пористого охлаждающего материала повышается и содержащийся в нем хладагент нагревается, кипит и испаряется с поглощением значительной доли теплового потока.

[19]

Пары хладагента под повышенным давлением истекают через отверстия по паропроводам в полость негерметичного отсека ЛА, откуда и сбрасываются в окружающую атмосферу. Разность давлений, как движущая сила истекания паров, обуславливается тем, что полет ЛА осуществляется в основном в разреженных слоях атмосферы. При этом в хвостовом негерметичном отсеке (полости) ЛА, защищенном от давления внешнего аэродинамического потока герметичной боковой поверхностью корпуса и имеющем в хвостовой части негерметичное днище образуется пониженное давление.

[20]

Конструктивно предложенное устройство тепловой защиты выполнено в виде испарителя, состоящего из внешней и внутренней оболочек, пропитанного хладагентом охлаждающего материала, размещенного на внешней поверхности внутренней оболочки. Оболочки ограничены торцами, причем в заднем торце выполнены отверстия. Также устройство тепловой защиты содержит сопряженные с указанными отверстиями паропроводы, проложенные в хвостовой негерметичный отсек и снабженные пусковыми клапанами.

[21]

Предложенные признаки технического решения являются новыми и по сравнению с аналогами обеспечивают тепловую защиту оборудования ЛА, работоспособную в условиях внешнего аэродинамического давления, и имеющего простую конструкцию с уменьшенными массогабаритными характеристиками.

[22]

Так конструкция испарителя, зазор между охлаждающим материалом и внешней оболочкой, а также сегментация с определенными зазорами пропитанного хладагентом охлаждающего материала обеспечивает беспрепятственное и надежное испарение хладагента и, соответственно, охлаждение конструкции испарителя и защищаемого оборудования. Для стабильного движения пара хладагента величины зазоров между сегментами выполнены с учетом теплового расширения материала сегментов, который в результате воздействия теплового потока от внешней оболочки нагревается и, соответственно, увеличивается его объем.

[23]

Отверстия заранее определенного размера в заднем торце испарителя с паропроводами необходимого диаметра предназначены для гарантированного отвода паров хладагента в хвостовой отсек ЛА. Полость или весь хвостовой отсек выполняют негерметичным, но неподверженным воздействию внешнего скоростного напора. При этом в полости образуется пониженное давление (разрежение), обуславливающее отвод паров во внешнюю атмосферу.

[24]

Минимальные массогабаритные характеристики предложенного устройства тепловой защиты обеспечены выбором оптимальной (минимальной) величины зазоров в испарителе, размерами паропроводов, а также массой охлаждающего материала с хладагентом, необходимой для гарантированного обеспечения допустимой температуры защищаемого оборудования ЛА.

[25]

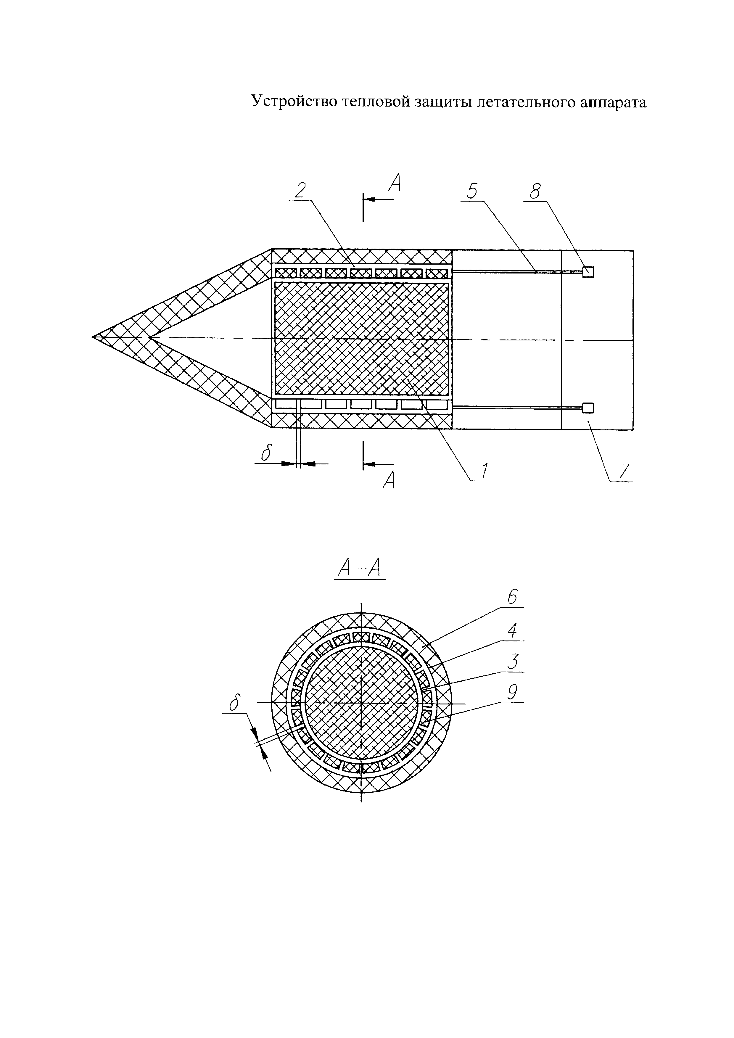
Для более полного раскрытия сущности предложенное техническое решение поясняется чертежом, на котором схематически изображено предложенное устройство для охлаждения приборного отсека ЛА.

[26]

На чертеже введены следующие обозначения:

[27]

1 - защищаемая аппаратура ЛА;

[28]

2 - устройство тепловой защиты (испаритель);

[29]

3 - внутренняя оболочка;

[30]

4 - внешняя оболочка;

[31]

5 - паропроводы;

[32]

6 - теплозащитный экран;

[33]

7 - полость негерметичного отсека;

[34]

8 - пусковой клапан;

[35]

9 - охлаждающий материал.

[36]

Предложенное устройство тепловой защиты ЛА работает следующим образом.

[37]

При полете ЛА со сверх- и гиперзвуковыми скоростями температура внешней оболочки 4 испарителя 2 повышается и тепловой поток от нее нагревает охлаждающий материал 9, который выполнен в виде сегментов, установленных на внутренней оболочке 3 с зазорами 8. Находящийся в порах охлаждающего материала 9 хладагент также нагревается и начинает испаряться, а при достижении определенной температуры и соответствующем давлении в испарителе 2 хладагент кипит с образованием паров, которые по каналам между сегментами 9 и по зазорам между сегментами 9 и внешней оболочкой 4 поступают к отверстиям в хвостовом торце испарителя (на фиг. не показаны) и по паропроводам 5 направляются в полость негерметичного отсека 7.

[38]

Для осуществления процесса отвода паров хладагента в определенный заранее момент времени полета ЛА открывают пусковой клапан 8. Отвод паров хладагента осуществляется при разности давлений в испарителе и в полости негерметичного отсека 7, в котором давление среды значительно ниже и определяется в основном давлением (статическим) за бортом ЛА.

[39]

При работе устройства тепловой защиты в результате испарения хладагента температура внутренней обечайки 3 и, соответственно, температура защищаемой аппаратуры ЛА 1 находится на необходимом уровне, зависящем от температуры кипения (испарения) хладагента, значение которого обуславливается давлением в испарителе.

[40]

В случае воздействия на устройство тепловой защиты значительных внешних тепловых потоков на внешнюю оболочку 4 устанавливается теплозащитный экран 6 из ударожаропрочного материала.

[41]

Охлаждающий материал 9 должен быть капиллярно-пористым, например может быть выполненным из поливинилформаля, способного удерживать в порах до 80% по массе жидкого вещества - хладагента, в качестве которого могут быть использованы вода, водоспиртовые растворы и т.п.

[42]

Совокупность предложенных новых признаков технического решения - выполнение устройства в виде двух оболочек с размещением на внутренней оболочке охлаждающего материала в виде размещенных с определенными зазорами сегментов, а также снабжение устройства паропроводами, по которым пары хладагента отводятся в полость негерметичного отсека, неподверженную воздействию внешнего скоростного напора, - позволяет получить эффективный, обусловленный взаимосвязью признаков, технический результат - тепловую защиту аппаратуры ЛА с уменьшенными массогабаритными характеристиками и упрощенной конструкцией, работоспособную в условиях высокого внешнего аэродинамического давления.

Как компенсировать расходы
на инновационную разработку
Похожие патенты