патент
№ RU 2619146
МПК G05D16/06

ГАЗОВЫЙ РЕДУКТОР

Авторы:
Калугин Дмитрий Александрович Хорьков Владимир Иванович Савушкин Александр Николаевич
Все (5)
Номер заявки
2015129621
Дата подачи заявки
20.07.2015
Опубликовано
12.05.2017
Страна
RU
Как управлять
интеллектуальной собственностью
Чертежи 
1
Реферат

Газовый редуктор содержит корпус с входным отверстием для подачи газа высокого давления, в котором герметично установлена гильза с запорным седлом, внутри которой находится подвижный клапан, поджатый к седлу гильзы запорной пружиной, герметичность запирания обеспечивается пластиковой вставкой, завальцованной в тело клапана. Установленный в крышке редуктора чувствительный элемент, воспринимающий перепад между давлением газа на выходе из редуктора и атмосферным или давлением, относительно которого поддерживается выходное давление редуктора, состоит из металлического гофрированного сильфона с герметично установленными заглушкой и бандажной втулкой с резиновым уплотнением, внутри которого установлена регулировочная пружина, затягиваемая при помощи нажимной гайки, при этом усилие от регулировочной пружины и сильфонного чувствительного элемента передается на клапан при помощи толкателя, проходящего через направляющую шайбу внутри отверстия седла гильзы, а редуцированный газ выходит из корпуса через входной штуцер. Повышается рабочий ресурс газового редуктора. 1 ил.

Формула изобретения

Газовый редуктор, содержащий корпус с входным отверстием для подачи газа высокого давления, в котором герметично установлена гильза с запорным седлом, внутри которой находится подвижный клапан, поджатый к седлу гильзы запорной пружиной, герметичность запирания которого обеспечивается пластиковой вставкой, завальцованной в тело клапана, крышку, чувствительный элемент, воспринимающий перепад между давлением на выходе редуктора и атмосферным или давлением, относительно которого поддерживается выходное давление редуктора, регулировочную пружину, крышку и нажимную гайку, отличающийся тем, что установленный в крышке редуктора чувствительный элемент состоит из металлического гофрированного сильфона с герметично установленными заглушкой и бандажной втулкой с резиновым уплотнением, при этом регулировочная пружина расположена внутри сильфона и опирается одним концом на заглушку сильфонного чувствительного элемента, а другим концом - на нажимную гайку.

Описание

[1]

Изобретение относится к области автоматического регулирования, а именно к устройствам регулирования давления газа, и может быть использовано в различных отраслях промышленности и сельского хозяйства.

[2]

Из существующего уровня техники известен газовый редуктор, который содержит корпус с седлом и крышкой, настроечную часть, включающую настроечный винт, пружину, мембрану с опорной трелью и толкателем, редуцирующий клапан, состоящий из полого корпуса со сквозным каналом и уплотнением, уравновешивающую камеру, снабженную управляющим клапаном. (Патент РФ №2290682 С1, опубл. 27.12.2006 г.). Недостатком данного технического решения является то, что в конструкции использован чувствительный элемент в виде эластичной мембраны, изготавливаемой, как правило, из резинового полотна или армированного пластика. Такой чувствительный элемент обладает недостатком, а именно, с течением времени и под воздействием температуры и агрессивной рабочей среды материал мембраны дубеет, расслаивается и растрескивается, в результате чего требуется периодическая замена мембраны.

[3]

Также известен газовый редуктор, состоящий из корпуса с входным и выходным каналами, в котором размещены выполненное в виде подвижного поршня седло, клапан с пружиной и чувствительный элемент-поршень со штоком, нагруженный пружиной, второй конец которой через тарель взаимодействует с регулировочным винтом, (АС №710029, опубл. 15.01.80 г.). Недостатками данного технического решения является использование чувствительного элемента в виде металлического плунжера с резиновым уплотнением, который имеет скользящую посадку по корпусной детали с малым зазором. Опыт показывает, что ресурс его значительно выше, чем у мембранного чувствительного элемента, однако при работе на загрязненном газе или при наличии в нем большого количества влаги при большой степени дросселирования и работе при низкой температуре окружающей и рабочей сред, имеются случаи примерзания и заклинивания плунжеров, вследствие чего редуктор перестает регулировать давление.

[4]

Наиболее близким к заявленному техническому решению является редуктор типа БМО-80-2, изготавливаемый Барнаульским аппаратурно-механическим заводом (БАМЗ) (см. http://www.bamz.su/ru/catalog/one_tovar/1-50-12-53.html), который состоит из корпуса с входным и выходным штуцерами, с герметично установленной гильзой с запорным седлом, внутри которой находится подвижный клапан, поджатый к седлу запорной пружиной. Герметичность запирания обеспечивается пластиковой вставкой. Данный редуктор имеет чувствительный элемент в виде армированной резинотканевой мембраны, герметично зажатой между уплотнительными поверхностями корпуса и крышки. Как и в случае с первым представленным аналогом, чувствительный элемент, выполненный из армированного резинотканевого материала, с течением времени под воздействием температуры и агрессивной рабочей среды дубеет, расслаивается и растрескивается, в результате чего редуктор становится нефункционален и требуется замена мембраны.

[5]

Технической задачей, на решение которой направлено заявляемое изобретение, является увеличение рабочего ресурса газового редуктора, повышение его надежности и работоспособности в различных условиях эксплуатации.

[6]

Данная техническая задача решается за счет того, что заявленное решение предлагает газовый редуктор, содержащий корпус с входным отверстием для подачи газа высокого давления, в котором герметично установлена гильза с запорным седлом, внутри которой находится подвижный клапан, поджатый к седлу гильзы запорной пружиной, герметичность запирания которого обеспечивается пластиковой вставкой, завальцованной в тело клапана, крышку, чувствительный элемент, воспринимающий перепад между давлением на выходе редуктора и атмосферным или давлением, относительно которого поддерживается выходное давление редуктора, регулировочную пружину, крышку и нажимную гайку, имеет установленный в крышке редуктора чувствительный элемент, который состоит из металлического гофрированного сильфона с герметично установленными заглушкой и бандажной втулкой с резиновым уплотнением; при этом регулировочная пружина расположена внутри сильфона и опирается одним концом на заглушку сильфонного чувствительного элемента, а другим концом - на нажимную гайку.

[7]

Техническим результатом, обеспечиваемым приведенной совокупностью признаков, является значительное повышение рабочего ресурса газового редуктора. Такой технический результат достигается за счет пониженной чувствительности применяемого в предлагаемом техническом решении чувствительного элемента к воздействию высокой и низкой температур, воздействию агрессивных сред, отсутствием в конструкции трущихся поверхностей, способствующих примерзанию или закусыванию чувствительного элемента. Кроме того, в предлагаемой конструкции регулировочная пружина располагается внутри сильфона, вследствие чего воздействующий на него перепад давления работает на сжатие, а не на растяжение сильфона, что увеличивает его нагрузочную способность.

[8]

Сущность изобретения поясняется чертежами, на которых изображено:

[9]

на фиг. 1 - газовый редуктор.

[10]

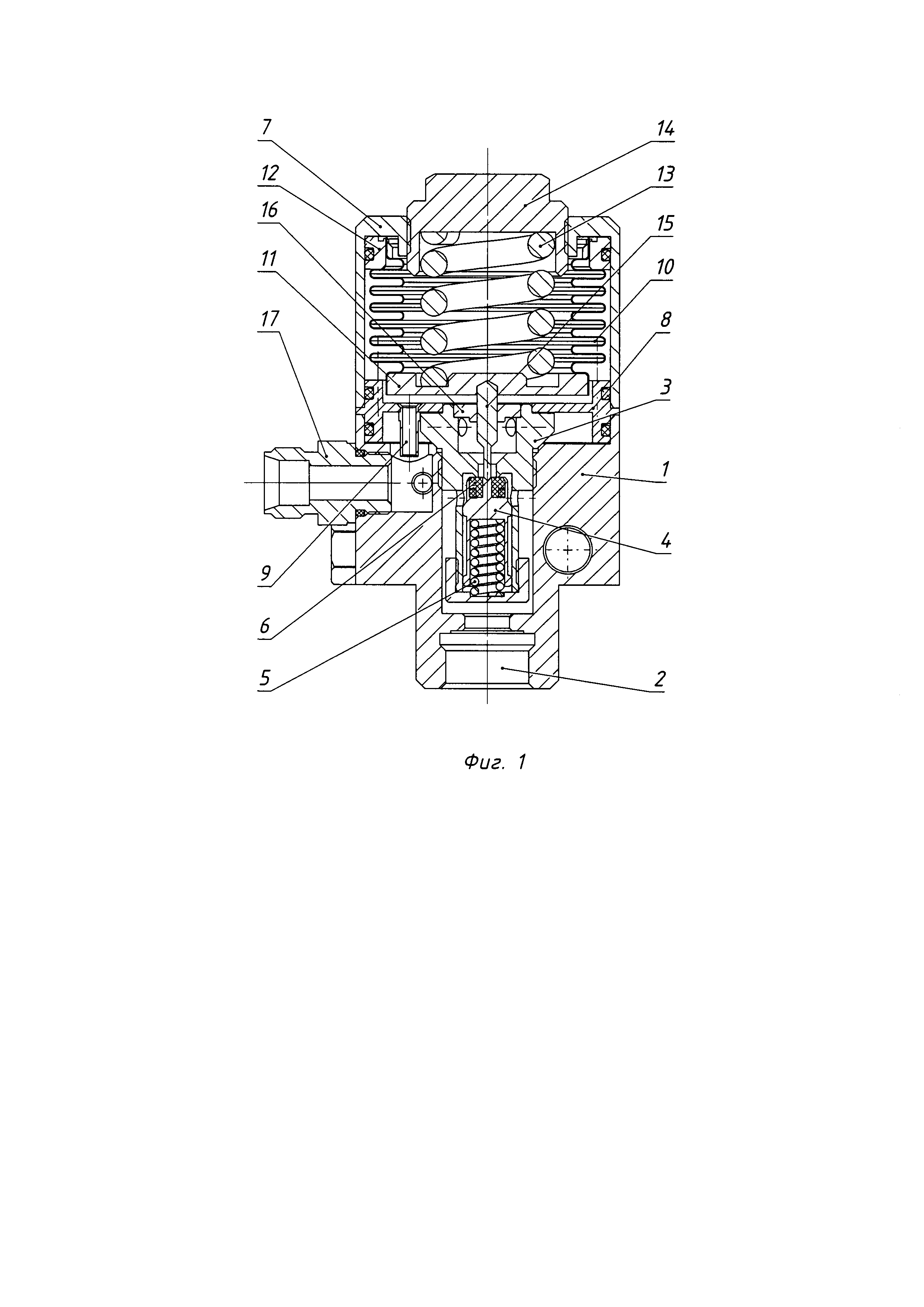
Газовый редуктор содержит корпус 1 с входным отверстием 2 для подачи газа высокого давления, в котором герметично установлена гильза 3 с запорным седлом, внутри которой находится клапан 4, поджатый к седлу гильзы запорной пружиной 5. Герметичность запирания обеспечивается пластиковой вставкой 6, завальцованной в тело клапана 4. Редуктор имеет крышку 7, герметично соединенную с корпусом 1 посредством проставки 8 с резиновыми уплотнениями и трубкой компенсатора изменения давления от изменения давления газа 9. В крышке 7 установлен чувствительный элемент, воспринимающий перепад между давлением газа на выходе из редуктора и атмосферным или давлением, относительно которого поддерживается выходное давление редуктора, состоящий из металлического сильфона 10 с приваренными (припаянными или приклеенными) герметично заглушкой 11 и бандажной втулкой 12 с резиновым уплотнением. Внутри чувствительного элемента расположена регулировочная пружина 13, затягиваемая при помощи нажимной гайки 14. Усилие от регулировочной пружины и сильфонного чувствительного элемента передается на клапан 4 при помощи толкателя 15, проходящего через направляющую шайбу 16 внутри отверстия седла гильзы 3, редуцированный газ выходит из корпуса через выходной штуцер 17.

[11]

Работает устройство следующим образом. В исходном состоянии, когда давление газа на входе в редуктор отсутствует, регулировочная пружина 13 и сильфонный чувствительный элемент через толкатель 15 отжимают клапан 4 от седла, обеспечивая проход газа от входа 2 к выходному штуцеру 17. При подаче на вход газа под высоким давлением он проходит через седло гильзы 3, на котором дросселируется. Давление в полости поднимается, воздействует на сильфонный чувствительный элемент, преодолевая усилие регулировочной пружины 13, толкатель 15 освобождается и клапан 4 под воздействием запорной пружины 5 и входного давления газа перемещается, запирая седло гильзы. Рост выходного давления газа прекращается, при падении давления газа в выходной полости перепад давления на чувствительном элементе уменьшается, регулировочная пружина через толкатель отжимает клапан от седла, газ под давлением попадает в выходную полость, увеличивая давление в ней. Происходит автоматическое регулирование выходного давления редуктором, уровень выходного давления газа задается регулированием усилия затяжки регулировочной пружины 13.

Как компенсировать расходы
на инновационную разработку
Похожие патенты